EDIFIER R1855DB - Manuale degli Altoparlanti Attivi da Scaffale 2.0 Bluetooth

Contenuto della confezione
Nota: Le immagini sono solo a scopo illustrativo e potrebbero differire dal prodotto reale.
Illustrazione

- Manopola acuti
- Manopola bassi
- Manopola volume principale Premere per cambiare sorgente audio: Line In 1
Line In 2
Optical
Coaxial
Bluetooth
Tenere premuto: Disconnettere la connessione Bluetooth - Ingresso Line In
- Ingresso ottico
- Ingresso coassiale
- Uscita bassi
- Collegamento alla porta dell'altoparlante passivo
- Interruttore di alimentazione
- Cavo di alimentazione
- Collegamento alla porta dell'altoparlante attivo
- Indicatore LED:
Blu: modalità Bluetooth
Verde: modalità Line In 1 (La luce lampeggerà una volta)
Modalità Line In 2 (La luce lampeggerà due volte)
Rosso: modalità Ottica (La luce lampeggerà una volta)
Modalità Coassiale (La luce lampeggerà due volte)
Telecomando

- Accensione/spegnimento
- Volume su
- Traccia precedente/successiva (Modalità Bluetooth)
- Pausa/riproduzione (Modalità Bluetooth)
- Volume giù
- Modalità Line In 1
- Modalità Line In 2
- Modalità Ottica
- Modalità Coassiale
- Modalità Bluetooth Tenere premuto per disconnettere il Bluetooth
- Muto
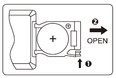
Inserimento della batteria:
Fare riferimento all'illustrazione per aprire il vano batteria, inserire la batteria CR2032 e chiudere il vano.

- Non ingerire la batteria; pericolo di ustioni chimiche.
- Il prodotto include una batteria a bottone. L'ingestione di questa batteria può causare lesioni o morte. Non posizionare la batteria nuova o vecchia dove i bambini possono raggiungerla.
- Non utilizzare il prodotto se il coperchio della batteria è mancante o non chiuso, e tenere il telecomando inaccessibile ai bambini.
- Si prega di recarsi immediatamente in ospedale se la batteria viene ingerita.
Nota:
- Non posizionare il telecomando in luoghi caldi e umidi.
- Non caricare le batterie.
- Rimuovere le batterie se non utilizzate per un lungo periodo di tempo.
- La batteria non deve essere esposta a calore eccessivo come luce solare diretta, fuoco o simili.
- Pericolo di esplosione se la batteria viene sostituita in modo errato. Sostituire solo con lo stesso tipo o equivalente.
Collegamento

Ingresso sorgente audio
Ingresso Line In

- Collegare il cavo audio alla porta di ingresso Line In 1/Line In 2 sul pannello posteriore dell'altoparlante attivo (si prega di prestare attenzione ai colori corrispondenti), e l'altra estremità alla sorgente audio (es. PC, telefoni cellulari e ecc.).
- Premere il pulsante "LINE1" (LINE1)/"LINE2" (LINE2) sul telecomando o premere la manopola del volume principale sul pannello posteriore dell'altoparlante attivo. L'indicatore LED sull'altoparlante attivo diventa verde: modalità Line In 1 (La luce lampeggerà una volta), modalità Line In 2 (La luce lampeggerà due volte).
- Riprodurre musica e regolare il volume a un livello confortevole.
Ingresso Ottico / Coassiale

- Collegare il "Fiber optic audio cable" (Cavo audio in fibra ottica) o il "Coaxial cable" (Cavo coassiale) (non incluso) alla porta di ingresso OPT/COAX sul pannello posteriore dell'altoparlante attivo e al dispositivo con ingresso ottico e coassiale.
- Premere il pulsante "OPT" (OPT)/"COAX" (COAX) sul telecomando o premere la manopola del volume principale sul pannello posteriore dell'altoparlante attivo.
La luce LED sull'altoparlante attivo diventa rossa: modalità ottica (La luce lampeggerà una volta), modalità coassiale (La luce lampeggerà due volte). - Riprodurre musica e regolare il volume a un livello confortevole.
Nota: Nelle modalità ottica e coassiale, è possibile decodificare solo segnali PCM con 44.1KHz/48KHz.
Modalità Bluetooth

- Premere il pulsante "
" sul telecomando o la manopola del volume principale dell'altoparlante attivo per selezionare la modalità Bluetooth.
L'indicatore LED diventa blu. - Accendere il dispositivo Bluetooth. Cercare e connettersi a "EDIFIER R1855DB".
Disconnetti Bluetooth: tenere premuto la manopola del volume principale o il pulsante "
" sul telecomando per circa 2 secondi per disconnettere il Bluetooth.
![]()
Nota:
- Il Bluetooth sull'R1855DB può essere cercato e connesso solo dopo aver impostato l'altoparlante sulla modalità di ingresso Bluetooth. La connessione Bluetooth esistente verrà disconnessa una volta che l'altoparlante sarà passato a un'altra sorgente audio. Quando l'altoparlante viene riportato alla modalità di ingresso Bluetooth, l'altoparlante tenterà di connettersi all'ultimo dispositivo sorgente audio Bluetooth connesso.
- Il codice PIN è "0000" (0000) se necessario.
- Per usufruire di tutte le funzioni Bluetooth di questo prodotto, assicurarsi che il dispositivo sorgente audio disponga dei profili A2DP (Advanced Audio Distribution Profile) e AVRCP (Audio Video Remote Control Profile).
- La connettività e la compatibilità Bluetooth possono differire tra i diversi dispositivi sorgente, a seconda delle versioni software dei dispositivi sorgente.
Specifiche

Risoluzione dei problemi
Nessun suono
- Controllare se l'altoparlante è acceso.
- Provare ad aumentare il volume utilizzando il controllo del volume principale o il telecomando.
- Assicurarsi che i cavi audio siano collegati saldamente e che l'ingresso sia impostato correttamente sugli altoparlanti.
- Controllare se c'è un'uscita del segnale dalla sorgente audio.
Impossibile connettersi tramite Bluetooth
- Assicurarsi che l'altoparlante sia impostato sull'ingresso Bluetooth. Se è in altre modalità di ingresso audio, il Bluetooth non si connetterà.
Disconnettersi da qualsiasi dispositivo Bluetooth tenendo premuto il pulsante "
", quindi riprovare. - Il raggio di trasmissione Bluetooth effettivo è di 10 metri; assicurarsi che l'operazione avvenga all'interno del raggio.
- Provare un altro dispositivo Bluetooth per la connessione.
L'R1855DB non si accende
- Controllare se l'alimentazione principale è collegata o se la presa a muro è accesa.
Rumore proveniente dagli altoparlanti
- Gli altoparlanti EDIFIER generano poco rumore, mentre il rumore di fondo di alcuni dispositivi audio è troppo alto. Scollegare i cavi audio e aumentare il volume; se non si sente alcun suono a 1 metro dall'altoparlante, allora non c'è alcun problema con questo prodotto.
Per saperne di più su EDIFIER, visitare www.edifier.com
Per domande sulla garanzia EDIFIER, visitare la pagina del paese pertinente su www.edifier.com e consultare la sezione intitolata "Warranty Terms" (Termini di Garanzia).
USA e Canada: service@edifier.ca
Sud America: Visitare www.edifier.com (Inglese) o www.edifierla.com (Spagnolo/Portoghese) per informazioni di contatto locali.

@Edifierglobal

@Edifier_Global

@Edifier_Global
Model: EDF100023
Edifier International Limited
P.O. Box 6264
General Post Office
Hong Kong
Tel: +852 2522 6989
Fax: +852 2522 1989
www.edifier.com
© 2021 Edifier International Limited. Tutti i diritti riservati. Stampato in Cina
AVVISO:
Per esigenze di miglioramento tecnico e aggiornamento del sistema, le informazioni qui contenute possono essere soggette a modifiche di tanto in tanto senza preavviso.
I prodotti EDIFIER saranno personalizzati per diverse applicazioni. Le immagini e le illustrazioni mostrate in questo manuale potrebbero differire leggermente dal prodotto reale. In caso di differenze, prevarrà il prodotto reale.

Riferimenti
Scarica manuale
Qui puoi scaricare la versione completa in PDF del manuale, può contenere ulteriori istruzioni di sicurezza, informazioni sulla garanzia, regole FCC, ecc.
Scarica EDIFIER R1855DB - Manuale degli Altoparlanti Attivi da Scaffale 2.0 Bluetooth
Line In 2 