KODAK PRINTOMATIC - Manuale della fotocamera digitale a stampa istantanea
- 1 INTRODUZIONE
- 2 AVVERTENZE E PRECAUZIONI DI SICUREZZA
- 3 CURA E CARICA DELLA BATTERIA
- 4 PARTI E FUNZIONI
-
5
UTILIZZO DELLA FOTOCAMERA
- 5.1 Accensione
- 5.2 Spegnimento
- 5.3 Scattare foto
- 5.4 Stampa
- 5.5 Inserimento della carta fotografica
- 5.6 Ricarica della carta fotografica
- 5.7 Cosa fare e non fare con la carta
- 5.8 Memoria
- 5.9 Inserimento di una scheda microSD
- 5.10 Rimozione di una scheda microSD
- 5.11 Indicazione di errore della scheda MicroSD
- 5.12 Trasferimento di file al computer
- 6 DOMANDE FREQUENTI
- 7 SERVIZIO CLIENTI
- 8 Riferimenti
- 9 Scarica manuale
- 10 In altre lingue

INTRODUZIONE
Grazie per aver acquistato la fotocamera digitale a stampa istantanea KODAK PRINTOMATIC. Questa Guida per l'utente ha lo scopo di fornire indicazioni per garantire che il funzionamento di questo prodotto sia sicuro e non comporti rischi per l'utente. Qualsiasi utilizzo non conforme alle linee guida descritte in questa Guida per l'utente può invalidare la garanzia limitata.
Questo prodotto è destinato esclusivamente all'uso domestico. Questo prodotto è coperto da una garanzia limitata ed è soggetto a condizioni ed esclusioni. Consultare la garanzia per i dettagli.
AVVERTENZE E PRECAUZIONI DI SICUREZZA
- Questa fotocamera non è impermeabile né resistente all'acqua. Prestare attenzione quando la si utilizza vicino all'acqua.
- Non utilizzare la fotocamera mentre si cammina, si guida o si è in moto, poiché queste azioni possono causare incidenti.
- Non puntare il flash vicino agli occhi di nessuno. Ciò potrebbe causare danni alla vista della persona.
- Spegnere l'alimentazione se:
Oggetti estranei o acqua entrano nella fotocamera.
La fotocamera è caduta o è stata danneggiata.
L'uso continuato dopo i suddetti problemi può causare lesioni personali. L'assistenza deve essere eseguita solo da un tecnico qualificato. - Utilizzare la fotocamera in un'area ben ventilata. Non avvolgere la fotocamera né riporla in panni o coperte. Ciò potrebbe causare un accumulo di calore e deformare l'alloggiamento, con conseguenti lesioni personali.
- Non lasciare che sabbia o altre particelle entrino nella fotocamera, poiché potrebbero verificarsi danni.
- Non lasciare la fotocamera in luoghi dove la temperatura potrebbe aumentare significativamente, come all'interno di un'auto o sotto la luce solare diretta. Ciò potrebbe influire sulle prestazioni del prodotto.
- Questa fotocamera è uno strumento di precisione. Non far cadere, colpire o usare forza eccessiva durante la manipolazione della fotocamera.
- Prima di spostare la fotocamera, scollegare tutti i cavi. La mancata osservanza di questa precauzione può danneggiare i cavi, con conseguenti lesioni personali o danni al prodotto.
- Per prestazioni ottimali, utilizzare la KODAK PRINTOMATIC a temperature comprese tra 60°F e 90°F (15,6°C e 32,2°C) e con un'umidità relativa tra il 20% e l'80%.
- Durante un uso prolungato, la fotocamera potrebbe risultare calda al tatto. Si tratta di un normale fenomeno operativo e non indica alcun difetto del prodotto o motivo per interrompere il divertimento.
CURA E CARICA DELLA BATTERIA
Si prega di leggere attentamente e seguire queste linee guida.
- La fotocamera KODAK PRINTOMATIC è dotata di una batteria agli ioni di litio da 7,4 V incorporata e non rimovibile.
- Per massimizzare le prestazioni e la durata della batteria, si consiglia, al primo utilizzo, di lasciare che la batteria si scarichi completamente prima di ricaricarla.
- Per caricare la fotocamera, collegarla a una presa a muro utilizzando un cavo micro USB e un qualsiasi adattatore da parete con una potenza di 1 Ampere. L'indicatore LED della batteria diventerà rosso fino a quando la batteria non sarà completamente carica.
- La KODAK PRINTOMATIC potrebbe impiegare fino a 2 ore per caricarsi completamente.
- Evitare ambienti estremamente freddi poiché le basse temperature possono ridurre la durata della batteria e le prestazioni della fotocamera. Le batterie non devono essere esposte a calore eccessivo, come luce solare, fuoco o simili.
- Non smontare la fotocamera né rimuovere la batteria in nessun momento. La batteria non è progettata per essere rimossa dalla fotocamera o caricata all'esterno della fotocamera. Esiste il pericolo di esplosione se la batteria viene sostituita in modo errato e deve essere sostituita solo con lo stesso tipo o equivalente. Si prega di contattare il nostro team di supporto per l'assistenza.
- Quando la carica della batteria scende al di sotto del 10%, l'indicatore LED della batteria si illuminerà di rosso e la fotocamera non stamperà. Al 2% di carica, la fotocamera si spegnerà automaticamente.
- Si prega di assicurarsi di smaltire il dispositivo della fotocamera e la batteria presso un centro di riciclaggio adeguatamente designato nella propria zona.
C&A Marketing UK Ltd è un produttore registrato di prodotti a batteria e accumulatori
(Numero di registrazione BPRN06318) e di prodotti elettrici ed elettronici
(Numero di registrazione WEE/ JK4235XX) nel Regno Unito. Per maggiori informazioni sul corretto smaltimento, si prega di contattare il nostro team di supporto.
Le batterie agli ioni di litio possono causare danni ambientali se smaltite in modo errato.
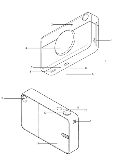
PARTI E FUNZIONI

- Fessura per il cinturino (cinturino non incluso)
- Flash
- Slot di uscita stampa foto
- Obiettivo della fotocamera
- Porta Micro USB
- Pulsante di reset
- Altoparlante
- Slot per scheda MicroSD™
- Mirino
- Pulsante di scatto
- Pulsante di accensione
- Sportello scorrevole del vano carta
- Spia indicatore batteria
- Spia indicatore alimentazione/stampa
UTILIZZO DELLA FOTOCAMERA
Accensione
- Premere il pulsante di accensione, situato sulla parte superiore della fotocamera. Assicurarsi che la batteria della fotocamera sia completamente carica.
Spegnimento
- Premere il pulsante di accensione per spegnere la fotocamera. La fotocamera entrerà automaticamente in modalità sospensione dopo 5 minuti di inattività.
Scattare foto
- Premere il pulsante di scatto in alto a destra per scattare una foto. La fotocamera metterà automaticamente a fuoco e attiverà il flash a seconda delle condizioni di illuminazione per ogni foto.
Stampa
- La fotocamera KODAK PRINTOMATIC utilizza solo carta fotografica KODAK ZINK per stampare istantaneamente e automaticamente foto da 2" x 3" non appena vengono scattate. Assicurarsi che la fotocamera sia caricata con carta fotografica KODAK ZINK.
Inserimento della carta fotografica
- Premere e far scorrere lo sportello del vano carta per aprirlo.
- Far scorrere l'intera confezione di carta fotografica KODAK ZINK nel vassoio della carta.
- Ogni confezione di carta fotografica KODAK ZINK include un foglio di calibrazione colore blu. Assicurarsi che la confezione sia caricata con il foglio di calibrazione colore blu con il codice a barre rivolto verso il basso. Il lato lucido della carta deve essere rivolto verso l'alto.
- Chiudere lo sportello del vano carta.
- Il foglio di calibrazione colore blu verrà espulso quando scatterete la prima foto, e poi la vostra foto verrà stampata.
![KODAK - PRINTOMATIC - Inserimento della carta fotografica Inserimento della carta fotografica]()
Ricarica della carta fotografica
- Caricare un solo pacchetto da 10 fogli e il relativo foglio di calibrazione colore blu nella stampante alla volta quando la stampante è vuota. Il foglio di calibrazione colore verrà elaborato automaticamente all'inizio di ogni pacchetto di carta, calibrando la stampante per quella specifica carta.
Cosa fare e non fare con la carta
- Non aggiungere altra carta finché il vano carta non è completamente vuoto.
- Non riempire il vano carta con più di una confezione da 10 fogli di carta fotografica KODAK ZINK. L'inserimento di oltre 10 fogli può danneggiare la stampante.
- Non piegare la carta fotografica KODAK ZINK.
- Afferrare la carta dai bordi. Evitare di toccare la superficie con le dita.
- Quando non in uso, conservare la carta fotografica KODAK ZINK a temperature comprese tra 68°F e 77°F (20°C e 25°C).
- Se è stato inserito il tipo di carta sbagliato, se si è verificato un inceppamento della carta o un altro errore correlato, il LED sulla parte superiore della fotocamera lampeggerà in rosso. Aprire la fotocamera e correggere l'errore (rimuovere l'inceppamento, sostituire la carta, ecc.) e quindi riavviare la fotocamera.
Memoria
- La vostra KODAK PRINTOMATIC è progettata per catturare e stampare immediatamente, e può contenere fino a 3 immagini alla volta. Per salvare le vostre foto utilizzate una scheda microSD™ esterna per estendere la sua capacità di memoria.
Inserimento di una scheda microSD™
- La vostra KODAK PRINTOMATIC supporta una scheda microSD™ da 32 GB. Inserite delicatamente la scheda nello slot nella parte inferiore della fotocamera. Sentirete un leggero clic quando la scheda sarà completamente inserita.
Rimozione di una scheda microSD™
- Spingere sulla parte superiore della scheda per rilasciarla. Tirare delicatamente per rimuovere completamente la scheda dalla fotocamera.
Indicazione di errore della scheda MicroSD™
- Quando la memoria sulla scheda microSD™ si esaurisce, o se si verifica un errore nella lettura della scheda, il LED sulla parte superiore della fotocamera lampeggerà in rosso.
Trasferimento di file al computer
- Tramite cavo USB:
Utilizzando un cavo micro USB (non incluso), collegare la KODAK PRINTOMATIC a un computer. Fare doppio clic sull'immagine della scheda di memoria quando appare sul desktop del computer per visualizzare e salvare le immagini. - Tramite scheda microSD™:
Rimuovere la scheda microSD™ dalla fotocamera come indicato sopra. Inserire la scheda nel lettore di schede.
DOMANDE FREQUENTI
D Perché i colori delle mie stampe risultano errati?
R Per garantire la precisione dei colori, la stampante della fotocamera deve essere calibrata correttamente tramite il foglio di calibrazione blu inserito con il codice a barre rivolto verso il basso. Questo foglio ha un codice a barre unico specifico per ogni confezione di carta, quindi assicurarsi di non mescolare la carta di confezioni diverse.
D Come si carica la fotocamera?
R Per caricare la batteria della fotocamera, è necessario collegare un cavo micro USB (non incluso) a qualsiasi adattatore da parete da 1 amp (non incluso). L'utilizzo di un computer o laptop per caricare la fotocamera non è raccomandato perché aumenterà significativamente il tempo di ricarica.
D Cosa devo fare se la carta è inceppata?
R Spegnere e riaccendere la stampante e la stampante espellerà la carta. Non tentare di estrarre la carta a mano.
D Perché le mie stampe risultano bianche?
R Assicurarsi che la confezione di carta fotografica KODAK ZINK sia correttamente inserita nella fotocamera. Durante il caricamento della carta, il lato lucido deve essere rivolto verso l'alto. Si prega di rivedere le istruzioni di caricamento della carta incluse in questa guida.
D Quanti fogli posso inserire alla volta?
R È possibile caricare una confezione da 10 fogli di carta fotografica KODAK ZINK alla volta.
D Perché le mie foto non sono centrate?
R I segni della cornice nel mirino sono impostati su un obiettivo a fuoco a 6 piedi di distanza. Se si scattano foto a meno di 6 piedi dal soggetto, i segni della cornice potrebbero non allinearsi con la foto.
D Perché le mie foto vengono stampate con delle linee?
R Assicurarsi che la carta sia inserita correttamente e che nulla ostruisca lo slot di uscita da cui vengono erogate le immagini. Utilizzare anche il foglio di calibrazione blu con ogni pacchetto di carta per pulire le testine di stampa. Non scuotere aggressivamente la fotocamera; potrebbe interferire con il processo di stampa.
D Quali schede di memoria possono essere utilizzate con la mia fotocamera?
R La fotocamera KODAK PRINTOMATIC accetta schede microSD™ e schede di memoria flash di tutte le marche.
D È necessaria una scheda microSD™ per questa fotocamera?
R Non è necessaria una scheda microSD™ per utilizzare la fotocamera. Se si desidera salvare le foto sul computer, sarà necessario avere una scheda microSD™ o una scheda di memoria comparabile nella fotocamera mentre si scattano le foto.
D Qualsiasi tipo di carta è compatibile con questa fotocamera?
R La fotocamera KODAK PRINTOMATIC è stata progettata per funzionare solo con carta fotografica KODAK ZINK. Altre carte potrebbero essere incompatibili con questa fotocamera.
D Come si attiva il flash della fotocamera?
R La fotocamera è dotata di un sensore di luce che attiverà automaticamente il flash in condizioni di scarsa illuminazione.
D È possibile scegliere quando stampare o la fotocamera stampa automaticamente?
R La vostra fotocamera KODAK PRINTOMATIC stampa automaticamente. Ogni foto scattata verrà stampata dopo pochi secondi.
D La stampante della fotocamera stampa foto da altri dispositivi?
R La fotocamera KODAK PRINTOMATIC stampa solo le foto scattate dalla fotocamera. Non si connette ad altri dispositivi.
SERVIZIO CLIENTI
U.S.: kodak@camarketing.com, 844-516-1539
Internazionale: kodakintl@camarketing.com, +1-844-516-1540
Il marchio, il logo e l'immagine commerciale Kodak sono utilizzati su licenza di Eastman Kodak Company. PRINTOMATIC è un marchio di C&A IP Holdings, LLC negli Stati Uniti, nell'Unione Europea e nel Regno Unito.
ZINK, Zero Ink e il logo ZINK sono marchi di ZINK Holdings, LLC, registrati negli Stati Uniti e in altri paesi.
MicroSD è un marchio di SD-3C LLC negli Stati Uniti e/o in altri paesi.
Realizzato e distribuito su licenza di Kodak da:
C&A Marketing, Inc., 114 Tived Lane East, Edison, NJ 08837 USA
C&A Marketing UK LTD, 167 Hermitage Road, Crusader Industrial Estate, London N4 1LZ, UK
©2020. C&A IP Holdings, LLC. Tutti i diritti riservati.
Per ottenere informazioni di contatto per il servizio di garanzia e la risoluzione dei problemi:
Visita il nostro sito web all'indirizzo www.kodakphotoplus.com

Riferimenti
Scarica manuale
Qui puoi scaricare la versione completa in PDF del manuale, può contenere ulteriori istruzioni di sicurezza, informazioni sulla garanzia, regole FCC, ecc.
Scarica KODAK PRINTOMATIC - Manuale della fotocamera digitale a stampa istantanea
