Harman JBL Club 6.5", JBL Club 8", JBL Club 10", JBL Club 12" Нұсқаулық
- 1 ҚОРАПТА НЕ БАР
- 2 ӨЛШЕМДЕРІ
- 3 ДИНАМИК СИГНАЛЫНЫҢ СЫМДАРЫ
- 4 ДИНАМИК ЖШД СЫМДАРЫ
- 5 КӨБІК ТЫҒЫЗДЫҚТЫ ЖАҒУ
- 6 ДИНАМИКТІ ОРНАТУ
- 7 ТОРДЫ БЕКІТУ
- 8 CLUB 10" НЕМЕСЕ 12" ҚАБЫРҒАСЫНА ОРНАТУ
- 9 ЖАБЫҚ ҚОРАП КӨЛЕМІ
- 10 ЖЕЛДЕТІЛГЕН ҚОРАП КӨЛЕМІ
- 11 ТЕХНИКАЛЫҚ ДЕРЕКТЕР
- 12 ТЕХНИКАЛЫҚ СИПАТТАМАЛАРЫ
- 13 Нұсқаулықты жүктеп алу
- 14 Басқа тілдерде

ҚОРАПТА НЕ БАР

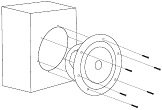
ӨЛШЕМДЕРІ


ДИНАМИК СИГНАЛЫНЫҢ СЫМДАРЫ
JBL теңіз динамигіне сигнал жіберу үшін оң (+) және теріс (-) динамик сымдарын көз құрылғысының немесе күшейткішіңіздің тиісті динамик шығыстарына қосыңыз. Тиісті полярлықты сақтаңыз.

ДИНАМИК ЖШД СЫМДАРЫ
Жарықдиодтарды қуатпен қамтамасыз ету үшін динамиктен шыққан 24 калибрлі қара (+), көк, жасыл және қызыл ЖШД сымдарын қосқышқа қосыңыз, содан кейін сымдарды қосқыштан үйлесімді 12 вольттық қуат көзіне немесе жарық контроллеріне (бөлек сатылады) жалғаңыз. Бөлек контроллерді пайдалансаңыз, әрбір сымды тиісті шығысқа қосуды ұмытпаңыз.

Егер жарықдиодтарды тікелей қуат көзіне сыммен жалғасаңыз, қара сымды оң (+) ұяшыққа, ал тиісті R, G және/немесе B жалғыз сымды немесе сымдардың тіркесімін теріс (-) ұяшыққа қосу арқылы жарықдиодтардың түсін таңдауға болады.
Сымдар конфигурациясына байланысты 7 мүмкін түс бар:
| Оң (+12В) ұяшыққа қосылған сым | Теріс (-) ұяшыққа қосылған сым | Шығарылған түс |
| Қара | Қызыл | Қызыл |
| Жасыл | Жасыл | |
| Көк | Көк | |
| Қызыл + Жасыл | Сары | |
| Қызыл + Көк | Күлгін | |
| Көк + Жасыл | Аквамарин | |
| Қызыл + Көк + Жасыл | Ақ |
КӨБІК ТЫҒЫЗДЫҚТЫ ЖАҒУ
Орнатуды судан қорғауға көмектесу және ауа өткізбейтін акустикалық тығыздағышты қамтамасыз ету үшін динамик жақтауына өздігінен жабысатын көбік тығыздағышты жағыңыз.

ДИНАМИКТІ ОРНАТУ
- Динамикті орнына орнату үшін жинақтағы бұрандалар мен бұрғылау ұшын пайдаланыңыз. Қауіпсіз орнатуды қамтамасыз ету үшін қажет болса, жинақтағы жылдамдық қыстырғыштарын пайдаланыңыз.
ЕСКЕРТПЕ: Орнату орнында динамикті орнатуға арналған жаңа тесіктерді бұрғылау қажет болуы мүмкін. Сызаттар мен жарықтардың алдын алу үшін шыны талшықпен кесу және бұрандаларды пайдалану кезінде абай болыңыз.
![Harman - JBL Club 6.5" - Динамикті орнату Динамикті орнату]()
- Динамик терминалдарынан судың ағып кетуін және тордың бағдары дұрыс болуын қамтамасыз ету үшін твиттердің үстіндегі жебені және "ЖОҒАРЫ" деп басылған жапсырма жебесі жоғары қаратылып тураланғанына көз жеткізіңіз. Динамикті орнатқаннан кейін жапсырманы алып тастаңыз.
ТОРДЫ БЕКІТУ
Ақ немесе сұр торды бекіту үшін оны динамиктің үстіне аздап бұрышпен қойып, төмен қарай басыңыз. Содан кейін оны орнына бекіту үшін сағат тілімен бірнеше градусқа бұраңыз. JBL логотипі төменде орналасқанына көз жеткізіңіз.

CLUB 10" НЕМЕСЕ 12" ҚАБЫРҒАСЫНА ОРНАТУ
Club 10" және 12" сабвуферлерін еркін ауада немесе жабық немесе портталған сабвуфер қабыршағында орнатуға болады.

ЖАБЫҚ ҚОРАП КӨЛЕМІ
(ДРАЙВЕРДІҢ ЫҒЫСТЫРУЫН ҚОСА АЛҒАНДА)

V BOX
| Динамиктің өлшемі | Қабыршақ өлшемі | Реттеу жиілігі |
| 10" | Еркін ауа | 44.9Hz |
| 0.75 ft3 (21.2L)* | 61.8Hz* | |
| 1.25 ft3 (35.4L) | 55.6Hz | |
| 2.25 ft3 (63.6L) | 51.1Hz | |
| 3 ft3 (85L) | 49.6Hz | |
| 12" | Еркін ауа | 34.3Hz |
| 1.25 ft3 (35.4L) | 56.5Hz | |
| 1.74 ft3 (49.3L)* | 51.2Hz* | |
| 2.25 ft3 (63.6L) | 47.9Hz | |
| 3 ft3 (85L) | 44.9Hz |
* Ұсынылады
ЖЕЛДЕТІЛГЕН ҚОРАП КӨЛЕМІ
(ДРАЙВЕРДІҢ ЫҒЫСТЫРУЫН ҚОСА АЛҒАНДА)

V BOX
| Динамик өлшемі | Қабыршақ өлшемі | Порт ұзындығы | Порт диаметрі | Реттеу жиілігі |
| 10" | 1.18 ft3 (33.5L)* | 9-7/8" (250mm)* | 3-1/16" (78mm)* | 34Hz* |
| 1.25 ft3 (35.4L) | 9-7/8" (250mm) | 3-3/16" (81mm) | 34Hz | |
| 2.25 ft3 (63.6L) | 11-13/16" (300mm) | 4-7/8" (123mm) | 34Hz | |
| 3 ft3 (85L) | 7-7/8" (200mm) | 5-3/4" (146mm) | 34Hz | |
| 12" | 1.25 ft 3 (35.4L) | 11-13/16" (300mm) | 2-5/8" (66mm) | 27.8Hz |
| 2.25 ft3 (63.6L) | 11-13/16" (300mm) | 3-7/8" (97mm) | 27.8Hz | |
| 3 ft3 (85L) | 9-7/8" (250mm) | 4-1/2" (113mm) | 27.8Hz | |
| 3.12 ft3 (88.5L)* | 9-7/8" (250mm)* | 4-5/8" (117mm)* | 27.8Hz* |
ТЕХНИКАЛЫҚ ДЕРЕКТЕР
(CLUB 10" ЖӘНЕ 12" САБВУФЕРЛЕРІ ҒАНА)
| THIELE-SMALL ПАРАМЕТРЛЕРІ | Club 10" (250mm) | Club 12" (300mm) | |
| Дыбыс катушкасының тұрақты ток кедергісі: | REVC (OHMs) | 3.47 | 3.23 |
| Электрлік индуктивтілік: | LCES (mH) | 20.34 | 27.98 |
| Драйвердің сәулелену ауданы: | SD (CM2) | 320.47 | 510.71 |
| Қозғалтқыштың күш факторы: | BL (TM) | 12.505 | 13.051 |
| Сәйкестік көлемі: | VAS (Liters) | 18.9086 | 60.6378 |
| Тоқтату сәйкестігі: | CMS (mm/N) | 0.13 | 0.164 |
| Қозғалатын масса, ауа жүктемесі: | MMS (Grams) | 96.45 | 131.368 |
| Ауа жүктемесінсіз қозғалатын масса: | MMD (Grams) | 89.967 | 118.327 |
| Еркін ауа резонансы: | FS (Hz) | 44.9 | 34.3 |
| Механикалық Q: | QMS | 6.983 | 9.373 |
| Электрлік Q: | QES | 0.603 | 0.537 |
| Жалпы Q: | QTS | 0.555 | 0.508 |
| SPL, 1W/1m @ 4ohm: | Lm (dB) | 86.57 | 88.6 |
ТЕХНИКАЛЫҚ СИПАТТАМАЛАРЫ
| Club 6.5" | Club 8" | Club 10" | Club 12" | |
| Үздіксіз қуатты өңдеу | 75W | 150W | 300W | 400W |
| Ең жоғары қуатты өңдеу | 225W | 450W | 900W | 1200W |
| Жиілік реакциясы | 50Hz – 20kHz | 30Hz – 20kHz | 25Hz – 500Hz | 25Hz – 500Hz |
| Номиналды кедергі | Ohm | Ohm | Ohm | Ohm |
| Сезімталдық | 92dB | 92dB | 89dB | 89dB |
| Сыртқы диаметрі | 178mm (7") | 225mm (8-7/8") | 273mm (10-3/4") | 325mm (12-13/16") |
| Орнатуға арналған ойық диаметрі | 133mm (5-1/4") | 170mm (6-11/16") | 221.5mm (8-3/4") | 280mm (11-1/16") |
| Жалпы тереңдігі | 91mm (3-19/32") | 112.3mm (4-7/16") | 169.5mm (6-3/4") | 198.5mm (7-13/16") |
| Орнату тереңдігі | 65mm (2-9/16") | 83.7mm (3-5/16") | 127.5mm (5-1/16") | 154.5mm (6-1/16") |
Нұсқаулықты жүктеп алу
Мұнда нұсқаулықтың толық pdf нұсқасын жүктеп алуға болады, онда қосымша қауіпсіздік нұсқаулары, кепілдік туралы ақпарат, FCC ережелері және т.б. болуы мүмкін.
Harman JBL Club 6.5", JBL Club 8", JBL Club 10", JBL Club 12" Нұсқаулық жүктеп алу
