„Kodak PIXPRO AZ405“ – 20 MP skaitmeninio fotoaparato greitos pradžios vadovas
- 1 Atsargumo priemonės naudojant baterijas
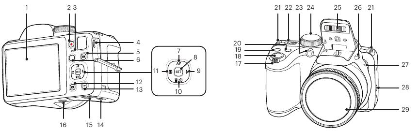
- 2 Fotoaparato vaizdai
- 3 AA baterijų ir atminties kortelės įdėjimas
- 4 Kalbos / datos / laiko nustatymas
- 5 Nuotraukos darymas
- 6 Režimo ratuko naudojimas
- 7 Greito vaizdo įrašymo mygtuko naudojimas
- 8 Meniu mygtuko naudojimas
- 9 Atsisiųsti instrukciją
- 10 Kitomis kalbomis

Atsargumo priemonės naudojant baterijas
- Norėdami užtikrinti optimalų veikimą, naudokite firmines baterijas (pvz., „Energizer®“ arba „Duracell®“). Nemaišykite naujų ir senų baterijų arba skirtingų markių baterijų. Keisdami baterijas, pakeiskite visas 4 baterijas vienu metu.
- Šarminių baterijų veikimas ir tarnavimo laikas skirsis priklausomai nuo prekės ženklo.
- Nemaišykite šarminių, standartinių (anglies-cinko) arba įkraunamų (ni-cad, ni-mh, ir t. t.) baterijų.
Fotoaparato vaizdai

| 1 | LCD | 16 | Trikojo lizdas |
| 2 | Greito vaizdo įrašymo mygtukas | 17 | Priartinimo svirtis |
| 3 | Indikatoriaus lemputė | 18 | Užrakto mygtukas |
| 4 | „Micro USB“ prievadas | 19 | Ekspozicijos kompensavimo mygtukas |
| 5 | Meniu mygtukas | ||
| 6 | Mygtukas „I“ | 20 | Nuolatinio fotografavimo mygtukas |
| 7 | [ ![]() ] AF mygtukas / rodyklės mygtukas (aukštyn) | 21 | Dirželio kilpelė |
| 8 | SET mygtukas | 22 | Maitinimo jungiklis |
| 9 | [![]() ] Blykstės mygtukas / rodyklės mygtukas (dešinėn) | 23 | AF pagalbinis spindulys / laikmačio lemputė |
| 10 | [![]() ![]() ] Ištrynimo mygtukas / laikmačio mygtukas / rodyklės mygtukas (žemyn) | 24 | Režimo ratukas |
| 11 | [![]() ] Makro mygtukas / rodyklės mygtukas (kairėn) | 25 | Blykstės lemputė |
| 12 | Atkūrimo mygtukas | 26 | Blykstės mygtukas |
| 13 | Ekrano mygtukas | 27 | Mikrofonas |
| 14 | Baterijos dangtelio sagtis | 28 | Garsiakalbis |
| 15 | Baterijos skyriaus dangtelis | 29 | Objektyvas |
AA baterijų ir atminties kortelės įdėjimas

- Atidarykite akumuliatoriaus dangtelio dureles, kaip parodyta 1, 2 ir 3 žingsniuose.
- Įdėkite AA baterijas į baterijų skyrių.
- Įdėkite atminties kortelę į atminties lizdą.
- Uždarykite akumuliatoriaus dangtelio dureles, kaip parodyta 1 ir 2 žingsniuose.
Kalbos / datos / laiko nustatymas

- Paspauskite maitinimo jungiklį, kad įjungtumėte fotoaparatą, ir pasirodys kalbos meniu. Norėdami pasirinkti kalbą, naudokite [
![]()
] / [![]()
![]()
] / [![]()
] / [![]()
] mygtukus ir paspauskite
mygtuką, kad patvirtintumėte kalbą. - Dar kartą naudokite [
![]()
] / [![]()
![]()
] / [![]()
] / [![]()
] mygtukus, kad nustatytumėte datą ir laiką, ir paspauskite
mygtuką, kad patvirtintumėte.
Nuotraukos darymas

- Tvirtai laikykite fotoaparatą.
- Naudokite priartinimo svirtį, kad pasirinktumėte „Tele“ arba „Wide“ padėtis, kad priartintumėte arba atitolintumėte objektą.
- Norėdami sufokusuoti objektą, iki pusės paspauskite užrakto mygtuką. Kai fokusavimo rėmelis pasidaro žalias, visiškai paspauskite užrakto mygtuką, kad nufotografuotumėte.
Režimo ratuko naudojimas

Šiame fotoaparate yra patogus režimo ratukas, leidžiantis lengvai perjungti skirtingus fotoaparato nustatymus. Galimi režimai pateikti toliau:
![]() | Automatinis režimas | ![]() | Programos AE |
![]() | Užrakto prioritetas | ![]() | Diafragmos prioritetas |
![]() | Rankinis režimas | ![]() | Veido gražinimas |
![]() | Panoramos režimas | ![]() | Scenos režimas |
![]() | Filmo režimas | ![]() | Individualūs nustatymai |
Greito vaizdo įrašymo mygtuko naudojimas

Fotografavimo režimu paspauskite
mygtuką, kad pradėtumėte filmuoti. Įrašę paspauskite
mygtuką dar kartą, kad sustabdytumėte įrašymą. Fotoaparatas išsaugos vaizdo įrašą ir grįš į fotografavimo ekraną.
Meniu mygtuko naudojimas

Kiekviename režime paspauskite
mygtuką, kad pasiektumėte „Easy Menu“ (paprastą meniu). Paspauskite [ 
] / [

] mygtukus, kad judėtumėte tarp parinkčių, tada paspauskite
mygtuką, kad pasirinktumėte. Pasirinkus
šiame sąraše, bus suteikta prieiga prie „Full Menu“ (pilno meniu):
Fotografavimo režimas
![]() | Fotografavimo nustatymai |
![]() | Bendrieji nustatymai |
![]() | Ryšio nustatymai |
![]() | Failų nustatymai |
Atkūrimo režimas
![]() | Atkūrimo nustatymai |
![]() | Bendrieji nustatymai |
![]() | Ryšio nustatymai |
![]() | Failų nustatymai |

Atsisiųsti instrukciją
Čia galite atsisiųsti visą pdf instrukcijos versiją, kurioje gali būti papildomų saugos instrukcijų, garantijos informacijos, FCC taisyklių ir kt.
Atsisiųsti „Kodak PIXPRO AZ405“ – 20 MP skaitmeninio fotoaparato greitos pradžios vadovas

] Blykstės mygtukas / rodyklės mygtukas (dešinėn) 
] Makro mygtukas / rodyklės mygtukas (kairėn)
mygtuką, kad patvirtintumėte kalbą.
















