GE SunSmart skaitmeninio laikmačio montavimo vadovas
- 1 Priekinės plokštės keitimas
- 2 Vieno poliaus montavimas
- 3 Laikmačio montavimo instrukcijos 3 krypčių LOAD pusėje
- 4 Laikmačio įrengimo LINE pusėje 3 krypčių instrukcijos
- 5 Apžvalga
- 6 Laikmačio nustatymas pirmą kartą
- 7 Prieblandos/aušros regiono (zonos) nustatymas
- 8 Programavimo instrukcijos
- 9 Papildomos programavimo parinktys
- 10 Papildomos funkcijos
- 11 Problemų šalinimas
- 12 Nuorodos
- 13 Atsisiųsti instrukciją
- 14 Kitomis kalbomis

ELEKTROS ŠOKO RIZIKA
- PRIEŠ MONTUODAMI IŠJUNKITE MAITINIMĄ PRIE SAUGIKLIŲ DĖŽUTĖS ARBA GRANDINĖS PERTRAUKIKLIO
- NENAUDOKITE DRĖGNOSE VIETOSE
- NAUDOKITE TIK PATALPOSE
GAISRO RIZIKA
- NENAUDOKITE PRIETAISAMS, KURIUOSE YRA ŠILDYMO ELEMENTAI (VIRIMO PRIETAISAI, ŠILDYTUVAI, LYGINTUVAI IR KT.) VALDYTI
- NEVIRŠYKITE ELEKTRINIŲ PARAMETRŲ
- NENAUDOKITE ROZETĖMS VALDYTI
- SU ŠIUO ĮRENGINIU NAUDOKITE TIK VARINĘ VIELĄ
- PRIveržkite VISAS JUNGTIS IKI 1–1,4 N·m (8,85–12,39 LBF-IN.)
- MAITINIMO JUNGTIMS NAUDOKITE 14 AWG ARBA DIDesnę VIELĄ, KURios TEMPERATŪRA YRA MAŽIAUSIAI 75 °C.
- ĮŽEMINIMO LAIDUI NAUDOKITE 12 AWG ARBA DIDesnę VIELĄ, KURios TEMPERATŪRA YRA MAŽIAUSIAI 75 °C.
Priekinės plokštės keitimas
Šis įrenginys apima šviesiai migdolų spalvos priekinę plokštę. Norėdami pakeisti priekines plokštes, atlikite šiuos veiksmus:
- Švelniai nuimkite baltą priekinę plokštę naudodami plokščiagalvį atsuktuvą. Raskite angas apatinėje kairėje arba dešinėje baltos priekinės plokštės pusėje ir atlaisvinkite priekinę plokštę (žr. 1 pav.). Apdirbkite priekinę plokštę, kol ji atšoks.
![]()
- Pakuotėje raskite šviesiai migdolų spalvos priekinę plokštę. Padėkite naują priekinę plokštę į vietą ir atsargiai stumkite priekinės plokštės apačią, kol ji užsifiksuos.
Vieno poliaus montavimas
PASTABA: jei nesate tikri arba jums neaiškus šis montavimas arba jei laidai jūsų dėžutėje neatitinka vadovo (ne visose jungiklių dėžutėse yra neutralių laidų), kreipkitės į kvalifikuotą, licencijuotą elektriką.
Montavimo instrukcijos (vieno poliaus)
- Išjunkite pagrindinį maitinimą prie grandinės pertraukiklio arba saugiklių dėžutės.
- Nuimkite esamą jungiklį.
- Prijunkite laikmatį prie sieninės dėžutės laidų, kaip parodyta 2 paveiksle.
- Prijunkite karštą/įtampingą LINE laidą prie laikmačio LINE gnybto.
- Prijunkite karštą/įtampingą LOAD laidą prie laikmačio LOAD gnybto.
- Prijunkite įžeminimo laidą prie laikmačio GROUND gnybto.
- Prijunkite neutralų laidą prie laikmačio NEUTRAL gnybto. Dažnai neutralų laidą galima rasti laidų dėžutės gale, prijungtą prie laido veržlės. Gali būti keli neutralūs laidai, sujungti kartu. Pridėkite laikmačio neutralų laidą prie kitų neutralių laidų, sujungtų kartu, įsitikindami, kad laido veržlė yra tvirtai užveržta. Jei reikia, naudokite pridedamą trumpiklį.
- Įsitikinkite, kad visi gnybtai yra priveržti iki 8,85–12,39 lbf-in., ir įkiškite laidus į sieninę dėžutę, palikdami vietos laikmačiui.
- Naudokite varžtus, kad pritvirtintumėte laikmatį prie sieninės dėžutės, būkite atsargūs, kad nesuspaustumėte jokių laidų.
- Iš naujo įdiekite savo sieninę plokštę.
- Įjunkite pagrindinį maitinimą prie grandinės pertraukiklio.
- Jei laikmatis neįsijungia, atjunkite maitinimą prie grandinės pertraukiklio arba saugiklių dėžutės. Sujunkite LINE ir LOAD laidus ant laikmačio. Iš naujo pritvirtinkite laikmatį ir sieninę plokštę, tada atkurkite maitinimą prie saugiklių dėžutės arba grandinės pertraukiklio.
Laikmačio montavimo instrukcijos 3 krypčių LOAD pusėje
PASTABA: jei nesate tikri arba jums neaiškus šis montavimas arba jei laidai jūsų dėžutėje neatitinka vadovo (ne visose jungiklių dėžutėse yra neutralių laidų), kreipkitės į kvalifikuotą, licencijuotą elektriką.
Jungiklio paruošimas LINE pusėje
- Atjunkite maitinimą nuo grandinės išjungdami grandinės pertraukiklį arba išimdami saugiklį iš saugiklių dėžutės.
- Naudodami 3 paveikslo LINE pusę kaip vaizdinę nuorodą, pažymėkite ir nuimkite LINE laidą (1) nuo bendrojo gnybto (C) ir Traveler-2 laidą (7) nuo HOT gnybto (H).
![GE - SunSmart Digital Timer - Tipinė 3 krypčių montavimo schema - laikmatis apkrovos pusėje Tipinė 3 krypčių montavimo schema - laikmatis apkrovos pusėje]()
Tipinėje 3 krypčių programoje yra du 3 krypčių jungikliai. Jungiklis "HOT" pusėje turi bendrąjį gnybtą, prijungtą prie 120 VAC. Jungiklis "LOAD" pusėje turi bendrąjį gnybtą, prijungtą prie apkrovos, kurią jungikliai įjungia ir išjungia. - Naudodami 4 paveikslą kaip vaizdinę nuorodą, prijunkite trumpiklio laidą (6) (pridedamas), LINE laidą (1) nuo bendrojo gnybto (C) ir Traveler-2 laidą (7) kartu. Turėtumėte turėti tris laidus, sujungtus su viena laido veržle.
![GE - SunSmart Digital Timer - Laikmačio laidų prijungimas 3 krypčių montavimui - laikmatis apkrovos pusėje Laikmačio laidų prijungimas 3 krypčių montavimui - laikmatis apkrovos pusėje]()
- Prijunkite kitą trumpiklio laido (6) galą atgal prie bendrojo gnybto (C) ant jungiklio. Apsvarstykite galimybę įrašyti Traveler-1 (5) ir Traveler-2 (7) laidų žymėjimą/spalvų kodavimą, kad galėtumėte juos atskirti vėlesniam naudojimui.
- Atsargiai įkiškite laidus į dėžutę, palikdami vietos jungikliui.
- Įdiekite jungiklį atgal į dėžutę.
Laikmačio montavimas LOAD pusėje
- Naudodami 3 paveikslo Load pusę kaip vaizdinę nuorodą, nuimkite LOAD pusės 3 krypčių jungiklį ir keturis laidus, pažymėdami laidą, nuimtą nuo bendrojo gnybto, kaip LOAD (4), o laidus nuo HOT gnybtų (H) kaip Traveler-1 (5) ir Traveler-2 (7).
- Naudodami 4 paveikslo laikmatį LOAD pusėje kaip vaizdinę nuorodą likusiems veiksmams, prijunkite LOAD laidą (4) prie laikmačio LOAD gnybto.
- Prijunkite Traveler-2 laidą (7) prie laikmačio LINE gnybto.
- Prijunkite Traveler-1 laidą (5) prie laikmačio TRAVELER gnybto.
- Prijunkite baltą neutralų laidą (2) nuo jungiklių dėžutės prie laikmačio NEUTRAL gnybto. Daugiau neutralių laidų gali būti sujungti jungiklių dėžutės gale; gali būti keli neutralūs laidai, sujungti kartu su laido veržle. Pridėkite neutralų laidą prie kitų neutralių laidų, sujungtų kartu, užtikrindami, kad laido veržlė būtų tvirtai užveržta. Jei reikia, naudokite pridedamą trumpiklį.
- Prijunkite žalią įžeminimo laidą (3) jungiklių dėžutėje prie laikmačio GROUND gnybto.
- Atsargiai įkiškite laidus į jungiklių dėžutę, palikdami vietos laikmačiui.
- Naudokite pridedamus varžtus, kad įdiegtumėte laikmatį, būkite atsargūs, kad nesuspaustumėte ar nesuspaustumėte laidų.
- Atkurkite maitinimą prie grandinės pertraukiklio arba saugiklių dėžutės.
- Patikrinkite, ar LOAD įsijungia/išsijungia, kai rankiniu būdu įjungiate ir išjungiate laikmatį. Atlikite šį testą su nuotoliniu jungikliu abiejose padėtyse. Turėtumėte išgirsti, kaip laikmačio relė spragtelėja įjungiant/išjungiant. Jei girdite, kaip relė spragtelėja, bet LOAD tinkamai neįsijungia/išsijungia, patikrinkite laidus.
- Jei apkrova neveikia tinkamai, atjunkite maitinimą prie grandinės pertraukiklio arba saugiklių dėžutės. Tada sukeiskite Traveler-2 (Line) laidą (7) ir Traveler-1 laidą (5) ant laikmačio.
Laikmačio įrengimo LINE pusėje 3 krypčių instrukcijos
PASTABA: Jei nesate tikri arba jums neaiškus šis įrengimas, arba jei laidai jūsų dėžutėje neatitinka vadovo (ne visose jungiklių dėžutėse yra neutralių laidų), kreipkitės į kvalifikuotą, licencijuotą elektriką.
Jungiklio paruošimas LOAD pusėje
- Atjunkite maitinimą nuo grandinės išjungdami grandinės pertraukiklį arba išimdami saugiklį iš saugiklių dėžutės.
- Naudodami 5 paveikslą „Jungiklis LOAD pusėje“ kaip vaizdinę nuorodą, pažymėkite ir nuimkite LOAD laidą (4) nuo bendrojo gnybto (C) ir Traveler-2 laidą (7) nuo HOT gnybto (H).
![GE - SunSmart Digital Timer - Tipinė 3 krypčių įrengimo schema - laikmatis linijos pusėje Tipinė 3 krypčių įrengimo schema - laikmatis linijos pusėje]()
Tipinėje 3 krypčių programoje yra du 3 krypčių jungikliai. Jungiklis "HOT" pusėje turi bendrąjį gnybtą, prijungtą prie 120VAC. Jungiklis "LOAD" pusėje turi bendrąjį gnybtą, prijungtą prie apkrovos, kurią jungikliai išjungia ir įjungia. - Naudodami 6 paveikslą kaip vaizdinę nuorodą, prijunkite trumpiklį (6) (pridedamas), LOAD laidą (4) nuo bendrojo gnybto (C) ir Traveler-2 laidą (7) kartu. Turėtumėte turėti tris laidus, sujungtus su vienu laido dangteliu. Jei reikia, naudokite pridedamą trumpiklį.
![GE - SunSmart Digital Timer - Laikmačio laidų prijungimas 3 krypčių įrengimui - laikmatis linijos pusėje Laikmačio laidų prijungimas 3 krypčių įrengimui - laikmatis linijos pusėje]()
- Prijunkite kitą trumpiklio (6) galą atgal prie bendrojo gnybto (C) ant jungiklio. Apsvarstykite galimybę užrašyti Traveler-1 (5) ir Traveler-2 (7) laidų žymėjimą/spalvų kodavimą, kad galėtumėte juos atskirti vėlesniam naudojimui.
- Atsargiai įkiškite laidus į jungiklių dėžutę, palikdami vietos laikmačiui.
- Įdėkite jungiklį atgal į dėžutę.
Laikmačio įrengimas LINE pusėje
- Naudodami 5 paveikslo LINE pusę kaip vaizdinę nuorodą, nuimkite LINE pusės 3 krypčių jungiklį ir keturis laidus, pažymėdami laidą, nuimtą nuo bendrojo gnybto (C), kaip LINE (1), o laidus nuo HOT gnybtų (H) kaip Traveler-1 (5) ir Traveler-2 (7).
- Naudodami 6 paveikslo „Laikmatis LINE pusėje“ kaip vaizdinę nuorodą likusiems veiksmams, prijunkite LINE laidą (1) prie laikmačio LINE gnybto.
- Prijunkite baltą neutralų laidą (2) prie laikmačio NEUTRAL gnybto. Daugiau neutralių laidų gali būti sujungti jungiklių dėžutės gale; gali būti keli neutralūs laidai, sujungti laido dangteliu. Pridėkite neutralų laidą prie kitų neutralių laidų, sujungtų kartu, užtikrindami, kad laido dangtelis būtų tvirtai užveržtas.
- Prijunkite Traveler-1 laidą (5) prie laikmačio TRAVELER gnybto, o Traveler-2 laidą (7) prie laikmačio LOAD gnybto.
- Prijunkite žalią įžeminimo laidą (3) prie laikmačio GROUND gnybto.
- Atsargiai įkiškite laidus į jungiklių dėžutę, palikdami vietos laikmačiui.
- Naudokite pridedamus varžtus laikmačiui įrengti, būkite atsargūs, kad nesuspaustumėte ar nesuspaustumėte laidų.
- Atkurkite maitinimą prie grandinės pertraukiklio arba saugiklių dėžutės.
- Patikrinkite, ar LOAD įsijungia/išsijungia, kai rankiniu būdu įjungiate ir išjungiate laikmatį. Atlikite šį testą su nuotoliniu jungikliu abiejose padėtyse. Turėtumėte išgirsti, kaip laikmačio relė spragtelėja įjungiant/išjungiant. Jei girdite relės spragtelėjimą, bet LOAD tinkamai neįsijungia/išsijungia, patikrinkite laidus.
- Jei apkrova neveikia tinkamai, atjunkite maitinimą prie grandinės pertraukiklio arba saugiklių dėžutės. Tada sukeiskite Traveler-2 (LOAD) laidą (7) ir Traveler-1 laidą (5) prie laikmačio arba perjungiklio.
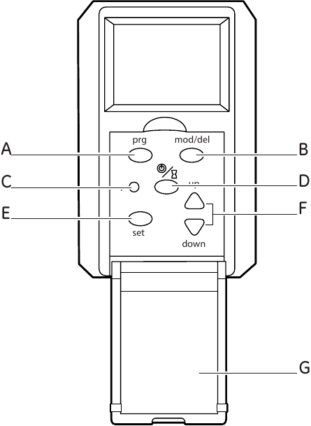
Apžvalga

- PROGRAM (prg): Paspauskite, kad nustatytumėte dienos įjungimo/išjungimo laikus.
- MODE/DELETE (mod/del): Paspauskite, kad pasirinktumėte automatinį, rankinį arba atsitiktinį režimus. Kai laikmatis yra Program mode (prg) (programos režime), šis mygtukas ištrina programos nustatymus.
- RESET: Paspauskite, kad atstatytumėte laikmatį į numatytuosius nustatymus.
- ON/OFF (įjungti/išjungti) ir TIMER OVERRIDE (laikmačio atšaukimas): Paspauskite, kad įjungtumėte/išjungtumėte apkrovą, ir paspauskite ir palaikykite, kad paleistumėte atgalinės atskaitos funkciją.
- SET: Paspauskite, kad nustatytumėte kalendorių, laikrodį, prieblandą, aušrą ir vasaros laiko nustatymus.
- UP/DOWN BUTTONS (aukštyn/žemyn mygtukai): Paspauskite, kad slinktumėte per laikmačio nustatymo parinktis.
- TIMER DOOR (laikmačio durelės): Uždarykite po programavimo. Paspauskite, kad įjungtumėte/išjungtumėte (TIMER OVERRIDE (laikmačio atšaukimas)).
PASTABA: Laikmatis automatiškai grįš į laikrodžio režimą, jei mygtukas nebus paspaustas 60 sekundžių. Paspauskite nustatymo mygtuką vieną kartą, kad grįžtumėte į programos režimą, jei taip atsitiks.
Laikmačio nustatymas pirmą kartą
- Naudodami dantų krapštuką arba pieštuką, švelniai paspauskite RESET (C) (atstatyti), kad išvalytumėte visą programavimą ir nustatytumėte laikmatį į numatytuosius nustatymus.
- Paspauskite SET (E) (nustatyti) mygtuką, kad pradėtumėte nustatyti laiką ir kalendorių. Laikas "12:00 AM" mirksės. Žr. 7 paveikslą.
![]()
- Naudokite UP/DOWN (F) (aukštyn/žemyn) mygtukus, kad nustatytumėte dabartinį laiką, atkreipdami dėmesį į AM ir PM ekrane. Paspauskite SET (E) (nustatyti), kai bus rodomas dabartinis laikas.
- Naudokite UP/DOWN (F) (aukštyn/žemyn) mygtukus, kad pasirinktumėte metus, tada paspauskite SET (E) (nustatyti).
- Naudokite UP/DOWN (F) (aukštyn/žemyn) mygtukus, kad nustatytumėte mėnesį, tada paspauskite SET (E) (nustatyti).
- Naudokite UP/DOWN (F) (aukštyn/žemyn) mygtukus, kad nustatytumėte dieną, tada paspauskite SET (E) (nustatyti).
- Kai ekrane pasirodys DST (žr. 8 paveikslą), naudokite UP/ DOWN (F) (aukštyn/žemyn) mygtukus, kad įjungtumėte/išjungtumėte DST, tada paspauskite SET (E) (nustatyti).
PASTABA: Pasirinkite DST ON (DST įjungta), jei jūsų vietovėje laikomasi vasaros laiko. Laikmatis automatiškai pasislinks atgal ir į priekį valanda. Pasirinkite DST OFF (DST išjungta), jei jūsų vietovėje nesilaikoma vasaros laiko. - Jei pasirinkote DST ON (DST įjungta), ekrane mirksi "ZONE" (zona). Pereikite prie SKYRIAUS PRIEBLANDOS/AUŠROS REGIONO (ZONOS) NUSTATYMAS žemiau.
PASTABA: Šis žingsnis nenustato jūsų laiko zonos. Šiame žingsnyje jūs nustatote savo vietą pagal šį žemėlapį, kad užtikrintumėte tikslų aušros ir prieblandos laiką jūsų vietovei.
Prieblandos/aušros regiono (zonos) nustatymas
Peržiūrėkite 9 paveikslą ir nustatykite, kuri zona geriausiai atitinka jūsų vietą, naudodami rodyklę aukštyn. Galimos parinktys yra NOR: Šiaurė, CENT: Centras, SOUT: Pietūs, ALAS: Aliaska ir HAWA: Havajai

- Naudokite UP/DOWN (F) (aukštyn/žemyn) mygtukus, kad pasirinktumėte zoną, kurioje įrengtas laikmatis, tada paspauskite SET (E) (nustatyti). Žr. 10 paveikslą.
![]()
- Naudokite UP/DOWN (F) (aukštyn/žemyn) mygtukus, kad nustatytumėte prieblandos laiką, tada paspauskite SET (E) (nustatyti). Apytikslis prieblandos laikas mirksės. Apytikslį laiką galima pakeisti + arba – 2 valandomis, kad rastumėte norimą prieblandos laiką. Žr. 11A paveikslą.
![]()
- Naudokite UP/DOWN (F) (aukštyn/žemyn) mygtukus, kad nustatytumėte aušros laiką, tada paspauskite SET (E) (nustatyti). Apytikslis aušros laikas mirksės. Apytikslį laiką galima pakeisti + arba – 2 valandomis, kad rastumėte norimą aušros laiką. Žr. 11B paveikslą.
- Paspauskite SET (E) (nustatyti), kad užbaigtumėte nustatymą, ir laikmatis grįš į laikrodžio režimą.
Programavimo instrukcijos
ĮJUNGIMO/IŠJUNGIMO dienų programavimas
- Paspauskite PROGRAM (prg) (A) (programa) mygtuką, kad pradėtumėte programuoti laikus. Ekrane bus rodoma Program 1 on (1 programa įjungta). Žr. 12 paveikslą. Paspauskite PROGRAM (prg) (A) (programa), kad slinktumėte per likusias ĮJUNGIMO/IŠJUNGIMO programas, kol pasieksite galimą programą (jei programuojate kelias programas). Yra 7 ĮJUNGIMO/IŠJUNGIMO programos. Kai būsite tinkamoje programoje, paspauskite SET (E) (nustatyti).
![]()
- Naudokite rodyklės aukštyn (F) mygtuką, kad slinktumėte savaitės dienas, kuriomis laikmatis įsijungs:
MO, TU, WE, TH, FR, SA, SU (Numatytasis)
MO iki SU: Atskiros dienos
MO, TU, WE, TH, FR
SA, SU
SU, MO, TU, WE, TH
FR, SA - Paspauskite SET (E) (nustatyti), kad pasirinktumėte norimą savaitės dienos nustatymą. Pereikite prie 2 veiksmo – ĮJUNGIMO/IŠJUNGIMO laiko programavimas.
ĮJUNGIMO/IŠJUNGIMO laiko programavimas
- Paspauskite UP/DOWN (F) (aukštyn/žemyn) mygtukus, kad pasirinktumėte vieną iš šių trijų parinkčių, kad pradėtumėte konfigūruoti laikmačio ĮJUNGIMO laiką. Paspauskite SET (E) (nustatyti), kad pasirinktumėte savo nustatymo parinktį, ir PROGRAM (prg) (A) (programa), kad pereitumėte prie 2 veiksmo.
TIME (laikas): Paspauskite UP/DOWN (F) (aukštyn/žemyn) mygtukus, kad nustatytumėte bet kurį kliento laiką, atkreipdami dėmesį į AM/PM ekrane. Žr. 13 paveikslą.
DUSK (prieblanda): Nustato laikmatį į rodomą DUSK (prieblandos) laiką. Žr. 14 paveikslą.
DAWN (aušra): Nustato laikmatį į rodomą DAWN (aušros) laiką. Žr. 15 paveikslą.
- Paspauskite UP/DOWN (F) (aukštyn/žemyn) mygtukus, kad pasirinktumėte vieną iš trijų parinkčių, kad pradėtumėte konfigūruoti laikmačio IŠJUNGIMO laiką. Paspauskite SET (E) (nustatyti), kad pasirinktumėte savo nustatymo parinktį, ir PROGRAM (prg) (A) (programa), kad pereitumėte prie 3 veiksmo.
- Pakartokite A ir B veiksmus, kad nustatytumėte papildomus užprogramuotus ĮJUNGIMO/IŠJUNGIMO laikus (iš viso iki 7).
Norėdami išeiti iš programavimo režimo ir grįžti į laikrodžio režimą, paspauskite ir palaikykite PROGRAM (prg) (A) (programa) mygtuką 3 sekundes arba nepaspauskite jokių mygtukų 20 sekundžių.
Papildomos programavimo parinktys
Programų peržiūra
Paspauskite PROGRAM (prg) (A) mygtuką, kad peržiūrėtumėte esamas ĮJUNGIMO/IŠJUNGIMO programas (maksimaliai 7).
Programų ištrynimas
Paspauskite PROGRAM (prg) (A) mygtuką, kad peržiūrėtumėte esamas ĮJUNGIMO/IŠJUNGIMO programas. Sustokite ties programa, kurią norite ištrinti, ir paspauskite MODE/DELETE (mod/del) (B), kad ištrintumėte. Ekrane bus rodoma, kad programa buvo ištrinta.
Atsitiktinės (RND) apsaugos parinkties nustatymas
Atsitiktinė (rnd) funkcija įjungs ir išjungs šviesas naudodama užprogramuotus laikus + arba - 30 minučių, suteikdama namui daugiau gyvenamo įspūdžio, kol gyventojo nėra.
Norėdami įjungti atsitiktinę funkciją, spauskite MODE/DELETE (mod/del) (B), kol ekrane pradės mirksėti RND. Norėdami išjungti, vėl paspauskite MODE/DELETE (mod/del) (B), kad įjungtumėte rankinį arba automatinį nustatymą. Žr. 16 pav.

Papildomos funkcijos
Trijų galimų laikmačio režimų naudojimas (pasirinktinai)
Paspauskite MODE/DELETE (mod/del) (B), kad peržiūrėtumėte galimus režimus.
AUTO - (Automatinis) Laikmatis nustatytas į automatinį režimą ir veiks pagal pasirinktą programą (1-7).
MANU - (Rankinis) Laikmatis neveikia pagal programą. Įjunkite ir išjunkite šviesas paspausdami dureles (G).
RND - (Atsitiktinis) Laikmatis įjungs ir išjungs šviesas naudodamas vieną iš esamų programų laikų + arba - 30 minučių.
Atgalinės atskaitos režimas
Paspauskite ir palaikykite ON/OFF (D) (ĮJUNGIMO/IŠJUNGIMO) mygtuką apie 3 sekundes.
- Naudokite UP/DOWN (F) (AUKŠTYN/ŽEMYN) mygtukus, kad pasirinktumėte atgalinės atskaitos laiką (numatytasis yra 1 valanda). Žr. 17 pav.
- Sustokite ties norimu laiku ir laikmatis pradės atgalinę atskaitą. Pasirinktas laikas taps nauju numatytuoju. Jei naudojate numatytąjį 1 valandos atgalinės atskaitos laiką, paspauskite dureles (G) 3 sekundes ir prasidės atgalinės atskaitos funkcija. Šviesos išsijungs, kai atgalinė atskaita bus baigta. Palaikykite ON/OFF (D) (ĮJUNGIMO/IŠJUNGIMO) mygtuką 3 sekundes, kad atšauktumėte atgalinę atskaitą.
Problemų šalinimas
3 krypčių jungiklis neveiks.
- Įsitikinkite, kad jungiklio laidai prijungti teisingai.
Šviesos dega visą dieną, valdomos laikmačio.
- Patikrinkite, ar laikrodžio laikas nustatytas teisingai AM/PM (ryto/vakaro).
- Patikrinkite, ar prieblandos ir aušros laikai nėra sukeisti vietomis.
Šviesos įsijungia ir išsijungia kitu laiku nei užprogramuota.
- Patikrinkite, ar laikmatyje nėra kelių programų, kurios prieštarauja viena kitai.
- 3 krypčių jungiklis galėjo būti naudojamas šviesoms išjungti arba įjungti; laikmatis turėtų veikti teisingai per kitą programos ciklą.
PAGAMINTA KINIJOJE
GE yra General Electric Company prekės ženklas, naudojamas pagal Jasco Products Company LLC, 10 E. Memorial Rd., Oklahoma City, OK 73114 licenciją.
Šiam Jasco produktui suteikiama 1 metų ribota garantija. Apsilankykite www.byjasco.com, kad gautumėte išsamią informaciją apie garantiją.
Klausimai? Susisiekite su mumis telefonu 1-800-654-8483 nuo 7:00 iki 20:00 CST (Centrinės standartinis laikas).

Žingsnis po žingsnio Instrukcinis vaizdo įrašas
Nuorodos
Atsisiųsti instrukciją
Čia galite atsisiųsti visą pdf instrukcijos versiją, kurioje gali būti papildomų saugos instrukcijų, garantijos informacijos, FCC taisyklių ir kt.
Atsisiųsti GE SunSmart skaitmeninio laikmačio montavimo vadovas








