SunJoe MJ408E - Elektrische grasmaaier 2-AMP 3-IN-1 handleiding

Veiligheidsinstructies
Alle bedieners moeten deze instructies voor gebruik lezen
Volg altijd deze veiligheidsrichtlijnen. Als u dit niet doet, kan dit leiden tot ernstig lichamelijk letsel of de dood.
Algemene veiligheidswaarschuwingen!
Bij het gebruik van deze elektrische grasmaaier moeten altijd elementaire veiligheidsmaatregelen worden gevolgd om het risico op brand, elektrische schokken en persoonlijk letsel te verminderen. Deze voorzorgsmaatregelen omvatten:
Niet gebruiken zonder de volledige grasopvangzak, uitwerpbeschermer, achterklep of andere veiligheidsvoorzieningen op hun plaats en in goede staat.
Het gebruik van een ander accessoire of hulpstuk kan het risico op letsel vergroten.
Inspecteer de grasopvangzak regelmatig om het risico op letsel te verminderen en vervang deze door een aanbevolen vervanging als er tekenen van slijtage of beschadiging zijn. Neem de tijd om, voordat u de grasmaaier gebruikt, vertrouwd te raken met de bedieningselementen, vooral hoe u de grasmaaier in noodgevallen kunt stoppen. De enige personen die de grasmaaier mogen gebruiken, zijn degenen die de instructies grondig begrijpen en weten hoe de machine moet worden bediend. Kinderen mogen nooit toegang hebben tot de grasmaaier. Bewaar deze handleiding voor toekomstig gebruik en lees deze opnieuw aan het begin van elk maaiseizoen.
VOOR DUBBEL GEÏSOLEERDE GRASMAAIERS
- Vervangingsonderdelen – Gebruik bij onderhoud aan dit apparaat alleen identieke vervangingsonderdelen. Beschadigde snoeren onmiddellijk vervangen of repareren.
- Gepolariseerde stekker – Gepolariseerde apparaataansluitingen verminderen het risico op elektrische schokken. Deze grasmaaier heeft een gepolariseerde stekker (één pin is breder dan de andere) en vereist het gebruik van een gepolariseerd verlengsnoer. Er is maar één manier waarop de stekker van de grasmaaier in een gepolariseerd verlengsnoer past. Als de stekker niet volledig in het verlengsnoer past, draai de stekker dan om. Als de stekker nog steeds niet past, schaf dan een correct gepolariseerd verlengsnoer aan. Een gepolariseerd verlengsnoer vereist het gebruik van een gepolariseerd stopcontact. Er is maar één manier waarop de stekker in een gepolariseerd stopcontact past. Als de stekker niet volledig in het stopcontact past, draai de stekker dan om. Als de stekker nog steeds niet past, neem dan contact op met een gekwalificeerde elektricien om het juiste stopcontact te installeren. Verander de stekker van de apparatuur, de contactdoos van het verlengsnoer of de stekker van het verlengsnoer op geen enkele manier.
Contact met bewegende delen kan leiden tot verstrengeling, verminking of ander ernstig lichamelijk letsel. Houd lichaamsdelen (d.w.z. handen, voeten) altijd op veilige afstand van bewegende delen. Zorg ervoor dat alle afdekkingen en beschermingen stevig op hun plaats zitten voordat u ze gebruikt. Hete oppervlakken (d.w.z. de motor) kunnen ontvlambare of brandbare items doen ontbranden en een brand of explosie veroorzaken, wat kan leiden tot ernstig lichamelijk letsel. Houd de grasmaaier op veilige afstand van ontvlambare of brandbare items totdat hete oppervlakken volledig zijn afgekoeld. Bewaar de grasmaaier niet in de buurt van ontvlambare of brandbare items. Een beschadigd mes of een versleten mesmoer kan van de grasmaaierconstructie afbreken en ernstig letsel veroorzaken. Vervang het beschadigde mes of de mesmoer voordat u de grasmaaier gebruikt.
VOOR ALLE GRASMAAIERS
- Vermijd gevaarlijke omstandigheden – Gebruik de grasmaaier niet in de regen of wanneer het gras vochtig of nat is.
- Houd kinderen, omstanders en huisdieren uit de buurt – Houd kinderen en toeschouwers altijd op veilige afstand van de grasmaaier tijdens het gebruik en terwijl de machine afkoelt.
- Kleed u op de juiste manier – Draag altijd persoonlijke veiligheidsuitrusting (d.w.z. een bril, rubberen handschoenen, beschermend schoeisel en stofmaskers) en de juiste kleding bij het gebruik van de grasmaaier. Losse kleding, lang haar of sieraden kunnen vast komen te zitten in de bewegende delen. Draag een beschermende bedekking om lang haar in bedwang te houden.
- Gebruik het juiste apparaat – Gebruik de grasmaaier niet voor andere toepassingen dan waarvoor deze bedoeld is.
- Forceer de grasmaaier niet – Deze zal beter presteren met minder kans op persoonlijk of mechanisch letsel als deze wordt gebruikt met de snelheid waarvoor hij is ontworpen.
- Reik niet te ver – Behoud te allen tijde een goede houding en balans.
- Blijf alert – Blijf altijd alert en let op wat u doet. Gebruik uw gezond verstand. Gebruik de grasmaaier niet als u moe bent of onder invloed bent van alcohol of drugs. Deze grasmaaier is niet ontworpen om te worden gebruikt door personen (inclusief kinderen) met beperkte fysieke, zintuiglijke of mentale vermogens. Het mag ook niet worden gebruikt door mensen die niet over de juiste ervaring en/of kennis beschikken, tenzij ze onder toezicht staan van een persoon die verantwoordelijk is voor hun veiligheid of ze instructies hebben gekregen van een dergelijk persoon over hoe ze de apparatuur veilig kunnen gebruiken.
- Koppel de grasmaaier los – Koppel de grasmaaier los van de stroomvoorziening wanneer deze niet in gebruik is, voor onderhoud, bij het vervangen van accessoires en bij het uitvoeren van andere onderhoudstaken.
- Bewaar de niet-gebruikte grasmaaier binnenshuis – Wanneer de grasmaaier niet in gebruik is, moet deze binnenshuis worden opgeslagen op een droge, afgesloten plaats buiten het bereik van kinderen.
- Onderhoud de grasmaaier met zorg – Houd snijranden scherp en schoon voor de beste en veiligste prestaties. Inspecteer het snoer van de grasmaaier periodiek en laat het, indien er schade wordt geconstateerd, repareren door een erkende servicefaciliteit. Verlengsnoeren moeten ook periodiek worden geïnspecteerd en onmiddellijk worden vervangen als ze beschadigd zijn. Houd de handgrepen droog, schoon en vrij van olie en vet.
BEWAAR DEZE INSTRUCTIES
Elektrische veiligheid
- Aardlekbeveiliging (GFCI) moet worden voorzien op de circuits of stopcontacten die voor de grasmaaier worden gebruikt. Er zijn stopcontacten beschikbaar met ingebouwde GFCI-beveiliging en deze kunnen worden gebruikt voor deze veiligheidsmaatregel.
- Om het risico op elektrische schokken te verminderen, heeft dit apparaat een gepolariseerde stekker (d.w.z. één pin is breder dan de andere). Gebruik dit apparaat alleen met een gepolariseerd, UL-gecertificeerd (CSA-gecertificeerd in Canada) verlengsnoer dat wordt aanbevolen voor buitengebruik. De stekker van het apparaat past maar op één manier in een gepolariseerd verlengsnoer. Als de stekker van het apparaat niet volledig in het verlengsnoer past, draai de stekker dan om. Als de stekker nog steeds niet past, schaf dan een correct gepolariseerd verlengsnoer aan. Een gepolariseerd verlengsnoer vereist het gebruik van een gepolariseerd stopcontact. De stekker van het verlengsnoer past maar op één manier in het gepolariseerde stopcontact. Als de stekker niet volledig in het stopcontact past, draai de stekker dan om. Als de stekker nog steeds niet past, neem dan contact op met een gekwalificeerde elektricien om het juiste stopcontact te installeren. Wijzig de stekker van het apparaat, de contactdoos van het verlengsnoer of de stekker van het verlengsnoer op geen enkele manier.
- Om elektrische schokken te voorkomen, uitsluitend gebruiken met een verlengsnoer dat geschikt is voor buitengebruik, zoals SW, SOW, STW, STOW, SJTW of SJTOW. Controleer voor gebruik of het verlengsnoer in goede staat is. Zorg er bij het gebruik van een verlengsnoer voor dat u er een gebruikt die zwaar genoeg is om de stroom te transporteren die uw product zal verbruiken. Een te klein snoer veroorzaakt een spanningsval, wat resulteert in vermogensverlies en oververhitting.
Een elektrische schok kan ERNSTIG LETSEL of de DOOD veroorzaken. Neem deze waarschuwingen in acht:- Zorg ervoor dat geen enkel onderdeel van de elektrische grasmaaier in contact komt met water terwijl deze in werking is. Als het apparaat nat wordt terwijl het is uitgeschakeld, veeg het dan droog voordat u het start.
- Gebruik alleen een UL-, CSA- of ETL-geclassificeerd verlengsnoer voor buitengebruik in alle weersomstandigheden.
- Gebruik geen verlengsnoer van meer dan 30 m (100 ft).
- Raak het apparaat of de stekker niet aan met natte handen of terwijl u in het water staat. Het dragen van rubberen laarzen biedt enige bescherming.
VERLENGKABELLIJSTLengte verlengsnoer Tot 15 m (50 ft) +15 m - 30 m (+50 ft - 100 ft) Draaddikte (A.W.G.): 14 12
- Om te voorkomen dat het snoer van het apparaat losraakt van het verlengsnoer tijdens het gebruik, maakt u een knoop met de twee snoeren zoals weergegeven in Tabel 1.
Tabel 1. Methode om het verlengsnoer vast te zetten
![Methode om het verlengsnoer vast te zetten]()
- Maak geen misbruik van het snoer. Trek nooit aan de grasmaaier aan het snoer en trek niet aan het snoer om het uit het stopcontact te halen. Houd het snoer uit de buurt van hitte, olie en scherpe randen.
Dubbel geïsoleerde apparaten
In een dubbel geïsoleerd apparaat zijn twee isolatiesystemen aanwezig in plaats van aarding. Er zijn geen aardingsmiddelen aanwezig op een dubbel geïsoleerd apparaat, noch mogen er aardingsmiddelen aan het apparaat worden toegevoegd. Onderhoud aan een dubbel geïsoleerd apparaat vereist uiterste zorg en kennis van het systeem en mag alleen worden uitgevoerd door gekwalificeerd onderhoudspersoneel bij een erkende Snow Joe ® + Sun Joe ® dealer. Vervangingsonderdelen voor een dubbel geïsoleerd apparaat moeten identiek zijn aan de onderdelen die ze vervangen. Een dubbel geïsoleerd apparaat is gemarkeerd met de woorden "Double Insulation" of "Double Insulated". Het symbool
(vierkant binnen een vierkant) kan ook op het apparaat zijn gemarkeerd.

DUBBEL GEÏSOLEERD: AARDING NIET VEREIST. GEBRUIK BIJ ONDERHOUD ALLEEN IDENTIEKE VERVANGINGSONDERDELEN.
Deze elektrische grasmaaier is dubbel geïsoleerd, waardoor een apart aardingssysteem niet nodig is. Gebruik alleen identieke vervangingsonderdelen. Lees de instructies voordat u onderhoud uitvoert aan dubbel geïsoleerde apparaten. Gebruik deze grasmaaier alleen zoals beschreven in deze handleiding.
Veiligheidsinstructies voor handgeduwde grasmaaiers
Algemene bediening
- Lees, begrijp en volg alle instructies op de machine en in de handleiding(en) voordat u begint.
- Steek geen handen of voeten in de buurt van of onder de machine. Blijf altijd uit de buurt van de uitwerpopening.
- Houd beschermingen op hun plaats en in goede staat.
- Alleen verantwoordelijke volwassenen die bekend zijn met de instructies mogen deze machine bedienen.
- Maak het maaigebied vrij van vreemde voorwerpen zoals stenen, draad, speelgoed en andere diverse artikelen, die kunnen worden opgeraapt en door het mes kunnen worden weggeslingerd. Blijf achter de handgreep wanneer de motor (motor) draait.
- Zorg ervoor dat het maaigebied vrij is van omstanders voordat u de machine start. Stop de machine als iemand het gebied betreedt.
- Gebruik de machine niet op blote voeten of met sandalen. Draag altijd stevig schoeisel.
- Kijk altijd naar beneden en naar achteren voordat en tijdens het achteruit bewegen met de grasmaaier.
- Richt nooit uitgeworpen materiaal op iemand. Vermijd het uitwerpen van materiaal tegen een muur of ander obstakel.
- Laat een draaiende machine nooit onbeheerd achter.
- Stop de motor (motor) en wacht tot het mes volledig tot stilstand is gekomen voordat u de machine reinigt, de grasopvangzak verwijdert, accessoires vervangt of de uitwerpbeschermer ontstopt.
- Gebruik de machine alleen bij daglicht of bij goed kunstlicht.
- Gebruik de machine niet als u moe bent of onder invloed bent van alcohol of drugs.
- Gebruik de grasmaaier nooit in nat gras. Zorg altijd voor een goede grip; loop, ren nooit, met de grasmaaier.
- Als de machine abnormaal begint te trillen, stop dan de motor (motor) en controleer de machine onmiddellijk om de oorzaak vast te stellen. Trillingen zijn over het algemeen een signaal van problemen.
- Houd de messen scherp.
- Houd handen en voeten uit de buurt van het snijgebied.
- Draag altijd een oogbescherming bij het bedienen van de machine.
- Voorwerpen die door het grasmaaiermes worden geraakt, kunnen ernstig letsel veroorzaken. Het maaigebied moet altijd zorgvuldig worden onderzocht en van alle voorwerpen worden ontdaan voorafgaand aan elke maaibeurt.
- Als de grasmaaier een vreemd voorwerp raakt, volg dan deze stappen:
- Stop de grasmaaier door de AAN/UIT schakelhendel los te laten.
- Koppel het netsnoer los.
- Inspecteer op schade.
- Repareer eventuele schade voordat u de grasmaaier opnieuw start en bedient.
- Gebruik alleen identieke vervangende messen.
Bediening op een helling
Hellingen zijn belangrijke factoren die verband houden met uitglijden en vallen, wat kan leiden tot ernstig letsel. Bediening op alle hellingen vereist extra voorzichtigheid. Als u zich ongemakkelijk voelt op een helling, maai deze dan niet.
- Maai over de helling; maai hellingen nooit in een op- en neerwaartse richting. Wees uiterst voorzichtig bij het veranderen van richting op een helling.
- Let op gaten, sporen, bulten, stenen of andere verborgen voorwerpen. Deze kunnen een onverwachte slip of val veroorzaken.
- Maai niet op nat gras of overdreven steile hellingen. Een slechte grip kan leiden tot een slip- en valpartij.
- Maai niet in de buurt van afgronden, greppels of taluds. U kunt uw houvast of evenwicht verliezen.
Kinderen
Tragische ongevallen kunnen gebeuren als de bediener niet alert is op de aanwezigheid van kinderen. Kinderen worden vaak aangetrokken door de machine en de maaiactiviteit. Ga er nooit van uit dat kinderen blijven waar u ze voor het laatst hebt gezien.
- Houd kinderen uit het maaigebied en onder het waakzame toezicht van een verantwoordelijke volwassene anders dan de bediener.
- Blijf alert en schakel de grasmaaier uit als een kind het gebied betreedt.
- Laat kinderen de machine nooit bedienen.
- Wees extra voorzichtig bij het naderen van blinde hoeken, struiken, bomen of andere voorwerpen die uw zicht op een kind kunnen belemmeren.
Service
- Houd alle moeren en bouten goed vast.
- Knoei nooit met veiligheidsvoorzieningen. Controleer regelmatig of deze voorzieningen op hun plaats zitten en in goede staat verkeren.
- Houd de grasmaaier vrij van gras, bladeren of andere ophoping van vuil.
- Voer nooit afstellingen of reparaties uit met de motor (motor) draaiend. Koppel elektrische grasmaaiers altijd los voordat u ze afstelt, reinigt of repareert.
- Controleer de onderdelen van de grasopvangzak en de uitwerp- beschermer regelmatig en vervang deze indien nodig door onderdelen die door de fabrikant worden aanbevolen.
- Maaimessen zijn scherp. Wikkel het mes in of draag handschoenen, en wees extra voorzichtig bij het onderhouden ervan.
- Onderhoud of vervang veiligheids- en instructielabels, indien nodig.
Veiligheidssymbolen
De volgende tabel toont en beschrijft veiligheidssymbolen die op dit product kunnen voorkomen. Lees, begrijp en volg alle instructies op de machine voordat u probeert te monteren en bedienen.
| Symbolen | Beschrijvingen | Symbolen | Beschrijvingen |
![]() | CPSC-gevarenetiket. | ![]() | Houd omstanders en kinderen op veilige afstand. |
| | Veiligheidswaarschuwing. Voorzichtigheid. | ![]() | Om het risico op letsel te verminderen, moet de gebruiker de gebruiksaanwijzing lezen. |
![]() | Draag oog- en gehoorbescherming. Draag voor bescherming tegen letsel gehoorbeschermers en een veiligheidsbril. | ![]() | Stel het apparaat niet bloot aan regen. |
![]() | Koppel de stekker los als het snoer beschadigd of verward is. | ![]() | Schakel de machine UIT en koppel deze los van de stroomvoorziening voordat u accessoires inspecteert, reinigt, vervangt of andere onderhoudswerkzaamheden uitvoert. |
![]() | Weggeslingerde voorwerpen en een draaiend mes kunnen ernstig letsel veroorzaken. | ![]() | Gevaar voor uitglijden op een helling – Wees extra voorzichtig bij het maaien op hellingen om slip- en valpartijen te voorkomen. |
![]() | Afhakken van tenen of vingers door roterend maaimes. | ![]() | Houd het verlengsnoer uit de buurt van snijbladen. |
![]() | De messen blijven draaien nadat de machine is uitgeschakeld. | ![]() | Dubbele isolatie. |
Ken uw elektrische grasmaaier
Lees de handleiding en de veiligheidsinstructies zorgvuldig door voordat u de grasmaaier bedient. Vergelijk de onderstaande afbeelding met de grasmaaier om vertrouwd te raken met de locatie van de verschillende bedieningselementen en afstellingen. Bewaar deze handleiding voor toekomstig gebruik.

- Bovenste handgreep
- AAN/UIT-schakelhendel
- Veiligheidsvergrendelingsknop
- Apparaatsnoer
- Bovenste handgreepknoppen en bouten (2)
- Onderste handgreep
- Kabelklem (2)
- Grasopvangzak
- Uitwerpklep
- Hoogteverstelling hendel
- Onderste handgreepknoppen (2)
- Achterwielen (2)
- Zijuitworpklep
- Voorwielen (2)
- Zijuitwerpschacht
- Mulchplug
Technische gegevens
| Nominale spanning | 120V ~ 60Hz | Maaihoogte | 1,96 inch tot 4,13 inch (50 mm tot 105 mm) |
| Motor | 12A | ||
| Onbelast toerental | 3400 rpm | Inhoud grasopvangzak | 14,5 gal (55 l) |
| Rotor | 20 inch (51 cm) stalen mes | Decibelwaarden | 96 dB |
| Maaibreedte | 20 inch (51 cm) | Nettogewicht | 53,2 lbs (24,2 kg) |
Uitpakken
Inhoud van de doos
- Elektrische grasmaaier
- Bovenste handgreep
- Onderste handgreep
- Bovenste handgreepknoppen en bouten (2)
- Onderste handgreepknoppen (2)
- Grasopvangzak
- Zijuitwerpschacht
- Mulchplug
- Handleiding en registratiekaart
- Haal de grasmaaier voorzichtig uit de verpakking en controleer of alle bovenstaande items zijn meegeleverd.
- Inspecteer het product zorgvuldig om er zeker van te zijn dat er tijdens de verzending geen breuk of schade is opgetreden. Als u beschadigde of ontbrekende onderdelen aantreft, breng het apparaat DAN NIET terug naar de winkel. Bel de klantenservice van Snow Joe ® + Sun Joe ® op 1-866-SNOWJOE (1-866-766-9563).
OPMERKING: gooi de verzenddoos en het verpakkingsmateriaal niet weg voordat u klaar bent om uw nieuwe elektrische grasmaaier te gebruiken. De verpakking is gemaakt van recyclebare materialen. Voer deze materialen op de juiste manier af in overeenstemming met de lokale voorschriften.
De apparatuur en het verpakkingsmateriaal zijn geen speelgoed. Laat kinderen niet spelen met plastic zakken, folies of kleine onderdelen. Deze items kunnen worden ingeslikt en vormen een verstikkingsgevaar!
Montage
Sluit de stroomvoorziening pas aan als de montage is voltooid. Het niet naleven hiervan kan leiden tot onbedoeld starten en ernstig persoonlijk letsel.
Gebruik de maaier nooit zonder de juiste apparaten op hun plaats. Gebruik de maaier nooit met beschadigde veiligheidsvoorzieningen. Het niet opvolgen van deze waarschuwingen kan leiden tot ernstig letsel.
Montage handgreep
- Plaats de onderste handgreep op het apparaat door de schroefdraadeinden van het apparaat in de gaten aan de onderste uiteinden van de onderste handgreep te steken (Fig. 1).
OPMERKING: mogelijk moet u de onderste handgreep iets naar binnen buigen terwijl u de onderste handgreep over de schroefdraadeinden plaatst.
![SunJoe - MJ408E - Montage handgreep - Stap 1 Montage handgreep - Stap 1]()
- Om de onderste handgreep vast te zetten, installeert u de onderste handgreepknoppen op de schroefdraadeinden en draait u deze vast (Fig. 2).
![SunJoe - MJ408E - Montage handgreep - Stap 2 Montage handgreep - Stap 2]()
- Lijn de bovenste handgreep uit met de gaten aan de bovenkant van de onderste handgreep en steek de bovenste handgreepbouten van binnenuit in de gaten (Fig. 3).
![SunJoe - MJ408E - Montage handgreep - Stap 3 Montage handgreep - Stap 3]()
- Zet de bovenste handgreep vast door de bovenste handgreep knoppen aan de uiteinden van de bovenste handgreepbouten vast te draaien (Fig. 4).
![SunJoe - MJ408E - Montage handgreep - Stap 4 Montage handgreep - Stap 4]()
- Klem het snoer in de kabelklemmen op de handgreep.
Grasopvangzakmontage + plaatsen
De grasopvangzak voorkomt dat er grasresten over uw gazon worden verspreid tijdens het maaien.
OPMERKING: Gebruik bij gebruik van de grasopvangzak niet de zijuitwerpschacht of de mulchplug.
- De maaier heeft twee kleine openingen in de buurt van de wielen, die bedoeld zijn voor het ophangen van de staafuiteinden van de grasopvangzak (Fig. 5).
![SunJoe - MJ408E - Grasopvangzakmontage + plaatsen - Stap 1 Grasopvangzakmontage + plaatsen - Stap 1]()
- Om de grasopvangzak te plaatsen, tilt u de uitwerpklep met één hand op. Haak met de andere hand het staafuiteinde van de grasopvangzak aan de kleine openingen (Fig. 6).
![SunJoe - MJ408E - Grasopvangzakmontage + plaatsen - Stap 2 Grasopvangzakmontage + plaatsen - Stap 2]()
Zijuitwerpschachtmontage + plaatsen
Gebruik de zijuitwerpschacht op uw maaier wanneer het gras te lang is om te mulchen of wanneer zijdelingse uitworp de voorkeur heeft. De grasresten die door de zijuitwerpschacht worden geproduceerd, zijn merkbaar groter dan die van de mulchplug.
OPMERKING: Gebruik bij gebruik van de zijuitwerpschacht niet de grasopvangzak of de mulchplug.
- Til de zijuitworpklep op.
- Lijn de groeven op de zijuitwerpschacht uit met de pennen aan de onderkant van de klep en haak de groeven op de pennen (Fig. 7).
![SunJoe - MJ408E - Zijuitwerpschachtmontage + plaatsen Zijuitwerpschachtmontage + plaatsen]()
- Laat de uitworpklep los.
Mulchplugmontage + plaatsen
Uw maaier is uitgerust met een mulchplug waarmee het mes het gras kan snijden en opnieuw kan snijden voor fijnere resten.
OPMERKING: Gebruik bij gebruik van de mulchplug niet de grasopvangzak of de zijuitwerpschacht.
- Til de uitwerpklep op.
- Pak de mulchplug bij de handgreep vast en kantel ongeveer 15 graden. Steek de plug in de opening aan de achterkant (Fig. 8).
![SunJoe - MJ408E - Mulchplugmontage + plaatsen Mulchplugmontage + plaatsen]()
- Laat de uitworpklep los.
Werking
Deze grasmaaier is bedoeld voor particulier residentieel gebruik om gras te maaien in kleine gazons en tuinen. Deze grasmaaier is niet bedoeld om gras te maaien in openbare parken, speelvelden, boerderijen of bossen. Gebruik deze grasmaaier niet voor andere toepassingen dan waarvoor hij bedoeld is.
De maaihoogte aanpassen
Deze elektrische grasmaaier is uitgerust met een hoogteverstellingshendel met 7 standen om de maaihoogte van het gras aan te passen van 50 mm tot 105 mm. Volg de onderstaande instructies om de maaihoogte van het gras te wijzigen.
Voordat u deze aanpassingen maakt, dient u de stroomtoevoer naar de grasmaaier te onderbreken en te wachten tot het roterende mes volledig tot stilstand is gekomen. Het dragen van handschoenen wordt aanbevolen vanwege de nabijheid van het snijmes.
VOLG ALTIJD ALLE VEILIGHEIDSMAATREGELEN EN AANBEVELINGEN DIE EERDER IN DEZE HANDLEIDING STAAN VERMELD.
- Schakel de grasmaaier uit en trek de stekker uit het stopcontact.
- Duw de hoogteverstellingshendel naar de buitenkant van de originele sleuf (afb. 9).
![SunJoe - MJ408E - De maaihoogte aanpassen De maaihoogte aanpassen]()
- Plaats de hendel in de gewenste sleuf.
Hoogteverstelling met 7 standen:- 50 mm
- 59 mm
- 68 mm
- 76 mm
- 85 mm
- 95 mm
- 105 mm
- Sluit de stroomtoevoer weer aan op de grasmaaier en hervat het normale gebruik.
Starten + Stoppen
Schakel de grasmaaier pas in als deze volledig is gemonteerd. Controleer altijd het snoer van het apparaat en het verlengsnoer op beschadigingen voordat u het apparaat inschakelt. Gebruik alleen intacte snoeren.
Beschadigde snoeren vormen een ernstig risico op letsel. Vervang beschadigde snoeren onmiddellijk.
Voordat u de grasmaaier inschakelt, dient u ervoor te zorgen dat deze geen contact maakt met vreemde voorwerpen. Houd uw handen en voeten op veilige afstand van het draaiende maaimes en de uitwerpopening. Het niet naleven van deze waarschuwingen kan leiden tot ernstig persoonlijk letsel.
Start de grasmaaier niet in hoog gras.
- Plaats het apparaat op een vlak gazonoppervlak.
- Duw een lus van het verlengsnoer door de sleuf op de verlengsnoerbeugel van de andere kant en rond de snoerhaak. Steek het snoer van het apparaat in het verlengsnoer (afb. 10).
OPMERKING: steek het verlengsnoer pas in het stopcontact als het is vastgemaakt met de verlengsnoerbeugel en is aangesloten op het snoer van het apparaat van de grasmaaier. Gebruik alleen een UL-gecertificeerd verlengsnoer voor buitengebruik in alle weersomstandigheden. Gebruik geen verlengsnoer van meer dan 30 m. Zie de tabel voor verlengsnoeren.
![SunJoe - MJ408E - Starten + Stoppen - Stap 1 Starten + Stoppen - Stap 1]()
- Plaats het grootste deel van het verlengsnoer op het gazon het dichtst bij het startpunt.
- Voordat u de grasmaaier start, houdt u de handgreep met beide handen vast en kantelt u de handgreep naar beneden om de voorkant van de grasmaaier iets op te tillen. Dit vermindert het risico op gazonbeschadiging tijdens het opstarten (afb. 11).
![SunJoe - MJ408E - Starten + Stoppen - Stap 2 Starten + Stoppen - Stap 2]()
- Om de grasmaaier te starten, houdt u de veiligheidsvergrendelingsknop ingedrukt terwijl u de schakelstanghendel naar u toe trekt. Zodra de machine is ingeschakeld, laat u de veiligheidsvergrendelingsknop los (afb. 12).
![SunJoe - MJ408E - Starten + Stoppen - Stap 3 Starten + Stoppen - Stap 3]()
- Laat de motor op snelheid komen en laat de grasmaaier voorzichtig zakken in de maaipositie en begin met maaien (afb. 13).
![SunJoe - MJ408E - Starten + Stoppen - Stap 4 Starten + Stoppen - Stap 4]()
- Om de grasmaaier te stoppen, laat u de schakelstanghendel los (afb. 12).
De grasopvangzak legen
Zorg ervoor dat u het apparaat uitschakelt voordat u de grasopvangzak hanteert.
- Til de grasopvangzak aan de handgreep op om hem te verwijderen van de maaierbehuizing.
- Leeg de grasopvangzak (afb. 14).
![SunJoe - MJ408E - De grasopvangzak legen De grasopvangzak legen]()
- Monteer de grasopvangzak weer aan de maaierbehuizing.
Maaitips
Inspecteer het gebied voorafgaand aan het maaien en verwijder alle stenen, stokken, draden en ander afval dat door het roterende mes kan worden weggeslingerd.
OPMERKING: een scherp mes verbetert de prestaties van de grasmaaier aanzienlijk, vooral bij het maaien van hoog gras.
- Zorg ervoor dat u het mes periodiek controleert op tekenen van slijtage en slijp het minstens één keer per jaar, zoals beschreven in het onderhoudsgedeelte.
- Om elektrische schokken te voorkomen, mag u de grasmaaier niet gebruiken in vochtige of natte omstandigheden.
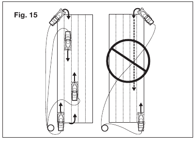
- Maai niet in een cirkel. Verplaats u heen en weer over het gazon volgens het onderstaande pad (afb. 15).
![]()
- Verlaag uw loopsnelheid bij het maaien van dik gras om een effectievere snede en een goede afvoer van het maaisel mogelijk te maken. Voor een gezond gazon moet u altijd eenderde of minder van de totale lengte van het gras afsnijden. Het gemiddelde gazon moet ongeveer 3,8 cm tot 5 cm lang zijn tijdens koele maanden en meer dan 5 cm lang tijdens warme maanden. Als er groei is, moet het gazon in de herfst worden gemaaid.
- Zorg er tijdens het maaien voor dat de elektrische kabel zich altijd achter u bevindt en op het reeds gemaaide gedeelte van het gras rust.
- Het gazon ziet er beter uit als het altijd op dezelfde hoogte en in afwisselende richtingen wordt gemaaid.
- Laat de schakelstang los om de grasmaaier uit te schakelen wanneer u een gebied met grind oversteekt. De stenen kunnen door het roterende mes worden opgepakt en weggeslingerd.
- Zet de grasmaaier op de hoogste maaihoogte wanneer u op een oneffen ondergrond of in hoog onkruid maait.
Als u een vreemd voorwerp raakt, stop dan de motor en trek de stekker uit het stopcontact. Inspecteer de grasmaaier grondig op eventuele schade. Repareer eventuele schade voordat u de grasmaaier gebruikt.
Onderhoud
Voordat u de grasmaaier reinigt, repareert of inspecteert, dient u de stroomtoevoer naar het apparaat te onderbreken en te controleren of alle bewegende delen volledig tot stilstand zijn gekomen.
Algemeen
- Houd de grasmaaier altijd schoon en vrij van gras, vuil, of ander afval.
- Houd de handgrepen droog, schoon en vrij van olie en vet.
- Verwijder na elke maaibeurt opgehoopt gras en vuil met een droge doek of handborstel. U kunt de apparatuur ook reinigen met een vochtige doek. Gebruik geen reinigingsmiddelen of agressieve oplosmiddelen, omdat deze de plastic onderdelen van de apparatuur kunnen beschadigen. Zorg ervoor dat er geen water in het interieur van de apparatuur komt, omdat waterinname het schakelaar-/stekkermechanisme en de elektromotor kan vernielen.
- Reinig de grasmaaier niet met stromend water, vooral niet met hogedrukwater.
- Controleer alle moeren, bouten en schroeven op de juiste stevigheid voor elk gebruik.
- Inspecteer de grasopvangzak regelmatig op tekenen van slijtage en vervang deze onmiddellijk door een origineel Snow Joe ® + Sun Joe ®-onderdeel als er schade wordt geconstateerd.
- Vervang overmatig versleten of beschadigde onderdelen onmiddellijk.
Smering
Alle lagers in dit product zijn gesmeerd met voldoende hoogwaardige smeermiddelen voor de levensduur van het apparaat onder normale bedrijfsomstandigheden. Daarom is er geen verdere smering van de lagers nodig.
AAN HET BEGIN EN EINDE VAN ELK MAAISEIZOEN:
- Smeer de veren op de achterste uitwerpopening met lichte olie.
- Smeer de hoogteverstellingshendel en bijbehorende hardware met lichte olie.
- Verwijder het mes en de mesrotor en smeer de motoras met lichte olie of motorolie. Zie het gedeelte Mes vervangen voor instructies.
Mesonderhoud
Het maaimes is scherp en kan ernstig persoonlijk letsel veroorzaken bij onjuiste behandeling. Wikkel het mes in of draag beschermende handschoenen en wees extra voorzichtig bij het hanteren. Het stalen mes is ontworpen voor een fijne snede in lang of stug gras. Een verslechtering van de snijkwaliteit duidt op slijtage of beschadiging van het mes.
Een overmatig trillende grasmaaier geeft aan dat het mes niet goed in balans is of vervormd is geraakt door het raken van een voorwerp. In dit geval moet het mes worden gerepareerd of vervangen. Volg de juiste onderhoudsprocedures voor mesonderhoud of neem contact op met het Snow Joe ® + Sun Joe ® klantenservicecentrum voor hulp op 1-866-SNOWJOE (1-866-766-9563).
Mes vervangen
Draag stevige handschoenen bij het hanteren van het mes.
Gebruik alleen originele vervangingsonderdelen die zijn gespecificeerd voor deze grasmaaier. U kunt een vervangend mes (model MJ408E-BLD) en andere originele vervangingsonderdelen online bestellen op sunjoe.com of telefonisch contact opnemen met de klantenservice van Snow Joe Sun Joe ® op 1-866-SNOWJOE (1-866-766-9563). Het gebruik van onderdelen die niet voldoen aan de oorspronkelijke uitrustingsspecificaties kan leiden tot onjuiste prestaties van de grasmaaier, de veiligheid van de bediener in gevaar brengen en de fabrieksgarantie ongeldig maken.
- Koppel de elektrische voeding van de grasmaaier los en wacht tot het mes volledig tot stilstand is gekomen.
- Draai de grasmaaier op zijn kant en plaats een blok hout tussen het mes en het maaidek om te voorkomen dat het mes draait. Draai de mesmoer los met een sleutel of dop van 15 mm (afb. 16).
![SunJoe - MJ408E - Mes vervangen - Stap 1 Mes vervangen - Stap 1]()
- Verwijder de mesmoer, de ring, de mesisolator en het mes (afb. 17).
![SunJoe - MJ408E - Mes vervangen - Stap 2 Mes vervangen - Stap 2]()
- Zorg ervoor dat de rotor volledig tegen de motoras wordt geduwd. Plaats het nieuwe mes tegen de rotor. Zorg ervoor dat het nieuwe mes is geïnstalleerd met de gebogen uiteinden naar boven gericht naar het maaidek, en plaats de mesisolatie, de messchijf en de mesmoer terug (afb. 18).
OPMERKING: Zorg ervoor dat alle onderdelen in dezelfde volgorde worden geplaatst als toen ze werden verwijderd.
![SunJoe - MJ408E - Mes vervangen - Stap 3 Mes vervangen - Stap 3]()
Opslag
Volg de onderstaande stappen om de grasmaaier voor te bereiden op opslag:
- Koppel de stroomtoevoer naar de grasmaaier los.
- Reinig de grasmaaier met een vochtige doek of handborstel.
- Inspecteer de grasmaaier zorgvuldig op versleten, losse, of beschadigde onderdelen. Controleer de aansluitingen en schroeven en draai ze indien nodig vast. Besteed speciale aandacht aan het maaimes en vervang/slijp het als het tekenen van slijtage vertoont. Raadpleeg het gedeelte Onderhoud.
- Bewaar de grasmaaier binnenshuis in een droge, schone en koele ruimte buiten het bereik van kinderen. Bewaar het apparaat niet in de buurt van corrosieve materialen, zoals kunstmest en steenzout.
- Veeg het verlengsnoer af om eventuele vreemde stoffen, zoals olie of vlekken, te verwijderen. Vervang het verlengsnoer onmiddellijk als het op enigerlei wijze is doorgesneden of beschadigd.
- Wikkel het snoer in een reeks gelijke lussen om te voorkomen dat het in de knoop raakt.
- Dek de grasmaaier niet af met een stevig plastic zeil. Plastic afdekkingen houden vocht vast rond de grasmaaier, wat het apparaat kan beschadigen.
Service + Ondersteuning
Als uw Sun Joe ® MJ408E elektrische grasmaaier service of onderhoud nodig heeft, kunt u contact opnemen met het Snow Joe ® + Sun Joe-klantenservicecentrum op 1-866-SNOWJOE (1-866-766-9563) voor hulp.
Model- + serienummers
Wanneer u contact opneemt met het bedrijf of onderdelen nabestelt, dient u het model- en serienummer van uw product te vermelden. Deze staan op de sticker die is aangebracht op de behuizing of handgreep van uw grasmaaier. Kopieer deze nummers in de onderstaande ruimte.

Probleemoplossing
| Probleem | Oplossing |
Motor loopt niet |
|
Motorvermogen daalt |
|
Motorprestaties dalen |
|
Grasopvangzak vult niet voldoende |
|
Alleen een bedrijfsspecialist kan fouten verhelpen die niet met behulp van deze tabel kunnen worden verholpen. Bel het Snow Joe ® + Sun Joe ® klantenservicecentrum op 1-866-SNOWJOE (1-866-766-9563).

Download handleiding
Hier kunt u de volledige pdf-versie van de handleiding downloaden. Deze kan aanvullende veiligheidsinstructies, garantie-informatie, FCC-regels, enz. bevatten.
Download SunJoe MJ408E - Elektrische grasmaaier 2-AMP 3-IN-1 handleiding































