Kohler ELLISTON 72782T-4 - Bruksanvisning for installasjon av servantbatteri med ett håndtak

FØR DU BEGYNNER
All informasjon er basert på den nyeste produktinformasjonen som er tilgjengelig på publiseringstidspunktet. Kohler Co. forbeholder seg retten til å gjøre endringer i produktegenskaper, emballasje eller tilgjengelighet når som helst uten varsel.
Vennligst la disse instruksjonene ligge igjen til forbrukeren. De inneholder viktig informasjon.
MERKNADER:
- Spyl vannrørene grundig for å fjerne smuss.
- Inspiser tilførselsslangene for skader og lekkasjer. Bytt ut og vedlikehold etter behov.
- Følg lokale rørleggerforskrifter.
- Hvis mulig, installer dette batteriet før du installerer servanten.
- Steng vanntilførselen til armaturet.
HÅNDTAKSBETJENING
Løft håndtaket forsiktig. Vri med klokken for varmt vann, mot klokken for kaldt vann.
RU-MÅL

INSTALLASJON
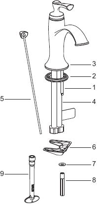
Hvordan installere tuten

Installer tappen (1) og skiven (2) i bunnen av batteriet (3). Sett slangene (4) og tappen inn i hullet i servanten. Sett løftestangen (5) inn i hullet på baksiden av batteriet.
Fra undersiden av servanten, monter braketten (6) på tappen. Plasser batteriet. Installer skiven (7) og mutteren (8) på tappen, stram mutteren med verktøy (9) for å sikre batteriet.
Fest slangene til vanntilførselen, slangen med "COLD"-etiketten (kaldt) kobles til kaldt vann.
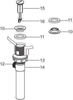
Hvordan installere avløpet

Fjern proppen (15), flensen (10) og skiven (11) fra avløpshuset (14). Sett avløpshussettet inn i servanten fra undersiden, og sørg for at avløpsspaken (12) vender mot baksiden av servanten. Skru flensen med skiven inn i avløpshuset. Stram låsemutteren (13) for hånd fra undersiden av armaturet.
MERK: Hvis nødvendig, påfør en ring med rørleggerkitt rundt undersiden av avløpsflensen (10), i stedet for å bruke skiven (11).
Plasser proppen (15) i avløpshuset og juster den flate siden av propphullet (16) med avløpsspaken.

Fjern låsemutteren (18) og 'V'-klemmen (17). Monter plastskiven (19) og låsemutteren på kulespaken (20). Sett kulespakmonteringen inn i avløpsspaken og gjennom propphullet. Stram låsemutteren.
Pass på at kulespaken (20) peker mot baksiden av servanten, stram låsemutteren (13) på avløpshuset med en skiftenøkkel.
MERK: Ikke flytt avløpet hvis rørleggerkitt er påført etter at låsemutteren er strammet, ellers kan du bryte kittforseglingen. Tørk bort overflødig rørleggerkitt.

Monter tommelskruen (21) til koblingen (22), og koble til kulespaken (20) med 'V'-klemmen (17).
Skyv løftestangen (5) gjennom hullet i koblingen. Skyv kulespaken ned i åpen posisjon. Plasser løftestangen. Stram tommelskruen (21).
INSTALLASJONSKONTROLL

Sørg for at alle koblingsmutre er stramme. Sørg for at spaken er i av-posisjon.
Slå på hovedvanntilførselen og avløpet, og se etter lekkasjer. Reparer etter behov.
Fjern lufteren (22) med nøkkelen (23). Kjør varmt og kaldt vann gjennom batteriet i omtrent ett minutt for å fjerne eventuelt smuss. Se etter lekkasjer. Reparer etter behov. Fjern eventuelt smuss fra lufteren. Slå av batteriet. Sett lufteren tilbake.
RENHOLDSINSTRUKSJONER
Alle overflater: Rengjør overflaten med mild såpe og varmt vann. Tørk hele overflaten helt tørr med en ren, myk klut. Mange rengjøringsmidler kan inneholde kjemikalier, som ammoniakk, klor, toalettrens osv., som kan påvirke overflaten negativt og anbefales ikke for rengjøring.
Ikke bruk slipende rengjøringsmidler eller løsemidler på Kohler-batterier og -armaturer.
SERVICEDELER

**Fargekode må spesifiseres ved bestilling

Last ned manual
Her kan du laste ned fullstendig pdf-versjon av manualen, den kan inneholde ytterligere sikkerhetsinstruksjoner, garantiinformasjon, FCC-regler, etc.