New Cosmos Electric ML-310 - Manual do Detector de Gás Natural
- 1 Precauções de Segurança
- 2 Gás Alvo
- 3 Nomes e Funções das Peças
- 4 Funções do Detector de Gás
- 5 Instruções de Uso
- 6 Manutenção Geral
- 7 Funções de Teste
- 8 O que fazer quando o alarme "Beep Beep Beep Beep Perigo – risco de explosão por vazamento de gás – evacue, depois ligue para o 911." soa
- 9 Como Instalar
- 10 Onde Este Alarme Não Deve Ser Instalado
- 11 Solução de Problemas
- 12 Descarte
- 13 Especificações
- 14 Detalhes de contato
- 15 Referências
- 16 Baixar manual
- 17 Em Outros Idiomas

Este detector de gás detecta gás metano.
Quando o gás é detectado, um alarme (luz vermelha do LED piscando, som do alarme de aviso) será ativado.
Leia, entenda e guarde este manual para referência futura.
Precauções de Segurança
Leia estas precauções antes de usar o produto e certifique-se de seguir estas precauções para evitar situações perigosas e danos materiais. As precauções são classificadas com os seguintes símbolos de acordo com a gravidade dos perigos e danos que podem surgir devido ao manuseio incorreto deste produto.
Isso indica detalhes para os quais o manuseio incorreto do produto pode levar a situações com uma chance iminente de perigos que levam à morte ou ferimentos graves.
Isso indica detalhes para os quais o manuseio incorreto do produto pode levar a situações com uma chance de perigos que levam à morte ou ferimentos graves.
Isso indica detalhes para os quais o manuseio incorreto do produto pode levar a situações com chance de ferimentos ou danos materiais.
Certifique-se de que o seguinte seja observado quando um alarme de gás soar.
Pode haver risco de explosão.
Saia do prédio imediatamente, abrindo portas e janelas ao sair.
Leve outras pessoas com você.
Se você estiver do lado de fora quando sentir o cheiro do gás, saia da área imediatamente.
Evite causar uma faísca, que pode causar a explosão do gás:
- Não remova o conector da bateria de lítio
- Não acenda um fósforo ou fume.
- Não ligue ou desligue aparelhos ou luzes.
- Não use uma lanterna.
- Não ligue um carro.
- Não use um telefone.
Encontre um telefone longe da área e ligue imediatamente para o 911 e/ou sua concessionária de gás natural. Você pode denunciar vazamentos anonimamente. Sempre ligue para relatar o problema. Não presuma que outra pessoa fará isso.
Não volte a entrar na área até que a fonte do vazamento seja encontrada e corrigida. Siga as instruções dos funcionários da concessionária ou dos socorristas que estão no local.
- Este detector de gás está equipado com um temporizador de Fim de Vida Útil que expirará após 5 anos a partir da data de instalação. Substitua quaisquer detectores de gás para os quais 5 anos se passaram desde a sua instalação por um novo detector de gás.
- Não exponha o detector de gás à água, submergindo-o em água ou borrifando água sobre ele.
- Não desmonte ou modifique este produto.
- Não submeta este produto a nenhum impacto.
- Não remova a bateria de lítio dedicada, exceto ao descartar o detector de gás.
- Nunca cubra este produto.
- Ao remover ou instalar o detector de gás, faça-o usando uma escada estável ou banquinho e proceda com cautela.
- Não altere a posição de instalação deste produto.
- Não coloque ou instale objetos na frente do detector de gás.
- Não borrife produtos químicos de limpeza ou sprays de insetos diretamente sobre ou perto do detector, pois isso pode fazer com que o detector funcione mal.
- Não exponha este detector a altas concentrações de Freon, outros CFCs ou Compostos Orgânicos Voláteis, pois a superexposição a tais substâncias pode fazer com que o detector funcione mal.
- Não exponha este detector a silicones, pois a superexposição a tais substâncias pode fazer com que o detector funcione mal.
- Não pinte sobre o Alarme. Fazer isso pode danificar permanentemente o detector.
- Não ouça os alarmes com o ouvido próximo ao detector de gás.
- Não exponha este detector a ondas/sinais de rádio anormalmente fortes, como os emitidos por equipamentos de rádio amador, pois isso pode fazer com que o detector funcione mal.
Gás Alvo
- Este detector de gás detecta gás metano.
Nomes e Funções das Peças

Funções do Detector de Gás
Os sinais visuais e sonoros não pararão até que o produto seja reiniciado removendo e reinstalando a bateria.
Quando ocorre um vazamento de gás
Um alarme soa quando o nível de gás na área do detector de gás atinge ou excede uma certa concentração. 
Um alarme soa a cada 6 segundos dizendo "Beep Beep Beep Beep Perigo – risco de explosão por vazamento de gás – evacue, depois ligue para o 911."
Quando ocorre um problema
Quando ocorre um problema, um alarme de problema soa.

Um alarme soa a cada 60 segundos dizendo "Beep Beep Beep Erro no detector"
Ao pressionar o botão por 3 segundos, um alarme soará dizendo "Beep Beep Beep Erro no detector"
Quando a bateria está fraca
Quando a bateria está fraca, um alarme de bateria fraca soa.

Um alarme soa a cada 60 segundos dizendo "Beep Bateria Fraca"
Ao pressionar o botão por 3 segundos, um alarme soará dizendo "Beep Bateria Fraca"
* As baterias neste dispositivo não estão disponíveis no varejo. Por favor, ligue para NEW COSMOS ELECTRIC CO.,LTD. para baterias de substituição.
Quando o fim da vida útil é atingido
Quando o fim da vida útil é atingido, uma notificação de fim de vida útil é emitida.

Um alarme soa a cada 60 segundos dizendo "Beep Beep Por favor, substitua o detector"
Ao pressionar o botão por 3 segundos, um alarme soará dizendo "Beep Beep Por favor, substitua o detector"
Instruções de Uso
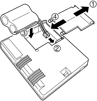
- Abra a tampa da bateria na parte de trás do detector de gás.
- Conecte a bateria de lítio incluída inserindo o conector do chicote da bateria no produto, conforme mostrado na ilustração anexada.
* Depois que a bateria de lítio for conectada, o LED verde (energia) do detector de gás piscará uma vez por 1 segundo. - Insira a bateria de lítio e feche a tampa.
![New Cosmos Electric - ML-310 - Insira a Bateria Insira a Bateria]()
- Depois que a bateria for conectada, o detector entrará em um período de inicialização por aproximadamente 30 segundos. Um "Beep" (bipe) soará após este período de 30 segundos e o detector começará a monitorar.
* O status do dispositivo será confirmado durante esse período de 30 segundos.
Um "Beep" (bipe) soa 30 segundos após a alimentação ser ligada
![New Cosmos Electric - ML-310 - Período de Inicialização Período de Inicialização]()
- Após o período de inicialização de 30 segundos, pressione e segure o Botão de Teste (Test Switch) por mais de 3 segundos para testar o alarme.
Manutenção Geral
Este detector foi projetado para ser o mais livre de manutenção possível, mas há algumas coisas simples que você deve fazer para mantê-lo funcionando corretamente:
- Teste-o pelo menos uma vez por semana.
- Limpe o detector pelo menos uma vez por mês; aspire suavemente a parte externa do detector usando o acessório de escova macia do seu aspirador doméstico. Teste o alarme. Nunca use água, produtos de limpeza ou solventes, pois eles podem danificar a unidade.
- Mude a unidade de lugar se ela emitir alarmes indesejados frequentes. Consulte "Onde Este Alarme Não Deve Ser Instalado" para obter detalhes.
- Se o produto entrar no modo de bateria fraca, as baterias devem ser substituídas. As baterias neste dispositivo não estão disponíveis no varejo. Por favor, ligue para NEW COSMOS ELECTRIC CO.,LTD. para baterias de substituição.
Para substituir a bateria, abra a tampa da bateria na parte de trás do produto e desconecte suavemente o conector do chicote da bateria do produto. Siga a seção Instruções de Uso para instalar a nova bateria.
Funções de Teste
Função de verificação de energia
Um "Beep" (bipe) soa quando o botão é pressionado. Se o botão for liberado em menos de 3 segundos, o LED verde piscará duas vezes a cada segundo (por 3 segundos) para indicar que a energia está ligada.

Função do botão de pressão do alarme
Se o botão for pressionado por aproximadamente 3 segundos, um "Beep" (bipe) e um "Beep Beep" (bipe bipe) soarão. Se o botão for liberado em menos de 10 segundos, o LED vermelho piscará uma vez a cada 2 segundos e o alarme de gás "Beep Beep Beep Beep Perigo – risco de explosão por vazamento de gás – evacue, depois ligue para o 911." soará duas vezes.

"Beep" (bipe)
"Beep Beep" (bipe bipe)
Quando o botão é liberado, "Beep Beep Beep Beep Perigo – risco de explosão por vazamento de gás – evacue, depois ligue para o 911." soará duas vezes.
O que fazer quando o alarme "Beep Beep Beep Beep Perigo – risco de explosão por vazamento de gás – evacue, depois ligue para o 911." soa
|
|
Certifique-se de que o seguinte seja observado quando um alarme de gás soar. Pode haver risco de explosão. |
Saia do prédio imediatamente, abrindo portas e janelas ao sair. Leve outras pessoas com você. Se você estiver do lado de fora quando sentir o cheiro do gás, saia da área imediatamente.
Evite causar uma faísca, que pode causar a explosão do gás:
- Não remova o conector da bateria de lítio
- Não acenda um fósforo ou fume.
- Não ligue ou desligue aparelhos ou luzes.
- Não use uma lanterna.
- Não ligue um carro.
- Não use um telefone.
Encontre um telefone longe da área e ligue imediatamente para o 911 e/ou sua concessionária de gás natural. Você pode denunciar vazamentos anonimamente. Sempre ligue para relatar o problema. Não presuma que outra pessoa fará isso.
Não volte a entrar na área até que a fonte do vazamento seja encontrada e corrigida. Siga as instruções dos funcionários da concessionária ou dos socorristas que estão no local.
Como Instalar
Os detectores de gás devem ser instalados em todos os cômodos onde possa ocorrer um vazamento de gás ou onde haja um aparelho a gás. Exemplos são a cozinha (vazamentos de gás de fornos a gás e fogões), lavanderia (vazamentos de gás de uma secadora de roupas a gás) e área da fornalha (vazamentos de gás de queimadores de fornalhas ou caldeiras). No entanto, não instale a menos de 10 pés (3 metros) de um aparelho a gás.
É possível que vazamentos de gás migrem ao longo de tubulações, portanto, deve-se considerar a colocação de detectores de gás em vários cômodos.
Os detectores de gás devem ser localizados entre 6 e 12 polegadas (0,15 a 0,3 metros) do teto.
O movimento do ar ao redor do detector não deve ser impedido por itens pendurados no teto ou perto do teto, como cortinas, persianas, ventiladores de teto.
O detector não deve ser instalado no pico de um teto de catedral.
Montagem na Parede
Ferramentas que você precisará: Furadeira com broca de 3/16" ou 5 mm, chave de fenda Phillips, martelo.
- Escolha um local na parede entre 6 polegadas (0,15 metros) e 12 polegadas (0,3 metros) do teto. Faça uma marca na aba de montagem (Mounting Tab) do detector onde você irá furar o orifício de montagem.
- Use uma broca de 3/16" (5 mm) para furar o orifício de montagem.
- Insira a bucha plástica no orifício de montagem até que fique nivelada com a parede. Se necessário, bata levemente com um martelo.
- Aperte o parafuso na bucha até que a cabeça do parafuso esteja a cerca de 3/16 de polegada (5 mm) da parede, deixando espaço suficiente para a aba de montagem (Mounting Tab).
![New Cosmos Electric - ML-310 - Montagem na Parede - Passo 1 Montagem na Parede - Passo 1]()
- Pendure a aba de montagem (Mounting Tab) no parafuso.
![New Cosmos Electric - ML-310 - Montagem na Parede - Passo 2 Montagem na Parede - Passo 2]()
- Aperte levemente o parafuso para fixar o detector.
- Pressione e segure o botão de teste (Test Switch) por mais de 3 segundos para testar o alarme.
Onde Este Alarme Não Deve Ser Instalado
- Em um pequeno espaço fechado.
- Diretamente acima ou perto de fontes de água ou umidade, como pia, fogão, lava-louças ou banheiro.
- Embora seja importante instalar detectores em cômodos onde existam aparelhos a gás, recomenda-se que o detector seja colocado o mais longe possível desses aparelhos, de preferência a mais de 10 pés (3 metros) de distância. As recomendações de colocação têm como objetivo manter esses detectores a uma distância razoável de uma fonte de gás e, assim, reduzir alarmes "indesejados". Alarmes indesejados podem ocorrer se um detector for colocado diretamente ao lado de uma fonte de gás.
- Se você precisar instalar o detector perto de um aparelho de cozinha ou coifa, instale a pelo menos 5 pés (1,5 metros) do aparelho, pois vapores de cozimento ou graxa podem contaminar o detector.
- Próximo a uma porta ou janela.
- Próximo a um ventilador de ventilação.
- Próximo a um retorno de ar ou duto de HVAC.
- Em uma área onde a temperatura caia abaixo de 32°F (0°C) ou exceda 122°F (50°C).
- Em uma área empoeirada ou suja.
- Em uma área onde existam solventes orgânicos.
- Em um local úmido ou muito úmido.
Solução de Problemas
| Sintoma | Causa | Ação |
| O LED verde não pisca mesmo quando o interruptor é pressionado | Conector da bateria não está conectado | Conecte o conector da bateria. |
| Bateria está fraca | Substitua o detector de gás. | |
| O LED amarelo está piscando |
Pisca 3 vezes a cada 10 segundos Problema no detector de gás |
Substitua o detector de gás. |
|
Pisca duas vezes a cada 10 segundos Fim da vida útil do detector de gás |
Substitua o detector de gás. | |
|
Pisca uma vez a cada 10 segundos Bateria fraca do detector de gás |
Substitua o detector de gás. |
Descarte
Ao descartar este produto, faça-o de acordo com as leis e regulamentos locais.
Além disso, remova a bateria de lítio ao descartar.
- Enrole a bateria de lítio removida com fita adesiva, etc., para que a porção do conector não entre em curto.
Tal curto pode causar geração de calor, explosão ou ignição.
Qualquer um destes pode resultar em ferimentos ou incêndio.
![]()
Especificações
| Normas de conformidade | Padrão UL (UL1484), certificado FCC |
| Princípio de detecção | Sensor semicondutor de fio quente MEMS |
| Gás alvo | Gás metano |
| Imunidade a gás* | Acetona, etanol, solução de alvejante |
| Faixa de temperatura de operação | 32°F (0°C) a 122°F (50°C) |
| Faixa de umidade de operação | 5% a 95%, sem condensação |
| Fonte de alimentação | CR17450E-R-2-CN DC3V, 300mA (conexão de conector dedicado) |
| Garantia da bateria | 5 anos |
| Nível de alarme | 10%LEL |
| Tempo de resposta | 120 segundos (25%LEL) |
| Pressão sonora | Alarme de gás: 85 dB/10 pés |
| Temporizador de inicialização inicial | Aprox. 30 segundos (LED verde pisca uma vez a cada segundo) |
| Indicador de energia | Um "Beep" soará uma vez quando o interruptor for pressionado por menos de 3 segundos e o LED verde piscará duas vezes a cada segundo (por 3 segundos) |
| Alarme de gás |
LED vermelho pisca uma vez a cada 2 segundos O alarme de gás soa "Beep Beep Beep Beep Perigo – risco de explosão por vazamento de gás – evacue e, em seguida, ligue para o 911" a cada 6 segundos. O alarme continuará conforme descrito por 4 minutos. Após 4 minutos, o som do alarme (Alarm Sound) será produzido 1X/60 segundos e o LED piscará conforme descrito durante o som. Os sinais visuais e sonoros não pararão até que o produto seja reiniciado removendo e reinstalando a bateria. |
| Alarme de problema |
LED amarelo pisca 3 vezes a cada 10 segundos O alarme de problema soa "Beep Beep Beep Erro no detector" a cada 60 segundos. |
| Bateria fraca |
LED amarelo pisca uma vez a cada 10 segundos Bateria fraca soa "Beep Bateria fraca" a cada 60 segundos. |
| Função do botão de pressão do alarme | O produto produz sinal de alarme de gás quando o interruptor é pressionado por mais de 3 segundos. |
| Fim da vida útil |
LED amarelo pisca duas vezes a cada 10 segundos O fim da vida útil soa "Beep Beep Por favor, substitua o detector" a cada 60 segundos. |
| Indicador de remoção da bateria |
O indicador de remoção da bateria consistirá em uma tampa de bateria transparente que, quando uma bateria não estiver presente, expõe uma etiqueta de aviso com as seguintes marcações: AVISO: SEM BATERIA! (WARNING: NO BATTERY!) O alarme não está operacional. (Alarm is non-operational.) |
| Peso e dimensões | Aprox. 130 g, L 85 × A 100 × P 22 mm (excluindo protuberâncias) |
| Instalação | Montagem em tubo por abraçadeiras ou montagem na parede com hardware. |
| Acessórios | Manual do Usuário (este manual) |
| Conformidade com a FCC |
Este dispositivo está em conformidade com a Parte 15 das Regras da FCC. A operação está sujeita às duas condições a seguir:
|
* Validado pelo relatório do Gas Technology Institute, Evaluation of Residential Methane Detectors, Phase III. Project No. 21696. Report Issued July 25, 2017 https://www.newcosmos-global.com/product/gti_report.pdf
Detalhes de contato
NEW COSMOS ELECTRIC CO.,LTD.
Departamento de Negócios Internacionais
Hamamatsucho 262 Bldg.,2-6-2 Hamamatsu-cho, Minato-ku, Tokyo 105-0013 JAPAN
mail: e-info@new-cosmos.co.jp
WEB: https://www.newcosmos-global.com/
TEL: (847)749-3064

Referências
Baixar manual
Aqui você pode baixar a versão completa em PDF do manual, ela pode conter instruções de segurança adicionais, informações de garantia, regras da FCC, etc.
Baixar New Cosmos Electric ML-310 - Manual do Detector de Gás Natural




