EZVIZ S2 - Manual de utilizare al camerei de acțiune
- 1 Elemente de bază
- 2 Operare
- 3 Introducere afișaj
- 4 Utilizați gesturi pe camera dvs.
- 5 Moduri cameră
- 6 Video
- 7 Setări video
- 8 Setări profesionale
- 9 Temperatura camerei
- 10 Rezoluția video
- 11 Fotografie
- 12 Setări foto
- 13 Redare
- 14 Conectare cu ecranul
- 15 Setări generale
- 16 Mai multe funcții
- 17 Control fără fir
- 18 Mod Dash
- 19 Referințe
- 20 Descărcați manualul
- 21 În alte limbi

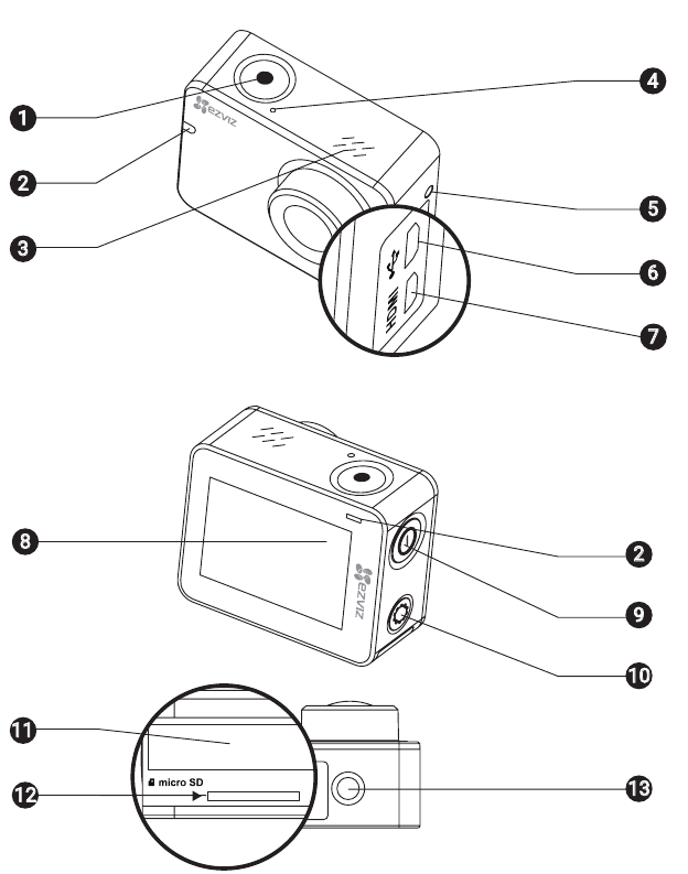
Elemente de bază

| 1 | Obturator | Pornire/Oprire înregistrare. |
| 2 | Indicator LED de stare a camerei | Aprins constant: În așteptare Intermitent: Înregistrare |
| 3 | Difuzor | Difuzor |
| 4 | MIC | Microfon |
| 5 | Indicator LED pentru încărcare | Indicator LED pentru încărcare |
| 6 | Interfață USB | Pentru transfer de date USB și încărcare. |
| 7 | Interfață micro-HDMI | Ieșire HDMI |
| 8 | Ecran LCD | Ecran tactil LCD |
| 9 | Buton de pornire | Țineți apăsat timp de 3 secunde pentru a porni, 3 secunde pentru a opri. |
| 10 | Buton de configurare | Apăsați pentru a intra în meniul de setări video. Țineți apăsat pentru a porni Wi-Fi. |
| 11 | Capacul bateriei | Țineți apăsată săgeata și trageți capacul. Puteți înlocui bateria dacă se epuizează. |
| 12 | Slot pentru card microSD | Introduceți un card microSD pentru stocare. Cardul microSD nu este inclus în cutie. Vă rugăm să achiziționați separat (consultați pentru modelele de card microSD recomandate). |
| 13 | Interfață standard pentru suport (1/4 inch) | Interfață pentru diverse suporturi. |
Operare
Pasul 1: Scoateți camera.
Când utilizați camera pentru prima dată, scoateți camera din carcasă pentru a introduce cardul microSD și pentru a o încărca.

Pasul 2: Introduceți cardul microSD.
Camera acceptă stocarea video și a imaginilor pe cardul de memorie local.
Capacitate card microSD: > 4GB
Cerință nivel card microSD: Clasa 10 și superioară.
Recomandare card microSD:
SANDISK EXTREME® 32GB microSDHCTM
SANDISK EXTREME® 64GB microSDHCTM LEXAR® 32GB microSDHCTM LEXAR® 64GB microSDHCTM
Introduceți cardul microSD în slotul pentru card microSD.

Pasul 3: Încărcați camera.
- Instalați bateria
Țineți apăsată săgeata și împingeți capacul bateriei conform direcției săgeții. Introduceți bateria cu sigla EZVIZ orientată în sus și închideți capacul.
![EZVIZ - S2 - Încărcați camera - Pasul 1 Încărcați camera - Pasul 1]()
- Conectați-vă la priza de alimentare
Conectați camera și priza de alimentare prin cablul de alimentare.
![EZVIZ - S2 - Încărcați camera - Pasul 2 Încărcați camera - Pasul 2]()
Pentru prima utilizare: este recomandat să încărcați complet camera în starea oprită înainte de a utiliza camera
Pasul 4: Porniți camera.

Pornire
Țineți apăsat butonul de pornire
până când se aude sunetul de pornire și indicatorul LED de stare a camerei clipește în verde. Când indicatorul devine verde constant, camera este pornită și în așteptare.
Oprire
Țineți apăsat butonul de pornire
până când se aude sunetul de pornire și indicatorul LED de stare a camerei se stinge.
Vă rugăm să mențineți camera pornită atunci când camera înregistrează sau capturează fotografii.
Introducere afișaj

| 1 | Modul de înregistrare curent | |
![]() | Video | |
![]() | Foto | |
![]() | Rafală | |
![]() | Timelapse | |
| 2 | Video: Timp deja înregistrat/Timp rămas pentru înregistrare Foto & Rafală & Timelapse: Numărul de fotografii capturate / Numărul de fotografii rămase Video: Rezoluție/Rată de cadre | |
| 3 | Foto: Rezoluție Rafală: Rezoluție/Rată de captură Timelapse: Rezoluție/Interval de captură | |
| 4 | Starea bateriei | |
| 5 | Vizualizare live sau imagine de redare | |
| 6 | Modul de măsurare/Profesional/Deformare | |
Utilizați gesturi pe camera dvs.

Atingeți ecranul
Deschideți/închideți informațiile de afișare.

Glisați spre stânga de la marginea dreaptă
Alegeți modul camerei.

Glisați spre dreapta de la marginea stângă
Vizualizați fotografii sau videoclipuri, etc.

Glisați în jos
Deschideți/închideți Mai multe funcții, cum ar fi Setare/Mod de conducere a mașinii/Wireless/Blocare ecran, etc.

Glisați în sus
Deschideți interfața de setare a modului de fotografiere curent.
Moduri cameră
Apăsați
pentru a selecta modul camerei.
![]() | Video | |
![]() | Foto | |
![]() | Redare | |
![]() | Setare | Vă rugăm să citiți pașii de mai jos pentru Setări generale. |
Pași de setare:
| 1 | ![]() | Apăsați pentru a deschide interfața de setare a modului curent. |
| 2 | ![]() | Apăsați pentru a schimba elementul de setare. |
| 3 | ![]() | Apăsați pentru a alege valoarea pentru fiecare element de setare. |
| 4 | ![]() | Apăsați din nou pentru a ieși din interfața de setare. |
Video
Camera acceptă trei moduri de înregistrare.
| Video | ![]() | Înregistrare video |
| Foto+Video | ![]() | Capturați imagine într-un interval predefinit în timpul înregistrării video. |
| Timelapse Video | ![]() | Capturați continuu fotografii într-un interval predefinit; Capturați continuu fotografii într-un interval predefinit și transformați fotografiile într-un videoclip. |
- Verificați dacă camera este în modul de înregistrare. Dacă nu, mutați
spre stânga pentru a selecta. - Apăsați
pentru a începe înregistrarea video. Difuzorul emite un bip și indicatorul LED clipește în verde.
Apăsați pentru a opri înregistrarea video. Difuzorul emite un bip și indicatorul LED este verde.
![EZVIZ - S2 - Video Video]()
Când cardul SD este plin sau camera este fără energie, aceasta va opri înregistrarea video și va salva fișierele video/foto înainte de a se opri.
Setări video
| Parametru | Descriere |
| Standard | Când vizionați videoclipul și fotografia S2 pe un televizor/HDTV, standardele video ar trebui să fie aceleași cu cele ale televizorului, NTSC: Potrivit pentru televizorul/HDTV-ul din America de Nord, PAL: Potrivit pentru majoritatea televizoarelor/HDTV-urilor din afara Americii de Nord. |
| Rezoluție | Cu cât selectați o rezoluție mai mare, cu atât videoclipul va fi mai clar și va avea nevoie de un spațiu de stocare mai mare. Puteți selecta o rezoluție după cum este necesar. |
| Rată de cadre | Puteți alege de la 24 la 120. |
| Interval | În modul Video+Foto, intervalul (5/10/30/60 secunde) este durata predefinită pentru capturarea fotografiilor la filmare. Videoclipul și fotografiile au aceeași rezoluție |
| În modul Timelapse, intervalul (0,5/1/1,5/2/2,5/3/5 secunde) este durata predefinită pentru capturarea fotografiilor. | |
| Mișcare lentă | Videoclipul înregistrat cu 120 de cadre pe secundă va fi transformat în videoclipul de 30 de cadre pe secundă. |
| Deformare | Ajustați imaginea/videoclipul la cel mai bun efect de fotografiere |
| Lumină scăzută | Când mediul este întunecat, camera poate ajusta rata de cadre pentru a obține cea mai bună expunere. |
| EIS | Stabilizare electronică a imaginii. |
| Mod împărțit | Orice fișier video care este mai lung decât timpul predefinit va fi împărțit automat în mai multe fișiere |
| Modul de măsurare | Selectați regiunea de expunere care include trei opțiuni: Măsurare centrală, Măsurare medie și Măsurare punctuală. |
| Mod buclă | Noile fișiere video și foto vor suprascrie cele vechi atunci când cardul microSD este plin, fără solicitări. După dezactivarea acestui mod, odată ce cardul SD este plin, camera nu poate înregistra sau face fotografii. |
Setări profesionale
Setările profesionale vă permit să aveți fotografii și videoclipuri de înaltă rezoluție și de înaltă calitate.
Puteți seta balansul de alb, claritatea, compensarea EV și filtrul pentru a se potrivi mai bine stilului dvs. personal.
Activați Professional și apoi puteți seta parametrii detaliați, După ce îl activați,
va apărea în afișajul principal.
Temperatura camerei
Când camera funcționează la rezoluție sau frecvență de cadre înaltă într-un mediu cald, poate consuma mai multă energie.
Când camera se supraîncălzește, se va opri.
Când utilizați camera la rezoluție sau frecvență de cadre înaltă, vă rugăm să nu mutați camera și să nu utilizați APP. Puteți utiliza telecomanda pentru a înlocui funcționarea APP. Telecomanda trebuie achiziționată separat.
Rezoluția video
Datele specifice variază în funcție de diferitele camere.
| Rezoluția video | NTSC/PAL | Aplicație |
| 1080P | 60/50 48/48 30/25 24/24 | 1080P60 este adecvat pentru toate scenele. 1080P48, 1080P30, 1080P24, etc. pot face cele mai bune fotografii împreună cu trepiedul. |
| 720P | 120/120 60/50 30/25 | 720P120 este adecvat pentru slow motion. |
Fotografie
Camera acceptă trei moduri.
| O singură fotografie | ![]() | Faceți o singură fotografie. |
| Rafală | ![]() | Faceți fotografii la un interval predefinit. |
| Timelapse | ![]() | Capturați continuu fotografii la un interval predefinit. |
- Verificați dacă camera este în modul de înregistrare. Dacă nu, mutați
spre stânga pentru a selecta. - Apăsați
pentru a face fotografii. Difuzorul emite un bip și indicatorul LED clipește în verde.
Setări foto
| Parametru | Descriere |
| Megapixeli | Un megapixel este egal cu un milion de pixeli |
| Obturator | Decide timpul necesar camerei pentru a activa obturatorul. |
| Rată rafală | Ex. 3/1 Sec înseamnă realizarea a 3 fotografii într-o secundă. |
| Mod de măsurare Dewarping | |
| Profesional | După ce îl activați, va apărea în ecranul principal. |
Redare
Vizualizați fotografiile sau videoclipurile din cameră.

Conectare cu ecranul
Puteți conecta camera și monitorul cu un cablu HDMI pentru a reda videoclipuri și fotografii, a înregistra și a obține video live.
Conectați camera la ecran cu un cablu micro-HDMI și porniți camera pentru a afișa vizualizarea live sau redarea pe ecran.
Cablul HDMI nu este inclus în cutie. Vă rugăm să achiziționați separat.

Ecranul LCD nu va fi valid atunci când camera se conectează cu un ecran. Puteți comuta modul de înregistrare sau puteți intra în meniu cu butoanele.
Următorul element/Următorul mod
Confirmare
Întoarcere
Setări generale

| Parametru | Descriere |
| Setări diverse | |
| Orientare | Ajustați direcția afișajului. |
| Mod implicit | Setați modul implicit al camerei pentru camera pornită. |
| Mod Vout | Selectați HDMI sau CVBS. |
| Captură rapidă | Activați Captura rapidă și reporniți camera. Țineți apăsat , astfel încât să poată funcționa în modul implicit al camerei. |
| LED clipește | Activați/dezactivați indicatorul LED. |
| Mod pâlpâire | Selectați în funcție de frecvența dvs. de A.C., de obicei, 60 HZ pentru America de Nord, Japonia, etc., 50 HZ pentru China, țările europene, etc. |
| Afișare pe ecran | Deschideți/Închideți pictogramele și cifrele afișate pe ecran. |
| Oprire automată | Setați timpul pentru oprirea automată a camerei. |
| Setați data și ora | Setați ora și data camerei. |
| Câștig microfon | Selectați procentul pentru Câștig microfon. |
| Câștig difuzor | Selectați procentul pentru Câștig difuzor. |
| Blocare automată | Setați timpul pentru blocarea automată a ecranului. |
| Limba | Selectați limba dorită. |
| Resetare cameră | Apăsați pentru a reseta parametrii camerei la valorile implicite. |
| Comenzi fără fir | |
| Tip de telecomandă | Smart: Pentru telecomandă și selfie stick Easy: Pentru telecomandă cu ecran |
| Conectare telecomandă | Pentru conectarea telecomenzii. |
| Wi-Fi | Activat: Puteți conecta camera cu aplicația EZVIZ SPORTS conectând dispozitivele mobile la Wi-Fi-ul camerei. Oprit: Opriți Wi-Fi-ul camerei. |
| SSID | Numele Wi-Fi-ului. |
| Cheie | Parola Wi-Fi-ului. |
| Resetare Wi-Fi | Apăsați pentru a seta informațiile Wi-Fi la valorile implicite. |
| Informații despre cameră | Verificați informațiile despre cameră. |
| Stare cameră | Verificați starea camerei. |
Mai multe funcții
Glisați de sus în jos pentru a intra în interfața afișată în dreapta.

Control fără fir
Puteți activa Wi-Fi-ul camerei pentru a permite telecomenzii sau aplicației EZVIZ SPORTS să se conecteze cu camera.
Apăsați
pentru a activa Wi-Fi-ul.
Puteți seta modul de control fără fir în meniul de configurare.
- Dacă selectați App ca mod de control fără fir, puteți căuta "EZVIZ SPORTS" pe App Store sau Google PlayTM pentru a descărca și instala aplicația.
Activați funcția Wi-Fi a telefonului mobil, găsiți semnalul Wi-Fi al camerei și conectați-vă cu acesta.
Nume Wi-Fi: EZVIZ_XXXX
Parola Wi-Fi: 1234567890
Numele și parola Wi-Fi implicite sunt doar pentru prima conectare. Trebuie să schimbați această parolă implicită pentru a vă proteja mai bine împotriva riscurilor de securitate, cum ar fi accesul neautorizat de către alte persoane la produs, care poate împiedica funcționarea corectă a produsului și/sau poate duce la alte consecințe nedorite.
Numele și parola Wi-Fi vor fi resetate la valorile implicite după resetarea camerei. - Dacă selectați Remote ca mod de control fără fir, consultați Ghidul de pornire rapidă al telecomenzii pentru detalii.
Mod Dash
- Montați camera pe parbrizul din față.
- Conectați camera și încărcătorul auto cu cablu de date (5V
1A) și conectați încărcătorul auto și bricheta auto.
![EZVIZ - S2 - Mod Dash - Pasul 1 Mod Dash - Pasul 1]()
- Activați Modul Dash atingând
.
![]()
![EZVIZ - S2 - Mod Dash - Pasul 2 Mod Dash - Pasul 2]()
(Buton pentru Înregistrare Video de Urgență:
Țineți apăsat butonul pentru a proteja fișierele video să nu fie înlocuite de fișiere noi.
Țineți apăsat butonul de pornire timp de 3 secunde pentru a opri.)
Începeți Înregistrarea Video
Când porniți contactul mașinii, camera începe înregistrarea video în Modul Buclei. Vă rugăm să consultați pagina 12 pentru detalii despre Modul Buclei.

Opriți Înregistrarea Video
Când opriți mașina, camera va opri înregistrarea video,

Ieșiți din Modul Dash
Glisați în jos pe ecran și atingeți sigla camerei din stânga pentru a ieși.

Notă
| Modul Buclei: În Modul Mașină în Mișcare, odată ce porniți mașina, camera va intra în Modul Buclei. Noile fișiere video vor înlocui fișierele mai vechi, iar cele mai vechi vor fi șterse. |
| Înregistrare Video de Urgență: Când apăsați Declanșatorul în Modul Mașină în Mișcare, fișierele video mai vechi nu vor fi suprascrise. Acestea sunt păstrate sub XXXEMREC. De exemplu, 100EMREC va fi păstrat sub XXXDVREC. Când apăsați Declanșatorul, pentru a proteja videoul, nu vi se permite să aveți alte operațiuni pe cameră, ci doar să o opriți. |
| Durata Înregistrării Video de Urgență: Depinde de durata predefinită stabilită în Modul Split. |
| Puteți conecta cardul SD la PC pentru a șterge fișierele video sau le puteți șterge prin intermediul aplicației EZVIZ SPORTS. |
| Când camera nu este în Modul Mașină în Mișcare, nu puteți reda fișierele video realizate în Modul Mașină în Mișcare în cameră sau prin intermediul aplicației EZVIZ SPORTS. |
Pentru mai multe informații și descărcarea manualului, vă rugăm să accesați https://service.ezvizlife.com.

Referințe
App Store - Apple
Google Play
EZVIZ Support - Creating Easy Smart Homes
EZVIZ - Creating Easy Smart Homes
Descărcați manualul
Aici puteți descărca versiunea completă pdf a manualului, aceasta poate conține instrucțiuni suplimentare de siguranță, informații despre garanție, reguli FCC etc.
Descărcați EZVIZ S2 - Manual de utilizare al camerei de acțiune















pentru a începe înregistrarea video. Difuzorul emite un bip și indicatorul LED clipește în verde.



spre stânga pentru a selecta.

.
