Philips BHB868 - Navodila za uporabo kodralnika las

Pomembno
Pred uporabo naprave natančno preberite ta navodila za uporabo in jih shranite za prihodnjo uporabo.
Naprave ne uporabljajte v bližini vode.- Če napravo uporabljate v kopalnici, jo po uporabi izključite iz električnega omrežja, saj bližina vode predstavlja tveganje, tudi ko je naprava izklopljena.
Naprave ne uporabljajte v bližini kadi, prh, umivalnikov ali drugih posod, ki vsebujejo vodo.
![]()
- Po uporabi napravo vedno izključite iz električnega omrežja.
- Če je napajalni kabel poškodovan, ga mora zamenjati Philips, Philipsov pooblaščeni servisni center ali podobno usposobljene osebe, da bi se izognili nevarnosti.
- To napravo lahko uporabljajo otroci, stari 8 let in več, ter osebe z zmanjšanimi fizičnimi, senzoričnimi ali duševnimi sposobnostmi ali s pomanjkanjem izkušenj in znanja, če so pod nadzorom ali so jim bile dane ustrezne smernice glede varne uporabe naprave in razumejo nevarnosti, ki so povezane z uporabo. Otroci se ne smejo igrati z napravo. Čiščenja in vzdrževanja naprave ne smejo izvajati otroci brez nadzora.
- Preden priključite napravo, se prepričajte, da napetost, ki je navedena na napravi, ustreza lokalni napetosti električnega omrežja.
- Naprave ne uporabljajte za druge namene, kot je opisano v teh navodilih.
- Naprave ne uporabljajte na umetnih laseh.
- Ko je naprava priključena na električno omrežje, je nikoli ne puščajte brez nadzora.
- Nikoli ne uporabljajte dodatkov ali delov drugih proizvajalcev ali tistih, ki jih Philips izrecno ne priporoča. Če uporabljate takšne dodatke ali dele, garancija preneha veljati.
- Napajalnega kabla ne navijajte okoli naprave.
- Počakajte, da se naprava ohladi, preden jo shranite.
- Pri uporabi naprave bodite zelo pozorni, saj je lahko izjemno vroča. Držite samo ročaj, saj so drugi deli vroči in se izogibajte stiku s kožo.
- Napravo vedno postavite s stojalom na toplotno odporno, stabilno ravno površino. Vroča cev se nikoli ne sme dotikati površine ali drugih vnetljivih materialov.
- Pazite, da napajalni kabel ne pride v stik z vročimi deli naprave.
- Ko je naprava vklopljena, jo hranite stran od vnetljivih predmetov in materialov.
- Nikoli ne prekrivajte naprave z ničemer (npr. z brisačo ali oblačili), ko je vroča.
- Napravo uporabljajte samo na suhih laseh. Ne upravljajte z napravo z mokrimi rokami.
- Cev naj bo čista in brez prahu ter izdelkov za oblikovanje las, kot so pena, lak in gel.
- Cev ima premaz. Ta premaz se lahko sčasoma počasi obrabi. Vendar to ne vpliva na delovanje naprave.
- Če se naprava uporablja na barvanih laseh, se lahko cev obarva.
- Napravo vedno vrnite v Philipsov pooblaščeni servisni center za pregled ali popravilo. Popravilo s strani nekvalificiranih oseb lahko povzroči izjemno nevarno situacijo za uporabnika.
Ne vstavljajte kovinskih predmetov v odprtine, da se izognete električnemu udaru.
- Po uporabi ne vlecite napajalnega kabla. Napravo vedno izključite iz električnega omrežja tako, da držite vtič.
Elektromagnetna polja (EMF)
Ta Philipsova naprava ustreza vsem veljavnim standardom in predpisom glede izpostavljenosti elektromagnetnim poljem.
Okolje

Naprave ob koncu njene življenjske dobe ne zavrzite skupaj z običajnimi gospodinjskimi odpadki, temveč jo oddajte na uradnem zbirnem mestu za recikliranje. S tem prispevate k ohranjanju okolja.
Uvod
Kodralnik s 32 mm cevjo vam pomaga enostavno doseči živahne, poskočne kodre in prstane za vesel in mladosten videz. Zaščitna keramična prevleka zagotavlja enakomerno porazdelitev toplote in dobro neguje vaše lase med kodranjem. Najvišja temperatura 200 °C zagotavlja optimalen rezultat, hkrati pa zmanjšuje poškodbe las. Upamo, da boste uživali v uporabi vašega kodralnika.
- Funkcija zaklepanja tipk
![]()
Če 5 sekund ne pritisnete nobene tipke, se samodejno aktivira zaklepanje tipk in prikaže se ikona za zaklepanje tipk
(
). Prva samodejna aktivacija po vklopu naprave je po 15 sekundah. Za odklepanje naprave pritisnite
(
) za 1 sekundo.

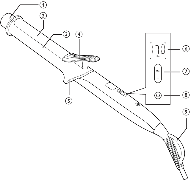
Pregled

- Hladna konica
- Sponka
- Cev
- Ročica
- Stojalo
- Prikaz temperature
/
/
Gumb
Gumb za vklop- Zanka za obešanje
Kodranje las
- Vtič priključite v električno vtičnico.
![]()
- Pritisnite in držite gumb
(
) za eno sekundo, da vklopite napravo.
Prikaže se privzeta nastavitev temperature 170 °C (
).
![]()
- Izberite želeno nastavitev temperature s pritiskom na
ali
(
) glede na spodnjo tabelo tipov las.
![]()
| Tip las | Nastavitve temperature |
| Tanki | 130-150 °C |
| Normalni | 160-180 °C |
| Gosti | 190-200 °C |
- Preden začnete kodrati, počešite in razdelite lase na majhne pramene. Pritisnite ročico (
) in položite pramen las med cev (
) in sponko (
).
![]()
- Zaprite sponko tako, da spustite ročico in potisnite cev navzdol do konic las.
![]()
- Pri konicah las naravno obrnite in zavrtite kodralnik, tako da so lasje oviti okoli cevi od konice do korena.
![]()
Nasvet: Hladno konico (
) lahko uporabite tudi kot oporo pri vrtenju kodralnika.
- Držite kodralnik v položaju.
![]()
Nasvet: Za ohlapne kodre držite kodralnik v položaju približno 20 sekund, za bolj čvrste kodre pa do 25 sekund.
- Odvijte pramen las, dokler ne morete ponovno odpreti sponke z ročico.
![]()
- Za kodranje preostalih las ponovite korake od 4 do 8.
![]()
Po uporabi:
- Izklopite napravo in jo izključite iz električnega omrežja.
- Postavite jo na stojalo (
), dokler se ne ohladi. - Odstranite lase in prah s cevi in sponke.
- Očistite cev in sponko z vlažno krpo.
- Hranite jo na varnem in suhem mestu, brez prahu. Lahko jo tudi obesite z zanko za obešanje (
).
Garancija in servis
Če potrebujete informacije, npr. o zamenjavi nastavka, ali imate težave, obiščite Philipsovo spletno mesto na www.philips.com/support ali se obrnite na Philipsov center za pomoč uporabnikom v vaši državi (telefonsko številko najdete v garancijskem listu za ves svet). Če v vaši državi ni centra za pomoč uporabnikom, se obrnite na lokalnega Philipsovega prodajalca.
Odpravljanje težav
| Težava | Vzrok | Rešitev |
Naprava sploh ne deluje | Električna vtičnica, v katero je naprava priključena, je morda pokvarjena. | Preverite, ali je naprava pravilno priključena. Preverite varovalko za to električno vtičnico v vašem domu. |
| Naprava morda ni primerna za napetost, na katero je priključena. | Prepričajte se, da napetost, ki je navedena na tipski ploščici naprave, ustreza lokalni napetosti električnega omrežja. |

Reference
Prenesi navodilo
Tukaj lahko prenesete polno pdf različico navodila, ki lahko vsebuje dodatna varnostna navodila, informacije o garanciji, FCC pravila itd.
Prenesi Philips BHB868 - Navodila za uporabo kodralnika las

/
Gumb
Gumb za vklop
(
) za eno sekundo, da vklopite napravo.
Prikaže se privzeta nastavitev temperature 170 °C ( 

) in položite pramen las med cev (
) in sponko (
).





), dokler se ne ohladi.
).