Nice Silenya Adv 7025 - LCD Tuş Takımı Kılavuzu

GİRİŞ
7025 Keypad LCD: Silenya Adv sistemi için LCD Çift Bantlı iki yönlü tuş takımı, RFid okuyucu ile birlikte.
Kontrol ünitesi, yapılandırma modunda piller takıldıktan sonra cihazı otomatik olarak algılar. Pilleri takmadan önce, Tuş Takımı kullanım kılavuzunu okuyun ve monitördeki kontrol ünitesi talimatlarını izleyin.
Kutuda ne var

Pil takma ve değiştirme
(Şek. 2–3)
Pil – 1 x CR123A (birlikte verilir). Pili yalnızca tuş takımı ve kontrol ünitesi tarafından sinyal verildiğinde değiştirin.

Pili takarken, vericinin kontrol ünitesiyle doğru şekilde senkronize edildiğini gösteren Şekil 5'te gösterilen sembolün vericinin ekranında göründüğünü kontrol edin.

Genel hata
Arızalar (örneğin, kontrol ünitesiyle iletişim zorlukları) durumunda, Şekil 6'da gösterilen sembol ekranda görünecektir; vericiyi kontrol ünitesinin yakınına taşıyın ve senkronizasyonun geri yüklenmesini bekleyin. Bunun gerçekleşmemesi durumunda, kontrol ünitesini kontrol edin ve hata kodunu bildirerek Teknik Yardım Servisi ile iletişime geçin.

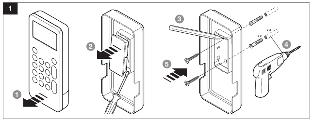
Kurulum
(Şek. 1, 4)
Verici desteğini düz ve iyi durumda olan bir duvara takın. Sağlanan dübellerin duvar tipine uygun olduğundan emin olun.


FONKSİYONEL ÖZELLİKLER

- Ekran
- Fonksiyon tuşları: "ESC" tuşu, acil durum istekleri göndermek ve belirli testleri çalıştırmak için "SOS/test" menüsüne erişmek için kullanılabilir. "Enter" tuşu, "Domotics" menüsüne (Şekil 13) veya seçilen alt menüye erişmeyi sağlar (Şek. 10-11).
- Sayısal tuşlar: sayısal tuşlar, istenen öğeleri seçmek için kullanılabilir (örneğin, "1: Alan 1" Şekil 11, örneğin "1: Aç" Şekil 15).
- ON (Açık), OFF (Kapalı):"ON" (Açık) tuşu, seçilen fonksiyonu etkinleştirmek için kullanılır (örneğin, Şek. 8-9, "Tıbbi İlk Yardım" talebi Şekil 13). "OFF" (Kapalı) düğmesi, kodu girdikten sonra alarmı devre dışı bırakmak için kullanılır (Şekil 9).
- Kontrol tuşları:
(Yukarı) ve
(Aşağı) kontrol tuşları, menü öğelerinde gezinmek için kullanılır.
Tuş takımı vericisi ile yalnızca sisteme bağlı cihazların çalışmasını yönetmek mümkündür. Silenya Adv sistemini tamamen programlamak için kontrol ünitesi kullanılmalıdır.
Vericiyi kontrol ünitesiyle eşleştirme
Pili taktıktan sonra, vericiyi kontrol ünitesiyle eşleştirmek için kontrol ünitesindeki sihirbazı kullanın. Sıra tamamlandıktan sonra, vericinin kontrol ünitesiyle doğru şekilde senkronize edildiğini gösteren Şekil 5'te gösterilen sembol vericinin ekranında görünecektir.
Alarmı kurma
Ekranı etkinleştirmek için herhangi bir tuşa basın (Şekil 7); sağlanan kodu girmek için sayısal tuşları kullanın; alarmı programlanmış tüm alanlara kurmak için,
(Yukarı) ve
(Aşağı) tuşlarını kullanarak "Total" (Toplam) seçeneğini seçin (Şekil 8); "ON" (Açık) tuşuna basın ve kodu girin (Şekil 9); alarmı yalnızca belirli alanlara kurmak için,
(Yukarı) ve
(Aşağı) tuşlarını kullanarak "Areas" (Alanlar) seçeneğini seçin (Şekil 10); "Enter" tuşuna basın ve sayısal tuşlarla istenen alanları seçin (Şekil 11); seçim işleminin sonunda, "ON" (Açık) tuşuna basın ve kodu girin (Şekil 12).



Alarmı devre dışı bırakma
Alarm devredeyken, "Alarm engaged" (Alarm devrede) penceresine erişin; kodu girin (Şekil 9) ve ardından "OFF" (Kapalı) tuşuna basın.
SOS/test
"SOS/test" fonksiyonlarına erişmek için "ESC" tuşuna basın; seçim penceresi görünecektir (Şekil 13); istenen öğeyi seçmek için
(Yukarı) ve
(Aşağı) tuşlarını kullanın (örneğin, "Medical First-Aid" (Tıbbi İlk Yardım)).

Domotics
"Domotics" fonksiyonlarına erişmek için "Enter" tuşuna basın ve istenen cihazı seçmek için
(Yukarı) ve
(Aşağı) tuşlarını kullanın (örneğin, "LIGHT" (IŞIK) Şekil 14); "Enter" tuşuna basın ve istenen öğeyi seçmek için sayısal tuşları kullanın (örneğin, "Switch on" (Aç)) (Şekil 15); "OK" onay penceresi görünecektir (Şekil 16).



| 7025 Keypad LCD (7025 Tuş Takımı LCD) | TEKNİK ÖZELLİKLER |
| 1 x CR123 3 V (1,4 Ah) | Güç kaynağı |
| < 20 μA | Bekleme durumunda akım çekimi |
| < 55 mA | Çalışma sırasında akım çekimi |
| < 35 mA | Bekleme modunda ve ekran açıkken akım çekimi |
| > 3 | Pil ömrü yıl - yaklaşık * |
| GFSK Çift Bant MHz 433,54-433,92; MHz 868,30-868,94 | Radyo iletimi çift frekans |
| > 50 m | Açık alanda radyo menzili parazitsiz ** |
| II | Yalıtım (sınıf) |
| II | Çevre sınıfı EN 50131-3, EN 50131-5-3 Güvenlik derecesi 2'ye uygun olarak |
| -10°C... +40°C / Rh 95% | Çalışma sıcaklığı/nem |
| 67 x 25 x 150 mm | Boyutlar (GxDxY) |
| 300 g | Ağırlık |
| 50 | IP |
Yukarıdaki özellikler, 20°C (± 5°C) ortam sıcaklığına ve cihazın bir konut ortamında normal kullanımına atıfta bulunmaktadır.
*
Pil ömrü, cihazın normal kullanımına atıfta bulunmaktadır.
**
RF parazitleri ve cihazların binalardaki konumu radyo menzilini azaltabilir.
Pil bölmesi dışında, cihazların açılması, endüstriyel garantinin derhal geçersiz kılınması anlamına gelir.
Nice S.p. A., ürünün bu kılavuzda belirtilenler dışında uygunsuz kullanımından kaynaklanan hasarlardan dolayı tüm sorumluluğu reddeder.
Nice S.p. A., ürünlerini geliştirmek amacıyla, işlevlerini veya amaçlanan kullanımlarını değiştirmeden, teknik özelliklerini herhangi bir zamanda önceden bildirimde bulunmaksızın değiştirme hakkını saklı tutar.
Pil, yürürlükteki düzenlemelere göre uygun kutularda atılmalıdır; cihazı hurdaya çıkarırken, pil önceden çıkarılmalıdır.
Pili yutmayın: kimyasal yanık riski.
Yeni ve kullanılmış pilleri çocukların erişemeyeceği yerlerde saklayın.
Pil bölmesi sıkıca kapanmıyorsa, ürünü kullanmayı bırakın ve çocukların erişemeyeceği yerlerde saklayın.
Pilin yutulduğundan veya diğer vücut boşluklarına yerleştirildiğinden şüpheleniyorsanız, derhal bir doktora danışın.
Pilin yanlış bir türle değiştirilmesi durumunda patlama riski.
AB UYGUNLUK BEYANI
İşbu belge ile, NICE S.p. A., radyo ekipmanı tipinin
- 7025 Keypad LCD (7025 Tuş Takımı LCD)
2014/53/AB Direktifi ile uyumlu olduğunu beyan eder. AB uygunluk beyanının tam metni aşağıdaki internet adresinde mevcuttur: http://www.silentron.it/dichiarazioni-ce/
Bu kılavuzun tüm bölümlerini dikkatlice okuyun.

Nice S.p. A.
31046 Oderzo TV Italy info@niceforyou.com
www.niceforyou.com
www.silentron.it


Referanslar
Dichiarazioni di conformità CE | Silentron
Nice North America - Home Automation SystemsSistemi di allarme | Silentron
Kılavuzu indir
Burada kılavuzun tam PDF sürümünü indirebilirsiniz, ek güvenlik talimatları, garanti bilgileri, FCC kuralları vb. içerebilir.
Nice Silenya Adv 7025 - LCD Tuş Takımı Kılavuzu indir