Sony ICD-PX333M - Ръководство за бърз старт на IC Recorder

Проверете доставените артикули
- Калъф за носене (1)
- LR03 (размер AAA) алкални батерии (2)
- Ръководство за бърз старт (1)
- Помощно ръководство (HTML файл, съхранен във вградената памет, така че лесно да може да бъде копиран на вашия компютър.)
- IC Recorder (1)
- Стерео слушалки (1)
- USB свързващ кабел (1)
- Стерео микрофон с щипка за риза (1)
Опционални аксесоари
- USB AC адаптер AC‑UD10
Забележка
В зависимост от държавата или региона, някои от моделите или опционалните аксесоари не са налични.
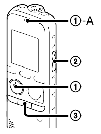
Части и контроли

- Вграден микрофон
(микрофон) жак*- Дисплеен прозорец
- DISP/MENU бутон
- SCENE бутон
(папка) бутон
PLAY/STOP•ENTER* (Пусни/Стоп•Въведи) бутон
(стоп) бутон
(преглед/бързо назад),
(сигнал/бързо напред) бутони- Говорител
(слушалки) жак- Индикатор за работа
- ERASE (Изтрий) бутон
- VOL –/+ (сила на звука –/+) бутон*
A‑B (повторение A‑B) бутон
REC/PAUSE (запис/пауза) бутон- NOISE CUT (Намаляване на шума) превключвател
- T‑MARK (маркер за песен) бутон
(USB) конектор- M2™/microSD слот за карта памет
- HOLD•POWER ON/OFF (Задържане•Включване/Изключване) превключвател
- Отделение за батерии
- Отвор за каишка (Каишка не е доставена.)
* Тези бутони и жак имат тактилно означение. Използвайте го като отправна точка за операции или за идентифициране на всеки терминал.
Нека изпробваме вашия нов IC recorder
-
Включете.
![]()
-
Плъзнете и повдигнете капака на отделението за батерии, след това поставете батериите с правилния поляритет.
-
Включете захранването.
Плъзнете и задръжте превключвателя HOLD•POWER ON/OFF в посока "POWER ON/OFF" за повече от 1 секунда.
![]()
За да изключите захранването, плъзнете и задръжте превключвателя HOLD•POWER ON/ OFF в посока "POWER ON/OFF", докато се покаже " 关机 ".
За да предотвратите неволни операции (HOLD) (Задържане)
![]()
За да освободите IC recorder от HOLD (Задържане) статуса, плъзнете превключвателя HOLD•POWER ON/OFF към центъра.
-
-
Задайте датата и часа.
Когато поставите батерия за първи път или след като IC recorder е бил без батерия повече от 1 минута, "![]()
" се появява и след това се появява прозорецът за настройка на часовника.
![]()
-
Натиснете
или
, за да зададете годината (последните две цифри от годината), и след това натиснете
PLAY/STOP•ENTER (Пусни/Стоп•Въведи). Повторете тази процедура, за да зададете месец, ден, час и минута последователно.
Когато зададете минутата и натиснете
PLAY/STOP•ENTER (Пусни/Стоп•Въведи), часовникът отразява настройката.
-
-
Изберете езика на менюто.
![]()
-
Натиснете DISP/MENU.
-
Натиснете
или
, за да изберете " 详细菜单 " и след това натиснете
PLAY/STOP•ENTER (Пусни/Стоп•Въведи). -
Натиснете
или
, за да изберете " 语言(Language) (Език)," и след това натиснете
PLAY/STOP•ENTER (Пусни/Стоп•Въведи). -
Натиснете
или
, за да изберете езика, който искате да използвате в дисплейния прозорец, и след това натиснете
PLAY/ STOP•ENTER (Пусни/Стоп•Въведи).
Можете да изберете следните езици: * (Chinese), English (Английски)
* Настройка по подразбиране -
Натиснете
(стоп), за да се върнете към дисплея в режим на стоп.
-
-
Запис.
Преди да започнете да използвате IC recorder, уверете се, че сте плъзнали превключвателя HOLD•POWER ON/OFF към центъра, за да освободите HOLD (Задържане) статуса.
![]()
-
Натиснете
REC/PAUSE (Запис/Пауза).
Записът започва и индикаторът за работа (
‑A) мига в оранжево и след това светва в червено.
¼ Можете да поставите записа на пауза, като натиснете
REC/PAUSE (Запис/Пауза). Натиснете
REC/ PAUSE (Запис/Пауза) отново, за да рестартирате записа. -
Поставете IC recorder така, че вграденият микрофон да е обърнат към посоката на източника, който ще бъде записан.
-
Натиснете
(стоп), за да спрете записа.
Анимацията " 正在访问... " се появява и записът спира.
-
-
Слушайте.
![]()
-
Натиснете
PLAY/STOP•ENTER (Пусни/Стоп•Въведи).
Възпроизвеждането започва и индикаторът за работа (
‑A) светва в зелено. -
Регулирайте силата на звука, като натиснете VOL –/+ (сила на звука –/+).
-
Натиснете
(стоп), за да спрете възпроизвеждането.
-
-
Изтрийте.
![]()
След като файл бъде изтрит, не можете да го възстановите.
-
Натиснете ERASE (Изтрий).
" 确定删除? " се показва и файлът, който ще бъде изтрит, се възпроизвежда за потвърждение. -
Изберете " 是 " с помощта на
или
, и след това натиснете
PLAY/ STOP•ENTER (Пусни/Стоп•Въведи).
Анимацията " 正在删除... " се появява и избраният файл се изтрива.
-
Използване на вашия компютър
Инсталиране на помощното ръководство на вашия компютър
Като инсталирате помощното ръководство на вашия компютър от вградената памет на IC recorder, можете да търсите подробни операции и възможни решения, когато възникне проблем.
- Свържете
(USB) конектора на IC recorder с USB порта на работещия ви компютър с предоставения USB свързващ кабел, поставен в конекторите здраво, докато всеки щепсел спре до края. - В Windows: Кликнете върху [Computer] (Компютър) (или [My Computer] (Моят компютър)), след това щракнете двукратно върху [IC RECORDER] [FOR WINDOWS] (ЗА WINDOWS).
В Mac: Щракнете двукратно върху [IC RECORDER] на работния плот. - Инсталирайте помощното ръководство.
В Windows: Щракнете двукратно върху [Help_Guide_Installer] (или [Help_Guide_Installer.exe]). В Mac: Щракнете двукратно върху [Help_Guide_Installer_for_mac.app]. (v10.5.8 или по-нова) Следвайте инструкциите, които се появяват на екрана, за да продължите с инсталацията. - След като инсталацията завърши, щракнете двукратно върху иконата [Help_Guide_icdp33_cn.htm] на работния плот за Windows (или във Finder за Mac).
Помощното ръководство се показва.
Можете също да видите помощното ръководство на следната начална страница за поддръжка на клиенти на Sony IC Recorder: http://rd1.sony.net/help/icd/p33/cn/
Копиране на файлове от IC recorder на вашия компютър
Можете да копирате файловете и папките от IC recorder на вашия компютър, за да ги съхранявате.
- Свържете IC recorder към вашия компютър.
- Копирайте файлове или папки, които искате да прехвърлите на вашия компютър.
Плъзнете и пуснете файловете или папките, които искате да копирате от "IC RECORDER" или "MEMORY CARD" (КАРТА ПАМЕТ) на локалния диск на вашия компютър.
За да копирате файл или папка (Плъзнете и пуснете)
- Кликнете и задръжте,
- плъзнете,
- и след това пуснете.
- Изключете IC recorder от вашия компютър.
Инсталиране на Sound Organizer
Инсталирайте Sound Organizer на вашия компютър.
Забележка
Sound Organizer е съвместим само с Windows PC. Той не е съвместим с Mac.
Когато инсталирате Sound Organizer, влезте в акаунт с администраторски права.
- Отворете следния уебсайт на Sony Service от вашия компютър: http://service.sony.com.cn
- На горния уебсайт въведете "Sound Organizer" в полето за търсене, за да намерите страницата за изтегляне на Sound Organizer.
- Следвайте процедурите, указани на страницата за изтегляне, за да изтеглите и след това да инсталирате Sound Organizer.
Допълнителни функции
Подробности за тези допълнителни функции за запис, възпроизвеждане и редактиране са включени в помощното ръководство.
- Избор на сцена
- Намаляване на шума
- T‑MARK (Маркер за песен)
- DPC (Цифров контрол на височината)
- A‑B Repeat (Повторение A‑B)
- VOR (Гласово активиран запис)
- Аларма
- Лесно търсене
- Разделяне
- Софтуер за редактиране Sound Organizer
Предпазни мерки
Относно захранването
Работете с IC recorder на 3.0 V или 2.4 V. Използвайте две LR03 (размер AAA) алкални батерии или NH‑AAA акумулаторни батерии.
Относно безопасността
Не работете с IC recorder по време на шофиране, колоездене или управление на каквото и да е моторизирано превозно средство.
Относно работата
- Не оставяйте IC recorder на място близо до източници на топлина или на място, подложено на пряка слънчева светлина, прекомерен прах или механичен удар.
- Ако някакъв твърд предмет или течност попадне в IC recorder, извадете батерията и проверете IC recorder от квалифициран персонал, преди да го използвате допълнително.
Ако имате някакви въпроси или проблеми относно вашия IC recorder, моля, консултирайте се с най-близкия дилър на Sony.
Не излагайте батериите (батериен пакет или инсталирани батерии) на прекомерна топлина, като слънчева светлина, огън или други подобни за дълго време.
Риск от експлозия, ако батерията бъде заменена с неправилен тип. Изхвърлете използваните батерии в съответствие с инструкциите.
Капацитет (Наличен капацитет за потребителя*) 4 GB (приблизително 3.60 GB = 3,865,470,566 байта)
* Малко количество от вградената памет се използва за управление на файлове и следователно не е достъпно за съхранение от потребителя.
За клиентите в Китай
НОМИНАЛЕН ТЕКУЩ ПОТОК: 1500 mA
AC адаптер: AC‑UD10

Препратки
Изтегли ръководство
Тук можете да изтеглите пълната версия на ръководството в pdf формат, което може да съдържа допълнителни инструкции за безопасност, информация за гаранцията, правила на FCC и др.
Изтегли Sony ICD-PX333M - Ръководство за бърз старт на IC Recorder
(микрофон) жак*
(папка) бутон
PLAY/STOP•ENTER* (Пусни/Стоп•Въведи) бутон
(стоп) бутон
(преглед/бързо назад),
(сигнал/бързо напред) бутони
(слушалки) жак
A‑B (повторение A‑B) бутон
REC/PAUSE (запис/пауза) бутон
(USB) конектор



" се появява и след това се появява прозорецът за настройка на часовника.


‑A) мига в оранжево и след това светва в червено.
