Sony ICD-PX440 - Ръководство за бърз старт на IC Recorder

Проверете доставените елементи
- IC Recorder (1)
- Стерео слушалки (1)
- Калъф за носене (1)
- LR03 (размер AAA) алкална батерия (2)
- Ръководство за бърз старт
- Помощно ръководство (HTML файл, съхранен във вградената памет, така че лесно да може да бъде копиран на вашия компютър.)
Опционални аксесоари
- USB AC адаптер AC-UD10
Забележка
В зависимост от държавата или региона, някои от моделите или опционалните аксесоари не са налични.
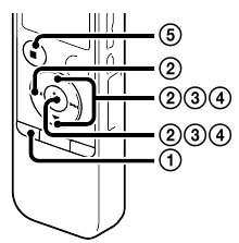
Части и контроли

- Индикатор за работа
- Вградени микрофони (стерео) (L)
- Вградени микрофони (стерео) (R)
- Дисплеен прозорец
REC/PAUSE (запис/пауза) бутон
STOP (стоп) бутон- Бутон за управление (
(преглед/бързо назад),
(сигнал/бързо напред))
(play/enter) (възпроизвеждане/въвеждане) бутон*- MENU (меню) бутон
- T-MARK (маркер за песен) бутон
- FOLDER (папка) бутон
- Говорител
- Отвор за каишка (Каишка не е доставена.)
- Отделение за USB конектор
(headphones) (слушалки) жак
(microphone) (микрофон) (PLUG IN POWER) жак* 1- ERASE (изтриване) бутон
- VOL –/+ (volume –/+) (сила на звука –/+) бутон* 1
A-B (repeat A-B) (повторение A-B) бутон- M2 ™ /microSD слот за карта памет (Слотът за карта се намира в капака.)* 2
- USB плъзгащ лост
- HOLD•POWER ON/OFF (задържане•включване/изключване на захранването) превключвател
- DPC (SPEED CTRL) (контрол на скоростта) превключвател
- Отделение за батерии
*1 Тези бутони и жак имат тактилна точка. Използвайте я като отправна точка за операции или за идентифициране на всеки терминал.
* 2 В това Ръководство за бърз старт, M2 ™ и microSD картите обикновено се наричат "карта памет". Слотът за M2 ™ /microSD карта се нарича "слот за карта памет".
Нека изпробваме вашия нов IC recorder
-
Включете захранването.
![Sony - ICD-PX440 - Нека изпробваме вашия нов IC recorder - Включете захранването Нека изпробваме вашия нов IC recorder - Включете захранването]()
-
Плъзнете и повдигнете капака на отделението за батерии, след което поставете LR03 (размер AAA) алкални батерии с правилния поляритет.
-
Включете захранването.
За да включите захранването
Плъзнете и задръжте HOLD•POWER ON/OFF (задържане•включване/изключване на захранването) превключвателя в посока "POWER ON/OFF" (включване/изключване на захранването), докато се появи дисплеят на прозореца.
За да предотвратите неволни операции (HOLD) (задържане)
Плъзнете HOLD•POWER ON/OFF (задържане•включване/изключване на захранването) превключвателя в посока "HOLD" (задържане). ¼
За да освободите IC recorder-а от HOLD (задържане) статус, плъзнете HOLD•POWER ON/OFF (задържане•включване/изключване на захранването) превключвателя към центъра.
-
-
Задайте датата и часа.
Когато поставите батерии за първи път или когато поставите отново батерии или замените батерии с нови, "
анимацията се появява и след това секцията за годината започва да мига в дисплейния прозорец за настройка на часовника.
![]()
-
Натиснете
или
, за да зададете годината (последните две цифри от годината), и след това натиснете
(play/enter) (възпроизвеждане/въвеждане). Повторете тази процедура, за да зададете месец, ден, час и минута последователно.
Когато зададете минутата и натиснете
(play/enter) (възпроизвеждане/въвеждане), часовникът отразява настройката.
![]()
Можете да зададете настройката на часовника по-късно. За подробности вижте Помощното ръководство на IC recorder-а.
-
-
Изберете езика на менюто.
![]()
-
Натиснете MENU (меню).
-
Натиснете
, натиснете
или
, за да изберете
, и след това натиснете
(play/enter) (възпроизвеждане/въвеждане). -
Натиснете
или
, за да изберете "
(Language) (Език)", и след това натиснете
(play/enter) (възпроизвеждане/въвеждане).
![]()
-
Натиснете
или
, за да изберете езика, който искате да използвате в дисплейния прозорец, и след това натиснете
(play/enter) (възпроизвеждане/въвеждане).
Можете да изберете следните езици:
* (китайски), английски
* Настройка по подразбиране -
Натиснете
STOP (стоп).
-
-
Запишете.
![]()
Преди да започнете да използвате IC recorder-а, уверете се, че сте плъзнали Operation HOLD•POWER ON/OFF (задържане•включване/изключване на захранването) превключвателя към центъра, за да освободите HOLD (задържане) статуса.-
Поставете IC recorder-а така, че вградените микрофони да са обърнати към посоката на източника, който ще бъде записан.
-
Натиснете
REC/PAUSE (запис/пауза).
Записът започва и индикаторът за работа светва в червено.
Можете да поставите записа на пауза, като натиснете
REC/PAUSE (запис/пауза). Натиснете
REC/PAUSE (запис/пауза) отново, за да рестартирате записа. -
Натиснете
STOP (стоп), за да спрете записа.
"
... " анимацията се появява и записът спира.
-
-
Слушайте.
![]()
Ако не изберете файл, файлът, който е записан или възпроизведен най-скоро, ще бъде възпроизведен.
За подробности относно избирането на файл, вижте Помощното ръководство на IC recorder-а.-
Натиснете
(play/enter) (възпроизвеждане/въвеждане).
Възпроизвеждането започва и индикаторът за работа светва в зелено. -
Регулирайте силата на звука, като натиснете VOL –/+ (сила на звука –/+).
-
Натиснете
STOP (стоп), за да спрете възпроизвеждането.
-
-
Изтрийте.
![]()
След като файл бъде изтрит, не можете да го възстановите.
-
Натиснете ERASE (изтриване).
"
" се показва и файлът, който ще бъде изтрит, се възпроизвежда за потвърждение. -
Изберете "
", като използвате
или
, и след това натиснете
(play/enter) (възпроизвеждане/въвеждане).
"
... " се показва, докато избраният файл се изтрива.
-
Използване на вашия компютър
Инсталиране на помощното ръководство на вашия компютър
Чрез инсталиране на помощното ръководство на вашия компютър от вградената памет на IC recorder-а, можете да търсите подробни операции и възможни решения, когато възникне проблем.
- Плъзнете USB плъзгащия лост на гърба на IC recorder-а и поставете USB конектора в USB порта на работещ компютър.
- В Windows: Кликнете върху [Computer] (Компютър) (или [My Computer] (Моят компютър)), след което щракнете двукратно върху [IC RECORDER] → [FOR WINDOWS] (ЗА WINDOWS).
В Mac: Щракнете двукратно върху [IC RECORDER] на работния плот. - Инсталирайте помощното ръководство.
В Windows: Щракнете двукратно върху [Help_Guide_Installer] (или [Help_Guide_Installer.exe]). В Mac: Щракнете двукратно върху [Help_Guide_Installer_for_mac.app]. (v10.5.8 или по-нова) Следвайте инструкциите, които се появяват на екрана, за да продължите с инсталацията. - След като инсталацията завърши, щракнете двукратно върху иконата [Help_Guide_icdp44_cn.htm] на работния плот за Windows (или във Finder за Mac).
Помощното ръководство се показва.
Можете също да видите помощното ръководство на следната начална страница за поддръжка на клиенти на Sony IC Recorder: http://rd1.sony.net/help/icd/p44/cn/
Копиране на файлове от IC recorder-а на вашия компютър
Можете да копирате файловете и папките от IC recorder-а на вашия компютър, за да ги съхранявате.
- Свържете IC recorder-а към вашия компютър.
- Копирайте файлове или папки, които искате да прехвърлите на вашия компютър.
Плъзнете и пуснете файловете или папките, които искате да копирате от "IC RECORDER" или "MEMORY CARD" (КАРТА ПАМЕТ) на локалния диск на вашия компютър.
За да копирате файл или папка (Плъзнете и пуснете)
- Кликнете и задръжте,
- плъзнете,
- и след това пуснете.
- Изключете IC recorder-а от вашия компютър.
Инсталиране на Sound Organizer
Инсталирайте Sound Organizer на вашия компютър.
Забележка
Sound Organizer е съвместим само с Windows PC. Той не е съвместим с Mac.
Когато инсталирате Sound Organizer, влезте в акаунт с администраторски права.
- Отворете следния уебсайт на Sony Service от вашия компютър: http://service.sony.com.cn
- На горния уебсайт въведете "Sound Organizer" в полето за търсене, за да намерите страницата за изтегляне на Sound Organizer.
- Следвайте процедурите, указани на страницата за изтегляне, за да изтеглите и след това да инсталирате Sound Organizer.
Допълнителни функции
Подробности за тези допълнителни функции за запис, възпроизвеждане и редактиране са включени в помощното ръководство.
- Избор на сцена
(Филтър за запис)
(Намаляване на шума)- T-MARK (Маркер за песен)
- DPC (Digital Pitch Control) (Цифров контрол на височината)
- A-B Repeat (Повторение A-B)
- VOR (Voice Operated Recording) (Гласово активиран запис)
(Лесно търсене)- Разделяне
- Софтуер за редактиране Sound Organizer
Предпазни мерки
Относно захранването
Работете с IC recorder-а на 3.0 V или 2.4 V. Използвайте две LR03 (размер AAA) алкални батерии или NH-AAA акумулаторни батерии.
Относно безопасността
Не работете с IC recorder-а, докато шофирате, карате велосипед или управлявате каквото и да е моторизирано превозно средство.
Относно работата
- Не оставяйте IC recorder-а на място близо до източници на топлина или на място, подложено на пряка слънчева светлина, прекомерно количество прах или механичен удар.
- Ако някакъв твърд предмет или течност попадне в IC recorder-а, извадете батерията и се уверете, че IC recorder-ът е проверен от квалифициран персонал, преди да го използвате допълнително.
Ако имате някакви въпроси или проблеми относно вашия IC recorder, моля, консултирайте се с най-близкия дилър на Sony.
Не излагайте батериите (батериен пакет или инсталирани батерии) на прекомерна топлина, като например слънчева светлина, огън или други подобни за дълго време.
Риск от експлозия, ако батерията бъде заменена с неправилен тип. Изхвърлете използваните батерии в съответствие с инструкциите.
Капацитет (Наличен капацитет за потребителя*1*2)
4 GB (приблизително 3.60 GB = 3,865,470,566 байта)
*1 Малко количество от вградената памет се използва за управление на файлове и следователно не е налично за потребителско съхранение.
*2 Когато вградената памет е форматирана с IC recorder-а.
Размери (ш/в/д) (без включени издаващи се части и контроли) (JEITA)*3
Приблизително 37.2 mm × 113.2 mm × 19.3 mm
Маса (JEITA)*3
Приблизително 75 g, включително две LR03 (размер AAA) алкални батерии
*3 Измерена стойност по стандарта на JEITA (Японска асоциация на електронната и информационна технология)
За клиентите в Китай
НОМИНАЛНА КОНСУМАЦИЯ НА ТОК: 1500 mA
USB AC адаптер: AC-UD10

Препратки
Изтегли ръководство
Тук можете да изтеглите пълната версия на ръководството в pdf формат, което може да съдържа допълнителни инструкции за безопасност, информация за гаранцията, правила на FCC и др.
Изтегли Sony ICD-PX440 - Ръководство за бърз старт на IC Recorder
REC/PAUSE (запис/пауза) бутон
STOP (стоп) бутон
(преглед/бързо назад),
(сигнал/бързо напред))
(play/enter) (възпроизвеждане/въвеждане) бутон*
(headphones) (слушалки) жак
(microphone) (микрофон) (PLUG IN POWER) жак* 1
A-B (repeat A-B) (повторение A-B) бутон
анимацията се появява и след това секцията за годината започва да мига в дисплейния прозорец за настройка на часовника.
или
, за да зададете годината (последните две цифри от годината), и след това натиснете
(play/enter) (възпроизвеждане/въвеждане). Повторете тази процедура, за да зададете месец, ден, час и минута последователно. 

, натиснете
, и след това натиснете
(Language) (Език)", и след това натиснете 
* (китайски), английски
... " анимацията се появява и записът спира.

" се показва и файлът, който ще бъде изтрит, се възпроизвежда за потвърждение.
", като използвате
... " се показва, докато избраният файл се изтрива.
(Филтър за запис)
(Намаляване на шума)
(Лесно търсене)