Sony HT-S20R - Návod k obsluze systému domácího kina
- 1 O tomto návodu k obsluze
- 2 Instalace a připojení
- 3 Díly a ovládací prvky
- 4 Poslech hudby/zvuku
- 5 Úprava zvuku
- 6 Změna nastavení
- 7 Používání funkce Control for HDMI
- 8 Úspora spotřeby energie
- 9 Resetování systému
- 10 Odstraňování problémů
- 11 Specifikace
- 12 Reference
- 13 Stáhnout návod
- 14 V jiných jazycích

O tomto návodu k obsluze
- Pokyny v tomto návodu k obsluze popisují ovládací prvky na dálkovém ovladači.
- Některé ilustrace jsou prezentovány jako koncepční nákresy a mohou se lišit od skutečných produktů.
- Výchozí nastavení jsou podtržena v popisu každé funkce.
- Znaky v závorkách [ ] se zobrazují na displeji předního panelu nebo na obrazovce televizoru.
Instalace a připojení
Připojení televizoru pomocí kabelu HDMI a/nebo optického kabelu
Viz Stručný návod (samostatný dokument).
Montáž lištového reproduktoru a prostorových reproduktorů na zeď
Lištový reproduktor a prostorové reproduktory můžete namontovat na zeď.

Poznámky
- Připravte si šrouby (nejsou součástí dodávky), které jsou vhodné pro materiál a pevnost stěny. Protože je sádrokartonová stěna obzvláště křehká, připevněte šrouby bezpečně do nosníku stěny. Nainstalujte reproduktory vodorovně, zavěšené na šroubech v kolících v souvislé ploché části stěny.
- Nechte instalaci provést prodejcem Sony nebo licencovaným dodavatelem a věnujte zvláštní pozornost bezpečnosti během instalace.
- Společnost Sony nenese odpovědnost za nehody nebo škody způsobené nesprávnou instalací, nedostatečnou pevností stěny, nesprávnou instalací šroubů nebo přírodní katastrofou atd.
Montáž lištového reproduktoru na zeď
- Připravte si dva šrouby (nejsou součástí dodávky), které jsou vhodné pro otvory pro montáž na stěnu na zadní straně lištového reproduktoru.
![Sony - HT-S20R - Montáž lištového reproduktoru na zeď - Krok 1 Montáž lištového reproduktoru na zeď - Krok 1]()
- Nalepte ŠABLONU PRO MONTÁŽ NA ZEĎ (součást dodávky) na zeď.
- Zarovnejte STŘEDOVOU OSU TELEVIZORU (
) ŠABLONY PRO MONTÁŽ NA ZEĎ se středovou osou vašeho televizoru. - Zarovnejte SPODNÍ HRANU TELEVIZORU (
) ŠABLONY PRO MONTÁŽ NA ZEĎ se spodní hranou vašeho televizoru a poté nalepte ŠABLONU PRO MONTÁŽ NA ZEĎ na zeď pomocí komerčně dostupné lepicí pásky atd.
- Zarovnejte STŘEDOVOU OSU TELEVIZORU (
- Upevněte šrouby do značek (
) na ČÁŘE ŠROUBŮ (
) ŠABLONY PRO MONTÁŽ NA ZEĎ, jak je znázorněno na obrázku níže.
![Sony - HT-S20R - Montáž lištového reproduktoru na zeď - Krok 3 Montáž lištového reproduktoru na zeď - Krok 3]()
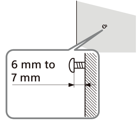
Šroub by měl vyčnívat jako na obrázku. - Odstraňte ŠABLONU PRO MONTÁŽ NA ZEĎ.
- Zavěste lištový reproduktor na šrouby.
Zarovnejte otvory na zadní straně lištového reproduktoru se šrouby a poté zavěste lištový reproduktor na dva šrouby.
![Sony - HT-S20R - Montáž lištového reproduktoru na zeď - Krok 4 Montáž lištového reproduktoru na zeď - Krok 4]()
Poznámka
Při lepení ŠABLONY PRO MONTÁŽ NA ZEĎ ji zcela vyhlaďte.
Montáž prostorových reproduktorů na zeď
- Připravte si šroub (není součástí dodávky) pro každý reproduktor, který je vhodný pro otvor pro montáž na stěnu na zadní straně prostorového reproduktoru.
![Sony - HT-S20R - Montáž reproduktorů na zeď - Krok 1 Montáž reproduktorů na zeď - Krok 1]()
- Upevněte šroub do zdi.
Šroub by měl vyčnívat jako na obrázku.
![Sony - HT-S20R - Montáž reproduktorů na zeď - Krok 2 Montáž reproduktorů na zeď - Krok 2]()
- Zavěste prostorový reproduktor na šroub.
Zarovnejte otvor na zadní straně prostorového reproduktoru se šroubem a poté zavěste prostorový reproduktor na šroub.
![Sony - HT-S20R - Montáž reproduktorů na zeď - Krok 3 Montáž reproduktorů na zeď - Krok 3]()
Díly a ovládací prvky
Co je v krabici
- Lištový reproduktor (1)
![]()
- Subwoofer (1)
![]()
- Prostorový reproduktor (2)
![]()
- Dálkový ovladač (1)/
Baterie R03 (velikost AAA) (2)
![]()
- Napájecí kabel střídavého proudu (síťový kabel) (1)
(tvar zástrčky se liší v závislosti na zemích/oblastech)
![]()
- Optický digitální kabel (1)
![]()
- ŠABLONA PRO MONTÁŽ NA ZEĎ (1)
![]()
- Stručný návod
![]()
- Návod k obsluze (tento dokument)
![]()
Průvodce díly a ovládacími prvky
Podrobnosti jsou z ilustrací vynechány.
Subwoofer

Tlačítko
(napájení)
Zapne systém nebo jej přepne do pohotovostního režimu.- Tlačítko
(výběr vstupu) - Tlačítko BLUETOOTH
- Tlačítka +/– (hlasitost)
- Indikátor BLUETOOTH
- Svítí modře: Bylo navázáno připojení BLUETOOTH.
- Pomalu opakovaně bliká modře:
Probíhá pokus o připojení BLUETOOTH. - Opakovaně dvakrát blikne modře: Během pohotovostního stavu párování.
- Displej předního panelu
- Port
(USB) - Senzor dálkového ovládání
Namiřte dálkový ovladač na senzor dálkového ovládání, abyste mohli systém ovládat.



- Konektor ANALOG IN
- Konektor HDMI OUT (TV (ARC))
Připojte televizor, který má vstupní konektor HDMI, pomocí kabelu HDMI. Systém je kompatibilní s funkcí Audio Return Channel (ARC). ARC je funkce, která odesílá zvuk z televizoru do AV zařízení, jako je systém, z konektoru HDMI televizoru. - Konektor TV IN (OPTICAL)
- Konektory SPEAKERS
- Vstup střídavého proudu
Dálkový ovladač

- INPUT
Vybere vstupní zdroj.
Při každém stisknutí tlačítka INPUT se vstupní zdroj cyklicky mění takto:
[TV] → [ANALOG] → [BT] → [USB] - AUTO SOUND
Vybere AUTO SOUND (automatický zvuk) pro režim zvuku. - CINEMA
Vybere CINEMA (kino) pro režim zvuku. - VOICE
Zapne/vypne režim hlasu.
(hlasitost) +*/–
Upravuje hlasitost.- SW
(hlasitost subwooferu) +/–
Upravuje hlasitost subwooferu. - MENU
Zapne/vypne nabídku na displeji předního panelu.
![]()
Vybere položky nabídky.
Vybere obsah na obrazovce televizoru pro přehrávání z USB.
ENTER
Potvrdí výběr.
Přehrává obsah, který je vybrán pomocí
, pro přehrávání z USB.
BACK
Vrátí se na předchozí obrazovku. Zastaví přehrávání z USB.
(předchozí/další)
Vybere předchozí/další skladbu nebo soubor. Podržením se posunete zpět nebo vpřed při přehrávání z USB.
(napájení)
Zapne systém nebo jej přepne do pohotovostního režimu.- STANDARD
Vybere STANDARD (standardní) pro režim zvuku. - MUSIC
Vybere MUSIC (hudba) pro režim zvuku. - NIGHT
Zapne/vypne noční režim.
(ztlumení)
Dočasně ztlumí zvuk.
Stisknutím tlačítka během ztlumení se ztlumení zruší.- DIMMER
Upravuje jas displeje předního panelu a indikátoru BLUETOOTH.
Při každém stisknutí tlačítka DIMMER se nastavení jasu cyklicky mění takto: [BRIGHT] → [DARK] → [OFF]
Displej předního panelu a indikátor BLUETOOTH se rozsvítí v následujících stavech, i když nastavíte nastavení jasu na [OFF].- Při ovládání systému
- Po dobu 10 sekund poté, co přestanete systém ovládat
- Při zobrazování stavu systému, jako je ztlumení, automatický pohotovostní režim atd.
(přehrát/pozastavit)*
Přehrává, pozastaví nebo obnoví přehrávání.
* Tlačítka
a
mají hmatový bod. Použijte jej jako vodítko během provozu.
O výměně baterií v dálkovém ovladači
Pokud systém nereaguje na ovládání dálkovým ovladačem, vyměňte dvě baterie za nové.
K výměně použijte manganové baterie R03 (velikost AAA).
Poslech hudby/zvuku
Poslech televize
Můžete poslouchat zvuk z televize na systému.

Při připojení k televizi pomocí kabelu HDMI (ARC) nebo optického digitálního kabelu

- Opakovaně stiskněte tlačítko INPUT (vstup) pro výběr [TV] na displeji předního panelu.
- Upravte hlasitost.
- Upravte hlasitost stisknutím
na dálkovém ovládání. - Upravte hlasitost subwooferu stisknutím SW
na dálkovém ovládání.
- Upravte hlasitost stisknutím
Poznámky
- Když připojíte televizor k jackům HDMI OUT (TV (ARC)) a TV IN (OPTICAL), jack pro audio vstup se vybere v závislosti na tom, který audio signál je zadán jako první.
- Když vstupní zdroj neobsahuje mnoho basů, například v televizních programech, basový zvuk ze subwooferu může být obtížné slyšet.
Tip
Vstup můžete také vybrat stisknutím
na subwooferu.
Při připojení k televizi pomocí stereo mini kabelu

- Opakovaně stiskněte tlačítko INPUT (vstup) pro výběr [ANALOG] na displeji předního panelu.
- Upravte hlasitost.
- Upravte hlasitost stisknutím
na dálkovém ovládání. - Upravte hlasitost subwooferu stisknutím SW
na dálkovém ovládání.
- Upravte hlasitost stisknutím
Poznámka
Když vstupní zdroj neobsahuje mnoho basů, například v televizních programech, basový zvuk ze subwooferu může být obtížné slyšet.
Tip
Vstup můžete také vybrat stisknutím
na subwooferu.
Poslech hudby na zařízení USB
Můžete přehrávat hudební soubory uložené na připojeném zařízení USB.
Poznámky
- Chcete-li zobrazit seznam obsahu USB na obrazovce televizoru, ujistěte se, že připojíte systém k televizoru pomocí kabelu HDMI.
- Změňte vstup televizoru na vstup, ke kterému je systém připojen.

Poslech hudby na připojeném zařízení USB

- Připojte zařízení USB k
portu (USB).
![Sony - HT-S20R - Poslech hudby na připojeném zařízení USB Poslech hudby na připojeném zařízení USB]()
- Opakovaně stiskněte tlačítko INPUT (vstup) pro výběr [USB] na displeji předního panelu.
Na displeji předního panelu se zobrazí [READ] a systém začne číst data ze zařízení USB. Po dokončení čtení dat se na obrazovce televizoru zobrazí seznam obsahu USB. - Stiskněte
pro výběr požadovaného obsahu a poté stiskněte ENTER.
Vybraný obsah se začne přehrávat. - Upravte hlasitost.
- Upravte hlasitost stisknutím
na dálkovém ovládání. - Upravte hlasitost subwooferu stisknutím SW
na dálkovém ovládání.
- Upravte hlasitost stisknutím
Poznámka
Když vstupní zdroj neobsahuje mnoho basů, například v televizních programech, basový zvuk ze subwooferu může být obtížné slyšet.
Výběr režimu přehrávání
V nabídce můžete vybrat režim přehrávání pro přehrávání USB, například opakované přehrávání nebo náhodné přehrávání.
- Stiskněte MENU.
Na displeji předního panelu se zobrazí položka nabídky. - Vyberte [USB] – [REPEAT] pomocí
/ENTER. - Vyberte režim přehrávání pomocí
/ENTER. - [OFF]: Opakování vypnuto. Přehrává všechny skladby.
- [ONE]: Opakuje jednu skladbu.
- [FOLDER]: Opakuje všechny skladby v aktuální složce.
- [RANDOM]: Opakuje všechny skladby v aktuální složce v náhodném pořadí.
- [ALL]: Opakuje všechny skladby.
- Stisknutím MENU nabídku vypnete.
Další operace
| Chcete-li | Proveďte toto |
| Pozastavit nebo obnovit přehrávání | Stiskněte |
| Vybrat předchozí nebo následující skladbu | Stiskněte |
| Vyhledávat zpět nebo vpřed (přetáčení vzad/vpřed) | Stiskněte a podržte |
Poznámky
- Během provozu neodpojujte zařízení USB. Abyste předešli poškození dat nebo poškození zařízení USB, před připojením nebo odpojením zařízení USB vypněte systém.
- Pokud připojíte nepodporované nebo poškozené zařízení USB, na displeji předního panelu se zobrazí [INVALID USB].
- V závislosti na formátu souboru nemusí přetáčení vzad a vpřed fungovat.
Informace o zařízení USB na obrazovce televizoru

- Doba přehrávání
- Celková doba přehrávání
- Bitová rychlost
- Stav přehrávání
- Rychlost přetáčení vzad/vpřed
- Režim přehrávání
- Index vybraného souboru/Celkový počet souborů ve složce
V závislosti na stavu zařízení USB se na obrazovce televizoru zobrazí následující zprávy.
- [File Unsupported] (Nepodporovaný soubor)
Zobrazí se na 2 sekundy v levé dolní části, když je nepodporovaný soubor přeskočen. - [Device Not Support] (Zařízení není podporováno)
- Zařízení USB není podporováno.
- Vložené zařízení není zařízení USB, je vadné nebo na něm nejsou žádné soubory.
- [No USB] (Žádné USB)
Není vloženo žádné zařízení USB. - [Waiting] (Čekání)
Systém prohledává zařízení USB. - [This device is empty] (Toto zařízení je prázdné)
Na zařízení USB nejsou žádné přehratelné soubory.
Poznámky
- V závislosti na zdroji přehrávání se některé informace nemusí zobrazit.
- V závislosti na režimu přehrávání se zobrazené informace mohou lišit.
Poslech hudby z mobilního zařízení s funkcí BLUETOOTH
Můžete poslouchat hudbu uloženou v mobilním zařízení, jako je smartphone nebo tablet, prostřednictvím bezdrátového připojení připojením systému a mobilního zařízení pomocí funkce BLUETOOTH. Při připojení k mobilnímu zařízení s funkcí BLUETOOTH můžete ovládat jednoduše pomocí dodaného dálkového ovladače bez zapnutí televizoru.

Spárování s mobilním zařízením

- Stiskněte a podržte tlačítko BLUETOOTH na subwooferu po dobu 2 sekund.
Systém vstoupí do režimu párování a indikátor BLUETOOTH opakovaně dvakrát zabliká.
![Sony - HT-S20R - Spárování s mobilním zařízením Spárování s mobilním zařízením]()
- Na mobilním zařízení vyhledejte systém provedením operace párování.
Seznam vyhledaných zařízení BLUETOOTH se zobrazí na obrazovce mobilního zařízení.
Informace o způsobu spárování zařízení BLUETOOTH s mobilním zařízením naleznete v návodu k obsluze mobilního zařízení. - Spárujte systém a mobilní zařízení výběrem možnosti „HT-S20R“ ze seznamu na obrazovce mobilního zařízení.
Pokud je vyžadován přístupový klíč, zadejte „0000“. - Ujistěte se, že indikátor BLUETOOTH na subwooferu svítí modře.
Bylo navázáno spojení mezi systémem a mobilním zařízením. - Spusťte přehrávání zvuku pomocí hudební aplikace na připojeném mobilním zařízení.
Zvuk je vydáván ze systému. - Upravte hlasitost.
- Upravte hlasitost stisknutím
na dálkovém ovládání. - Upravte hlasitost subwooferu stisknutím SW
na dálkovém ovládání.
a
na dálkovém ovládání lze použít pro funkci BLUETOOTH.
(Vyhledávání zpět nebo vpřed podržením
nefunguje.)
- Upravte hlasitost stisknutím
Poznámky
- Můžete spárovat až 10 zařízení BLUETOOTH. Pokud je spárováno 11. zařízení BLUETOOTH, nejstarší připojené zařízení bude nahrazeno novým.
- Proveďte párování pro druhé a další mobilní zařízení.
- Když vstupní zdroj neobsahuje mnoho basů, například v televizních programech, basový zvuk ze subwooferu může být obtížné slyšet.
Tipy
- Stav připojení funkce BLUETOOTH můžete zkontrolovat kontrolou stavu indikátoru BLUETOOTH.
- Zatímco je vybrán vstup BLUETOOTH, systém vstoupí do režimu párování krátkým stisknutím tlačítka BLUETOOTH na subwooferu.
Poslech hudby ze spárovaného mobilního zařízení

- Zapněte funkci BLUETOOTH mobilního zařízení.
- Opakovaně stiskněte tlačítko INPUT (vstup) pro výběr [BT] nebo krátce stiskněte tlačítko BLUETOOTH na subwooferu.
Indikátor BLUETOOTH bliká a systém se automaticky znovu připojí k zařízení BLUETOOTH, ke kterému byl naposledy připojen. - Ujistěte se, že indikátor BLUETOOTH svítí modře.
Bylo navázáno spojení mezi systémem a mobilním zařízením. - Spusťte přehrávání zvuku pomocí hudební aplikace na připojeném mobilním zařízení.
Zvuk je vydáván ze systému. - Upravte hlasitost.
- Upravte hlasitost stisknutím
na dálkovém ovládání. - Upravte hlasitost subwooferu stisknutím SW
na dálkovém ovládání.
a
na dálkovém ovládání lze použít pro funkci BLUETOOTH.
(Vyhledávání zpět nebo vpřed podržením
nefunguje.)
- Upravte hlasitost stisknutím
Poznámka
Když vstupní zdroj neobsahuje mnoho basů, například v televizních programech, basový zvuk ze subwooferu může být obtížné slyšet.
Úprava zvuku
Vychutnejte si zvukový efekt, který je přizpůsobený zvukovým zdrojům (Sound Mode)
Můžete si snadno vychutnat předprogramované zvukové efekty, které jsou přizpůsobeny různým druhům zvukových zdrojů.

Stisknutím AUTO SOUND, CINEMA, MUSIC nebo STANDARD vyberte režim zvuku (sound mode).
Zvolený režim zvuku (sound mode) se zobrazí na displeji předního panelu.
| Displej předního panelu | Vysvětlení |
| [AUTO SOUND] | Můžete si vychutnat zvuk s režimem zvuku (sound mode) doporučeným společností Sony. Režim zvuku (sound mode) je automaticky optimalizován podle obsahu přehrávání a funkce. |
| [STANDARD] | Zvukové efekty jsou optimalizovány pro individuální zdroj. |
| [CINEMA] | Zvuky jsou přehrávány se surround efekty a jsou realistické a silné, takže jsou vhodné pro filmy. |
| [MUSIC] | Zvukové efekty jsou optimalizovány pro poslech hudby. |
Zřetelnější dialogy (VOICE)
Dialogy můžete zpřehlednit nastavením hlasového režimu (voice mode).

Stisknutím VOICE nastavíte funkci na zapnuto nebo vypnuto.
| Displej předního panelu | Vysvětlení |
| [Vo. ON] | Zvuk hlasu je zdůrazněn. |
| [Vo. OFF] | Vypnuto. |
Vychutnejte si čistý zvuk s nízkou hlasitostí o půlnoci (NIGHT)
Zvuk můžete komprimovat v souladu s informacemi obsaženými v obsahu nastavením nočního režimu (night mode) na zapnuto. Zvuk je vydáván při nízké hlasitosti s minimální ztrátou věrnosti a čistoty dialogů.

Stisknutím NIGHT nastavíte funkci na zapnuto nebo vypnuto.
| Displej předního panelu | Vysvětlení |
| [N.ON] | Zvuk je komprimován v souladu s informacemi obsaženými v obsahu. |
| [N.OFF] | Vypnuto. |
Poznámka
Když systém vypnete, noční režim (night mode) se automaticky nastaví na vypnuto.
Kontrola aktuálního nastavení zvuku
Můžete zkontrolovat nastavení zvuku, nočního režimu (night mode) a hlasového režimu (voice mode) a aktuální informace o streamu.

- Stisknutím MENU zapněte nabídku na displeji předního panelu.
- Stisknutím
vyberte [CURRENT STATUS] (aktuální stav) a poté stiskněte ENTER. - Opakovaným stisknutím
vyberte požadovanou položku.
Aktuální nastavení se zobrazí v následujícím pořadí.
Režim zvuku (sound mode) → Hlasový režim (voice mode) → Noční režim (night mode) → Informace o streamu
Aktuální nastavení se zobrazí v opačném pořadí stisknutím
. - Stisknutím MENU vypněte nabídku.
Změna nastavení
V nabídce můžete nastavit následující položky.
Vaše nastavení se zachovají, i když odpojíte napájecí kabel (síťový kabel).
- Stisknutím MENU zapněte nabídku na displeji předního panelu.
- Opakovaným stisknutím
/ENTER vyberte požadovanou položku a nastavení.
Chcete-li se vrátit do horní vrstvy, stiskněte BACK. - Stisknutím MENU vypněte nabídku.
Poznámka
Nabídku můžete také vypnout provedením jiné operace než operace nabídky, například stisknutím
atd.
Seznam nabídek
Výchozí nastavení jsou podtržena. Mohou se lišit v závislosti na oblasti.
| Položky | Funkce | |
| [CURRENT STATUS] (aktuální stav) | [AUTO SOUND]/ [STANDARD]/[CINEMA]/ [MUSIC] | Tyto položky nejsou položkami nabídky nastavení. Můžete zkontrolovat nastavení zvuku, nočního režimu (night mode) a hlasového režimu (voice mode) a aktuální informace o streamu. Podrobnosti o ovládání naleznete v části „Kontrola aktuálního nastavení zvuku“. |
| [Vo. ON]/[Vo. OFF] | ||
| [N.ON]/[N.OFF] | ||
| [NO INFO.]/[LPCM]/ [DOLBY DIGITAL] | ||
| [SPEAKER] (reproduktor) | [MULTI SPEAKER] (více reproduktorů) | Můžete nastavit výstup reproduktorů systému.
|
| [SUR.L.DISTANCE]/ [SUR.R.DISTANCE] | [3.0M]: Upravuje vzdálenost od místa sezení k prostorovému reproduktoru (levému nebo pravému) od 1,0 metru do 6,0 metrů (v intervalech 0,1 metru). | |
| [SUR.L.LEVEL]/ [SUR.R.LEVEL] | [0.0]: Upravuje úroveň zvuku prostorového reproduktoru (levého nebo pravého) od –6,0 dB do +6,0 dB (v intervalech 0,5 dB). Poznámka Pro snadné nastavení nezapomeňte nastavit [TEST TONE] (testovací tón) na [ON]. | |
| [TEST TONE] (testovací tón) |
Testovací tón není vydáván, i když je [TEST TONE] (testovací tón) nastaven na [ON], když je vybrán vstup [USB]. Vyberte jiný vstup než [USB]. | |
| [AUDIO] | [DRC] (Dynamic range control) (ovládání dynamického rozsahu) | Užitečné pro sledování filmů při nízké hlasitosti. DRC se vztahuje na zdroje Dolby Digital.
|
| [A.VOL] (Auto volume) (automatická hlasitost) | Hlasitost můžete upravit automaticky v závislosti na vstupní úrovni z připojeného zařízení.
| |
| [DUAL] (Dual mono) (duální mono) | Můžete si vychutnat multiplexní vysílání zvuku, když systém přijímá multiplexní vysílací signál Dolby Digital.
Poznámka | |
| [HDMI] | [CONTROL FOR HDMI] (ovládání pro HDMI) |
|
| [TV AUDIO] (zvuk televizoru) | Můžete nastavit, zda se má přehrávat zvuk, který je vstupován z kabelu HDMI nebo optického digitálního kabelu.
| |
| [BT] | [POWER] (napájení) | Funkci BLUETOOTH můžete zapnout nebo vypnout.
Poznámka |
| [STANDBY] (pohotovostní režim) | Když má systém informace o párování, můžete systém zapnout a poslouchat hudbu ze zařízení BLUETOOTH, i když je systém v pohotovostním režimu, nastavením pohotovostního režimu BLUETOOTH na zapnuto.
Poznámka | |
| [USB] | [REPEAT] (opakovat) |
|
| [SYSTEM] (systém) | [AUTO STANDBY] (automatický pohotovostní režim) |
|
| [VERSION] (verze) | Informace o aktuální verzi firmwaru se zobrazí na displeji předního panelu. | |
| [RESET] | [ALL RESET] (obnovit vše) | Můžete obnovit nastavení systému na výchozí tovární nastavení. Podrobnosti naleznete v části „Obnovení systému“. |
| [UPDATE] (aktualizace) | [START] (spustit) | Spusťte aktualizaci softwaru po připojení paměti USB, na které je uložen soubor aktualizace softwaru, k systému. Informace o aktualizacích softwaru naleznete na následující webové stránce:
Software systému můžete aktualizovat stisknutím a podržením a BLUETOOTH na subwooferu po dobu 7 sekund. |
| [CANCEL] (zrušit) | Zruší aktualizaci softwaru. |
Používání funkce Control for HDMI
Připojením zařízení, jako je televizor nebo přehrávač disků Blu-ray, které jsou kompatibilní s funkcí Control for HDMI*, pomocí kabelu HDMI můžete zařízení snadno ovládat pomocí dálkového ovladače televizoru nebo přehrávače disků Blu-ray.
Poznámka
Tyto funkce mohou fungovat i se zařízeními jiných výrobců než Sony, ale funkčnost není zaručena.
* Control for HDMI je standard používaný CEC (Consumer Electronics Control) pro umožnění vzájemného ovládání zařízení HDMI (High-Definition Multimedia Interface).
Příprava na používání funkce Control for HDMI
Nastavte [HDMI] – [CONTROL FOR HDMI] na [ON] (zapnuto). Výchozí nastavení je [ON] (zapnuto).
Povolte nastavení funkce Control for HDMI na televizoru a dalším zařízení připojeném k televizoru.
Tip
Pokud povolíte funkci Control for HDMI při používání televizoru od společnosti Sony, funkce Control for HDMI systému se také automaticky povolí.
Funkce vypnutí systému
Když vypnete televizor, systém se automaticky vypne.
Funkce ovládání zvuku systému
Pokud systém zapnete, když sledujete televizor, zvuk televizoru bude vycházet z reproduktorů systému. Hlasitost systému lze nastavit pomocí dálkového ovladače televizoru. Pokud byl zvuk televizoru naposledy, když jste se dívali na televizi, přehráván z reproduktorů systému, systém se automaticky zapne, když televizor znovu zapnete.
Operace lze provádět také prostřednictvím nabídky televizoru. Podrobnosti naleznete v návodu k obsluze televizoru.
Poznámky
- Zvuk se z televizoru přehrává pouze v případě, že je při použití funkce Twin Picture na televizoru vybrán jiný vstup než [TV]. Když funkci Twin Picture zakážete, zvuk se přehrává ze systému.
- Číslo úrovně hlasitosti systému se zobrazuje na obrazovce televizoru v závislosti na televizoru. Číslo hlasitosti zobrazené na televizoru se může lišit od čísla na displeji předního panelu systému.
- V závislosti na nastavení televizoru nemusí být funkce ovládání zvuku systému k dispozici. Podrobnosti naleznete v návodu k obsluze televizoru.
- V závislosti na televizoru, pokud byl zvuk televizoru naposledy, když jste se dívali na televizi, přehráván z reproduktorů televizoru, systém se nemusí zapnout propojením s napájením televizoru, i když je televizor zapnutý.
Zpětný audio kanál (ARC)
Pokud je systém připojen ke konektoru HDMI IN televizoru, který je kompatibilní se zpětným audio kanálem, můžete poslouchat zvuk televizoru z reproduktorů systému bez připojení optického digitálního kabelu.
Poznámka
Pokud televizor není kompatibilní se zpětným audio kanálem, je nutné připojit optický digitální kabel (viz dodaný Stručný návod).
Funkce přehrávání jedním dotykem
Když přehráváte obsah na zařízení (přehrávač disků Blu-ray, "PlayStation®4" atd.) připojeném k televizoru, systém a televizor se automaticky zapnou, vstup systému se přepne na vstup televizoru a zvuk se přehrává z reproduktorů systému.
Poznámky
- Pokud byl zvuk televizoru naposledy, když jste se dívali na televizi, přehráván z reproduktorů televizoru, systém se nemusí zapnout a zvuk a obraz se mohou přehrávat z televizoru, i když se přehrává obsah zařízení.
- V závislosti na televizoru nemusí být začátek přehrávaného obsahu přehráván správně.
Poznámky k připojením HDMI
- Používejte kabel s certifikací HDMI.
- Používejte kabel Sony High Speed HDMI s logem typu kabelu.
- Nedoporučujeme používat konverzní kabel HDMI-DVI.
- Pokud je obraz nekvalitní nebo zvuk nevychází ze zařízení připojeného kabelem HDMI, zkontrolujte nastavení připojeného zařízení.
- Zvukové signály (vzorkovací frekvence, bitová délka atd.) přenášené z konektoru HDMI mohou být připojeným zařízením potlačeny.
Úspora spotřeby energie
Chcete-li systém používat s úsporou spotřeby energie, změňte následující nastavení.
Vypnutí systému detekcí stavu používání
Když zapnete funkci automatického pohotovostního režimu, systém automaticky přejde do pohotovostního režimu, pokud systém přibližně 20 minut nepoužíváte a systém nepřijímá vstupní signál.
Nastavte [SYSTEM] – [AUTO STANDBY] na [ON] (zapnuto).
Výchozí nastavení pro modely v evropských zemích je [ON] (zapnuto).
Výchozí nastavení pro modely v Austrálii/Novém Zélandu je [OFF] (vypnuto).
Úspora energie v pohotovostním režimu
Chcete-li ušetřit spotřebu energie v pohotovostním režimu, nastavte [BT] - [STANDBY] a [HDMI] - [CONTROL FOR HDMI] na [OFF] (vypnuto).
Výchozí nastavení pro ně je [ON] (zapnuto).
Resetování systému
Pokud systém nefunguje správně, resetujte jej následujícím způsobem.
- Stisknutím tlačítka MENU zapněte nabídku na displeji předního panelu.
- Stisknutím tlačítka
vyberte [RESET] (resetovat) a poté stiskněte ENTER. - Stisknutím tlačítka
vyberte [ALL RESET] (resetovat vše) a poté stiskněte ENTER. - Stisknutím tlačítka
vyberte [START] (spustit) a poté stiskněte ENTER.
Všechna nastavení se vrátí do původního stavu.
Zrušení resetování
V kroku 4 vyberte [CANCEL] (zrušit).
Pokud nelze provést resetování pomocí nabídky
Stiskněte a podržte
a – (hlasitost) na subwooferu po dobu delší než 5 sekund.
Všechna nastavení se vrátí do původního stavu.
Tip
Výchozí nastavení jsou podtržena v popisu každé funkce.
Odstraňování problémů
Pokud systém nefunguje správně, postupujte následujícím způsobem.
- Pomocí tohoto odstraňování problémů vyhledejte příčinu a řešení problému.
- Resetujte systém.
Všechna nastavení systému se vrátí do původního stavu. Podrobnosti naleznete v části "Resetování systému".
Pokud problémy přetrvávají, obraťte se na nejbližšího prodejce společnosti Sony.
Napájení
Systém se nezapne.
- Zkontrolujte, zda je napájecí kabel (síťová šňůra) bezpečně připojen.
- Odpojte napájecí kabel (síťovou šňůru) ze zásuvky (sítě) a po několika minutách jej znovu připojte.
Systém se automaticky vypne.
- Funkce automatického pohotovostního režimu je aktivní. Nastavte [SYSTEM] – [AUTO STANDBY] na [OFF]. Systém se nezapne, ani když je zapnutá televize.
- Nastavte [HDMI] – [CONTROL FOR HDMI] na [ON]. Televize musí podporovat funkci Control for HDMI. Podrobnosti naleznete v návodu k obsluze vaší televize.
- Zkontrolujte nastavení reproduktorů televize. Napájení systému se synchronizuje s nastavením reproduktorů televize. Podrobnosti naleznete v návodu k obsluze vaší televize.
- V závislosti na televizi, pokud byl zvuk minule vydáván z reproduktorů televize, systém se nemusí zapnout propojením s televizí, i když je televize zapnutá.
Systém se vypne, když se vypne televize.
- Zkontrolujte nastavení funkce Control for HDMI. Pokud je funkce Control for HDMI nastavena na zapnuto a vstup systému je TV vstup, systém se automaticky vypne, když vypnete televizi.
Systém se nevypne, ani když se vypne televize.
- Zkontrolujte nastavení funkce Control for HDMI. Když vypnete televizi, systém se automaticky vypne, pouze pokud je vstup systému TV vstup. Televize musí podporovat funkci Control for HDMI. Podrobnosti naleznete v návodu k obsluze vaší televize.
Obraz
Není žádný obraz nebo se obraz nezobrazuje správně.
- Vyberte příslušný vstup.
- Pokud není obraz při vybraném TV vstupu, vyberte požadovaný televizní kanál pomocí dálkového ovladače televize.
- Odpojte kabel HDMI a znovu jej připojte. Ujistěte se, že je kabel pevně zasunut.
Zvuk
Ze systému nevychází žádný zvuk z televize.
- Zkontrolujte typ a připojení kabelu HDMI nebo optického digitálního kabelu, který je připojen k systému a televizi (viz dodaný Stručný návod).
- Odpojte kabely, které jsou připojeny mezi televizí a systémem, a znovu je pevně připojte. Odpojte napájecí kabely (síťové šňůry) televize a systému ze zásuvek (sítě) a znovu je připojte.
- Pokud jsou systém a televize propojeny kabelem HDMI, zkontrolujte následující.
- Konektor HDMI připojené televize je označen "ARC".
- Funkce Control for HDMI televize je nastavena na zapnuto.
- V systému je funkce Control for HDMI nastavena na zapnuto.
- Pokud vaše televize není kompatibilní s funkcí Audio Return Channel, připojte optický digitální kabel (viz dodaný Stručný návod). Pokud televize není kompatibilní s funkcí Audio Return Channel, zvuk z televize nebude vycházet ze systému, i když je systém připojen ke konektoru HDMI IN televize.
- Pokud nevychází zvuk ze zařízení, které je připojeno ke konektoru optického vstupu televize, zkuste následující.
- Připojte kabelový box nebo satelitní box přímo ke konektoru TV IN (OPTICAL) systému.
- Opakovaně stiskněte INPUT (vstup) pro výběr TV vstupu.
- Zvyšte hlasitost na televizi nebo zrušte ztlumení.
- V závislosti na pořadí, v jakém zapnete televizi a systém, může být systém ztlumen. Pokud k tomu dojde, zapněte nejprve televizi a poté systém.
- Nastavte nastavení reproduktorů televize (BRAVIA) na Audio System (audio systém). Informace o nastavení televize naleznete v návodu k obsluze vaší televize.
- Zkontrolujte výstup zvuku televize. Informace o nastavení televize naleznete v návodu k obsluze televize.
- Systém podporuje audio formáty Dolby Digital a PCM. Pokud přehráváte nepodporovaný formát, nastavte digitální audio výstup televize (BRAVIA) na "PCM". Podrobnosti naleznete v návodu k obsluze vaší televize.
Zvuk vychází jak ze systému, tak z televize.
- Změňte nastavení audio výstupu televize tak, aby zvuk z televize vycházel z externího reproduktoru.
- Nastavte hlasitost televize na minimum.
Ze subwooferu nevychází žádný zvuk nebo jen velmi slabý zvuk.
- Ujistěte se, že je napájecí kabel (síťová šňůra) subwooferu správně připojen (viz dodaný Stručný návod).
- Stisknutím SW
zvýšíte hlasitost subwooferu. - Subwoofer je určen k reprodukci basů. Pokud vstupní zdroje obsahují velmi málo basových složek (tj. televizní vysílání), zvuk ze subwooferu může být obtížné slyšet.
- Při přehrávání obsahu kompatibilního s technologií ochrany autorských práv (HDCP) se zvuk nevydává ze subwooferu.
Ze systému nevychází žádný zvuk nebo jen velmi slabý zvuk zařízení připojeného k systému.
- Stiskněte
a zkontrolujte úroveň hlasitosti. - Stiskněte
nebo
pro zrušení funkce ztlumení. - Ujistěte se, že je správně vybrán vstupní zdroj. Měli byste vyzkoušet jiné vstupní zdroje opakovaným stisknutím INPUT (vstup).
- Zkontrolujte, zda jsou všechny kabely a šňůry systému a připojeného zařízení pevně zasunuty.
- Pokud připojené zařízení podporuje funkci upsampling, musíte ji vypnout.
Ze prostorových reproduktorů nevychází žádný zvuk nebo jen velmi slabý zvuk.
- Ujistěte se, že jsou kabely prostorových reproduktorů správně připojeny k subwooferu (viz dodaný Stručný návod).
- Zkontrolujte, zda je [SPEAKER] – [MULTI SPEAKER] nastaveno na [ON]. Pokud je [SPEAKER] – [MULTI SPEAKER] nastaveno na [OFF], zvuk nevychází z prostorových reproduktorů při přehrávání zvuku z 2kanálového zdroje.
- Vícekanálový zvuk, který nebyl nahrán jako prostorový zvuk, nevychází z prostorových reproduktorů.
Nelze dosáhnout prostorového efektu.
- V závislosti na vstupním signálu a nastavení zvukového režimu nemusí zpracování prostorového zvuku fungovat efektivně. Prostorový efekt může být jemný v závislosti na programu nebo disku.
- Chcete-li přehrávat vícekanálový zvuk, zkontrolujte nastavení digitálního audio výstupu na zařízení připojeném k systému. Podrobnosti naleznete v návodu k obsluze dodaném s připojeným zařízením.
Připojení zařízení USB
Zařízení USB není rozpoznáno.
- Zkuste následující:
- Vypněte systém.
- Odpojte a znovu připojte zařízení USB.
- Zapněte systém.
- Ujistěte se, že je zařízení USB bezpečně připojeno k portu (USB).
- Zkontrolujte, zda není zařízení USB nebo kabel poškozen.
- Ujistěte se, že je zařízení USB zapnuté.
- Pokud je zařízení USB připojeno přes rozbočovač USB, odpojte jej a připojte zařízení USB přímo k subwooferu.
Připojení mobilního zařízení
Připojení BLUETOOTH nelze dokončit.
- Ujistěte se, že svítí indikátor BLUETOOTH na subwooferu.
- Ujistěte se, že je připojované zařízení BLUETOOTH zapnuté a funkce BLUETOOTH je povolena.
- Přibližte zařízení BLUETOOTH k subwooferu.
- Znovu spárujte tento systém a zařízení BLUETOOTH. Možná budete muset nejprve zrušit spárování s tímto systémem pomocí zařízení BLUETOOTH.
- Pokud je [BT] – [POWER] nastaveno na [OFF], nastavte na [ON].
Spárování nelze dosáhnout.
- Přibližte zařízení BLUETOOTH k subwooferu.
- Ujistěte se, že tento systém není rušen bezdrátovým zařízením LAN, jinými bezdrátovými zařízeními 2,4 GHz nebo mikrovlnnou troubou. Pokud je v blízkosti zařízení, které generuje elektromagnetické záření, přesuňte jej od tohoto systému.
- Spárování nemusí být možné, pokud jsou v okolí systému přítomna jiná zařízení BLUETOOTH. V takovém případě vypněte ostatní zařízení BLUETOOTH.
Zvuk připojeného mobilního zařízení BLUETOOTH nevychází ze systému.
- Ujistěte se, že svítí indikátor BLUETOOTH na subwooferu.
- Přibližte zařízení BLUETOOTH k subwooferu.
- Pokud je v blízkosti zařízení, které generuje elektromagnetické záření, jako je bezdrátové zařízení LAN, jiná zařízení BLUETOOTH nebo mikrovlnná trouba, přesuňte jej od tohoto systému.
- Přesuňte zařízení USB 3.0 a jeho kabel dále od tohoto systému.
- Odstraňte veškeré překážky mezi tímto systémem a zařízením BLUETOOTH nebo přesuňte tento systém dále od překážky.
- Změňte polohu připojeného zařízení BLUETOOTH.
- Přepněte frekvenci bezdrátové sítě LAN jakéhokoli blízkého bezdrátového směrovače LAN nebo PC na rozsah 5 GHz.
- Zvyšte hlasitost na připojeném zařízení BLUETOOTH.
Zvuk není synchronizován s obrazem.
- Při sledování filmů můžete slyšet zvuk s mírným zpožděním oproti obrazu.
Dálkové ovládání
Dálkové ovládání tohoto systému nefunguje.
- Namiřte dálkové ovládání na snímač dálkového ovládání na subwooferu.
- Odstraňte veškeré překážky v cestě mezi dálkovým ovládáním a subwooferem.
- Vyměňte obě baterie v dálkovém ovládání za nové, pokud jsou slabé.
- Ujistěte se, že stiskáváte správné tlačítko na dálkovém ovládání.
Dálkové ovládání televize nefunguje.
- Nainstalujte lištový reproduktor tak, aby nebránil snímači dálkového ovládání televize.
Ostatní
Funkce Control for HDMI nefunguje správně.
- Zkontrolujte připojení k systému (viz dodaný Stručný návod).
- Povolte funkci Control for HDMI na televizi. Podrobnosti naleznete v návodu k obsluze vaší televize.
- Počkejte chvíli a zkuste to znovu. Pokud odpojíte systém, bude chvíli trvat, než bude možné provádět operace. Počkejte 15 sekund nebo déle a zkuste to znovu.
- Ujistěte se, že zařízení připojená k systému podporují funkci Control for HDMI.
- Povolte funkci Control for HDMI na zařízeních připojených k systému. Podrobnosti naleznete v návodu k obsluze vašeho zařízení.
- Typ a počet zařízení, která lze ovládat funkcí Control for HDMI, je omezen standardem HDMI CEC takto:
- Záznamová zařízení (Blu-ray Disc rekordér, DVD rekordér atd.): až 3 zařízení
- Přehrávací zařízení (Blu-ray Disc přehrávač, DVD přehrávač atd.): až 3 zařízení
- Zařízení související s tunerem: až 4 zařízení
- Audio systém (přijímač/sluchátka): až 1 zařízení (používá tento systém)
Na displeji předního panelu subwooferu se zobrazí [PROTECT], zvuk je ztlumen a tlačítka na dálkovém ovladači nebo subwooferu jiná než
(napájení) nefungují.
- Je aktivována funkce ochrany.
Stiskněte
(napájení) pro vypnutí systému a odpojte napájecí kabel (síťovou šňůru) a zkontrolujte níže uvedené položky. - Ujistěte se, že ventilace subwooferu nejsou zakryté, a po chvíli systém zapněte.
- Když systém používá připojení USB, odpojte zařízení USB a zapněte systém. Pokud systém funguje správně, proud připojeného zařízení USB je vyšší než maximální výstupní proud systému 500 mA, nebo může mít zařízení USB abnormalitu.
Displej předního panelu subwooferu nesvítí.
- Stiskněte DIMMER pro nastavení jasu na [BRIGHT] (jasný) nebo [DARK] (tmavý), pokud je nastaveno na [OFF] (vypnuto).
Snímače televize nefungují správně.
- Lištový reproduktor může blokovat některé snímače (například snímač jasu), přijímač dálkového ovládání vaší televize nebo vysílač pro 3D brýle (infračervený přenos) 3D televize, která podporuje infračervený systém 3D brýlí, nebo bezdrátovou komunikaci. Přesuňte lištový reproduktor dále od televize v rozsahu, který umožňuje správnou funkci těchto částí. Umístění snímačů a přijímače dálkového ovládání naleznete v návodu k obsluze dodaném s televizí.
Systém nefunguje správně ([.DEMO] se zobrazí na displeji předního panelu).
- Systém je v demo režimu. Chcete-li zrušit demo režim, resetujte systém.
Stiskněte a podržte
(napájení) a – (hlasitost) na subwooferu po dobu delší než 5 sekund.
Když stisknutím INPUT (vstup) změníte vstup z USB na TV vstup, zobrazí se zpráva.
- Vyberte požadované televizní kanály pomocí dálkového ovladače televize.
* Tato obrazovka je příklad pro angličtinu. - Vyberte televizní program pomocí dálkového ovladače televize.
Specifikace
Subwoofer (SA-WS20R)
Sekce zesilovače
VÝSTUPNÍ VÝKON (jmenovitý): Přední L + Přední R: 45 W + 45 W (při 4 ohmech, 1 kHz, 1 % THD)
VÝSTUPNÍ VÝKON (referenční): Přední L/Přední R/Prostorový L/Prostorový R/Středový: 67 W (na kanál při 4 ohmech, 1 kHz)
Subwoofer: 65 W (při 4 ohmech, 100 Hz)
Vstupy: TV IN (OPTICAL)
USB
ANALOG IN
Výstup: HDMI OUT (TV (ARC))
HDMI sekce
Konektor: Typ A (19pin)
USB sekce
(USB) port: Typ A
BLUETOOTH sekce
Komunikační systém: BLUETOOTH Specification version 5.0
Výstup: BLUETOOTH Specification Power Class 1
Maximální komunikační dosah: Přímá viditelnost cca 10 m1)
Frekvenční pásmo: 2.4 GHz band (2.4000 GHz - 2.4835 GHz)
Maximální výstupní výkon: < 6 dBm
Metoda modulace: FHSS (Freq Hopping Spread Spectrum)
Kompatibilní BLUETOOTH profily2): A2DP (Advanced Audio Distribution Profile)
AVRCP (Audio Video Remote Control Profile)
Podporované kodeky3): SBC4)
Rozsah přenosu (A2DP): 20 Hz - 20,000 Hz (Vzorkovací frekvence 32 kHz, 44.1 kHz, 48 kHz)
1)Skutečný dosah se bude lišit v závislosti na faktorech, jako jsou překážky mezi zařízeními, magnetická pole v okolí mikrovlnné trouby, statická elektřina, používání bezdrátového telefonu, citlivost příjmu, operační systém, softwarové aplikace atd.
2)Standardní profily BLUETOOTH označují účel komunikace BLUETOOTH mezi zařízeními.
3)Kodek: Formát komprese a konverze audio signálu
4)Zkratka pro Subband Codec
Sekce reproduktoru
Systém reproduktorů: Subwoofer systém, Bass reflex
Reproduktor: 160 mm kuželový typ
Obecné
Požadavky na napájení: 220 V - 240 V AC, 50 Hz/60 Hz
Spotřeba energie: Zapnuto (On): 40 W
Pohotovostní režim (Standby mode): 0.5 W nebo méně (Režim úspory energie (Power Saving mode))
(Když je [CONTROL FOR HDMI] v [HDMI] a [STANDBY] v [BT] nastaveno na [OFF])
Pohotovostní režim (Standby mode): 2 W nebo méně*
(Když je [CONTROL FOR HDMI] v [HDMI] a [STANDBY] v [BT] nastaveno na [ON])
* Systém automaticky přejde do režimu úspory energie (Power saving mode), pokud není připojení HDMI a žádná historie párování BLUETOOTH.
Rozměry* (přibližné) (š/v/h): 192 mm × 387 mm × 342 mm
* Nezahrnuje vyčnívající část
Hmotnost (přibližná): 7.0 kg
Bar Speaker (SS-S20R)
Systém reproduktorů: Plnorozsahový systém reproduktorů, Bass reflex
Reproduktor: 42 mm × 100 mm kuželový typ
Rozměry* (přibližné) (š/v/h): 760 mm × 52 mm × 86 mm
* Nezahrnuje vyčnívající část
Hmotnost (přibližná): 2.0 kg
Surround Speakers (SS-SS20R)
Systém reproduktorů: Plnorozsahový systém reproduktorů, Bass reflex
Reproduktor: 65 mm kuželový typ
Rozměry* (přibližné) (š/v/h): 86 mm × 171 mm × 86 mm
* Nezahrnuje vyčnívající část
Hmotnost (přibližná): 0.6 kg
Design a specifikace se mohou změnit bez předchozího upozornění.
Přehrávatelné typy souborů (USB Input)
| Kodek | Přípona |
| MP3 (MPEG-1 Audio Layer III) | .mp3 |
| WMA9 Standard | .wma |
| LPCM (2ch) | .wav |
Poznámky
- Některé soubory nemusí být přehrávány nebo mohou být přehrávány bez zvuku v závislosti na formátu souboru, kódování souboru nebo podmínkách nahrávání.
- Některé soubory upravené na PC nemusí být přehrávány.
- Systém nepřehrává kódované soubory, jako jsou DRM a Lossless.
- Systém dokáže rozpoznat následující soubory nebo složky v USB zařízeních:
- až 200 složek (včetně prázdných složek a kořenových složek)
- až 200 skladeb v jedné složce
- až složky v 8. vrstvě (včetně kořenové složky)
- Některá USB zařízení nemusí s tímto systémem fungovat.
- Systém dokáže rozpoznat Mass Storage Class (MSC) zařízení.
- Vzorkovací frekvence je až 48kHz.
Podporované vstupní audio formáty (HDMI OUT (TV (ARC)) nebo TV IN (OPTICAL))
Audio formáty podporované tímto systémem jsou následující.
- Dolby Digital
- Linear PCM 2ch (až 48kHz)

Reference
Stáhnout návod
Zde si můžete stáhnout úplnou verzi návodu ve formátu pdf, může obsahovat další bezpečnostní pokyny, informace o záruce, pravidla FCC atd.
Stáhnout Sony HT-S20R - Návod k obsluze systému domácího kina

) ŠABLONY PRO MONTÁŽ NA ZEĎ se středovou osou vašeho televizoru.
) ŠABLONY PRO MONTÁŽ NA ZEĎ se spodní hranou vašeho televizoru a poté nalepte ŠABLONU PRO MONTÁŽ NA ZEĎ na zeď pomocí komerčně dostupné lepicí pásky atd.
) na ČÁŘE ŠROUBŮ (
) ŠABLONY PRO MONTÁŽ NA ZEĎ, jak je znázorněno na obrázku níže.













Tlačítko
(výběr vstupu)
(USB)
(hlasitost) +*/–
(předchozí/další)
(napájení)
(ztlumení)
(přehrát/pozastavit)*
na dálkovém ovládání.
na dálkovém ovládání.

pro výběr požadovaného obsahu a poté stiskněte ENTER.
na dálkovém ovládání.
/ENTER.

na dálkovém ovládání.
na dálkovém ovládání.
a
na dálkovém ovládání lze použít pro funkci BLUETOOTH.
nefunguje.)
na dálkovém ovládání.
a
na dálkovém ovládání lze použít pro funkci BLUETOOTH.
vyberte [CURRENT STATUS] (aktuální stav) a poté stiskněte ENTER.
vyberte požadovanou položku.
.
/ENTER vyberte požadovanou položku a nastavení.
vyberte [RESET] (resetovat) a poté stiskněte ENTER.
zvýšíte hlasitost subwooferu.
a zkontrolujte úroveň hlasitosti.
nebo
pro zrušení funkce ztlumení.
(napájení) a – (hlasitost) na subwooferu po dobu delší než 5 sekund.