Příručka k Makita JR3050T
SPECIFIKACE
| Model | JR3050T | |
| Délka zdvihu | 28 mm | |
| Max. řezné kapacity | Trubka | 130 mm |
| Dřevo | 255 mm | |
| Počet zdvihů za minutu (min-1) | 0 - 2 800 | |
| Celková délka | 452 mm | |
| Čistá hmotnost | 3,3 kg | |
| Bezpečnostní třída | /II | |
- Vzhledem k našemu pokračujícímu programu výzkumu a vývoje se specifikace zde uvedené mohou změnit bez předchozího upozornění.
- Specifikace se mohou v jednotlivých zemích lišit.
- Hmotnost podle postupu EPTA 01/2014
Symboly
Následující symboly se používají pro zařízení. Před použitím se ujistěte, že rozumíte jejich významu.
![]() | Přečtěte si návod k použití. |
![]() | DVOJITÁ IZOLACE |
Zamýšlené použití
Nástroj je určen k řezání dřeva, plastu, kovu a stavebních materiálů se silným nárazem. Je vhodný pro rovné a zakřivené řezy.
Napájení
Nástroj by měl být připojen pouze k napájecímu zdroji se stejným napětím, jaké je uvedeno na typovém štítku, a může být provozován pouze na jednofázové střídavé napájení. Jsou dvojitě izolované, a proto je lze používat i ze zásuvek bez zemnicího vodiče.
Hluk
Typická hladina hluku A určená podle EN62841-2-11:
Hladina akustického tlaku (LpA): 88 dB (A)
Hladina akustického výkonu (LWA): 99 dB (A)
Nejistota (K): 3 dB (A)
POZNÁMKA: Deklarovaná hodnota(y) emise hluku byla naměřena v souladu se standardní zkušební metodou a lze ji použít pro porovnání jednoho nástroje s druhým.
POZNÁMKA: Deklarovaná hodnota(y) emise hluku může být také použita pro předběžné posouzení expozice.
Používejte ochranu sluchu.
Emise hluku během skutečného používání elektrického nářadí se mohou lišit od deklarované hodnoty(hodnot) v závislosti na způsobech používání nářadí, zejména na druhu zpracovávaného obrobku.
Nezapomeňte určit bezpečnostní opatření na ochranu obsluhy, která jsou založena na odhadu expozice ve skutečných podmínkách používání (s ohledem na všechny části provozního cyklu, jako jsou doby, kdy je nástroj vypnutý a kdy běží naprázdno, kromě doby spouštění).
Vibrace
Celková hodnota vibrací (tříosý vektorový součet) určená podle EN62841-2-11:
Pracovní režim: řezání desek
Emise vibrací (ah, B): 15,0 m/s2
Nejistota (K): 2,0 m/s2
Pracovní režim: řezání dřevěných trámů
Emise vibrací (ah, WB): 20,0 m/s2
Nejistota (K): 2,5 m/s2
NOTE: Deklarovaná celková hodnota(y) vibrací byla naměřena v souladu se standardní zkušební metodou a může být použita pro porovnání jednoho nástroje s druhým.
NOTE: Deklarovaná celková hodnota(y) vibrací může být také použita pro předběžné posouzení expozice.
Emise vibrací během skutečného používání elektrického nářadí se mohou lišit od deklarované hodnoty(hodnot) v závislosti na způsobech používání nářadí, zejména na druhu zpracovávaného obrobku.
Nezapomeňte určit bezpečnostní opatření na ochranu obsluhy, která jsou založena na odhadu expozice ve skutečných podmínkách používání (s ohledem na všechny části provozního cyklu, jako jsou doby, kdy je nástroj vypnutý a kdy běží naprázdno, kromě doby spouštění).
Obecná bezpečnostní upozornění pro elektrické nářadí
Přečtěte si všechna bezpečnostní upozornění, pokyny, ilustrace a specifikace dodané s tímto elektrickým nářadím. Nedodržení všech níže uvedených pokynů může mít za následek úraz elektrickým proudem, požár a/nebo vážné zranění.
Uložte si všechna varování a pokyny pro budoucí použití.
Termín „elektrické nářadí“ ve varováních označuje vaše elektrické nářadí napájené ze sítě (kabelové) nebo elektrické nářadí napájené z baterie (akumulátorové).
Bezpečnost pracovního prostoru
- Udržujte pracovní prostor čistý a dobře osvětlený. Nepořádek nebo tmavá místa vedou k nehodám.
- Nepoužívejte elektrické nářadí ve výbušném prostředí, například v prostředí s hořlavými kapalinami, plyny nebo prachem. Elektrické nářadí vytváří jiskry, které mohou zapálit prach nebo výpary.
- Během používání elektrického nářadí udržujte děti a osoby v okolí v dostatečné vzdálenosti. Rozptýlení může způsobit ztrátu kontroly.
Elektrická bezpečnost
- Zástrčky elektrického nářadí musí odpovídat zásuvce. Nikdy zástrčku žádným způsobem neupravujte. S uzemněným elektrickým nářadím nepoužívejte žádné adaptérové zástrčky. Neupravené zástrčky a odpovídající zásuvky snižují riziko úrazu elektrickým proudem.
- Zabraňte kontaktu těla s uzemněnými povrchy, jako jsou trubky, radiátory, sporáky a chladničky. Pokud je vaše tělo uzemněno, existuje zvýšené riziko úrazu elektrickým proudem.
- Nevystavujte elektrické nářadí dešti nebo mokrým podmínkám. Voda vnikající do elektrického nářadí zvýší riziko úrazu elektrickým proudem.
- Nezacházejte s kabelem hrubě. Nikdy nepoužívejte kabel k přenášení, tahání nebo odpojování elektrického nářadí. Udržujte kabel mimo dosah tepla, oleje, ostrých hran nebo pohyblivých částí. Poškozené nebo zamotané kabely zvyšují riziko úrazu elektrickým proudem.
- Při používání elektrického nářadí venku používejte prodlužovací kabel vhodný pro venkovní použití. Použití kabelu vhodného pro venkovní použití snižuje riziko úrazu elektrickým proudem.
- Pokud je provoz elektrického nářadí ve vlhkém prostředí nevyhnutelný, použijte napájení chráněné proudovým chráničem (RCD). Použití RCD snižuje riziko úrazu elektrickým proudem.
- Použití napájení prostřednictvím RCD s jmenovitým zbytkovým proudem 30 mA nebo méně se vždy doporučuje.
- Elektrické nářadí může produkovat elektromagnetická pole (EMF), která nejsou pro uživatele škodlivá. Uživatelé kardiostimulátorů a jiných podobných lékařských zařízení by se však před použitím tohoto elektrického nářadí měli poradit s výrobcem svého zařízení a/nebo lékařem.
- Nedotýkejte se zástrčky mokrýma rukama.
- Pokud je kabel poškozen, nechte jej vyměnit výrobcem nebo jeho zástupcem, aby se předešlo bezpečnostnímu riziku.
Osobní bezpečnost
- Buďte pozorní, sledujte, co děláte, a při používání elektrického nářadí používejte zdravý rozum. Nepoužívejte elektrické nářadí, jste-li unavení nebo pod vlivem drog, alkoholu nebo léků. Chvilka nepozornosti při používání elektrického nářadí může vést k vážnému zranění.
- Používejte osobní ochranné prostředky. Vždy používejte ochranu očí. Ochranné prostředky, jako je protiprachová maska, protiskluzová bezpečnostní obuv, tvrdá čepice nebo ochrana sluchu používané pro vhodné podmínky, sníží riziko zranění.
- Zabraňte neúmyslnému spuštění. Před připojením ke zdroji napájení a/nebo akumulátoru, zvednutím nebo přenášením nářadí se ujistěte, že je spínač ve vypnuté poloze. Přenášení elektrického nářadí s prstem na spínači nebo zapínání elektrického nářadí, které má zapnutý spínač, vede k nehodám.
- Před zapnutím elektrického nářadí odstraňte seřizovací klíč nebo klíč. Klíč ponechaný na rotující části elektrického nářadí může způsobit zranění.
- Nepřesahujte. Vždy udržujte správný postoj a rovnováhu. To umožňuje lepší kontrolu nad elektrickým nářadím v neočekávaných situacích.
- Oblékejte se správně. Nenoste volné oblečení nebo šperky. Udržujte vlasy a oděv mimo dosah pohyblivých částí. Volné oblečení, šperky nebo dlouhé vlasy se mohou zachytit v pohyblivých částech.
- Pokud jsou k dispozici zařízení pro připojení odsávání prachu a sběrných zařízení, ujistěte se, že jsou připojena a správně používána. Použití sběru prachu může snížit nebezpečí související s prachem.
- Nedovolte, aby vám znalost získaná častým používáním nářadí umožnila uspokojit se a ignorovat zásady bezpečnosti nářadí. Nedbalý čin může způsobit vážné zranění během zlomku sekundy.
- Při používání elektrického nářadí vždy používejte ochranné brýle, abyste si chránili oči před zraněním. Brýle musí splňovat normu ANSI Z87.1 v USA, EN 166 v Evropě nebo AS/NZS 1336 v Austrálii/Novém Zélandu. V Austrálii/Novém Zélandu je ze zákona vyžadováno nosit obličejový štít na ochranu obličeje.
![Ochranné brýle]()
Je povinností zaměstnavatele prosazovat používání vhodných bezpečnostních ochranných prostředků provozovateli nářadí a dalším osobám v bezprostřední pracovní oblasti.
Použití a péče o elektrické nářadí
- Netlačte na elektrické nářadí. Používejte správné elektrické nářadí pro dané použití. Správné elektrické nářadí bude fungovat lépe a bezpečněji při rychlosti, pro kterou bylo navrženo.
- Nepoužívejte elektrické nářadí, pokud jej nelze zapnout a vypnout spínačem. Jakékoli elektrické nářadí, které nelze ovládat spínačem, je nebezpečné a musí být opraveno.
- Před prováděním jakýchkoli úprav, výměnou příslušenství nebo uskladněním elektrického nářadí odpojte zástrčku ze zdroje napájení a/nebo vyjměte akumulátor, pokud je odnímatelný, z elektrického nářadí. Tato preventivní bezpečnostní opatření snižují riziko neúmyslného spuštění elektrického nářadí.
- Uskladňujte nečinné elektrické nářadí mimo dosah dětí a nedovolte osobám, které nejsou obeznámeny s elektrickým nářadím nebo s těmito pokyny, aby elektrické nářadí obsluhovaly. Elektrické nářadí je v rukou neškolených uživatelů nebezpečné.
- Údržba elektrického nářadí a příslušenství. Zkontrolujte vychýlení nebo zablokování pohyblivých částí, prasknutí částí a jakékoli další podmínky, které mohou ovlivnit provoz elektrického nářadí. Pokud je elektrické nářadí poškozeno, nechte jej před použitím opravit. Mnoho nehod je způsobeno špatně udržovaným elektrickým nářadím.
- Udržujte řezné nástroje ostré a čisté. Správně udržované řezné nástroje s ostrými řeznými hranami se méně zasekávají a snáze se ovládají.
- Používejte elektrické nářadí, příslušenství a nástavce atd. v souladu s těmito pokyny, s ohledem na pracovní podmínky a prováděnou práci. Použití elektrického nářadí k jiným než zamýšleným operacím může vést k nebezpečné situaci.
- Udržujte rukojeti a úchopové povrchy suché, čisté a bez oleje a mastnoty. Kluzké rukojeti a úchopové povrchy neumožňují bezpečnou manipulaci a ovládání nářadí v neočekávaných situacích.
- Při používání nářadí nenoste látkové pracovní rukavice, které by se mohly zamotat. Zamotání látkových pracovních rukavic do pohyblivých částí může vést ke zranění.
Servis
- Nechte své elektrické nářadí opravit kvalifikovanou osobou, která používá pouze identické náhradní díly. Tím se zajistí zachování bezpečnosti elektrického nářadí.
- Postupujte podle pokynů pro mazání a výměnu příslušenství.
Bezpečnostní upozornění pro přímočarou pilu
- Držte elektrické nářadí za izolované úchopové povrchy, pokud provádíte operaci, kde by se řezné příslušenství mohlo dotknout skrytého vedení nebo vlastního kabelu. Řezné příslušenství, které se dotkne „živého“ vodiče, může způsobit, že se odkryté kovové části elektrického nářadí stanou „živými“ a mohou obsluhu způsobit úraz elektrickým proudem.
- Použijte svorky nebo jiný praktický způsob, jak zajistit a podepřít obrobek na stabilní platformě. Držení obrobku rukou nebo proti tělu jej ponechává nestabilní a může vést ke ztrátě kontroly.
- Vždy používejte ochranné brýle nebo brýle. Běžné oční nebo sluneční brýle NEJSOU bezpečnostní brýle.
- Vyhněte se řezání hřebíků. Před zahájením práce zkontrolujte obrobek, zda neobsahuje hřebíky, a odstraňte je.
- Neřežte nadměrně velké obrobky.
- Před řezáním zkontrolujte správnou vůli za obrobkem, aby se nůž nedotkl podlahy, pracovního stolu atd.
- Držte nářadí pevně.
- Před zapnutím spínače se ujistěte, že se nůž nedotýká obrobku.
- Udržujte ruce mimo dosah pohyblivých částí.
- Nenechávejte nářadí spuštěné. Nářadí používejte pouze v ruce.
- Před vyjmutím nože z obrobku vždy vypněte a počkejte, až se nůž úplně zastaví.
- Nedotýkejte se nože nebo obrobku bezprostředně po operaci; mohou být extrémně horké a mohou vám popálit pokožku.
- Nepoužívejte nářadí zbytečně bez zatížení.
- Vždy používejte správnou protiprachovou masku/respirátor pro materiál a aplikaci, se kterými pracujete.
- Některé materiály obsahují chemikálie, které mohou být toxické. Buďte opatrní, abyste zabránili vdechování prachu a kontaktu s pokožkou. Dodržujte bezpečnostní údaje dodavatele materiálu.
NEDOVOLTE, aby pohodlí nebo obeznámenost s produktem (získané opakovaným používáním) nahradily přísné dodržování bezpečnostních pravidel pro daný produkt. ZNEUŽITÍ nebo nedodržení bezpečnostních pravidel uvedených v tomto návodu k obsluze může způsobit vážné zranění.
POPIS FUNKCE
- Před seřízením nebo kontrolou funkce na nářadí se vždy ujistěte, že je nářadí vypnuté a odpojené.
Nastavení patky
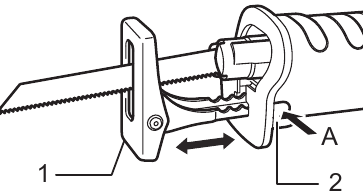
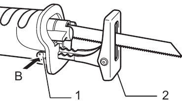
Když nůž ztratí účinnost řezání na jednom místě podél své řezné hrany, změňte polohu patky, abyste využili ostrou, nepoužitou část jeho řezné hrany. To pomůže prodloužit životnost nože. Chcete-li změnit polohu patky, zatlačte tlačítko patky ve směru „A“ s cvaknutím a změňte polohu, jak je znázorněno na obrázku, což vám umožní provést pěticestné nastavení. Chcete-li patku zajistit, zatlačte tlačítko patky ve směru „B“ s cvaknutím.

- Patka
- Tlačítko patky

- Tlačítko patky
- Patka
Činnost spínače
- Před zapojením nářadí do zásuvky vždy zkontrolujte, zda se spoušť spínače správně ovládá a po uvolnění se vrací do polohy „OFF“ (VYPNUTO).
Chcete-li nářadí spustit, jednoduše zatáhněte za spoušť spínače. Rychlost nářadí se zvyšuje zvyšováním tlaku na spoušť spínače. Uvolněním spouště spínače se zastaví.
Pro nepřetržitý provoz zatáhněte za spoušť spínače a poté zatlačte zajišťovací tlačítko.
Chcete-li nářadí zastavit ze zajištěné polohy, zatáhněte spoušť spínače úplně a poté ji uvolněte.

- Spoušť spínače
- Zajišťovací tlačítko
MONTÁŽ
- Před prováděním jakékoli práce na nástroji se vždy ujistěte, že je nástroj vypnutý a odpojený ze sítě.
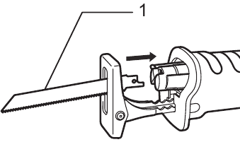
Instalace nebo demontáž pilového listu
Při instalaci pilového listu se vždy ujistěte, že je páka upínacího pouzdra v uvolněné poloze
na izolačním krytu před vložením pilového listu. Pokud je páka upínacího pouzdra v pevné poloze, otočte pákou upínacího pouzdra ve směru šipky tak, aby ji bylo možné zajistit v uvolněné poloze
.

- Pouzdro upínacího pouzdra
- Uvolněná poloha
- Pevná poloha
Vložte pilový list do upínacího pouzdra tak daleko, jak to půjde. Páka upínacího pouzdra se otočí a pilový list se zajistí. Ujistěte se, že pilový list nelze vytáhnout, i když se ho pokusíte vytáhnout.

- Pilový list
POZNÁMKA:
- Pokud nevložíte pilový list dostatečně hluboko, může dojít k neočekávanému vysunutí pilového listu během provozu. To může být velmi nebezpečné.
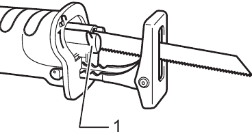
Pokud je páka umístěna uvnitř nástroje, zapněte nástroj jen na vteřinu, aby se list uvolnil, jak je znázorněno na obrázku. Vypněte nástroj a odpojte jej ze sítě.
Chcete-li vyjmout pilový list, otočte pákou upínacího pouzdra ve směru šipky úplně. Pilový list se vyjme a páka upínacího pouzdra se zajistí v uvolněné poloze
.

- Páka upínacího pouzdra
POZNÁMKA:
- Během přepínání držte ruce a prsty mimo páku. Pokud tak neučiníte, může dojít ke zranění osob.
- Pokud vyjmete pilový list bez úplného otočení pákou upínacího pouzdra, nemusí být páka zajištěna v uvolněné poloze
. V takovém případě otočte pákou upínacího pouzdra znovu úplně a poté se ujistěte, že je páka upínacího pouzdra zajištěna v uvolněné poloze
.
PROVOZ
- Během provozu vždy pevně přitlačte patku k obrobku. Pokud je patka během provozu odstraněna nebo držena mimo obrobek, dojde k silným vibracím a/nebo kroucení, což způsobí nebezpečné zlomení listu.
- Při řezání kovu vždy používejte rukavice, abyste chránili ruce před horkými odletujícími třískami.
- Vždy používejte vhodnou ochranu očí, která odpovídá platným národním normám.
- Při řezání kovu vždy používejte vhodné chladivo (řezný olej). Pokud tak neučiníte, způsobí to předčasné opotřebení listu.
Pevně přitlačte patku k obrobku. Nenechte nástroj odskočit. Přiveďte list do lehkého kontaktu s obrobkem. Nejprve vytvořte vodicí drážku pomalejší rychlostí. Poté pokračujte v řezání vyšší rychlostí.

ÚDRŽBA
- Před prováděním kontroly nebo údržby se vždy ujistěte, že je nástroj vypnutý a odpojený ze sítě.
- Nikdy nepoužívejte benzín, benzin, ředidlo, alkohol a podobně. Může dojít ke změně barvy, deformaci nebo prasklinám.
Výměna uhlíkových kartáčů
Pravidelně vyjímejte a kontrolujte uhlíkové kartáče. Vyměňte je, když se opotřebují až po rysku limitu. Udržujte uhlíkové kartáče čisté a nechte je volně klouzat v držácích. Oba uhlíkové kartáče by se měly vyměňovat současně. Používejte pouze identické uhlíkové kartáče.

- Ryska limitu
Pomocí šroubováku odstraňte víčka držáku kartáčů. Vyjměte opotřebované uhlíkové kartáče, vložte nové a zajistěte víčka držáku kartáčů.

- Víčko držáku kartáčů
- Šroubovák
Pro zachování BEZPEČNOSTI a SPOLEHLIVOSTI výrobku by opravy, jakákoli jiná údržba nebo seřízení měly být prováděny autorizovanými servisními středisky Makita, vždy s použitím náhradních dílů Makita.
VOLITELNÉ PŘÍSLUŠENSTVÍ
- Toto příslušenství nebo nástavce se doporučují pro použití s vaším nástrojem Makita uvedeným v této příručce. Použití jakéhokoli jiného příslušenství nebo nástavců může představovat riziko zranění osob. Příslušenství nebo nástavec používejte pouze k určenému účelu.
Pokud potřebujete další pomoc s podrobnostmi týkajícími se tohoto příslušenství, zeptejte se v místním servisním středisku Makita.
- Pilové listy ocasky
- Plastový přenosný kufřík
POZNÁMKA:
- Některé položky v seznamu mohou být součástí balení nástroje jako standardní příslušenství. Mohou se lišit v závislosti na zemi.
Makita Europe N.V.
Jan-Baptist Vinkstraat 2,
3070 Kortenberg, Belgie
Makita Corporation
3-11-8, Sumiyoshi-cho,
Anjo, Aichi 446-8502 Japonsko
www.makita.com
Reference
Stáhnout návod
Zde si můžete stáhnout úplnou verzi návodu ve formátu pdf, může obsahovat další bezpečnostní pokyny, informace o záruce, pravidla FCC atd.
Stáhnout Příručka k Makita JR3050T
/II 

