BaByliss I PRO 230 STEAM (ST396E) + MINI STRAIGHTENER Εγχειρίδιο

ΕΙΣΑΓΩΓΗ
Για περισσότερες πληροφορίες σχετικά με τα πλεονεκτήματα αυτού του προϊόντος, συμβουλές για τη χρήση και συμβουλές από ειδικούς, επισκεφθείτε την ιστοσελίδα μας: www.babyliss.com.
Παρακαλούμε διαβάστε προσεκτικά τις παρακάτω οδηγίες χρήσης πριν χρησιμοποιήσετε τη συσκευή.
ΧΑΡΑΚΤΗΡΙΣΤΙΚΑ ΠΡΟΪΟΝΤΟΣ
I PRO 230 STEAM

- Διακόπτης On/Off (Ενεργοποίηση/Απενεργοποίηση) – Αυτόματη απενεργοποίηση
- Ρυθμιστής θερμοκρασίας με οθόνη LED - 5 ρυθμίσεις θερμοκρασίας (170 - 230°C)
- Πράσινο LED – Ιοντική λειτουργία
- Δεξαμενή νερού
- Διακόπτης λειτουργίας ατμού – 3 θέσεις – χωρίς ατμό/κανονική/υψηλή
- Κεραμικές πλάκες με επικάλυψη τιτανίου (38 x 85 mm)
- Αναδιπλούμενη χτένα ξεμπερδέματος – 3 θέσεις – χωρίς χτένα/μεσαία χτένα για λεπτά μαλλιά και μικρότερες τούφες μαλλιών/μακριά χτένα για χοντρά μαλλιά και μεγαλύτερες τούφες μαλλιών
- Περιστρεφόμενο καλώδιο
- Πολλαπλών στρώσεων θερμοανθεκτικό μονωτικό χαλάκι
MINI STRAIGHTENER

- Διακόπτης On/Off (Ενεργοποίηση/Απενεργοποίηση)
- Εξαιρετικά γρήγορη θέρμανση - 200°C
- Κεραμικές πλάκες (14 x 60 mm)
- Ενδεικτική λυχνία λειτουργίας
- Διπλή τάση 120-240V
Την πρώτη φορά που χρησιμοποιείτε τη μονάδα, μπορεί να παρατηρήσετε λίγο καπνό και μια ιδιαίτερη οσμή: αυτό είναι συνηθισμένο και θα εξαφανιστεί την επόμενη φορά που θα χρησιμοποιήσετε τη μονάδα.
ΠΡΙΝ ΣΥΝΔΕΣΕΤΕ ΤΟ ΣΙΔΕΡΟ ΙΣΙΩΜΑΤΟΣ!
- Αφαιρέστε τη δεξαμενή νερού από το σίδερο ισιώματος πατώντας το κουμπί «RELEASE» (ΑΠΕΛΕΥΘΕΡΩΣΗ) που βρίσκεται στο πάνω μέρος του σίδερου ισιώματος (εικ. 1).
- Γεμίστε τη δεξαμενή νερού με απεσταγμένο νερό,
- Ελέγξτε ότι η δεξαμενή είναι σωστά τοποθετημένη και κλειστή,
- Ελέγξτε ότι τα χέρια σας και το εξωτερικό της δεξαμενής είναι καλά στεγνά.
(Εάν πρέπει να γεμίσετε τη δεξαμενή για δεύτερη φορά, αποσυνδέστε τη μονάδα και αντικαταστήστε τη δεξαμενή αμέσως μετά το γέμισμα, φροντίζοντας να μην αγγίξετε τις ζεστές πλάκες).
Αφήστε τη μονάδα να θερμανθεί για τουλάχιστον 2-3 λεπτά πριν χρησιμοποιήσετε τη λειτουργία ατμού.
Αποφύγετε οποιαδήποτε επαφή μεταξύ των θερμών επιφανειών και του προσώπου ή του λαιμού σας. Βεβαιωθείτε ότι δεν κατευθύνετε τον ατμό στο πρόσωπο ή το λαιμό σας.
ΧΡΗΣΗ: I PRO 230 STEAM
- Συνδέστε το σίδερο ισιώματος BaByliss I pro 230 steam και πατήστε το κουμπί ON/OFF (ΕΝΕΡΓΟΠΟΙΗΣΗ/ΑΠΕΝΕΡΓΟΠΟΙΗΣΗ) (1). Περιμένετε λίγα λεπτά μέχρι να θερμανθεί το σίδερο ισιώματος. Θα παρατηρήσετε επίσης ότι η μονάδα τρίζει ελαφρά, αυτός ο ήχος είναι φυσιολογικός για μια γεννήτρια ιόντων υψηλής απόδοσης.
- Μια πράσινη λυχνία LED θα ανάψει, μια ενδεικτική λυχνία για τη χαμηλότερη θερμοκρασία, η πράσινη λυχνία LED (3) υποδεικνύει την ιοντική λειτουργία του σίδερου ισιώματος.
- Επιλέξτε την επιθυμητή θερμοκρασία χρησιμοποιώντας τους επιλογείς θερμοκρασίας (2). Μια χαμηλότερη θερμοκρασία συνιστάται γενικά για λεπτά, λευκασμένα ή/και ταλαιπωρημένα μαλλιά, και μια υψηλότερη θερμοκρασία για σγουρά, χοντρά ή/και δύσκολα στο styling μαλλιά. Δεδομένου ότι κάθε τύπος μαλλιών είναι μοναδικός, συνιστούμε να χρησιμοποιήσετε τη θέση 1 (πράσινο LED) την πρώτη φορά που το χρησιμοποιείτε. Αυξήστε σταδιακά τη θερμοκρασία, εάν είναι απαραίτητο, κατά τις επόμενες χρήσεις. Δείτε την εικόνα μόνο για σκοπούς αναφοράς: η λυχνία LED της επιλεγμένης θερμοκρασίας αναβοσβήνει μέχρι να επιτευχθεί η θερμοκρασία, στη συνέχεια παραμένει αναμμένη καθ' όλη τη διάρκεια της χρήσης.
- ΧΡΗΣΗ ΜΕ ΑΤΜΟ: ενεργοποιήστε τη λειτουργία ατμού (5). Επιλέξτε την επιθυμητή έξοδο ανάλογα με τον τύπο των μαλλιών σας. Χρησιμοποιήστε επίσης τη χτένα ξεμπερδέματος (7) που θα σας επιτρέψει να απλώσετε ομοιόμορφα τα μαλλιά σας ανάμεσα στα δόντια της χτένας και να ξεμπερδέψετε τα μαλλιά σας με ευκολία. Επιλέξτε εκ των προτέρων το επιθυμητό ύψος. Κατά την πρώτη χρήση, ή εάν η μονάδα δεν έχει χρησιμοποιηθεί για κάποιο χρονικό διάστημα, ξεκινήστε τη λειτουργία ατμού κλείνοντας και ανοίγοντας τη μονάδα 7 έως 8 φορές (μια κίνηση άντλησης).
- ΧΡΗΣΗ ΧΩΡΙΣ ΑΤΜΟ: το σίδερο ισιώματος μπορεί επίσης να χρησιμοποιηθεί χωρίς ατμό, το μόνο που χρειάζεται να κάνετε είναι να σύρετε το διακόπτη στη θέση 'no steam' (χωρίς ατμό) ή να το χρησιμοποιήσετε με μια άδεια δεξαμενή.
ΑΥΤΟΜΑΤΗ ΑΠΕΝΕΡΓΟΠΟΙΗΣΗ
Εάν η συσκευή έχει παραμείνει αναμμένη για πάνω από 1 ώρα, η συσκευή θα απενεργοποιηθεί αυτόματα.
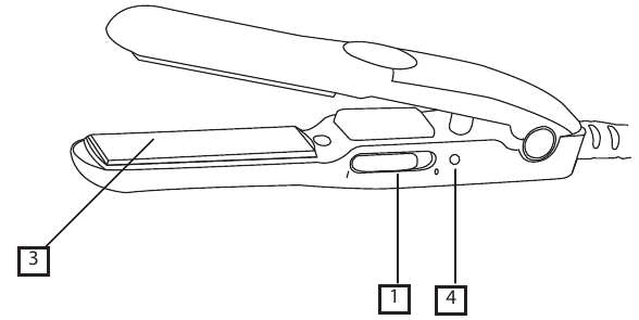
ΧΡΗΣΗ: MINI STRAIGHTENER
- Συνδέστε το mini straigthener και σύρετε το κουμπί διακόπτη στο "I", η κόκκινη λυχνία LED θα υποδείξει ότι η τροφοδοσία είναι ενεργοποιημένη. Περιμένετε λίγα λεπτά μέχρι να θερμανθεί το σίδερο ισιώματος.
- Βουρτσίστε καλά τα μαλλιά και χωρίστε τα σε τμήματα.
- Ξεκινήστε με τα κάτω τμήματα των μαλλιών. Πάρτε ένα τμήμα πλάτους περίπου 4 cm και τοποθετήστε το ανάμεσα στις 2 θερμές πλάκες με τη συσκευή τοποθετημένη κοντά στις ρίζες, προσέχοντας να μην αγγίξετε τη θερμή επιφάνεια της συσκευής με το χέρι σας.
- Κρατήστε σταθερά τα μαλλιά με το σίδερο ισιώματος και σύρετε αργά από τις ρίζες προς τις άκρες.
- Επαναλάβετε ξανά εάν είναι απαραίτητο.
- Αφήστε τα μαλλιά να κρυώσουν πριν τα χτενίσετε.
- Μετά τη χρήση, απενεργοποιήστε και αποσυνδέστε τη συσκευή. Αφήστε τη να κρυώσει πριν την αποθηκεύσετε.
ΣΥΝΤΗΡΗΣΗ
- Αποσυνδέστε τη μονάδα και αφήστε τη να κρυώσει εντελώς.
- Βεβαιωθείτε ότι αδειάζετε τη δεξαμενή μετά από κάθε χρήση.
- Καθαρίστε τις πλάκες χρησιμοποιώντας ένα μαλακό, υγρό πανί, χωρίς απορρυπαντικό, για να διατηρήσετε τη βέλτιστη ποιότητα των πλακών. Μην γρατζουνίζετε τις πλάκες.
- Αποθηκεύστε το σίδερο ισιώματος με τις πλάκες πιεσμένες μεταξύ τους για να τις προστατεύσετε.
- Είναι προτιμότερο να χρησιμοποιείτε απεσταγμένο νερό για να γεμίσετε τη δεξαμενή. Διαφορετικά, φροντίστε να αφαιρείτε τα άλατα από τη μονάδα από καιρό σε καιρό.

Λήψη εγχειριδίου
Εδώ μπορείτε να κατεβάσετε την πλήρη έκδοση pdf του εγχειριδίου, μπορεί να περιέχει πρόσθετες οδηγίες ασφαλείας, πληροφορίες εγγύησης, κανόνες FCC κ.λπ.
Λήψη BaByliss I PRO 230 STEAM (ST396E) + MINI STRAIGHTENER Εγχειρίδιο