TFA 35.1089.IT - Weather Station Manual
- 1 INTRODUCTION
- 2 ELEMENTS
- 3 HOW TO INSTALL AND REPLACE BATTERIES IN THE TEMPERATURE TRANSMITTER
- 4 HOW TO INSTALL AND REPLACE BATTERIES IN THE WEATHER STATION
- 5 SETTING UP
- 6 DCF RADIO CONTROLLED TIME
- 7 FUNCTION KEYS
- 8 WEATHER FORECAST AND TENDENCY
- 9 THE WEATHER TENDENCY INDICATOR
- 10 INDOOR TEMPERATURE AND MIN/MAX RECORDS
- 11 OUTDOOR TEMPERATURE AND MIN/MAX RECORDS
- 12 RESETTING THE INDOOR AND OUTDOOR MIN/MAX RECORDS
- 13 868 MHz RECEPTION CHECK
- 14 CARE AND MAINTENANCE
- 15 MALFUNCTION
- 16 WASTE DISPOSAL
- 17 SPECIFICATIONS
- 18 References
- 19 Download manual
- 20 In Other Languages

INTRODUCTION
Thank you for choosing this wireless weather station from TFA.
BEFORE YOU USE IT
Please be sure to read the instruction manual carefully.
This information will help you to familiarise yourself with your new device, learn all of its functions and parts, find out important details about its first use and how to operate it, and get advice in the event of faults.
Following the instruction manual for use will prevent damage to the device and loss of your statutory rights arising from defects due to incorrect use.
We shall not be liable for any damage occurring as a result of not following these instructions.
Please take particular note of the safety advice!
Please look after this manual for future reference.
SCOPE OF SUPPLY
- Weather station (basic unit)
- Outdoor transmitter
- Instruction manual
FIELD OF OPERATION AND ALL OF THE BENEFITS OF YOUR NEW WEATHER STATION AT A GLANCE
- DCF-77 Radio controlled time function with manual time setting options
- DCF time reception ON/OFF
- 24 hour display
- Alarm function with snooze
- Time zone +/- 12 hours
- Temperature display in degree Celsius (°C)
- Indoor and outdor temperature with MIN/MAX records
- Manual reset of MIN/MAX records
- 3 weather forecast with weather tendency indicator
- Wireless transmission at 868 MHz
- Signal reception intervals at 4 seconds
- Low battery indicator
- Wall mounting or table standing (foldout stand)
FOR YOUR SAFETY
- The product is exclusively intended for the field of application described above. The product should only be used as described within these instructions.
- Unauthorised repairs, modifications or changes to the product are prohibited.
Risk of injury:
- Keep this instrument and the batteries out of reach of children.
- Batteries must not be thrown into the fire, short-circuited, taken apart or recharged. Risk of explosion!
- Batteries contain harmful acids. Low batteries should be changed as soon as possible to prevent damage caused by leaking.
- Never use a combination of old and new batteries together, nor batteries of different types. Wear chemical-resistant protective gloves and safety glasses when handling leaking batteries.
on product safety!
- Do not expose the instrument to extreme temperatures, vibration or shock.
- The outdoor transmitter is protected against splash water, but is not watertight. Choose a shady and dry position for the transmitter.
ELEMENTS
The Weather station

The Outdoor Temperature Transmitter

- Remote transmission of outdoor temperature to weather station by 868 MHz signals
- Shower proof casing
- Wall mounting and table-standing
HOW TO INSTALL AND REPLACE BATTERIES IN THE TEMPERATURE TRANSMITTER

The temperature transmitter uses 2 x AA, IEC LR6, 1.5V battery. To install and replace the batteries, please follow the steps below:
- Remove the battery compartment cover at the back of the transmitter.
- Insert the batteries, observing the correct polarity (see marking).
- Replace the battery compartment cover on the unit.
HOW TO INSTALL AND REPLACE BATTERIES IN THE WEATHER STATION

The weather station uses 3 x AA, IEC LR6, 1.5V batteries. When batteries will need to be replaced, the low battery icon will appear on the LCD. To install and replace the batteries, please follow the steps below:
- Lift up the battery compartment cover.
- Insert batteries observing the correct polarity (see marking).
- Replace compartment cover.
Battery replacement
- Replace the batteries when the battery symbol of the weather station appears above the indoor temperature.
- When the batteries of the transmitter are used up, the low battery icon appears above the outdoor temperature display.
Note:
In the event of changing batteries in any of the units, all units need to be reset by following the setting up procedures. This is because a security code is assigned by the transmitter at start-up and this code must be received and stored by the Weather station in the first 3 minutes of power being supplied to it.
SETTING UP
Note: This weather station receives only one outdoor transmitter.
- First, insert the batteries into the Temperature transmitter. (see "Install and replace batteries in the temperature transmitter").
- Immediately after and within 30 seconds, insert the batteries into Weather station (see "Install and replace batteries in the weather station"). Once the batteries are in place, all segments of the LCD will light up briefly. Following the time as 0:00 and the weather icon will be displayed. If these are not displayed after 60 seconds, remove the batteries and wait for at least 30 seconds before reinserting them.
- After inserting the batteries, the Weather station will start receiving data from the transmitter. The outdoor temperature and the signal reception icon should then be displayed on the Weather station. If this does not happen after 3 minutes, the batteries will need to be removed from both units and reset from step 1.
- In order to ensure sufficient 868 MHz transmission however, this should under good conditions be a distance no more than 100 metres between the final position of the weather station and the transmitter (see notes on "Mounting" and "868 MHz Reception").
- Once the remote temperature has been received and displayed on the weather station, the DCF time (radio controlled time) code reception is automatically started. This takes typically between 3-5 minutes in good conditions.
DCF RADIO CONTROLLED TIME
The time base for the radio controlled time is a Cesium Atomic Clock operated by the Physikalisch Technische Bundesanstalt Braunschweig which has a time deviation of less than one second in one million years. The time is coded and transmitted from Mainflingen near Frankfurt via frequency signal DCF-77 (77.5 kHz) and has a transmitting range of approximately 1,500 km. Your radiocontrolled weather station receives this signal and converts it to show the precise time in summer or wintertime.
The quality of the reception depends greatly on the geographic location. In normal cases, there should be no reception problems within a 1,500 km radius of Frankfurt.
DCF reception is done twice daily at 02:00 and 03:00 am. If the reception is not successful at 03:00 am, then the next reception takes place the next hour and so on until 06:00am, or until the reception is successful. If the reception is not successful at 06:00 am, then the next attempt will take place the next day at 02:00 am.
If the tower icon flashes, but does not set the time or the DCF tower does not appear at all, then please take note of the following:
- Recommended distance to any interfering sources like computer monitors or TV sets is a minimum of 1.5 - 2 metres.
- Within ferro-concrete rooms (basements, superstructures), the received signal is naturally weakened. In extreme cases, please place the unit close to a window and/ or point its front or back towards the Frankfurt transmitter.
- During nighttime, the atmospheric disturbances are usually less severe and reception is possible in most cases. A single daily reception is adequate to keep the accuracy deviation below 1 second.
FUNCTION KEYS
Weather station
The weather station has four easy to use function keys.

SET key
- Press the key to enter manual setting modes: Time zone, Time reception ON/OFF and Manual time
- Stop the alarm
+ key
- To make adjustment for various settings
- Stop the alarm
ALARM key
- Enter the alarm setting mode
- Switch the alarm ON/ OFF
- Stop the alarm
MIN/MAX RESET key
- Press and hold to reset the MIN/MAX temperature records
- Activate the snooze
- Exit manual setting modes
LCD SCREEN AND SETTINGS

* When the outdoor signal is successfully received by the Weather Station, this icon will be switched on. (If not successful, the icon will not be shown in LCD) So user can easily see whether the last reception was successful (icon on) or not (icon off).
MANUAL SETTINGS
The following manual settings can be done in the setting mode:
- Time zone
- Time reception DCF ON/OFF
- Manual time
Press and hold the SET key for about 3 seconds to advance to the setting mode:
TIME ZONE SETTING

The time zone default is "0" hour. To set a different time zone:
- The current time zone value starts flashing.
- Use the + key to set the time zone. The range runs from 0, -1, -2... -12, 12, 11, 10... 2, 1, 0, in consecutive 1-hour intervals.
- Confirm with the SET key and enter the Time reception On/Off setting.
TIME RECEPTION ON/OFF SETTING
In area where reception of the radio-controlled time (DCF time) is not possible, the time reception function can be turned OFF. The clock will then work as a normal Quartz clock. (Default setting is ON).
- The digit "ON" digit will start flashing on the LCD.
- Use the + key to turn OFF the time reception function if necessary.
- Confirm with the SET key and enter the Manual time setting.
Note:
If the Time Reception function is turned OFF manually, the clock will not attempt any reception of the radio-controlled time (DCF time) as long as the Time Reception OFF function is activated. The Time Reception icon and the DCF icon will not be displayed on the LCD.
MANUAL TIME SETTING
In case the weather station is not able to detect the radio-controlled time (DCF time) signal (disturbances, transmitting distance, etc.), the time can be manually set. The clock will then work as a normal Quartz clock.

To set the clock:
- The hour digits start flashing in the time display section.
- Use the + key to adjust the hours and then press SET key to go to the minute setting.
- The minute will be flashing. Press the + key to just the minutes.
- Confirm with the SET key and exit the setting mode.
Note:
The unit will still try to receive the signal despite a manual setting. When the signal is received, the manually set time will automatically be replaced by the received time. During reception attempts, the DCF tower icon will flash. If reception has been unsuccessful, the DCF tower icon will not appear but reception will still be attempted.
ALARM SETTING
To set alarm:
- Press and hold ALARM for about 3 seconds until the alarm time display flashes.
- The hour digit and the alarm icon will be flashing. Press the + key to adjust the hour.
- Press ALARM button once and minute digit will be flashing. User shall then press + button to set the minute.
- Press ALARM button once to confirm the setting.
- To activate/ deactivate the alarm function, press the ALARM button once. The display of the alarm icon represents that the alarm is "ON".
Note: The duration of alarm sounding is 85 seconds
TO ACTIVATE THE SNOOZE FUNCTION AND STOPPING THE ALARM:
- When the alarm is sounding, press the MIN/MAX RESET key to activate the snooze function. The alarm will stop and re-activate after the snooze interval of 10 minutes.
- To stop the alarm completely, press any keys other than the MIN/MAX RESET key.
WEATHER FORECAST AND TENDENCY
THE WEATHER FORECASTING ICONS:
There are 3 weather icons in the second section of LCD which can be displayed in any of the following combinations:

Sunny
Cloudy with sunny intervals

Rainy
For every sudden or significant change in the air pressure, the weather icons will update accordingly to represent the change in weather. If the icons do not change, then it means either the air pressure has not changed or the change has been too slow for the Weather station to register. However, if the icon displayed is a sun or raining cloud, there will be no change of icon if the weather gets any better (with sunny icon) or worse (with rainy icon) since the icons are already at their extremes.
The icons display weather forecasts in terms of getting better or worse, and not necessarily sunny or rainy as each icon indicates. For example, if the current weather is cloudy and the rainy icon is displayed, it does not mean that the product is faulty because it is not raining. It simply means that the air pressure has dropped and the weather is expected to get worse but not necessarily rainy.
Note:
After setting up, readings for weather forecasts should be disregarded for the next 12-24 hours. This will allow sufficient time for the Weather Station to collect air pressure data at a constant altitude and therefore result in a more accurate forecast.
Common to weather forecasting, absolute accuracy cannot be guaranteed. The weather forecasting feature is estimated to have an accuracy level of about 75% due to the varying areas the Weather Station has been designed for use in. In areas that experience sudden changes in weather (for example from sunny to rain), the Weather Station will be more accurate compared to use in areas where the weather is stagnant most of the time (for example mostly sunny).
If the weather station is moved to another location significantly higher or lower than its initial standing point (for example from the ground floor to the upper floors of a house), remove the batteries and re-insert them after about 30 seconds. By doing this, the Weather Station will not mistake the new location as being a possible change in air-pressure when really it is due to the slight change of altitude. Again, disregard weather forecasts for the next 12 to 24 hours as this will allow time for operation at a constant altitude.
THE WEATHER TENDENCY INDICATOR
Working together with the weather icons are the weather tendency indicators (located on the left and right hand side of the weather icons). When the indicator points upwards, it means that the air-pressure is increasing and the weather is expected to improve, but when indicator points downwards, the airpressure is dropping and the weather is expected to become worse.
Taking this into account, you will see how the weather has changed and how it is expected to change. For example, if the indicator is pointing downwards together with cloud and sun icons, then the last noticeable change in the weather was when it was sunny (sun icon only). Therefore, the next change in the weather will be the cloud with rain icons since the indicator is pointing downwards.
Note:
Once the weather tendency indicator has registered a change in the air pressure, it will remain permanently visualised on the LCD.
INDOOR TEMPERATURE AND MIN/MAX RECORDS
The indoor temperature and indoor MIN/MAX records are displayed on the last section of the LCD.

Note: The MIN/MAX indoor temperature range is -9ºC to + 38ºC with 1°C resolution.
OUTDOOR TEMPERATURE AND MIN/MAX RECORDS
The outdoor temperature and outdoor MIN/MAX records are displayed on the last section of the LCD.
Note: The MIN/MAX outdoor temperature resolution is range -40ºC to + 60ºC with 1°C resolution.
RESETTING THE INDOOR AND OUTDOOR MIN/MAX RECORDS
Note: All the MIN/MAX records will be reset at the same time.
- In normal display mode, press and hold the MIN/MAX RESET key for 3 seconds. This will reset the indoor and outdoor MIN/MAX temperatures.
868 MHz RECEPTION CHECK
The weather station should receive the temperature data within 3 minutes after set-up. If the temperature data is not received 3 minutes after setting up (not successfully continuously, the outdoor display shows "- - -" ), please check the following points:
- The distance of the weather station or transmitter should be at least 1.5 to 2 metres away from any interfering sources such as computer monitors or TV sets.
- Avoid positioning the weather station onto or in the immediate proximity of metal window frames.
- Using other electrical products such as headphones or speakers operating on the same signal frequency (868MHz) may prevent correct signal transmission and reception.
- Neighbours using electrical devices operating on the 868MHz signal frequency can also cause interference.
Note:
When the 868MHz signal is received correctly, do not re-open the battery cover of either the transmitter or weather station, as the batteries may spring free from the contacts and force a false reset. Should this happen accidentally then reset all units (see Setting up above) otherwise transmission problems may occur.
The transmission range is about 100 m from the transmitter to the weather station (in open space). However, this depends on the surrounding environment and interference levels. If no reception is possible despite the observation of these factors, all system units have to be reset (see Setting up).
POSITIONING THE WEATHER STATION:
The weather Station may be hung onto wall easily or free standing.
Choose a sheltered place. Avoid direct rain and sunshine.
Before wall mounting, please check that the outdoor temperature values can be received from the desired locations.
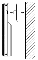
Wall mounting

- Fix a screw (not supplied) into the desired wall, leaving the head extended out by about 5mm.
- Remove the stand from the Weather Station by pulling it away from the base and hang the station onto the screw. Remember to ensure that it locks into place before releasing.
Free standing

With the foldout stand, the weather station can be placed onto any flat surface.
POSITIONING THE TEMPERATURE TRANSMITTER:

The Transmitter is supplied with a holder that may be attached to a wall with the two screws supplied. The Transmitter can also be position on a flat surface by securing the stand to the bottom to the Transmitter.
To wall mount:

- Secure the bracket onto a desired wall using the screws and plastic anchors.
- Clip the remote temperature sensor onto the bracket.
Note:
Before permanently fixing the transmitter wall base, place all units in the desired locations to check that the outdoor temperature reading is receivable. In event that the signal is not received, relocate the transmitters or move them slightly as this may help the signal reception.
CARE AND MAINTENANCE
- Clean the instrument and the transmitter with a soft damp cloth. Do not use solvents or scouring agents. Protect from moisture.
- Remove the batteries if you do not use the product for a lengthy period.
MALFUNCTION
| Problems | Troubleshooting |
| No indication on the weather station |
|
| No transmitter reception Display "---" |
|
| No DCF reception |
|
| Incorrect display |
|
WASTE DISPOSAL
This product has been manufactured using high-grade materials and components which can be recycled and reused.

Never throw flat batteries and rechargeable batteries in household waste.
As a consumer, you are legally required to take them to your retail store or to appropriate collection sites according to national or local regulations in order to protect the environment. The symbols for the heavy metals contained are: Cd=cadmium, Hg=mercury, Pb=lead

This instrument is labelled in accordance with the EU Waste Electrical and Electronic Equipment Directive (WEEE). Please do not dispose of this product with other household waste. The user is obligated to take end-of-life devices to a designated collection point for the disposal of electrical and electronic equipment, in order to ensure environmentally-compatible disposal.
SPECIFICATIONS
Recommended operating temperature range : 0ºC to 50ºC
Temperature measuring range:
Indoor: -9.9ºC to +37.8ºC with 0.1ºC resolution ("OF.L" displayed if outside this range)
Outdoor: -39.9ºC to +59.9ºC with 0.1ºC resolution ("OF.L" displayed if outside this range)
Indoor temperature checking interval: every 16 seconds
Outdoor data reception: every 4 seconds
Transmission frequency: 868 Mhz
Maximum radio-frequency power: <25mW
Power consumption:
Weather station: 3 x AA, IEC, LR6, 1.5V
Temperature transmitter: 2 x AA, IEC, LR6, 1.5V
Battery life cycle (Alkaline batteries recommended): appr. 24 months
Dimensions (L x W x H):
Weather station: 118.4 x 28 x 137.4mm
Temperature transmitter: 38.2 x 21.2 x 128.3 mm
No part of this manual may be reproduced without written consent of TFA Dostmann. The technical data are correct at the time of going to print and may change without prior notice.
The latest technical data and information about your product can be found by entering your product number on our homepage.
EU declaration of conformity
Hereby, TFA Dostmann declares that the radio equipment type 35.1089 is in compliance with Directive 2014/53/EU.
The full text of the EU declaration of conformity is available at the following internet address: www.tfa-dostmann.de E-Mail: info@tfa-dostmann.de
TFA Dostmann GmbH & Co. KG, Zum Ottersberg 12, D-97877 Wertheim,
Germany

References
Download manual
Here you can download full pdf version of manual, it may contain additional safety instructions, warranty information, FCC rules, etc.
Download TFA 35.1089.IT - Weather Station Manual