Sony ICD-PX240 - Guía de inicio rápido de la grabadora IC
Introducción
¡Bienvenido a su nueva grabadora IC de Sony!
Esta es la Guía de inicio rápido, que le proporciona instrucciones sobre las operaciones básicas de la grabadora IC. Por favor, léala atentamente. Esperamos que disfrute usando su nueva grabadora IC de Sony.
Compruebe los elementos suministrados.
- Grabadora IC (1)
- Cable de conexión USB (1)
- Pilas alcalinas LR03 (tamaño AAA) (2)
- Guía de ayuda (archivo HTML almacenado en la memoria incorporada para que pueda copiarse fácilmente a su ordenador).
- Guía de inicio rápido
Piezas y controles


- Micrófono incorporado
Clavija (auriculares)- Indicador de funcionamiento
- Ventana de visualización
- Botón FOLDER (carpeta)
- Botón MENU (menú)
Botón PLAY/ENTER (reproducir/enter) (*)
Botón (revisar/retroceder rápidamente)
Botón (stop) (parar)
Clavija (micrófono) (PLUG IN POWER) (*)- Botón VOL (volumen) –/+ (*)
- Botón DIVIDE (dividir)
- Botón ERASE (borrar)
Botón REC/PAUSE (grabar/pausar)
Botón (cue/avance rápido)- Altavoz
- Interruptor HOLD•POWER ON/OFF (mantener/encendido y apagado)
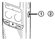
Conector (USB)- Compartimento de la batería
- Orificio para la correa (No se suministra una correa).
* Estos botones y la clavija tienen un punto táctil. Úselo como punto de referencia para las operaciones o para identificar cada terminal.
Probemos su nueva grabadora IC
Encender
- Deslice y levante la tapa del compartimento de la batería, luego inserte las baterías con la polaridad correcta.
![Sony - ICD-PX240 - Encender Paso 1 Encender Paso 1]()
- Encienda la alimentación.
Deslice y mantenga presionado el interruptor HOLD•POWER ON/OFF en la dirección de "POWER ON/OFF" hasta que aparezca la ventana de visualización.
![Sony - ICD-PX240 - Encender Paso 2 Encender Paso 2]()
Para apagar la alimentación, deslice y mantenga presionado el interruptor HOLD•POWER ON/OFF en la dirección de "POWER ON/OFF" hasta que se muestre "OFF" (apagado).
Para evitar operaciones no intencionales (HOLD) (mantener)
![Sony - ICD-PX240 - Encender Paso 3 Encender Paso 3]()
![Sony - ICD-PX240 - Encender Paso 4 Encender Paso 4]()
Establecer la fecha y la hora
Cuando inserte las baterías y encienda la alimentación, la sección del año comenzará a parpadear.
- Pulse
o
para establecer el año (los dos últimos dígitos del año) y, a continuación, pulse
PLAY/ENTER (reproducir/enter). Repita este procedimiento para establecer el mes, el día, la hora y los minutos en secuencia.
![Sony - ICD-PX240 - Establecer la fecha y la hora Establecer la fecha y la hora]()
Grabar

- Pulse
REC/PAUSE (grabar/pausar).
La grabación comienza y el indicador de funcionamiento se ilumina en rojo.
Puede pausar la grabación pulsando
REC/PAUSE (grabar/pausar). Pulse
REC/ PAUSE (grabar/pausar) de nuevo para reiniciar la grabación. - Coloque la grabadora IC de modo que el micrófono incorporado mire hacia la dirección de la fuente que se va a grabar.
- Pulse
(stop) (parar) para detener la grabación.
Aparece "ACCESS" (acceso) y la grabación se detiene.
Escuchar

- Pulse
PLAY/ENTER (reproducir/enter).
La reproducción comienza y el indicador de funcionamiento se ilumina en verde. - Ajuste el volumen pulsando VOL –/+.
- Pulse
(stop) (parar) para detener la reproducción.
Borrar

- Cuando la grabadora IC está en el modo de parada, mantenga pulsado ERASE (borrar).
Cuando la grabadora IC está en el modo de reproducción, pulse ERASE (borrar).
Se muestra "ERASE" (borrar). - Pulse ERASE (borrar).
Utilización de su ordenador
Instalación de la guía de ayuda en su ordenador
Al instalar la guía de ayuda en su ordenador desde la memoria incorporada de la grabadora IC, puede buscar operaciones detalladas y posibles soluciones cuando se produce un problema.
- Conecte el puerto
(USB) de la grabadora IC con el puerto USB de un ordenador en funcionamiento con el cable de conexión USB suministrado insertado en los puertos de forma segura hasta que cada enchufe se detenga al final. - En Windows: Haga clic en [Equipo] (o [Mi PC]), luego haga doble clic en [IC RECORDER]
[FOR WINDOWS] (para Windows).
En Mac: Haga doble clic en [IC RECORDER] en el escritorio. - Instale la guía de ayuda.
En Windows: Haga doble clic en [Help_Guide_Installer] (o [Help_Guide_Installer.exe]).
En Mac: Haga doble clic en [Help_Guide_Installer_for_mac.app]. (v10.5.8 o superior)
Siga las instrucciones que aparecen en la pantalla para continuar con la instalación. - Una vez finalizada la instalación, haga doble clic en el icono [Help_Guide_icdp24_uc.htm] en el escritorio para Windows (o en Finder para Mac).
Se muestra la guía de ayuda.
También puede ver la guía de ayuda en la siguiente página de inicio de soporte al cliente de la grabadora IC de Sony: http://rd1.sony.net/help/icd/p24/uc/
Copiar archivos desde la grabadora IC a su ordenador
Puede copiar los archivos y carpetas desde la grabadora IC a su ordenador para almacenarlos.
- Conecte la grabadora IC a su ordenador.
- Copie los archivos o carpetas que desee transferir a su ordenador.
Arrastre y suelte los archivos o carpetas que desee copiar desde "IC RECORDER" (grabadora IC) al disco local de su ordenador.
Para copiar un archivo o carpeta (Arrastrar y soltar)
![Sony - ICD-PX240 - Copiar archivos desde la grabadora IC a su ordenador Copiar archivos desde la grabadora IC a su ordenador]()
- Desconecte la grabadora IC de su ordenador.
Precauciones
Sobre la alimentación
Utilice la unidad solo con 3,0 V o 2,4 V CC. Utilice dos pilas alcalinas LR03 (tamaño AAA) o dos pilas recargables NH-AAA.
Sobre la seguridad
No utilice la unidad mientras conduce, monta en bicicleta o maneja cualquier vehículo motorizado.
Sobre la manipulación
- No deje la unidad en un lugar cerca de fuentes de calor, o en un lugar sujeto a la luz solar directa, polvo excesivo o golpes mecánicos.
- Si algún objeto sólido o líquido cae dentro de la unidad, retire la batería y haga que personal cualificado revise la unidad antes de seguir utilizándola.
Si tiene alguna pregunta o problema con su unidad, consulte a su distribuidor de Sony más cercano.
Especificaciones
Capacidad (Capacidad disponible para el usuario *1*2)
4 GB (aprox. 3,50 GB = 3.758.096.384 bytes)
*1 Una pequeña cantidad de la memoria incorporada se utiliza para la gestión de archivos y, por lo tanto, no está disponible para el almacenamiento del usuario.
*2 Cuando la memoria incorporada se formatea con la grabadora IC.
Dimensiones (ancho/alto/profundidad) (sin incluir las piezas que sobresalen ni los controles) (JEITA)*3
Aprox. 38,5 mm × 115,2 mm × 21,3 mm (1 9/16 × 4 5/8 × 27/32 pulgadas)
Masa (JEITA)*3
Aprox. 72 g (2 1/2 oz) incluyendo dos pilas alcalinas LR03 (tamaño AAA)
*3 Valor medido según el estándar de JEITA (Asociación de Industrias de Electrónica y Tecnología de la Información de Japón)
Características adicionales
Los detalles de estas características adicionales para la grabación, la reproducción y la edición se incluyen en la guía de ayuda.
- MODE (Modo de grabación)
- SENS (Sensibilidad del micrófono)
- LCF (Filtro de corte bajo)
- VOR (Grabación activada por voz)
- REC-OP (Añadir una grabación)
- DPC (Control digital de tono)
- N-CUT (Corte de ruido)
- EASY-S (Búsqueda fácil)
- CONT (Reproducción continua)
- LOCK (Proteger un archivo)
- ALARM (alarma)
- DIVIDE (Dividir un archivo)
Accesorios opcionales
- Micrófono de condensador electret ECM-CS3, ECM-TL3
- Batería recargable NH-AAA-B2KN, NH-AAA-B2EN
- Adaptador de CA USB AC-U50AG (excepto Argentina)
- Cargador compacto y 2 pilas AAA Multi-Use Premium BCG-34HS2KAN, BCG-34HW2KAN (excepto Argentina)
Nota
Dependiendo del país o la región, algunos de los modelos o accesorios opcionales no están disponibles.
No exponga las baterías (paquete de baterías o baterías instaladas) al calor excesivo, como la luz solar, el fuego o similares durante mucho tiempo.
Riesgo de explosión si la batería se reemplaza por un tipo incorrecto. Deseche las baterías usadas de acuerdo con las instrucciones.
© 2014 Sony Corporation
Impreso en China

Referencias
Descargar el manual
Aquí puede descargar la versión PDF completa del manual. Puede contener instrucciones de seguridad adicionales, información de garantía, reglas de la FCC, etc.
Descargar Sony ICD-PX240 - Guía de inicio rápido de la grabadora IC
Clavija (auriculares)
Botón PLAY/ENTER (reproducir/enter) (*)
Botón (revisar/retroceder rápidamente)
Botón (stop) (parar)
Clavija (micrófono) (PLUG IN POWER) (*)
Botón REC/PAUSE (grabar/pausar)
Botón (cue/avance rápido)
Conector (USB)



o
para establecer el año (los dos últimos dígitos del año) y, a continuación, pulse
PLAY/ENTER (reproducir/enter). Repita este procedimiento para establecer el mes, el día, la hora y los minutos en secuencia.
REC/PAUSE (grabar/pausar).
Puede pausar la grabación pulsando
REC/PAUSE (grabar/pausar). Pulse
(stop) (parar) para detener la grabación.
PLAY/ENTER (reproducir/enter).
(USB) de la grabadora IC con el puerto USB de un ordenador en funcionamiento con el cable de conexión USB suministrado insertado en los puertos de forma segura hasta que cada enchufe se detenga al final.
[FOR WINDOWS] (para Windows).