Godox TT350C - Flash d'appareil photo TTL Thinklite pour Canon Manuel
- 1 Nom des pièces
- 2 Contenu de la boîte du TT350C
- 3 Fixation à un appareil photo
- 4 Gestion de l'alimentation
- 5 Mode Flash : Flash automatique TTL
- 6 M : Flash manuel
-
7
Multi: Flash stroboscopique
- 7.1 Prise de vue avec flash sans fil : Transmission radio (2.4G)
- 7.2 Paramètres sans fil
- 7.3 Réglage du mode flash de l'unité de groupe
- 7.4 Flash de l'unité maîtresse DÉSACTIVÉ
- 7.5 Réglage du canal de communication
- 7.6 TTL : Prise de vue avec flash sans fil entièrement automatique
- 7.7 M : Prise de vue avec flash sans fil en mode manuel
- 7.8 Multi : Prise de vue flash sans fil avec flash manuel
- 8 Autres applications
- 9 C.Fn : Réglage des fonctions personnalisées
- 10 Fonction de protection
- 11 Mise à niveau du firmware
- 12 Données techniques
- 13 Dépannage
- 14 Modèles d'appareils photo compatibles
- 15 Maintenance
- 16 Avertissement FCC
- 17 Télécharger le manuel
- 18 Dans d'autres langues

Nom des pièces
Corps

- Panneau réflecteur
- Panneau diffuseur intégré
- Tête de flash
- Capteur de contrôle optique
- Faisceau d'assistance à la mise au point
- Griffe porte-accessoire
- Écran LCD
- Bague de verrouillage
- Compartiment à piles/batteries
- Port USB
Panneau de commande

- <MODE> Bouton de sélection de mode (Mode Selection Button)
- <ZOOM> Bouton de sélection du zoom (Zoom Selection Button)
- <SYNC> Bouton de synchronisation haute vitesse (High-Speed Sync Button)
- <SLAVE> Bouton de sélection du déclenchement esclave optique S1/S2 (S1/S2 Optic Slave Triggering Selection Button)
(en mode non sans fil) - <
> Interrupteur d'alimentation (Power Switch) - <
> Bouton Test / Indicateur de flash prêt (Test Button / Flash Ready Indicator). - <C.Fn> Bouton de réglage des fonctions personnalisées (Custom Function Setting Button)
(bouton réutilisable, appuyer longuement pendant 2 secondes) - <
> Bouton de sélection sans fil (Wireless Selection Button)
(bouton réutilisable, appuyer longuement pendant 2 secondes) - <GR/CH> Bouton Groupe/Canal (Group/Channel Button)
(bouton réutilisable, en mode sans fil) - Molette de sélection
- <SET> Bouton Valider (Set Button)
Écran LCD


Contenu de la boîte du TT350C
- Unité de flash
- Mini support
- Étui de protection
- Diffuseur
- Manuel d'instructions
● Accessoires vendus séparément
Le produit peut être utilisé en combinaison avec les accessoires suivants vendus séparément, afin d'obtenir les meilleurs effets photographiques : déclencheur de flash sans fil X1T-C, mini boîte à lumière, réflecteur blanc et argenté, grille nid d'abeille, gels de couleur, snoot, etc.

Fixation à un appareil photo
- Fixez le flash de l'appareil photo.
- Insérez complètement le sabot de fixation du flash de l'appareil photo dans la griffe porte-accessoire de l'appareil.
![]()
- Fixez le flash de l'appareil photo.
- Faites pivoter la bague de verrouillage sur le sabot de fixation jusqu'à ce qu'elle soit bloquée.
![]()
- Détachez le flash de l'appareil photo.
- Faites pivoter la bague de verrouillage sur le sabot de fixation jusqu'à ce qu'elle soit desserrée.
![]()
Gestion de l'alimentation
Utilisez l'
interrupteur d'alimentation pour allumer (appuyez longuement sur le bouton pendant une seconde) ou éteindre le flash. Éteignez-le s'il ne doit pas être utilisé pendant une période prolongée. En mode flash maître, il s'éteindra automatiquement après une certaine période (environ 90 secondes) d'inactivité. Appuyer à mi-course sur le déclencheur de l'appareil photo ou sur n'importe quel bouton du flash réactivera le flash. En mode flash esclave, il entrera en mode veille après une certaine période (réglable, 60 minutes par défaut) d'inactivité. Appuyer sur n'importe quel bouton du flash le réactivera.
C.Fn Il est recommandé de désactiver la fonction d'extinction automatique lorsque le flash est utilisé hors de l'appareil photo. (C.Fn-ST)
Mode Flash : Flash automatique TTL
Ce flash dispose de trois modes de flash : TTL, Manuel (M) et Multi (Stroboscopique). En mode TTL, l'appareil photo et le flash collaborent pour calculer l'exposition correcte pour le sujet et l'arrière-plan. Dans ce mode, plusieurs fonctions TTL sont disponibles : FEC, HSS, synchronisation sur le second rideau, etc.
* Appuyez sur le bouton de sélection de mode <MODE> (Mode Selection Button) et les trois modes de flash s'afficheront sur l'écran LCD un par un à chaque pression.
Mode TTL
Appuyez sur le bouton de sélection de mode <MODE> (Mode Selection Button) pour entrer en mode TTL. L'écran LCD affichera <TTL>.
- Appuyez à mi-course sur le déclencheur de l'appareil photo pour faire la mise au point.
- Lorsque le déclencheur est complètement enfoncé, le flash émettra un pré-éclair que l'appareil photo utilisera pour calculer l'exposition et la puissance du flash l'instant avant que la photo ne soit prise.
Affichage "HI" (Élevé) : Lorsque la valeur de puissance du flash atteint la valeur maximale, "HI" s'affiche et clignote pendant 3 secondes. Ajustez les paramètres de l'appareil photo si une sous-exposition apparaît.
Affichage "Lo" (Faible) : Lorsque la valeur de puissance du flash atteint la valeur minimale, "Lo" s'affiche et clignote pendant 3 secondes. Ajustez les paramètres de l'appareil photo si une surexposition apparaît.
FEC : Compensation d'exposition au flash
Avec la fonction FEC, ce flash peut être ajusté de -3 à +3 par incréments de 1/3 de diaphragme. C'est utile dans les situations où un ajustement mineur du système TTL est nécessaire en fonction de l'environnement.
Réglage de la FEC :
- Appuyez sur le bouton SET (Valider) et la valeur de compensation d'exposition au flash MODE ZOOM SYNC SLAVE sera mise en surbrillance sur l'écran LCD.
![]()
- Tournez la molette de sélection pour régler la valeur.
![]()
- "0.3" signifie un pas de 1/3,
"0.7" signifie un pas de 2/3. - Pour annuler la compensation d'exposition au flash, réglez la valeur sur "+0".
- Appuyez à nouveau sur le bouton <SET> (Valider) pour confirmer le réglage.
![]()
Synchronisation haute vitesse
La synchronisation haute vitesse (flash FP) permet au flash de se synchroniser avec toutes les vitesses d'obturation de l'appareil photo. C'est pratique lorsque vous souhaitez utiliser la priorité à l'ouverture pour des portraits avec flash d'appoint.
Choisissez le bouton <
> :
Appuyez sur le bouton <SYNC> (Synchronisation) pour activer la fonction de synchronisation haute vitesse.
- Avec la synchronisation haute vitesse, plus la vitesse d'obturation est rapide, plus la portée effective du flash est courte.
- Le mode flash multiple ne peut pas être réglé en mode de synchronisation haute vitesse.
- La protection contre la surchauffe peut être activée après 15 éclairs consécutifs en synchronisation haute vitesse.
- Essayez d'éviter d'utiliser le flash en synchronisation haute vitesse, car cela réduirait la durée de vie du tube flash.
Synchronisation sur le second rideau
Avec une vitesse d'obturation lente, vous pouvez créer un traînée lumineuse suivant le sujet. Le flash se déclenche juste avant que l'obturateur ne se ferme.
- Appuyez sur le bouton <SYNC> (Synchronisation) puis l'icône <
> s'affiche sur le panneau. Le flash sera sans fonction de synchronisation sur le second rideau en mode Multi et en mode sans fil.
M : Flash manuel
La puissance du flash est réglable de 1/1 (pleine puissance) à 1/128 de puissance par incréments de 1/3 de diaphragme. Pour obtenir une exposition au flash correcte, utilisez un posemètre de flash portable pour déterminer la puissance de flash requise.
- Appuyez sur le bouton <MODE> (Mode) pour que <M> s'affiche.
- Tournez la molette de sélection pour choisir la puissance de flash souhaitée. En mode de synchronisation haute vitesse
, la plage de puissance du flash réglable est de 1/16~1/1.
Plage de puissance du flash
Le tableau suivant facilite la visualisation des changements de diaphragme (f/stop) lorsque vous augmentez ou diminuez la puissance du flash. Par exemple, lorsque vous diminuez la puissance du flash à 1/2, 1/2-0.3, ou 1/2-0.7, puis que vous augmentez la puissance du flash à plus de 1/2, 1/2+0.3, 1/2+0.7, et 1/1 s'afficheront.

En mode M, les fonctions de synchronisation haute vitesse
et de synchronisation sur le second rideau peuvent être réalisées.
Réglage de l'unité secondaire optique S1
En mode flash manuel M, appuyez sur le bouton <SLAVE> (Esclave) pour que ce flash puisse fonctionner comme un flash secondaire optique S1 avec capteur optique. Avec cette fonction, le flash se déclenchera de manière synchrone lorsque le flash principal se déclenche, produisant le même effet que l'utilisation de déclencheurs radio. Cela aide à créer de multiples effets d'éclairage.
Réglage de l'unité secondaire optique S2
Appuyez sur le bouton <SLAVE> (Esclave) pour que ce flash puisse également fonctionner comme un flash secondaire optique S2 avec capteur optique en mode flash manuel M. Ceci est utile lorsque les appareils photo ont une fonction de pré-flash. Avec cette fonction, le flash ignorera un "preflash" (pré-éclair) unique du flash principal et ne se déclenchera qu'en réponse au deuxième éclair, le flash réel, de l'unité principale.
- Le déclenchement optique S1 et S2 et le mode haute vitesse hors caméra ne sont disponibles qu'en mode flash manuel M.
Multi: Flash stroboscopique
Avec le flash stroboscopique, une série rapide de flashes est émise. Il peut être utilisé pour capturer plusieurs images d'un sujet en mouvement sur une seule photographie. Vous pouvez régler la fréquence d'émission (nombre de flashes par seconde, exprimée en Hz), le nombre de flashes et la puissance du flash.
- Appuyez longuement sur le bouton <MODE> (Mode) pendant 2 secondes afin que <Multi> (Multi) s'affiche.
![]()
- Tournez la molette de sélection pour choisir la puissance de flash souhaitée.
- Réglez la fréquence et le nombre de flashes.
![]()
- Appuyez sur le bouton SET (Régler) pour sélectionner la fréquence du flash. Tournez la molette de sélection pour régler le nombre.
- Appuyez à nouveau sur le bouton SET (Régler) pour sélectionner le nombre de flashes. Tournez la molette de sélection pour régler le nombre.
Calcul de la vitesse d'obturation
Pendant le flash stroboscopique, l'obturateur reste ouvert jusqu'à ce que l'émission s'arrête. Utilisez la formule ci-dessous pour calculer la vitesse d'obturation et la régler avec l'appareil photo.
Nombre de flashes / Fréquence du flash = Vitesse d'obturation
Par exemple, si le nombre de flashes est de 10 et la fréquence d'émission est de 5 Hz, la vitesse d'obturation doit être d'au moins 2 secondes.
Pour éviter la surchauffe et la détérioration de la tête du flash, n'utilisez pas le flash stroboscopique plus de 10 fois de suite. Après 10 utilisations, laissez le flash de l'appareil photo reposer pendant au moins 15 minutes. Si vous tentez d'utiliser le flash stroboscopique plus de 10 fois de suite, l'émission pourrait s'arrêter automatiquement pour protéger la tête du flash. Si cela se produit, laissez le flash de l'appareil photo reposer pendant au moins 15 minutes.
- Le flash stroboscopique est plus efficace avec un sujet très réfléchissant sur un fond sombre.
- L'utilisation d'un trépied et d'une télécommande est recommandée.
- Le flash stroboscopique peut être utilisé avec "buLb" (mode pose longue).
- Si le nombre de flashes est affiché comme "--", l'émission continuera jusqu'à ce que l'obturateur se ferme ou que la batterie soit épuisée. Le nombre de flashes sera limité comme indiqué dans le tableau suivant.
Flashes stroboscopiques maximum :
| Puissance du flash\Hz | 1 | 2 | 3 | 4 | 5 | 6-7 | 8-9 | 10-19 | 20-50 | 60-90 |
| 1/4 | 6 | 3 | 2 | 2 | 2 | 2 | 2 | 2 | 2 | 2 |
| 1/8 | 14 | 14 | 6 | 4 | 3 | 3 | 3 | 2 | 2 | 2 |
| 1/16 | 30 | 30 | 30 | 20 | 10 | 8 | 5 | 3 | 3 | 3 |
| 1/32 | 60 | 60 | 60 | 50 | 50 | 40 | 12 | 5 | 5 | 5 |
| 1/64 | 90 | 90 | 90 | 80 | 80 | 70 | 60 | 20 | 10 | 10 |
| 1/128 | 90 | 90 | 90 | 90 | 90 | 90 | 80 | 70 | 30 | 20 |
Prise de vue avec flash sans fil : Transmission radio (2.4G)
- Vous pouvez configurer trois groupes d'esclaves pour la prise de vue avec flash automatique TTL. Avec le flash automatique TTL, vous pouvez facilement créer divers effets d'éclairage.
- Tous les paramètres de flash pour les unités esclaves sur le flash maître en mode TTL seront automatiquement envoyés aux unités esclaves. Ainsi, la seule chose que vous avez à faire est de configurer l'unité maîtresse pour chaque groupe d'esclaves sans aucune opération sur les unités esclaves pendant la prise de vue.
- Ce flash peut fonctionner en modes flash TTL /M /Multi / OFF (Désactivé) lorsqu'il est configuré comme unité maîtresse.
Lors de l'utilisation du système Godox 2.4G wireless X, le TT350C est parfaitement compatible avec les autres produits de notre entreprise. En tant qu'unité maîtresse, le TT350C peut contrôler les modèles d'unités esclaves suivants : AD600, AD600M, AD360II-C, AD360II-N, V860IIC, V850II, TT685C, TT600.
En tant qu'unité esclave, le TT350C peut être contrôlé par les modèles d'unités maîtresse suivants : X1T-C, V860IIC, V850II, TT685C, TT600.
- Même avec plusieurs unités esclaves, l'unité maîtresse peut toutes les contrôler via le sans fil.
- Dans ce manuel d'utilisation, "unité maîtresse" fait référence au flash d'appareil photo sur un appareil photo et "unité esclave" sera contrôlée par l'unité maîtresse.
Paramètres sans fil
Vous pouvez basculer entre le flash normal et le flash sans fil. Pour la prise de vue avec flash normal, assurez-vous de régler le paramètre sans fil sur OFF (Désactivé).
Réglage de l'unité maîtresse
- Appuyez longuement sur le bouton <SYNC> pendant 2 secondes pour que <
> clignote. Tournez la molette de sélection jusqu'à ce que <
> s'affiche sur le panneau LCD, ce qui signifie l'unité maîtresse.
![]()
Réglage de l'unité esclave
- Appuyez longuement sur le bouton <SYNC> pendant 2 secondes pour que <
> clignote. Tournez la molette de sélection jusqu'à ce que <
> s'affiche sur le panneau LCD, ce qui signifie l'unité esclave.
![]()
Réglage du mode flash de l'unité de groupe
- Appuyez sur le bouton <SLAVE> pour choisir le groupe parmi A/B/C.
Ensuite, appuyez sur le bouton <MODE> pour que l'unité maîtresse puisse fonctionner en mode flash OFF (Désactivé) / TTL / M. Choisissez l'un d'eux comme mode flash de l'unité maîtresse.
![]()
- Appuyez sur le bouton <MODE> pendant 2 secondes pour passer en mode Multi.
![]()
Flash de l'unité maîtresse DÉSACTIVÉ
- Lorsque le flash est fixé à l'appareil photo, accédez au contrôle du flash externe dans le menu de l'appareil photo.
- Désactivez le flash de contrôle maître sur l'appareil photo. L'icône <
> clignotera sur le panneau du TT350C, et l'unité de contrôle maître du flash sera désactivée. Sélectionnez "activer" pour annuler la désactivation de l'unité de contrôle maître.
![]()
Réglage du canal de communication
S'il y a d'autres systèmes de flash sans fil à proximité, vous pouvez changer les identifiants de canal pour éviter les interférences de signal. Les identifiants de canal de l'unité maîtresse et de l'unité(s) esclave(s) doivent être réglés sur le même.
- Appuyez longuement sur le bouton <SLAVE> pendant 2 secondes jusqu'à ce que les identifiants de canal clignotent. Tournez la molette de sélection pour choisir un identifiant de canal de 1 à 16.
![]()
- Appuyez sur le bouton <SET> pour confirmer.
![]()
TTL : Prise de vue avec flash sans fil entièrement automatique
Prise de vue avec flash automatique avec une seule unité esclave
- Réglage de l'unité maîtresse
![]()
- Fixez un flash d'appareil photo TT350C sur l'appareil photo et configurez-le comme unité maîtresse.
- A/B/C peut être réglé en mode TTL indépendamment.
- Réglage de l'unité esclave
![]()
- Configurez le TT350C à contrôler comme unité esclave sans fil.
- L'unité esclave peut être réglée comme A/B/C.
- Vérifiez le canal de communication
- Si l'unité maîtresse et l'unité(s) esclave(s) sont réglées sur un canal différent, réglez-les sur le même canal.
- Positionnez l'appareil photo et les flashes
- Positionnez l'appareil photo et les flashes comme le montre l'image.
- Vérifiez le fonctionnement du flash
![]()
- Appuyez sur le bouton Test de l'unité maîtresse<
>. - Ensuite, l'unité esclave se déclenchera. Si ce n'est pas le cas, ajustez l'angle de l'unité esclave vers l'unité maîtresse et sa distance par rapport à l'unité maîtresse.
L'unité esclave pourrait être défectueuse ou déclencher un flash indésirable en raison des routeurs Wi-Fi à proximité ou d'autres équipements 2.4G. Dans ce cas, veuillez ajuster le canal du flash ou éteindre les équipements 2.4G.
M : Prise de vue avec flash sans fil en mode manuel
Ceci décrit la prise de vue sans fil (prises multiples) en utilisant le flash manuel. Vous pouvez prendre des photos avec un réglage de puissance de flash différent pour chaque unité esclave (groupe de déclenchement). Réglez tous les paramètres sur l'unité maîtresse.
- Réglage du mode flash sur <M>
![]()
- Appuyez sur le bouton <MODE> pour régler le flash en mode M.
- Réglage de la puissance du flash
- Tournez la molette de sélection pour régler la puissance du flash des groupes.
- Prise de la photo
![]()
- Chaque groupe se déclenche au rapport de flash défini.
Multi : Prise de vue flash sans fil avec flash manuel
- Réglage du flash stroboscopique <Multi>.
![]()
- Appuyez longuement sur le bouton <MODE> pendant 2 secondes pour que <Multi> s'affiche. Appuyez de nouveau longuement sur le bouton <MODE> pendant 2 secondes pour quitter.
- Réglage de la puissance du flash/fréquence du flash/nombre de flashs.
- Réglage de la puissance du flash/fréquence du flash/nombre de flashs dans le groupe A. Réglage du mode multi flash.
- Les groupes B et C peuvent uniquement contrôler le ON/OFF (Activation/Désactivation) de l'unité esclave en appuyant sur le bouton <MODE>.
![]()
L'utilisation d'un flash (maître/esclave) doté d'une fonction de prise de vue sans fil à transmission radio facilite la prise de vue avec un éclairage flash multiple sans fil avancé, de la même manière que la prise de vue flash automatique TTL.
La position relative de base et la portée de fonctionnement sont celles indiquées sur l'image. Vous pouvez ensuite effectuer une prise de vue flash automatique TTL sans fil simplement en réglant l'unité maître sur <TTL>.
Positionnement et portée de fonctionnement de l'unité esclave/maître
- Prise de vue flash automatique avec une seule unité esclave
![Godox - TT350C - Prise de vue flash automatique avec une seule unité esclave Prise de vue flash automatique avec une seule unité esclave]()
- Utilisez le mini-support fourni pour positionner l'unité esclave.
- Avant la prise de vue, effectuez un flash test et une prise de vue test.
- La distance de transmission peut être plus courte en fonction des conditions telles que le positionnement des unités esclaves, l'environnement et les conditions météorologiques.
Prise de vue flash multiple sans fil
Vous pouvez diviser les unités esclaves en deux ou trois groupes et effectuer un flash automatique TTL tout en modifiant le rapport de flash (facteur). De plus, vous pouvez définir et photographier avec un mode flash différent pour chaque groupe de déclenchement, pour un maximum de 3 groupes.
- Prise de vue automatique avec deux groupes d'esclaves
![]()
- Prise de vue automatique avec trois groupes d'esclaves
![]()
Autres applications
Faisceau d'assistance à l'autofocus
Dans les environnements de prise de vue faiblement éclairés ou à faible contraste, le faisceau d'assistance autofocus intégré s'allume automatiquement pour faciliter l'autofocus. Le faisceau ne s'allumera que lorsque l'autofocus est difficile et s'éteindra dès que l'autofocus deviendra correct. Si vous souhaitez désactiver le faisceau d'assistance autofocus, réglez "AF" sur "OFF" dans les paramètres C.Fn.
| Position | Portée effective |
| Centre | 0,6~4 m |
| Périphérie | 0,6~2,5 m |
Flash indirect
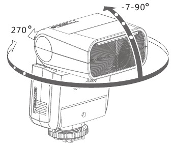
En orientant la tête du flash vers un mur ou un plafond, le flash rebondira sur la surface avant d'illuminer le sujet. Cela peut adoucir les ombres derrière le sujet pour une prise de vue plus naturelle. C'est ce qu'on appelle le flash indirect.
Pour régler la direction du flash indirect, tenez la tête du flash et tournez-la à un angle satisfaisant.

- Si le mur ou le plafond est trop éloigné, le flash indirect pourrait être trop faible et entraîner une sous-exposition.
- Le mur ou le plafond doit être de couleur unie et blanche pour une réflectance élevée. Si la surface de rebond n'est pas blanche, une dominante de couleur peut apparaître sur l'image.
Créer un reflet oculaire
Avec le panneau de reflet oculaire, vous pouvez créer un reflet dans les yeux du sujet pour ajouter de la vie à l'expression faciale.
- Pointez la tête du flash vers le haut de 90°.
![]()
- Tirez le panneau grand-angle. Le panneau de reflet oculaire sortira en même temps.
- Repoussez le panneau grand-angle.
![]()
- Ne poussez que le panneau grand-angle.
- Suivez les mêmes procédures que pour le flash indirect.
- Pointez la tête du flash droit devant, puis vers le haut de 90°. Le reflet oculaire n'apparaîtra pas si vous faites pivoter la tête du flash vers la gauche ou la droite.
- Pour un meilleur effet de reflet oculaire, restez à 1,5 m/4,9 pieds du sujet.
ZOOM : Réglage de la couverture du flash et utilisation du panneau grand-angle
La couverture du flash peut être réglée automatiquement ou manuellement. Elle peut être réglée pour correspondre à la focale de l'objectif de 24 mm à 105 mm. De plus, avec le panneau grand-angle intégré, la couverture du flash peut être étendue pour les objectifs grand-angle de 14 mm.
En mode Zoom manuel, appuyez sur le bouton <ZOOM>.

- Tournez la molette de sélection pour modifier la couverture du flash.
- Si <AU> est affiché, la couverture du flash sera réglée automatiquement.
- Si vous réglez manuellement la couverture du flash, assurez-vous qu'elle couvre la focale de l'objectif afin que l'image n'ait pas de périphérie sombre.
- Lorsque l'indicateur de batterie faible est affiché, le ZOOM ne peut pas être ajusté, il restera constamment à 24 mm.
Utilisation du panneau grand-angle
Tirez le panneau grand-angle et placez-le sur la tête du flash comme indiqué. La couverture du flash sera alors étendue à 14 mm.
- Le panneau de reflet oculaire sortira en même temps. Repoussez le panneau de reflet oculaire.
![]()
- Lorsque vous tirez le panneau grand-angle, le ZOOM restera constamment à 14 mm. Le bouton <ZOOM> ne fonctionnera pas.
Avertissement de batterie faible
Si la batterie est faible, <
> apparaîtra et clignotera sur l'écran LCD. Veuillez remplacer la batterie immédiatement. Lorsque l'indicateur de batterie faible est affiché, le ZOOM ne peut pas être ajusté, il restera constamment à 24 mm.

C.Fn : Réglage des fonctions personnalisées
Le tableau suivant répertorie les fonctions personnalisées disponibles et non disponibles de ce flash.
| C.Fn Fonctions personnalisées | |||
|
Symboles de fonction personnalisée |
Fonction | N° de réglage | Réglages et description |
| ST | Mise en veille automatique | ON | ON |
| OF | OFF | ||
| AF | Faisceau d'assistance AF | ON | ON |
| OF | OFF | ||
| BL | Contrôle du rétroéclairage | 10 sec. | Éteint en 10 sec. |
| OF | Toujours éteint | ||
| ON | Toujours allumé | ||
- Appuyez sur le bouton <ZOOM> pendant 2 secondes jusqu'à ce que le menu C.Fn s'affiche.
- Tournez la molette de sélection pour sélectionner les fonctions personnalisées.
- Appuyez sur le bouton <SET> et le N° de réglage clignote.
- Tournez la molette de sélection pour définir le numéro souhaité. Appuyer sur le bouton <SET> confirmera les réglages.
- Appuyez sur le bouton <ZOOM> pour quitter.
Fonction de protection
- Protection contre la surchauffe
- Pour éviter la surchauffe et la détérioration de la tête du flash, ne déclenchez pas plus de 30 flashs continus en succession rapide à pleine puissance 1/1. Après 30 flashs continus, laissez un temps de repos d'au moins 10 minutes.
- Si vous déclenchez plus de 30 flashs continus, puis d'autres flashs à de courts intervalles, la fonction interne de protection contre la surchauffe peut s'activer et prolonger le temps de recyclage à plus de 10 secondes. Si cela se produit, laissez un temps de repos d'environ 10 minutes, et l'unité de flash reviendra à la normale.
- Lorsque la protection contre la surchauffe est activée,
est affiché sur l'écran LCD.
Nombre de flashs qui activeront la protection contre la surchauffe :
| Niveau de puissance de sortie | Nombre de flashs |
| 1/1 | 30 |
| 1/2 +0,7 | 40 |
| 1/2 +0,3 | 50 |
| 1/2 | 60 |
| 1/4(+0,3,+0,7) | 100 |
| 1/8(+0,3,+0,7) | 200 |
| 1/16(+0,3,+0,7) | 300 |
| 1/32(+0,3,+0,7) | 500 |
| 1/64(+0,3,+0,7) | 1000 |
| 1/128(+0,3,+0,7) |
Nombre de flashs qui activeront la protection contre la surchauffe en mode de déclenchement synchronisation haute vitesse :
| Puissance de sortie | Nombre de déclenchements |
| 1/1 | 15 |
| 1/2(+0,3,+0,7); | 20 |
| 1/4(+0,3,+0,7) | 30 |
| 1/8(+0,3,+0,7); | |
| 1/16(+0,3,+0,7) | 40 |
- Autres protections
Le système offre une protection en temps réel pour sécuriser l'appareil et votre sécurité. La liste suivante présente des invites pour votre référence :
| Messages sur l'écran LCD | Signification |
| E1 |
Une panne se produit sur le système de recyclage de sorte que le flash ne peut pas se déclencher. Veuillez redémarrer l'unité de flash. Si le problème persiste, veuillez envoyer ce produit à un centre de maintenance. |
| E3 |
La tension sur les deux sorties du tube flash est trop élevée. Veuillez envoyer ce produit à un centre de maintenance. |
| E9 |
Des erreurs se sont produites pendant le processus de mise à niveau. Veuillez utiliser la méthode de mise à niveau du firmware correcte. |
Mise à niveau du firmware
Ce flash prend en charge la mise à niveau du firmware via le port USB. Les informations de mise à jour seront publiées sur notre site Web officiel.
Le câble de connexion USB n'est pas inclus avec ce produit. Le port USB est une prise Micro USB standard. Un câble de connexion USB courant est applicable.
Vérification de la version : Appuyez sur le bouton <MODE> et allumez le flash. Ensuite, la version de mise à jour du firmware (par exemple, la version 1.0 affichera U-1.0) sera affichée sur l'écran LCD.
Données techniques
| Modèle | TT350C |
|
|
| Appareils photo compatibles | Veuillez vous référer aux modèles d'appareils photo compatibles |
|
Nombre guide (sortie 1/1 @ 105mm) |
36 (m ISO 100) |
| Couverture du flash | 24 à 105 mm |
|
|
|
|
|
|
| Durée du flash (t0.1) | 1/350 à 1/20000 secondes |
|
|
| Système de contrôle de l'exposition | Flash automatique TTL et flash manuel |
| Correction d'exposition au flash (FEC) |
Manuel. FEB : ±3 diaph. par incréments de 1/3 de diaph. (La FEC manuelle peut être combinée.) |
| Mode de synchronisation | Synchronisation haute vitesse (jusqu'à 1/8000 secondes), synchronisation sur le premier rideau et synchronisation sur le second rideau |
| Flash multiple | Fourni (jusqu'à 90 fois, 90Hz) |
|
|
| Fonction flash sans fil | Maître, Esclave, Arrêt |
| Groupes esclaves contrôlables | 3 (A, B et C) |
|
Portée de transmission (approx.) |
≤30m |
| Canaux | 16 (1~16) |
|
|
| Portée effective (approx.) | Centre : 0,6~4 m |
| Périphérie : 0,6~2,5 m | |
|
|
| Piles AA | Piles Ni-MH (recommandées) ou 2 piles alcalines LR6 |
| Temps de recyclage | Approx. 0,1-2,2 secondes (piles Ni-MH eneloop de Panasonic). Le témoin LED rouge s'allume lorsque le flash est prêt. |
| Flashs à pleine puissance | Approx. 210 (piles Ni-MH 2500mA) |
| Économie d'énergie | Arrêt automatique après env. 90 secondes d'inactivité. (60 minutes si réglé en mode esclave) |
|
Griffe porte-accessoire, déclenchement optique |
|
|
| L x H x P | 140*62*38 mm |
| Poids sans batterie | 200g |
Dépannage
En cas de problème, veuillez consulter ce Guide de dépannage.
Le flash de l'appareil photo ne peut pas être chargé.
- La batterie est installée dans le mauvais sens.
→Installez la batterie dans le bon sens. - La batterie interne du flash de l'appareil photo est épuisée.
→Si <
> apparaît et clignote sur l'écran LCD, remplacez immédiatement la batterie.
Le flash de l'appareil photo ne se déclenche pas.
- Le flash de l'appareil photo n'est pas solidement fixé à l'appareil photo.
→Fixez solidement le pied de montage du flash à l'appareil photo. - Les contacts électriques du flash et de l'appareil photo sont sales.
→Nettoyez les contacts.
L'alimentation s'éteint d'elle-même.
- Après 90 secondes d'inactivité, la mise hors tension automatique s'est activée si le flash est réglé en mode maître.
→Appuyez à mi-course sur le bouton de l'obturateur ou appuyez sur n'importe quel bouton du flash pour le réactiver. - Après 60 minutes d'inactivité, l'unité de flash passe en mode veille si elle est réglée en mode esclave.
→Appuyez sur n'importe quel bouton du flash pour le réactiver.
Le zoom automatique ne fonctionne pas.
- Le flash de l'appareil photo n'est pas solidement fixé à l'appareil photo.
→Fixez le pied de montage du flash à l'appareil photo.
L'exposition au flash est sous-exposée ou sur-exposée.
- Vous avez utilisé la synchronisation haute vitesse.
→Avec la synchronisation haute vitesse, la portée effective du flash sera plus courte. Assurez-vous que le sujet se trouve dans la portée effective du flash affichée. - Vous avez utilisé le mode Flash manuel.
→Réglez le mode flash sur TTL ou modifiez la puissance du flash.
Les photos ont des coins sombres ou seules des parties du sujet cible sont illuminées.
- La distance focale de l'objectif dépasse la couverture du flash.
→Vérifiez la couverture du flash que vous avez définie. Cette unité de flash a une couverture de flash entre 24 et 105 mm, ce qui convient aux appareils photo moyen format. Tirez le diffuseur grand-angle pour étendre la couverture du flash.
Modèles d'appareils photo compatibles
Cette unité de flash peut être utilisée sur les modèles d'appareils photo Canon suivants :
| 5D Mark III | 80D | 7D | 760D | 60D | 600D | 30D | 100D | 1100D | Digital X |
Ce tableau répertorie uniquement les modèles d'appareils photo testés, pas toutes les séries d'appareils photo Canon. Pour la compatibilité avec d'autres modèles d'appareils photo, un auto-test est recommandé. Les droits de modification de ce tableau sont réservés.
Maintenance
- Arrêtez immédiatement l'appareil en cas de fonctionnement anormal.
- Évitez les chocs brusques et le produit doit être dépoussiéré régulièrement.
- Il est normal que le tube éclair soit chaud lors de l'utilisation. Évitez les flashes continus si ce n'est pas nécessaire.
- L'entretien du flash doit être effectué par notre service de maintenance agréé qui peut fournir des accessoires d'origine.
- Ce produit, à l'exception des consommables comme le tube éclair, est couvert par une garantie d'un an.
- Un service non autorisé annulera la garantie.
- Si le produit a eu des pannes ou a été mouillé, ne l'utilisez pas tant qu'il n'a pas été réparé par des professionnels.
- Les modifications apportées aux spécifications ou aux conceptions peuvent ne pas être reflétées dans ce manuel.
Avertissement FCC
Tout changement ou modification non expressément approuvé par la partie responsable de la conformité pourrait annuler l'autorité de l'utilisateur à utiliser l'équipement. Cet appareil est conforme à la partie 15 des règles de la FCC. Le fonctionnement est soumis aux deux conditions suivantes :
- Cet appareil ne doit pas causer d'interférences nuisibles, et
- cet appareil doit accepter toute interférence reçue, y compris les interférences pouvant entraîner un fonctionnement indésirable.
Déclaration de la FCC concernant l'exposition aux radiations :
Cet équipement est conforme aux limites d'exposition aux radiations de la FCC établies pour un environnement non contrôlé. Cet émetteur ne doit pas être co-localisé ou fonctionner en conjonction avec toute autre antenne ou émetteur.
Télécharger le manuel
Ici, vous pouvez télécharger la version PDF complète du manuel. Elle peut contenir des instructions de sécurité supplémentaires, des informations de garantie, des règles de la FCC, etc.
Télécharger Godox TT350C - Flash d'appareil photo TTL Thinklite pour Canon Manuel






















>.








