Manuale Electrolux ZANUSSI ZWC 1300W
- 1 La tua nuova lavatrice
- 2 Descrizione dell'apparecchio
- 3 Suggerimenti e consigli
- 4 Quale detersivo?
- 5 E in quale forma?
- 6 Tabella dei programmi
- 7 Utilizzo dell'apparecchio
- 8 Manutenzione e pulizia
- 9 Qualcosa non funziona
- 10 Assistenza
- 11 Specifiche tecniche
- 12 Disimballaggio della macchina
- 13 Installazione
- 14 Installazione elettrica
- 15 Informazioni importanti sulla sicurezza
- 16 Riferimenti
- 17 Scarica manuale
- 18 In altre lingue
La tua nuova lavatrice
La tua nuova lavatrice soddisfa tutti i requisiti moderni per un trattamento efficace del bucato con un basso consumo di acqua, energia e detersivo.
- Il selettore di programma combina la funzione di selezione del programma e della temperatura, facilitando l'impostazione del programma.
- Il display di avanzamento del programma mostra la fase corrente del programma selezionato.
- Il raffreddamento automatico dell'acqua di lavaggio da 90 °C a 60 °C prima dello scarico ridurrà lo shock termico sui tessuti, contribuendo a prevenire le pieghe.
- Lo speciale programma lana con il suo nuovo sistema di lavaggio delicato tratta i tuoi capi in lana con estrema cura.
- Il sistema di rilevamento dello sbilanciamento rileva e previene le vibrazioni causate da una distribuzione errata del bucato durante il ciclo di centrifuga.
- La valvola ECO consente il pieno utilizzo del detersivo e consente di risparmiare energia grazie al minor consumo di acqua.
Descrizione dell'apparecchio
Parte frontale della macchina

Parte posteriore della macchina

Pannello di controllo

- Dosatore del detersivo
Con scomparti separati per detersivo e ammorbidente. Il detersivo viene versato nello scomparto più grande a sinistra contrassegnato dal simbolo
e l'ammorbidente in quello più piccolo a destra contrassegnato dal simbolo
.
Il detersivo per il prelavaggio deve essere aggiunto direttamente nel cestello.
Pulsanti di opzione del programma
A seconda del programma, è possibile combinare diverse funzioni. Devono essere selezionati dopo aver scelto il programma richiesto e prima di premere il pulsante Start/Pause (Avvia/Pausa).
Quando uno qualsiasi di questi pulsanti viene premuto, la spia corrispondente si accende. Quando viene premuto di nuovo, la spia si spegne.
Se viene selezionata un'opzione errata, la spia corrispondente lampeggia per circa 2 secondi.
- Pulsante "Quick" (Rapido) e "Daily" (Quotidiano)
Se si preme questo pulsante, è possibile scegliere tra 2 diverse opzioni. La spia corrispondente si accende.- Daily (Quotidiano): Programma breve per bucato bianco/colorato e sintetico leggermente sporco. Il tempo di lavaggio sarà ridotto di circa 10 minuti. Temperatura massima consigliata 60 °C.
- Quick (Rapido): Programma molto breve per bucato leggermente sporco, ad eccezione della lana. Il tempo di lavaggio sarà ridotto di circa 30 minuti per il cotone e di 20 minuti per i sintetici. La macchina eseguirà 1 risciacquo in meno.
Queste opzioni non possono essere scelte insieme al programma economy 60E. Il tempo di lavaggio sarà ridotto a seconda del tipo di materiale e della temperatura selezionata. Il carico consigliato per il cotone è di 2 kg.
- Pulsante "Pre wash" (Prelavaggio)
Se il bucato è molto sporco, è possibile scegliere un programma con prelavaggio. Prima del lavaggio principale, la macchina esegue quindi un prelavaggio fino a 30 °C. Il tempo di lavaggio sarà prolungato di circa 20 minuti.
Il prelavaggio termina con una breve centrifuga nei programmi per cotone e bucato sintetico. Nel programma per bucato delicato l'acqua viene solo scaricata.
L'opzione prelavaggio non è disponibile per il programma lana.
- Pulsante "Super Rinse" (Super Risciacquo)
Premendo questo pulsante, la macchina eseguirà 2 risciacqui aggiuntivi. Può essere utilizzato con tutti i programmi tranne che per la lana.
Consigliato per persone con pelle sensibile o in zone con acqua molto dolce.
- Pulsante "Start/Pause" (Avvia/Pausa)
Questo pulsante ha due funzioni:
Start (Avvia): Premere il pulsante per avviare il programma richiesto. La spia corrispondente è accesa. La spia "Door" (Porta) nel display di avanzamento del programma è accesa e la porta è bloccata.
Pause (Pausa): Per interrompere un programma in esecuzione, premere il pulsante. La spia corrispondente inizia a lampeggiare. Per continuare il programma, premere di nuovo il pulsante. - Pulsante "Delay Start" (Partenza Ritardata)
Questo pulsante consente di ritardare l'avvio del programma di lavaggio di 8, 4 o 2 ore. Il ritardo selezionato è indicato dall'illuminazione della luce corrispondente.
È necessario selezionare questa opzione dopo aver impostato il programma e prima di premere il pulsante Start/Pause (Avvia/Pausa).
Se è già stato premuto il pulsante Start/Pause (Avvia/Pausa) e si desidera annullare il tempo di ritardo, procedere come segue:
- Impostare la lavatrice su Pause (Pausa) premendo il pulsante Start/Pause (Avvia/Pausa).
- Premere il pulsante Delay (Ritardo) una volta, la luce relativa al ritardo selezionato si spegne.
- Premere di nuovo il pulsante Start/Pause (Avvia/Pausa).
- Il ritardo selezionato può essere modificato solo dopo aver selezionato di nuovo il programma di lavaggio.
- La porta sarà bloccata per tutto il tempo di ritardo (spia porta bloccata accesa).
L'avvio ritardato non può essere selezionato con i programmi "Spin" (Centrifuga)
e "Drain" (Scarico)
.
- Display di avanzamento del programma
Quando si sceglie l'avvio ritardato, si accende la luce relativa al ritardo selezionato.
Dopo che la macchina è stata avviata, il tempo rimanente viene visualizzato dalla spia corrispondente.
![]()
washing (lavaggio): la spia si accende quando la macchina sta eseguendo la fase di lavaggio (lavaggio principale). Se hai scelto l'opzione "Pre wash" (Prelavaggio) premendo quel pulsante, la spia sarà accesa anche durante la fase di prelavaggio. end (fine): fine del programma.
door (porta): la luce indica se la porta può essere aperta:- la spia è accesa: la porta non può essere aperta
- la spia è spenta: la porta può essere aperta
- la luce lampeggia: la porta può essere aperta a breve
- Spin speed or function (Velocità o funzione di centrifuga)
Con questo selettore è possibile ridurre la velocità di centrifuga finale o selezionare l'opzione
"No spin" (Nessuna centrifuga). Le velocità vengono applicate per i programmi "white-" (bianchi) e "coloured" (colorati). - La posizione 1300 equivale a 900 giri/min per i programmi sintetici e lana e 700 giri/min per il programma di lavaggio delicato.
- La posizione 500 equivale a 500 giri/min per i programmi sintetici e lana e 450 giri/min per il programma di lavaggio delicato.
"No spin" (Nessuna centrifuga), selezionando questa opzione vengono escluse tutte le fasi di centrifuga. Da utilizzare per materiali estremamente delicati. La macchina aggiungerà 3 risciacqui extra ai programmi per cotone e 1 risciacquo extra ai programmi sintetici.
"Rinse Hold" (Arresto Risciacquo), quando si seleziona questa posizione l'acqua dell'ultimo risciacquo non viene scaricata per evitare che il bucato si sgualcisca. Le spie "End" (Fine) e "Door" (Porta) sul display di avanzamento del programma sono accese quando il programma è terminato e indicano che l'acqua deve essere scaricata prima che la porta possa essere aperta.
Per scaricare l'acqua:
- Ruotare il selettore del programma sulla posizione "Reset"
. - Scegliere il programma "Drain" (Scarico)
o "Spin" (Centrifuga)
.È possibile ridurre la velocità di centrifuga ruotando il selettore. - Premere il pulsante Start/Pause (Avvia/Pausa).
- Ruotare il selettore del programma sulla posizione "Reset"
- Selettore del programma
Il selettore è diviso in 5 sezioni:
- Cotone
- Sintetico
- Delicati
- Lana
- Programmi speciali
Ruotare il selettore del programma in senso orario o antiorario per selezionare il programma e la temperatura in base all'etichetta di cura, o uno dei programmi speciali.
= freddo, l'acqua non viene riscaldata
= resetta, annulla il programma, spegne la macchina.
Se si ruota il selettore del programma su un altro programma quando la macchina è in funzione, le luci nel display di avanzamento del programma iniziano a lampeggiare. La macchina non eseguirà il nuovo programma selezionato.
Al termine del programma, il selettore del programma deve essere riportato in posizione di reset.
Suggerimenti e consigli
Per risultati di lavaggio ottimali
- Caricare il bucato in modo lasco alternando capi grandi e piccoli.
- Ordinare il bucato in base al tipo di tessuto, alla solidità del colore e al grado di sporco.
- I capi bianchi non devono essere lavati con capi colorati.
- Lavare separatamente i nuovi capi colorati al primo lavaggio.
- Trattare le macchie come vernice, inchiostro, ruggine ed erba prima del lavaggio.
- Evitare di lavare articoli sfilacciati o strappati.
- Quando si lavano tessuti che richiedono temperature di lavaggio diverse, selezionare sempre la temperatura più bassa.
- Pesare il bucato le prime volte che si utilizza l'apparecchio.
I pesi medi degli articoli più comuni sono elencati di seguito a titolo di guida:
1000g = 1kg
| Lenzuolo | 700-1000 g |
| Federa | 100-200 g |
| Tovaglia | 400-500g |
| Tovagliolo | 50-100 g |
| Strofinaccio | 70-120 g |
| Asciugamano di lino | 100-150 g |
| Asciugamano di spugna | 150-250 g |
| Asciugamano da bagno di spugna | 700-1000 g |
| Accappatoio | 1000-1500 g |
| Camicia da uomo | 200-300 g |
| Grembiule | 150-200 g |
Sempre:
- Svuotare le tasche.
- Assicurarsi che bottoni e cerniere siano allacciati.
- Consultare l'etichetta di manutenzione sul capo. Lavare solo i tessuti progettati per essere lavati in lavatrice.
- Collocare piccoli oggetti come calze, lacci, fazzoletti ecc. in una sacca per il lavaggio o in una federa, poiché è possibile che tali oggetti scivolino tra la vasca e il cestello interno.
Articoli che non devono essere messi in lavatrice:
- Reggiseni con ferretto.
- Capi che sono stati a contatto con prodotti volatili o a base di petrolio.
- Alcuni piumoni e trapunte devono essere lavati in grandi macchine commerciali. Verificare con il produttore dell'articolo.
Aiuta l'ambiente: ![]()
Per risparmiare acqua, energia e contribuire a proteggere l'ambiente.
- Non utilizzare il prelavaggio per il bucato normalmente sporco.
- Lavare a pieno carico.
- Pretrattare le macchie e quindi lavare a una temperatura più bassa.
- Utilizzare solo le quantità consigliate di detersivo e ammorbidente.
Etichettatura di manutenzione dei tessili
Questi sono i simboli più comuni utilizzati su indumenti e tessuti, oltre a brevi spiegazioni.

Quale detersivo?
Per garantire di ottenere i migliori risultati di lavaggio dal tuo apparecchio, è importante utilizzare il detersivo giusto nel tuo lavaggio quotidiano e solo i detersivi raccomandati per l'uso in macchine automatiche.
Per mantenere l'aspetto dei tuoi vestiti e dei tessili per la casa e farli durare più a lungo, dovresti usare diversi tipi di detersivo per diversi lavaggi, sia per i bianchi, i colori o i delicati.
Bianchi
Raccomandiamo la gamma di prodotti Ariel che è biologica e progettata per fornire un'eccellente pulizia e rimozione delle macchie anche a basse temperature.

Non biologico
Se preferisci utilizzare un detersivo non biologico, che non contiene enzimi, raccomandiamo Fairy. Fairy fornisce una buona pulizia e rimozione delle macchie.

Colorati
Per i capi colorati, è necessario utilizzare un detersivo progettato per pulire mantenendo il colore originale. Ariel Color non contiene candeggina e quindi aiuta a preservare i colori.

Capi delicati
Quando si lavano capi delicati come la lana, è necessario utilizzare un prodotto appositamente progettato per la cura dei tessuti fini. Drefs Automatic è adatto per la lana e altri capi delicati.

Candeggina per bucato
Per una maggiore rimozione delle macchie, si consiglia di utilizzare un prodotto come Ace Gentile Candeggina che viene utilizzato in aggiunta al detersivo scelto. Ace è adatto a tutti i tessuti lavabili, tra cui seta, lana e colorati.
![]()
E in quale forma?
Non solo ci sono diversi tipi di detersivo, ma sono anche disponibili in diverse forme. Se si sceglie una polvere o un liquido in forma tradizionale o compatta dipende dalla scelta personale.
Polveri tradizionali
Versare la polvere direttamente nel cassetto del dispenser. Non spruzzare la polvere sui vestiti nel cestello della macchina.
Liquidi tradizionali
Il liquido può essere posizionato nel vano di lavaggio principale del cassetto del detersivo contrassegnato con il simbolo
, avviare la macchina immediatamente dopo aver posizionato il detersivo nel cassetto del dispenser. In alternativa, il detersivo viene misurato nell'apposito dispositivo di dosaggio che deve essere posizionato sopra il bucato e nella parte posteriore del cestello della macchina.
Polveri e liquidi compatti
I detersivi compatti (o concentrati come sono anche conosciuti) sono disponibili in forma liquida o in polvere e generalmente richiedono un dosaggio inferiore. Seguire le istruzioni del produttore per garantire l'uso più economico.
Versare il detersivo direttamente nel cassetto del dispenser.
Questa lavatrice ha un sistema di lavaggio che utilizza una quantità minima di acqua per rendere pulito il bucato. C'è quindi il rischio che il detersivo non si dissolva e si possano trovare residui sui capi dopo che il programma è terminato se si utilizza un dispositivo di dosaggio.
Il detersivo per il prelavaggio deve essere aggiunto direttamente nel cestello.
Ammorbidenti
Questi sono ideali per migliorare la "morbidezza" e anche ridurre l'aderenza statica sui sintetici e rendere la stiratura più facile. Sono disponibili in due tipi:
Ad esempio, l'ammorbidente liquido Lenor, per l'uso in lavatrice/lavasciuga. L'ammorbidente liquido deve essere versato nel vano contrassegnato con il simbolo
.
Seguire le istruzioni di dosaggio del produttore e non superare mai il livello MAX.

Fogli di condizionamento Bounce per l'uso in un'asciugatrice. Raccomandiamo che i fogli di condizionamento siano appuntati (usando una spilla di sicurezza a un articolo di bucato e posti nell'asciugatrice).

Tabella dei programmi
Peso del carico asciutto di cotone 3,0 kg
Sintetici e delicati 1,5 kg di peso del carico asciutto
| Tipo di carico | Temperatura °C | Contenuto del programma | Pulsanti opzionali | Consumo * | ||
| Energia kWh | Acqua litri | Tempo minuti | ||||
| Bianchi, indumenti da lavoro molto sporchi, lenzuola, tovaglie, biancheria intima, asciugamani. | 90° | Programma di lavaggio 90°C senza prelavaggio. 3 risciacqui e centrifuga max. 1300 giri/min. | Rapido Quotidiano Prelavaggio Super risciacquo Avvio ritardato | 1,43 | 44 | ~ 126 |
| Bianchi, lenzuola, asciugamani, biancheria intima normalmente sporchi. | ** 60°E | Programma di lavaggio 60°C senza prelavaggio. 3 risciacqui e centrifuga max. 1300 giri/min. | Prelavaggio Super risciacquo Avvio ritardato | 0,57 | 39 | ~ 130 |
| Colorati, biancheria intima normalmente sporchi, spugna, tovaglie, asciugamani, lenzuola. | 40° 60° | Programma di lavaggio 40°, 60°C senza prelavaggio. 3 risciacqui e centrifuga max. 1300 giri/min. | Rapido Quotidiano Prelavaggio Super risciacquo Avvio ritardato | 0,78 | 44 | ~ 107 |
| Sintetici, biancheria intima molto sporca, camicie antipiega, camicette. | 60° | Programma di lavaggio 60°C senza prelavaggio. 3 risciacqui e centrifuga max. 900 giri/min. | Rapido Quotidiano Prelavaggio Super risciacquo Avvio ritardato | 0,57 | 42 | ~ 82 |
| Sintetici, biancheria intima leggermente sporca, camicie antipiega, camicette. | 40° 50° | Programma di lavaggio 40°, 50° senza prelavaggio. 3 risciacqui e centrifuga max. 900 giri/min. | Rapido Quotidiano Prelavaggio Super risciacquo Avvio ritardato | 0,45 | 42 | ~ 76 |
| Delicati per articoli fragili, ad es. tende a rete. | 30° 40° | Programma di lavaggio 30°, 40°C senza prelavaggio. 3 risciacqui e centrifuga max. 700 giri/min. | Rapido Prelavaggio Super risciacquo Avvio ritardato | 0,38 | 45 | ~ 61 |
* I dati di consumo possono discostarsi dai dati indicati a seconda della pressione dell'acqua, della durezza dell'acqua, della temperatura di ingresso, della temperatura ambiente, del tipo e della quantità di bucato, del detersivo utilizzato, delle fluttuazioni nella tensione principale e delle funzioni aggiuntive scelte. I dati indicati si riferiscono alle temperature dell'acqua più alte per ogni programma di lavaggio.
** Le informazioni al consumatore sulla dichiarazione energetica sono conformi alla direttiva CEE 92/75 e si riferiscono al programma di lavaggio 60E per il cotone.
Lana 1,0 kg e Miniprogramma 1,5 kg di peso del carico asciutto
Programmi speciali 3,0 kg di peso del carico asciutto
| Consumo * | ||||||
| Tipo di carico | Temperatura °C | Contenuto del programma | Pulsanti opzionali | Energia kWh | Acqua litri | Tempo minuti |
Lanaindumenti con simbolo di lana o contrassegnati con "Lavabile in lavatrice". | Freddo 30° | Programma di lavaggio Freddo, 30°C senza prelavaggio. 3 risciacqui e centrifuga max. 900 giri/min. | Rapido Quotidiano Prelavaggio Super risciacquo Avvio ritardato | 0,20 | 45 | ~ 45 |
| Mini per bucato leggermente sporco o per bucato che necessita di essere rinfrescato. | 30° | Programma di lavaggio 30°C senza prelavaggio. 2 risciacqui e centrifuga max. 700 giri/min. | 0,18 | 35 | ~ 30 | |
Risciacquiquesto programma può essere utilizzato per risciacquare gli indumenti lavati a mano. | Freddo | 3 risciacqui e centrifuga max. 1300 giri/min. | 0,03 | 30 | ~ 27 | |
Scaricosvuotamento dell'ultima acqua di risciacquo nei programmi con l'opzione di arresto risciacquo. | Svuotamento | - | - | ~ 1 | ||
Centrifugacentrifuga separata per articoli lavati a mano. | Svuotamento e centrifuga max. 1300 giri/min. | - | - | ~ 5 | ||
![]() Reset | Ripristina il programma. Spegne la macchina. | - | - | - | ||
Utilizzo dell'apparecchio
Sono stati rimossi tutti i dispositivi di blocco per il trasporto?
La primissima volta che si utilizza la macchina, è necessario eseguire un programma di lavaggio senza alcun carico, per eliminare eventuali residui che potrebbero essere stati lasciati dal processo di fabbricazione. Versare circa 100 ml di detersivo direttamente nel cestello ed eseguire un programma a 60 °C. Al termine del programma, la macchina sarà pronta per l'uso.
Avvio di un programma di lavaggio
Prima di avviare la macchina, verificare che:
- lo sportello sia chiuso correttamente
- l'apparecchio sia collegato alla corrente
- il rubinetto dell'acqua sia aperto
Per avviare la macchina, procedere come segue:

- Tirare delicatamente la chiusura dello sportello per aprirlo.
- Riempire il cestello in modo uniforme con il bucato. È possibile mescolare capi grandi e piccoli.
Cercare sempre di lavare a pieno carico: per i pesi massimi di carico, vedere le tabelle dei programmi. È necessario ridurre il peso del carico solo per i capi molto sporchi e i materiali delicati.
- Chiudere lo sportello.
- Estrarre il cassetto del dosatore.
- Misurare la quantità di detersivo necessaria e versarla nello scomparto più grande a sinistra (fig. 1).
![]()
- Versare l'ammorbidente nello scomparto più piccolo a destra senza superare il livello massimo (fig. 2).
![]()
- Chiudere il cassetto.
- Selezionare il programma richiesto (fig. 3).
![]()
- Ruotare il selettore della velocità di centrifuga nella posizione desiderata (fig. 4).
![]()
- Selezionare l'opzione desiderata. La spia corrispondente si illumina (fig. 5).
![]()
- Premere il pulsante Start/Pause (Avvia/Pausa) per avviare il programma di lavaggio richiesto. Le spie "Washing" (Lavaggio) e "Door" (Sportello) si accendono e il programma si avvia.
Modifica di un programma di lavaggio
Il programma può essere modificato a condizione che il pulsante Start/Pause (Avvia/Pausa) non sia stato premuto. Se il programma è stato avviato, è possibile modificarlo solo ruotando il selettore del programma sulla posizione "Reset" (Ripristina) e annullando il programma. Selezionare un nuovo programma e premere il pulsante Start/Pause (Avvia/Pausa).
Se si ruota il selettore del programma su un altro programma quando la macchina è in funzione, le spie sul display di avanzamento del programma iniziano a lampeggiare. La macchina non eseguirà il nuovo programma selezionato.
Interruzione di un programma
Premere il pulsante Start/Pause (Avvia/Pausa) per interrompere un programma in esecuzione. La spia corrispondente inizia a lampeggiare. Dopo circa 1 minuto è possibile aprire lo sportello. Il programma continua quando si preme di nuovo il pulsante.
Annullamento di un programma
Ruotare il selettore del programma sulla posizione "Reset" (Ripristina) per annullare un programma preimpostato. Ora è possibile selezionare un nuovo programma.
Apertura dello sportello quando il programma è stato avviato
Premere il pulsante Start/Pause (Avvia/Pausa). Lo sportello può essere aperto dopo circa 1 minuto, quando vengono rispettate le seguenti condizioni:
- La temperatura dell'acqua è inferiore a 55 °C.
- Il livello dell'acqua è inferiore al bordo inferiore dello sportello.
- La macchina non centrifuga.
Se è assolutamente necessario aprire lo sportello e le condizioni di cui sopra sono state rispettate, è necessario spegnere la macchina ruotando il selettore del programma sulla posizione "Reset" (Ripristina). Dopo circa 1 minuto è possibile aprire lo sportello.
Prestare attenzione perché potrebbe esserci acqua residua nella macchina. Questa potrebbe fuoriuscire ed essere calda.
Al termine del programma
La macchina si arresta automaticamente.
Quando la spia "End" (Fine) è accesa, il programma è terminato. La spia "Door" (Sportello) si spegne, lo sportello può essere aperto e il bucato può essere rimosso.
Se è stata selezionata l'opzione "Rinse hold" (Arresto risciacquo), le spie "End" (Fine) e "Door" (Sportello) continuano a essere accese per indicare che l'acqua deve essere scaricata prima di aprire lo sportello.
Per scaricare l'acqua:
- Ruotare il selettore del programma sulla posizione "Reset" (Ripristina).
- Selezionare il programma "Draining" (Scarico) o "Spinning" (Centrifuga). È possibile ridurre la velocità di centrifuga ruotando il selettore per evitare che materiali sintetici, lana o altri materiali fragili si sgualciscano.
- Premere il pulsante Start/Pause (Avvia/Pausa).
- Quando la spia "Door" (Sportello) si spegne, lo sportello può essere aperto e il bucato può essere rimosso.
- Ruotare il selettore del programma sulla posizione "Reset" (Ripristina).
Se non si intende effettuare altri lavaggi, chiudere l'alimentazione dell'acqua e, per motivi di sicurezza, scollegare anche l'alimentazione elettrica della macchina.
Lasciare lo sportello socchiuso, in modo che l'umidità residua all'interno del cestello possa evaporare e prevenire lo sviluppo di odori di muffa.
Manutenzione e pulizia
L'involucro
Pulire le superfici esterne della macchina utilizzando una soluzione delicata di detersivo per piatti e acqua. Terminare rimuovendo le tracce residue del prodotto con un panno umido.
Il cassetto del detersivo
Nel tempo, è probabile che all'interno del cassetto del detersivo si accumulino residui di detersivo e ammorbidente. Deve essere pulito a intervalli regolari sciacquandolo con acqua. Se necessario, è possibile estrarre l'intero cassetto dalla macchina per la pulizia. Estrarre il cassetto come di consueto fino a quando non si ferma al fermo di ritegno. Con una mano su ciascun lato del corpo del cassetto e con attenzione, dare al cassetto un forte strattone verso di sé in modo che si liberi dal fermo di ritegno (Fig. 1).
Per rimuovere il sifone (sul bordo interno del cassetto) per la pulizia, è necessario premerlo verso l'interno e tirarlo verso l'alto contemporaneamente (Fig. 2). Quando lo si rimette a posto, premerlo verso il basso fino a quando non si sente un clic distinto.
All'interno dell'alloggiamento per il cassetto del detersivo
I residui di detersivo possono anche accumularsi all'interno dell'alloggiamento per il cassetto del detersivo. È possibile utilizzare un vecchio spazzolino da denti per pulire questa zona (Fig. 3). Al termine e dopo aver rimesso a posto il cassetto, eseguire un programma breve senza carico di lavaggio nella macchina per risciacquarlo.
Pulizia all'interno della macchina
Se si utilizza principalmente la macchina per lavaggi a bassa temperatura e/o se si utilizza solo pochissimo detersivo, è necessario pulire l'interno della macchina circa una volta al mese. Ciò impedirà lo sviluppo di muffe o odori di stantio. Utilizzare una normale dose di detersivo, che deve essere una polvere biologica (come Ariel Futur) ed eseguire un programma di lavaggio alla temperatura più alta senza carico di lavaggio nella macchina.
Decalcificazione
Se l'alimentazione dell'acqua è superiore a 7 ° dH, è necessario decalcificare la lavatrice almeno una volta ogni tre mesi. Utilizzare circa 150 ml di acido citrico al posto del detersivo ed eseguire un programma di lavaggio alla temperatura più alta senza carico di lavaggio nella macchina. I depositi di calcare su componenti come l'elemento riscaldante della macchina ridurranno la loro durata. (Contattare la società idrica per scoprire il livello di durezza della fornitura idrica locale).
Protezione della macchina dal congelamento
Se la macchina viene conservata in un luogo in cui la temperatura potrebbe a volte scendere sotto 0 °C, esiste il rischio che la piccola quantità di acqua che rimane all'interno delle parti della macchina dopo il normale utilizzo si congeli e la danneggi. Per evitare ciò, è necessario:
- Chiudere l'alimentazione dell'acqua e scollegare il tubo di ingresso dell'acqua dal rubinetto di alimentazione.
![]()
- Selezionare un programma di lavaggio, avviare la macchina e lasciare che il programma funzioni per un breve periodo di tempo.
![]()
- Interrompere il programma ruotando il selettore del programma sulla posizione "Reset" (Ripristina).
![]()
- Posizionare l'estremità dei tubi di ingresso e scarico in basso, nella grondaia di scarico (scarico a pavimento) incassata nel pavimento. Assicurarsi che l'estremità del tubo non scenda al di sotto del livello dell'acqua nel sifone della grondaia (scarico).
- Selezionare il programma "Drain" (Scarico) e lasciare che funzioni fino al termine.
- Ruotare il selettore del programma sulla posizione "Reset" (Ripristina).
L'apparecchio deve essere utilizzato e conservato solo all'interno a temperatura ambiente normale. Il produttore non è responsabile per eventuali danni da gelo.
Non utilizzare prodotti per la pulizia che contengono alcol (superalcolici), diluenti e sostanze simili.
Qualcosa non funziona
Prima di chiamare un tecnico, controllare i dettagli di seguito perché alcuni guasti possono essere risolti facilmente senza la necessità di chiamare un tecnico. Se viene chiamato un tecnico per risolvere un problema elencato di seguito o per riparare un guasto causato da installazione errata o uso improprio, verrà addebitato un costo, anche se l'apparecchio è in garanzia.
| Guasto | Controllo |
La macchina non si avvia |
|
La macchina non si riempie d'acqua |
|
| La macchina scarica acqua contemporaneamente al riempimento. |
|
La macchina non si svuota o non centrifuga |
|
La macchina perde o trabocca |
|
La macchina vibra o è rumorosa |
|
Lo sportello della macchina non si apre |
|
La centrifuga inizia in ritardo o la macchina non centrifuga |
|
| La spia "End" (Fine) lampeggia: 1 lampeggio = la macchina non si riempie 2 lampeggi = la macchina non scarica 4 lampeggi = lo sportello è aperto |
|
Assistenza
Assistenza e pezzi di ricambio
Nel caso in cui il vostro apparecchio necessiti di assistenza, o se desiderate acquistare dei pezzi di ricambio, vi preghiamo di contattare il vostro centro Service Force locale telefonando al:
08705 929929
La vostra telefonata sarà automaticamente indirizzata al centro Service Force che copre la vostra area di codice postale.
Per l'indirizzo del vostro centro Service Force locale e ulteriori informazioni su Service Force, vi preghiamo di visitare il sito web all'indirizzo www.serviceforce.co.uk
Per l'assistenza clienti in Irlanda, vi preghiamo di contattarci all'indirizzo sottostante:
Zanussi Electrolux
Electrolux Group (Irl) Ltd
Long Mile Road
Dublin 12
Repubblica d'Irlanda
Tel: + 353 (0)1 4090751
Email: service.eid@electrolux.ie
Prima di chiamare un tecnico, assicuratevi di aver letto i dettagli sotto il titolo "Qualcosa non funziona".
Quando contattate il centro Service Force, dovrete fornire i seguenti dettagli:
- Il vostro nome, indirizzo e codice postale
- Il vostro numero di telefono
- Dettagli chiari e concisi del guasto
- Il modello e il numero di serie dell'apparecchio (che si trova sulla targhetta identificativa)
- La data di acquisto
Vi preghiamo di notare che è necessaria una ricevuta d'acquisto valida o la documentazione di garanzia per le chiamate di assistenza in garanzia.
Servizio clienti
Per domande generali relative al vostro elettrodomestico Zanussi Electrolux o per ulteriori informazioni sui prodotti Zanussi Electrolux, vi preghiamo di contattare il nostro servizio clienti per lettera o telefono all'indirizzo sottostante o visitare il nostro sito web all'indirizzo www.zanussi.co.uk
Servizio clienti
Zanussi Electrolux
55-77 High Street
Slough
Berkshire
SL1 1DZ
Tel: 08705 727727 *
* la chiamata a questo numero potrebbe essere registrata a scopo di formazione.
Istruzioni per l'installazione
Qualsiasi lavoro elettrico necessario per installare questo apparecchio deve essere eseguito da un elettricista qualificato o da una persona competente.
Qualsiasi lavoro idraulico necessario per installare questo apparecchio deve essere eseguito da un idraulico qualificato o da una persona competente.
Specifiche tecniche
| DIMENSIONI | Altezza Larghezza Profondità | 67 cm 49.5 cm 51.5 cm |
| PESO | Netto | 54 kg |
| CAPACITÀ CONSIGLIATA (PESO A SECCO) | Cotone Sintetici/Delicati Lana | 3.0 kg 1.5 kg 1.0 kg |
| PRESSIONE DELL'ACQUA | Minima Massima | 50 kPa (0.5 bar) 1000 kPa (10 bar) |
| VOLUME DEL CESTELLO | 27 litri | |
| VELOCITÀ DI CENTRIFUGA | Massima | 1 300 rpm |
| DATI ELETTRICI | Alimentazione Fusibile Potenza nominale | 230 V - 50 Hz 13 A 1600 W |
Disimballaggio della macchina
Se la macchina è danneggiata
Se la macchina è stata danneggiata durante il trasporto, è necessario informare immediatamente la società responsabile della consegna.
Controllare che la lavatrice non sia danneggiata. Se si riscontrano danni, guasti o se manca qualcosa, è necessario informare immediatamente il venditore.
Non lasciare mai il materiale di imballaggio in un luogo dove i bambini possano giocarci.
Quando si solleva la macchina
Fare attenzione quando si solleva la macchina. Metodi di sollevamento errati possono causare lesioni fisiche e aumentare il rischio di danni alla macchina. Aprire lo sportello e afferrarlo all'interno della parte superiore dell'apertura dello sportello. È anche possibile afferrare la sporgenza posteriore della parte superiore della macchina per sollevare questa macchina.
Non sollevare mai la macchina afferrando il pannello di controllo, lo sportello stesso o il suo cassetto del detersivo (Fig. 1).

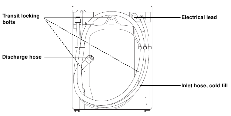
Bulloni di blocco del trasporto
Quando viene fornita, la lavatrice è imballata utilizzando una serie di dispositivi di blocco/pezzi di imballaggio per evitare danni al cestello e al motore durante il trasporto. Questi devono essere tutti rimossi prima che la lavatrice venga installata.

- Stendere alcuni dei materiali di imballaggio in polistirolo sul pavimento dietro la macchina e poi appoggiare la macchina con cura sul retro.
Assicurarsi che nessun tubo flessibile venga schiacciato durante il processo (Fig. 2).
![]()
- Rimuovere la base in polistirolo e la barra di supporto su cui poggia la macchina.
- Riportare la macchina nella sua normale posizione verticale e rimuovere i tre bulloni e i loro distanziali sul retro (Fig. 3).
![]()
- I tre fori devono quindi essere tappati con i tappi di plastica in dotazione, che si trovano in un sacchetto di plastica all'interno del cestello (Fig. 4).
![]()
Installazione
La macchina deve essere installata su una superficie solida e stabile e non deve toccare pareti o mobili.
Livellamento della macchina
Regolare i piedini per livellare la macchina. Assicurarsi che la macchina sia appoggiata su tutti e quattro i piedini. Un livellamento accurato previene vibrazioni, rumore e spostamento della macchina durante il funzionamento. (Fig. 1).

Alcune vibrazioni sono normali e inevitabili quando la macchina sta centrifugando il carico, soprattutto se montata su un pavimento in legno.
I pavimenti in legno a molle sono particolarmente suscettibili alle vibrazioni. Per un consiglio, consultare un costruttore. Se possibile, posizionare sempre la macchina su un pavimento solido.
Quando l'apparecchio si trova su pavimenti in moquette, è necessario prestare attenzione per garantire che non vi siano ostruzioni alle prese d'aria inferiori.
Ingresso dell'acqua
Collegare il tubo di ingresso a un rubinetto con una filettatura del tubo da 3/4" (Fig. 2).

Il tubo di ingresso non deve essere unito a nessuna forma di tubo di prolunga. Se è troppo corto, l'intero tubo deve essere sostituito con un tubo ad alta pressione più lungo, appositamente progettato per questo scopo. Questi sono disponibili presso il vostro centro Service Force locale.
L'estremità del tubo della macchina può essere ruotata in qualsiasi direzione. Allentare il dado di fissaggio, ruotare il tubo, quindi serrare nuovamente il dado (Fig. 3).

Verificare che il dado sia ben stretto prima di spostare la macchina in posizione.
Utilizzare solo il tubo di ingresso in dotazione con la macchina, non riutilizzare il vecchio tubo di ingresso.
Scarico dell'acqua
Se si intende scaricare il tubo di scarico della macchina in un lavandino, assicurarsi che il lavandino sia vuoto e che il foro del tappo non sia bloccato.
Se la macchina è collegata in modo permanente, agganciare l'estremità del tubo a un tubo verticale installato per questo scopo. Il tubo verticale deve avere un diametro interno di almeno 40 mm (1 1/2") in modo che ci sia uno spazio d'aria tra il tubo di scarico e il tubo verticale. Assicurarsi che sia progettato in modo tale che l'estremità del tubo di scarico non possa essere coperta d'acqua.

Prima di collegare la macchina a tubazioni nuove o a tubazioni che non sono state utilizzate per un certo periodo di tempo, far scorrere una quantità ragionevole di acqua per eliminare eventuali detriti che potrebbero essersi accumulati nei tubi.
Sia che si scarichi in un lavandino o in un tubo verticale, controllare che l'estremità del tubo di scarico non sia né troppo alta né troppo bassa. La parte superiore della curva all'estremità del tubo deve essere non più di 800 mm (31.5") e non meno di 650 mm (25.6") sopra il livello del pavimento.
Il tubo di scarico può essere esteso fino a un totale di 3,5 m. Per il pezzo di prolunga utilizzare un tubo con un diametro interno almeno pari a quello del tubo della macchina. Utilizzare un connettore per tubi flessibili adatto.

Affinché la macchina funzioni correttamente, il tubo di scarico deve essere agganciato al pezzo di supporto montato in fabbrica situato sulla parte superiore del lato posteriore dell'apparecchio.

Installazione elettrica
Alimentazione elettrica
La lavatrice viene fornita con un cavo e una spina elettrica per il collegamento a una presa a muro con messa a terra da 230 V, 13 A. Prima di eseguire qualsiasi lavoro sulla lavatrice, è necessario isolarla dalla rete elettrica, ad esempio rimuovendo la spina dalla presa a muro.
L'installazione elettrica permanente deve essere eseguita da un elettricista autorizzato o da una persona competente.
QUESTO APPARECCHIO DEVE ESSERE MESSO A TERRA.
Il produttore declina qualsiasi responsabilità qualora questa misura di sicurezza non venga osservata.
L'apparecchio non deve essere collegato all'alimentazione elettrica tramite una prolunga.
Se la spina montata sull'apparecchio non è adatta alla presa di corrente, deve essere tagliata e montata la spina appropriata.
Rimuovere il fusibile dalla spina tagliata.
La spina tagliata deve quindi essere smaltita per evitare il rischio di scosse nel caso in cui venga inserita in una presa da 13 amp in un'altra parte della casa.
I fili nel cavo di alimentazione sono colorati in conformità con il seguente codice:

Verde e giallo - Terra
Blu - Neutro
Marrone - Fase
Se montate la vostra spina, i colori dei fili nel cavo di alimentazione del vostro apparecchio potrebbero non corrispondere ai segni che identificano i terminali nella vostra spina, procedete come segue:
Collegare il filo verde e giallo (terra) al terminale nella spina contrassegnato con la lettera «E» o il simbolo di terra
o colorato di verde e giallo.
Collegare il filo blu (neutro) al terminale nella spina contrassegnato con la lettera «N» o colorato di nero.
Collegare il filo marrone (fase) al terminale nella spina contrassegnato con la lettera «L» o colorato di rosso.
La spina stampata sul cavo incorpora un fusibile.
Per la sostituzione, utilizzare un fusibile BSI362 da 13 amp.
Utilizzare solo fusibili approvati ASTA o BSI.
Informazioni importanti sulla sicurezza
Prima di installare e utilizzare per la prima volta la lavatrice, leggere attentamente il libretto di istruzioni, inclusi suggerimenti e avvertenze. In questo modo si garantirà che la macchina funzioni correttamente e al meglio. Chiunque utilizzi la macchina deve conoscere a fondo le istruzioni per l'uso e le caratteristiche di sicurezza. Conservare queste istruzioni e assicurarsi che rimangano con la macchina in caso di spostamento o vendita, in modo che tutti coloro che la utilizzano durante la sua vita utile possano essere adeguatamente informati sull'uso e sulla sicurezza dell'apparecchio.
Installazione
- Tutti gli imballaggi e i dispositivi di blocco per il trasporto devono essere rimossi prima del primo utilizzo della macchina. In caso contrario, potrebbero verificarsi danni alla macchina o ad altri beni. Vedere la sezione Bulloni di blocco per il trasporto.
- Tutti i lavori di installazione e altri lavori eseguiti sul prodotto devono essere eseguiti da un tecnico qualificato. Il lavoro eseguito da persone con conoscenze inadeguate può influire negativamente sul corretto funzionamento del prodotto e può causare lesioni personali o danni.
- La macchina è pesante, quindi fare attenzione quando la si solleva.Non sollevare mai la macchina afferrando il pannello di controllo, lo sportello o il dispenser del detersivo.
- Assicurarsi che il cavo di alimentazione non sia schiacciato o danneggiato e che i tubi flessibili non vengano schiacciati o piegati quando si sposta la macchina in relazione all'installazione o alla pulizia, ecc.
- Se il cavo di alimentazione è danneggiato, deve essere sostituito con un cavo o un gruppo speciale disponibile presso l'agente di assistenza del produttore.
Sicurezza dei bambini
- La lavatrice deve essere utilizzata solo da adulti. Non permettere ai bambini di giocarci o di toccare i suoi comandi e le parti mobili/rimovibili.
- Quando la macchina è in funzione, il vetro dello sportello si riscalda, quindi non deve essere toccato. Tenere i bambini lontani dalla macchina quando è in funzione.
- Prima di caricare la macchina, controllare che all'interno del cestello non vi siano oggetti estranei o animali domestici.
Durante l'uso
- Questa macchina è destinata esclusivamente al normale lavaggio domestico e solo in conformità con queste istruzioni. L'utilizzo per altri scopi potrebbe causare lesioni fisiche o danni alla proprietà.
- Nella macchina devono essere lavati solo gli articoli lavabili in lavatrice. In caso di dubbi, contattare il produttore o il rivenditore dell'articolo.
- Seguire le raccomandazioni dell'etichetta di cura e assicurarsi che le tasche siano vuote e che cerniere e bottoni siano chiusi prima del lavaggio.
- Oggetti come monete, spille di sicurezza, chiodi, viti e altri oggetti duri possono causare gravi danni alla macchina. Assicurarsi che tutte le tasche siano state svuotate prima di mettere gli indumenti nella macchina.
- Rimuovere o pretrattare le macchie come ruggine, tintura, inchiostro ed erba prima del lavaggio in lavatrice.
- Evitare di lavare indumenti sfilacciati o eccessivamente usurati.
- Gli articoli che sono stati trattati con sostanze chimiche come prodotti per la rimozione delle macchie, prodotti per la pulizia domestica liquidi e simili devono essere risciacquati accuratamente a mano prima di poter essere lavati in lavatrice.
- Lavare piccoli oggetti come calzini sottili, lacci/lacci per indumenti, articoli in pizzo, ecc. in un'apposita rete per la biancheria per evitare che finiscano tra il cestello interno ed esterno.
- Seguire sempre le raccomandazioni dei produttori di detersivo e ammorbidente per quanto riguarda le quantità di questi prodotti da utilizzare. L'uso eccessivo può danneggiare i tuoi capi di bucato.
- Non sovraccaricare il cestello. Il sovraccarico compromette le prestazioni della macchina e può danneggiare i capi di bucato.
- Prima di aprire lo sportello, controllare sempre che l'acqua sia stata pompata fuori dalla macchina.
- Non lasciare i locali mentre la macchina è in funzione.
- Dopo aver utilizzato la macchina, chiudere l'alimentazione dell'acqua e scollegarla dall'alimentazione elettrica. Quando si rimuove la spina elettrica, afferrare la spina, non il cavo.
- Lasciare lo sportello socchiuso quando la macchina non è in uso, per evitare cattivi odori.
- Assicurarsi che la macchina sia scollegata dall'alimentazione elettrica durante i lavori di pulizia e manutenzione.
- L'assistenza e le riparazioni devono essere eseguite da una società di assistenza autorizzata dal produttore. Utilizzare solo pezzi di ricambio forniti da questi. Non tentare mai di riparare la macchina da soli.
Guida all'uso del libretto di istruzioni
Nel testo sono presenti i seguenti simboli per guidarti attraverso le istruzioni:
Istruzioni di sicurezza
Istruzioni passo dopo passo
Suggerimenti e consigli
Riferimenti
Scarica manuale
Qui puoi scaricare la versione completa in PDF del manuale, può contenere ulteriori istruzioni di sicurezza, informazioni sulla garanzia, regole FCC, ecc.
Scarica Manuale Electrolux ZANUSSI ZWC 1300W
.
.
.È possibile ridurre la velocità di centrifuga ruotando il selettore.
= freddo, l'acqua non viene riscaldata
= resetta, annulla il programma, spegne la macchina.
Lana
Freddo 30°
Risciacqui
Scarico
Centrifuga










