Manuale Makita SH02
- 1 SPECIFICHE
- 2 Avvertenze generali di sicurezza per gli elettroutensili
- 3 Avvertenze di sicurezza per seghe circolari a batteria
- 4 Simboli
- 5 Importanti istruzioni di sicurezza per la cartuccia della batteria
- 6 DESCRIZIONE FUNZIONALE
- 7 MONTAGGIO
- 8 FUNZIONAMENTO
- 9 MANUTENZIONE
- 10 ACCESSORI OPZIONALI
- 11 Scarica manuale
- 12 In altre lingue
SPECIFICHE
| Modello: | SH02 | ||
| Diametro lama | 85 mm (3-3/8') | ||
| Massima profondità di taglio | a 0° | 25,5 mm (1') | |
| a 45° | 16,5 mm (5/8') | ||
| Velocità a vuoto (RPM) | 1.500 /min | ||
| Lunghezza totale | 313 mm (12-3/8') | 331 mm (13') | |
| Tensione nominale | C.C. 10,8 V - 12 V max | ||
| Cartuccia batteria standard | BL1016, BL1021B | BL1041B | |
| Peso netto | 1,6 kg (3,5 lbs) | 1,8 kg (3,9 lbs) | |
- A causa del nostro programma continuo di ricerca e sviluppo, le specifiche qui contenute sono soggette a modifiche senza preavviso.
- Le specifiche e la cartuccia della batteria possono variare da paese a paese.
- Peso, con cartuccia della batteria, secondo la procedura EPTA 01/2003
Avvertenze generali di sicurezza per gli elettroutensili
| Leggere tutte le avvertenze di sicurezza e tutte le istruzioni. La mancata osservanza delle avvertenze e delle istruzioni può provocare scosse elettriche, incendi e/o lesioni gravi. |
Conservare tutte le avvertenze e le istruzioni per riferimento futuro.
Il termine "elettroutensile" nelle avvertenze si riferisce al vostro elettroutensile alimentato dalla rete elettrica (con cavo) o all'elettroutensile alimentato a batteria (senza fili).
Sicurezza dell'area di lavoro
- Mantenere l'area di lavoro pulita e ben illuminata. Le aree disordinate o buie invitano agli incidenti.
- Non utilizzare gli elettroutensili in atmosfere esplosive, come in presenza di liquidi, gas o polveri infiammabili. Gli elettroutensili creano scintille che possono incendiare la polvere o i fumi.
- Tenere lontani bambini e astanti durante l'utilizzo di un elettroutensile. Le distrazioni possono farti perdere il controllo.
Sicurezza elettrica
- Le spine degli elettroutensili devono corrispondere alla presa. Non modificare mai la spina in alcun modo. Non utilizzare spine adattatrici con elettroutensili dotati di messa a terra. Le spine non modificate e le prese corrispondenti ridurranno il rischio di scosse elettriche.
- Evitare il contatto del corpo con superfici dotate di messa a terra, come tubi, radiatori, fornelli e frigoriferi. C'è un aumento del rischio di scosse elettriche se il tuo corpo è dotato di messa a terra.
- Non esporre gli elettroutensili alla pioggia o a condizioni di umidità. L'ingresso di acqua in un elettroutensile aumenterà il rischio di scosse elettriche.
- Non abusare del cavo. Non utilizzare mai il cavo per trasportare, tirare o scollegare l'elettroutensile. Tenere il cavo lontano da fonti di calore, olio, spigoli vivi o parti in movimento. I cavi danneggiati o aggrovigliati aumentano il rischio di scosse elettriche.
- Quando si utilizza un elettroutensile all'aperto, utilizzare una prolunga adatta all'uso esterno. L'uso di un cavo adatto all'uso esterno riduce il rischio di scosse elettriche.
- Se l'utilizzo di un elettroutensile in un luogo umido è inevitabile, utilizzare un'alimentazione protetta da un interruttore di circuito di guasto a terra (GFCI). L'uso di un GFCI riduce il rischio di scosse elettriche.
Sicurezza personale
- Rimanere vigili, osservare cosa si sta facendo e usare il buon senso quando si utilizza un elettroutensile. Non utilizzare un elettroutensile quando si è stanchi o sotto l'effetto di droghe, alcol o farmaci. Un momento di disattenzione durante l'utilizzo di elettroutensili può provocare gravi lesioni personali.
- Utilizzare dispositivi di protezione individuale. Indossare sempre una protezione per gli occhi. Dispositivi di protezione come maschera antipolvere, scarpe di sicurezza antiscivolo, elmetto o protezione per l'udito utilizzati per condizioni appropriate ridurranno le lesioni personali.
- Prevenire l'avvio involontario. Assicurarsi che l'interruttore sia in posizione di spegnimento prima di collegare l'alimentazione e/o il pacco batteria, sollevare o trasportare l'utensile. Trasportare elettroutensili con il dito sull'interruttore o energizzare elettroutensili con l'interruttore acceso invita agli incidenti.
- Rimuovere qualsiasi chiave di regolazione o chiave inglese prima di accendere l'elettroutensile. Una chiave inglese o una chiave lasciata attaccata a una parte rotante dell'elettroutensile può provocare lesioni personali.
- Non sporgersi troppo. Mantenere sempre una posizione e un equilibrio adeguati. Ciò consente un migliore controllo dell'elettroutensile in situazioni impreviste.
- Vestirsi in modo appropriato. Non indossare abiti larghi o gioielli. Tenere i capelli, i vestiti e i guanti lontani dalle parti in movimento. Abiti larghi, gioielli o capelli lunghi possono impigliarsi nelle parti in movimento.
- Se vengono forniti dispositivi per il collegamento di impianti di estrazione e raccolta della polvere, assicurarsi che siano collegati e utilizzati correttamente. L'uso della raccolta della polvere può ridurre i rischi legati alla polvere.
Uso e cura degli elettroutensili
- Non forzare l'elettroutensile. Utilizzare l'elettroutensile corretto per la propria applicazione. L'elettroutensile corretto farà il lavoro meglio e in modo più sicuro alla velocità per cui è stato progettato.
- Non utilizzare l'elettroutensile se l'interruttore non lo accende e spegne. Qualsiasi elettroutensile che non può essere controllato con l'interruttore è pericoloso e deve essere riparato.
- Scollegare la spina dalla fonte di alimentazione e/o il pacco batteria dall'elettroutensile prima di effettuare qualsiasi regolazione, cambiare accessori o riporre gli elettroutensili. Tali misure di sicurezza preventive riducono il rischio di avviare accidentalmente l'elettroutensile.
- Conservare gli elettroutensili inattivi fuori dalla portata dei bambini e non consentire a persone che non hanno familiarità con l'elettroutensile o con queste istruzioni di utilizzare l'elettroutensile. Gli elettroutensili sono pericolosi nelle mani di utenti non addestrati.
- Eseguire la manutenzione degli elettroutensili. Verificare la presenza di disallineamenti o inceppamenti di parti in movimento, rotture di parti e qualsiasi altra condizione che possa influire sul funzionamento dell'elettroutensile. Se danneggiato, far riparare l'elettroutensile prima dell'uso. Molti incidenti sono causati da elettroutensili sottoposti a scarsa manutenzione.
- Mantenere gli utensili da taglio affilati e puliti. Gli utensili da taglio sottoposti a corretta manutenzione con bordi taglienti affilati hanno meno probabilità di incepparsi e sono più facili da controllare.
- Utilizzare l'elettroutensile, gli accessori e le punte degli utensili ecc. in conformità con queste istruzioni, tenendo conto delle condizioni di lavoro e del lavoro da eseguire. L'uso dell'elettroutensile per operazioni diverse da quelle previste potrebbe comportare una situazione pericolosa.
Uso e cura degli utensili a batteria
- Ricaricare solo con il caricabatterie specificato dal produttore. Un caricabatterie adatto per un tipo di pacco batteria può creare un rischio di incendio se utilizzato con un altro pacco batteria.
- Utilizzare gli elettroutensili solo con pacchi batteria specificamente designati. L'uso di altri pacchi batteria può creare un rischio di lesioni e incendi.
- Quando il pacco batteria non è in uso, tenerlo lontano da altri oggetti metallici, come graffette, monete, chiavi, chiodi, viti o altri piccoli oggetti metallici, che possono creare un collegamento da un terminale all'altro. Cortocircuitare i terminali della batteria può causare ustioni o un incendio.
- In condizioni abusive, il liquido può essere espulso dalla batteria; evitare il contatto. In caso di contatto accidentale, sciacquare con acqua. Se il liquido entra in contatto con gli occhi, consultare inoltre un medico. Il liquido espulso dalla batteria può causare irritazioni o ustioni.
Assistenza
- Far riparare l'elettroutensile da una persona qualificata che utilizzi solo parti di ricambio identiche. Ciò garantirà che la sicurezza dell'elettroutensile sia mantenuta.
- Seguire le istruzioni per la lubrificazione e la sostituzione degli accessori.
- Mantenere le impugnature asciutte, pulite e prive di olio e grasso.
Avvertenze di sicurezza per seghe circolari a batteria
Procedure di taglio
Tenere le mani lontano dalla zona di taglio e dalla lama. Tenere la seconda mano sull'impugnatura ausiliaria o sull'alloggiamento del motore. Se entrambe le mani tengono la sega, non possono essere tagliate dalla lama.- Non allungare la mano sotto il pezzo in lavorazione. La protezione non può proteggere dalla lama sotto il pezzo in lavorazione.
- Regolare la profondità di taglio in base allo spessore del pezzo in lavorazione. Meno di un dente completo dei denti della lama deve essere visibile sotto il pezzo in lavorazione.
- Non tenere mai il pezzo da tagliare in mano o sulla gamba. Fissare il pezzo in lavorazione a una piattaforma stabile. È importante sostenere correttamente il lavoro per ridurre al minimo l'esposizione del corpo, il bloccaggio della lama o la perdita di controllo.
![]()
- Tenere l'elettroutensile solo dalle superfici di presa isolate, quando si esegue un'operazione in cui l'utensile di taglio può venire a contatto con cavi nascosti. Il contatto con un cavo "sotto tensione" renderà "sotto tensione" anche le parti metalliche esposte dell'elettroutensile e potrebbe provocare una scossa elettrica all'operatore.
- Durante la refilatura, utilizzare sempre una guida di refilatura o una guida a bordo dritto. Ciò migliora la precisione del taglio e riduce la possibilità di bloccaggio della lama.
- Utilizzare sempre lame con dimensioni e forma corrette (a diamante rispetto a rotonde) dei fori dell'albero. Le lame che non corrispondono all'hardware di montaggio della sega funzioneranno in modo eccentrico, causando perdita di controllo.
- Non utilizzare mai rondelle o bulloni della lama danneggiati o errati. Le rondelle e il bullone della lama sono stati progettati appositamente per la sega, per prestazioni ottimali e sicurezza di funzionamento.
Cause del contraccolpo e avvertenze correlate
- il contraccolpo è una reazione improvvisa a una lama della sega pizzicata, bloccata o disallineata, che fa sollevare una sega incontrollata dal pezzo in lavorazione verso l'operatore;
- quando la lama viene pizzicata o bloccata saldamente dalla chiusura del taglio, la lama si blocca e la reazione del motore spinge l'unità rapidamente verso l'operatore;
- se la lama si torce o si disallinea nel taglio, i denti sul bordo posteriore della lama possono penetrare nella superficie superiore del legno, facendo uscire la lama dal taglio e saltare indietro verso l'operatore.
Il contraccolpo è il risultato di un uso improprio della sega e/o di procedure o condizioni operative errate e può essere evitato prendendo le dovute precauzioni come indicato di seguito.
- Mantenere una presa salda con entrambe le mani sulla sega e posizionare le braccia in modo da resistere alle forze di contraccolpo. Posizionare il corpo su entrambi i lati della lama, ma non in linea con la lama. Il contraccolpo potrebbe far saltare indietro la sega, ma le forze di contraccolpo possono essere controllate dall'operatore, se vengono prese le dovute precauzioni.
- Quando la lama si blocca o quando si interrompe un taglio per qualsiasi motivo, rilasciare il grilletto e tenere la sega ferma nel materiale fino a quando la lama non si arresta completamente. Non tentare mai di rimuovere la sega dal lavoro o di tirare indietro la sega mentre la lama è in movimento, altrimenti potrebbe verificarsi un contraccolpo. Indagare e intraprendere azioni correttive per eliminare la causa del bloccaggio della lama.
- Quando si riavvia una sega nel pezzo in lavorazione, centrare la lama della sega nel taglio e verificare che i denti della sega non siano impegnati nel materiale. Se la lama della sega si sta bloccando, potrebbe sollevarsi o contraccolparsi dal pezzo in lavorazione al riavvio della sega.
- Supportare i pannelli di grandi dimensioni per ridurre al minimo il rischio di pizzicamento della lama e contraccolpo. I pannelli di grandi dimensioni tendono a incurvarsi sotto il proprio peso. I supporti devono essere posizionati sotto il pannello su entrambi i lati, vicino alla linea di taglio e vicino al bordo del pannello.
![]()
- Non utilizzare lame smussate o danneggiate. Le lame non affilate o impostate in modo errato producono un taglio stretto causando attrito eccessivo, bloccaggio della lama e contraccolpo.
- Le leve di blocco per la profondità della lama e la regolazione dell'inclinazione devono essere strette e sicure prima di eseguire il taglio. Se la regolazione della lama si sposta durante il taglio, può causare bloccaggio e contraccolpo.
- Prestare la massima attenzione quando si sega in pareti esistenti o altre aree cieche. La lama sporgente può tagliare oggetti che possono causare contraccolpo.
- Tenere SEMPRE l'utensile saldamente con entrambe le mani. Non posizionare MAI la mano o le dita dietro la sega. In caso di contraccolpo, la sega potrebbe facilmente saltare all'indietro sopra la mano, causando gravi lesioni personali.
![]()
- Non forzare mai la sega. Spingere la sega in avanti a una velocità tale che la lama tagli senza rallentare. Forzare la sega può causare tagli irregolari, perdita di precisione e possibile contraccolpo.
Funzione della protezione inferiore
- Verificare la corretta chiusura della protezione inferiore prima di ogni utilizzo. Non utilizzare la sega se la protezione inferiore non si muove liberamente e non si chiude immediatamente. Non bloccare o legare mai la protezione inferiore in posizione aperta. Se la sega cade accidentalmente, la protezione inferiore potrebbe piegarsi. Sollevare la protezione inferiore con la maniglia di ritrazione e assicurarsi che si muova liberamente e non tocchi la lama o qualsiasi altra parte, in tutte le angolazioni e profondità di taglio.
- Verificare il funzionamento della molla della protezione inferiore. Se la protezione e la molla non funzionano correttamente, devono essere riparate prima dell'uso. La protezione inferiore potrebbe funzionare lentamente a causa di parti danneggiate, depositi gommosi o accumulo di detriti.
- La protezione inferiore deve essere retratta manualmente solo per tagli speciali come "tagli a tuffo" e "tagli composti". Sollevare la protezione inferiore retrattando la maniglia e, non appena la lama entra nel materiale, la protezione inferiore deve essere rilasciata. Per tutti gli altri tipi di segatura, la protezione inferiore deve funzionare automaticamente.
- Osservare sempre che la protezione inferiore copra la lama prima di appoggiare la sega sul banco o sul pavimento. Una lama non protetta e in rotazione causerà l'arretramento della sega, tagliando qualsiasi cosa si trovi sul suo percorso. Prestare attenzione al tempo necessario affinché la lama si fermi dopo il rilascio dell'interruttore.
- Per controllare la protezione inferiore, aprire manualmente la protezione inferiore, quindi rilasciare e osservare la chiusura della protezione. Verificare inoltre che la maniglia di ritrazione non tocchi l'alloggiamento dell'utensile. Lasciare la lama esposta è MOLTO PERICOLOSO e può causare gravi lesioni personali.
Avvertenze di sicurezza aggiuntive
- Uso previsto
Questo utensile è destinato esclusivamente al taglio di prodotti in legno. La segatura accumulata sulla protezione inferiore e sul mozzo proveniente da altri materiali può influire sulla corretta chiusura della protezione inferiore, il che potrebbe causare gravi lesioni personali. - Prestare particolare attenzione quando si taglia legno umido, legname trattato a pressione o legno contenente nodi. Mantenere un avanzamento fluido dell'utensile senza diminuire la velocità della lama per evitare il surriscaldamento delle punte della lama.
- Non tentare di rimuovere il materiale tagliato quando la lama è in movimento. Attendere che la lama si arresti prima di afferrare il materiale tagliato. Le lame continuano a girare dopo lo spegnimento.
- Evitare di tagliare chiodi. Ispezionare e rimuovere tutti i chiodi dal legname prima del taglio.
- Posizionare la parte più larga della base della sega sulla parte del pezzo in lavorazione che è saldamente supportata, non sulla sezione che cadrà quando viene eseguito il taglio. Se il pezzo in lavorazione è corto o piccolo, fissarlo. NON CERCARE DI TENERE PEZZI CORTI A MANO!
![]()
- Prima di appoggiare l'utensile dopo aver completato un taglio, assicurarsi che la protezione si sia chiusa e che la lama si sia completamente arrestata.
- Non tentare mai di segare con la sega circolare tenuta capovolta in una morsa. Questo è estremamente pericoloso e può causare gravi incidenti.
![]()
- Alcuni materiali contengono sostanze chimiche che possono essere tossiche. Prestare attenzione per evitare l'inalazione di polvere e il contatto con la pelle. Seguire le schede di sicurezza dei dati dei fornitori di materiali.
- Non fermare le lame esercitando una pressione laterale sulla lama della sega.
- Non utilizzare mole abrasive.
- Utilizzare solo la lama della sega con il diametro contrassegnato sull'utensile o specificato nel manuale. L'uso di una lama di dimensioni errate può influire sulla corretta protezione della lama o sul funzionamento della protezione, il che potrebbe causare gravi lesioni personali.
- Mantenere la lama affilata e pulita. La gomma e il passo del legno induriti sulle lame rallentano la sega e aumentano il potenziale di contraccolpo. Mantenere la lama pulita rimuovendola prima dall'utensile, quindi pulendola con solvente per gomma e passo, acqua calda o cherosene. Non usare mai benzina.
- Indossare una maschera antipolvere e protezioni per l'udito quando si utilizza l'utensile.
CONSERVARE QUESTE ISTRUZIONI.
| NON lasciare che la comodità o la familiarità con il prodotto (acquisita con l'uso ripetuto) sostituiscano la stretta osservanza delle norme di sicurezza per il prodotto in questione. L'USO IMPROPRIO o il mancato rispetto delle norme di sicurezza indicate in questo manuale di istruzioni possono causare gravi lesioni personali. |
Simboli
Di seguito sono riportati i simboli utilizzati per l'utensile.
| v | volt |
![]() | corrente continua |
![]() | velocità a vuoto |
![]() | giri o movimento alternativo al minuto |
Importanti istruzioni di sicurezza per la cartuccia della batteria
- Prima di utilizzare la cartuccia della batteria, leggere tutte le istruzioni e le avvertenze riportate su (1) caricabatterie, (2) batteria e (3) prodotto che utilizza la batteria.
- Non smontare la cartuccia della batteria.
- Se il tempo di funzionamento si riduce eccessivamente, interrompere immediatamente il funzionamento. Ciò può comportare il rischio di surriscaldamento, possibili ustioni e persino un'esplosione.
- Se l'elettrolito entra negli occhi, sciacquarli con acqua pulita e consultare immediatamente un medico. Ciò può comportare la perdita della vista.
- Non mandare in corto circuito la cartuccia della batteria:
- Non toccare i terminali con materiali conduttivi.
- Evitare di conservare la cartuccia della batteria in un contenitore con altri oggetti metallici come chiodi, monete, ecc.
- Non esporre la cartuccia della batteria all'acqua o alla pioggia.
Un corto circuito della batteria può causare un elevato flusso di corrente, surriscaldamento, possibili ustioni e persino un guasto.
- Non conservare l'utensile e la cartuccia della batteria in luoghi in cui la temperatura potrebbe raggiungere o superare i 50 °C (122 °F).
- Non incenerire la cartuccia della batteria anche se è gravemente danneggiata o completamente esaurita. La cartuccia della batteria può esplodere in caso di incendio.
- Fare attenzione a non far cadere o urtare la batteria.
- Non utilizzare una batteria danneggiata.
- Seguire le normative locali relative allo smaltimento della batteria.
CONSERVARE QUESTE ISTRUZIONI.
| Utilizzare solo batterie originali Makita. L'uso di batterie non originali Makita o di batterie che sono state alterate può causare lo scoppio della batteria, provocando incendi, lesioni personali e danni. Inoltre, invaliderà la garanzia Makita per l'utensile e il caricabatterie Makita. |
Suggerimenti per mantenere la massima durata della batteria
- Caricare la cartuccia della batteria prima che sia completamente scarica. Interrompere sempre il funzionamento dell'utensile e caricare la cartuccia della batteria quando si nota una minore potenza dell'utensile.
- Non ricaricare mai una cartuccia della batteria completamente carica. La ricarica eccessiva riduce la durata della batteria.
- Caricare la cartuccia della batteria con una temperatura ambiente compresa tra 10 °C e 40 °C (50 °F - 104 °F). Lasciare raffreddare una cartuccia della batteria calda prima di caricarla.
DESCRIZIONE FUNZIONALE
| Assicurarsi sempre che l'utensile sia spento e che la cartuccia della batteria sia rimossa prima di regolare o controllare la funzione sull'utensile. |
Installazione o rimozione della cartuccia della batteria
| Spegnere sempre l'utensile prima di installare o rimuovere la cartuccia della batteria. Tenere saldamente l'utensile e la cartuccia della batteria quando si installa o si rimuove la cartuccia della batteria. Se non si tiene saldamente l'utensile e la cartuccia della batteria, questi potrebbero scivolare dalle mani e causare danni all'utensile e alla cartuccia della batteria, nonché lesioni personali. |

- Indicatore rosso
- Pulsante
- Cartuccia della batteria
Per rimuovere la cartuccia della batteria, farla scorrere fuori dall'utensile mentre si fa scorrere il pulsante sulla parte anteriore della cartuccia.
Per installare la cartuccia della batteria, allineare la linguetta sulla cartuccia della batteria con la scanalatura nell'alloggiamento e farla scorrere in posizione. Inserirla completamente fino a quando non si blocca in posizione con un piccolo clic. Se si vede l'indicatore rosso sulla parte superiore del pulsante, non è completamente bloccato.
| Installare sempre completamente la cartuccia della batteria fino a quando l'indicatore rosso non è più visibile. In caso contrario, potrebbe cadere accidentalmente dall'utensile, causando lesioni a sé stessi o a chiunque si trovi nelle vicinanze. Non installare la cartuccia della batteria con la forza. Se la cartuccia non scorre facilmente, non viene inserita correttamente. |
Sistema di protezione della batteria
L'utensile è dotato di un sistema di protezione della batteria. Questo sistema interrompe automaticamente l'alimentazione del motore per prolungare la durata della batteria.
L'utensile si fermerà automaticamente durante il funzionamento se l'utensile e/o la batteria vengono sottoposti a una delle seguenti condizioni:
Sovraccarico:
L'utensile viene utilizzato in un modo che provoca un assorbimento di corrente anormalmente elevato.
In questa situazione, rilasciare il grilletto dell'interruttore sull'utensile e interrompere l'applicazione che ha causato il sovraccarico dell'utensile. Quindi tirare di nuovo il grilletto dell'interruttore per riavviare. Se l'utensile non si avvia, la batteria è surriscaldata. In questa situazione, lasciare raffreddare la batteria prima di tirare di nuovo il grilletto dell'interruttore.
Tensione bassa della batteria:
La capacità residua della batteria è troppo bassa e l'utensile non funzionerà. Se si tira il grilletto dell'interruttore, il motore si avvia di nuovo ma si ferma presto. In questa situazione, rimuovere e ricaricare la batteria.
Indicazione della capacità residua della batteria
Solo per cartucce batteria con "B" alla fine del numero di modello

- Spie luminose
- Pulsante di controllo
Premere il pulsante di controllo sulla cartuccia della batteria per indicare la capacità residua della batteria. Le spie luminose si accendono per alcuni secondi.
| Spie luminose | Capacità residua | |
![]() Acceso | ![]() Spento | |
| Dal 75% al 100% | |
| Dal 50% al 75% | |
| Dal 25% al 50% | |
| Dallo 0% al 25% | |
NOTA: A seconda delle condizioni d'uso e della temperatura ambiente, l'indicazione può differire leggermente dalla capacità effettiva.
Regolazione della profondità di taglio

- Vite di bloccaggio
- Guida di profondità
| Dopo aver regolato la profondità di taglio, serrare sempre saldamente la vite di bloccaggio. |
Allentare la vite di bloccaggio sulla guida di profondità e spostare la base verso l'alto o verso il basso. Alla profondità di taglio desiderata, fissare la base serrando la vite di bloccaggio. Per tagli più puliti e sicuri, impostare la profondità di taglio in modo che non più di un dente della lama sporga al di sotto del pezzo in lavorazione. L'utilizzo di una profondità di taglio corretta aiuta a ridurre il potenziale di contraccolpi pericolosi che possono causare lesioni personali.
Taglio smussato

- Vite di bloccaggio
- Piastra della scala di smussatura
Allentare la vite di bloccaggio sulla piastra della scala di smussatura sulla parte anteriore della base. Impostare l'angolo desiderato (0° - 45°) inclinando di conseguenza, quindi serrare saldamente la vite di bloccaggio.
Mirino

- Linea di taglio
Per i tagli diritti, allineare la posizione A sulla parte anteriore della base con la linea di taglio. Per i tagli smussati a 45°, allineare la posizione B con essa.
Azione dell'interruttore

- Leva di blocco
- Grilletto dell'interruttore
Prima di inserire la cartuccia della batteria nell'utensile, verificare sempre che il grilletto dell'interruttore si azioni correttamente e ritorni in posizione "OFF" (SPENTO) quando viene rilasciato.
Non tirare con forza il grilletto dell'interruttore senza premere la leva di blocco. Ciò può causare la rottura dell'interruttore.
Per evitare che il grilletto dell'interruttore venga tirato accidentalmente, è prevista una leva di blocco. Per avviare l'utensile, far scorrere la leva di blocco e tirare il grilletto dell'interruttore. Rilasciare il grilletto dell'interruttore per arrestare.
| Per la propria sicurezza, questo utensile è dotato di una leva di blocco che impedisce l'avvio involontario dell'utensile. NON utilizzare MAI l'utensile se si avvia semplicemente tirando il grilletto dell'interruttore senza premere la leva di blocco. Restituire l'utensile a un centro di assistenza MAKITA per le riparazioni appropriate PRIMA di un ulteriore utilizzo. NON fissare MAI con nastro adesivo o compromettere lo scopo e la funzione della leva di blocco. |
MONTAGGIO
Assicurarsi sempre che l'utensile sia spento e che la cartuccia della batteria sia rimossa prima di eseguire qualsiasi lavoro sull'utensile.
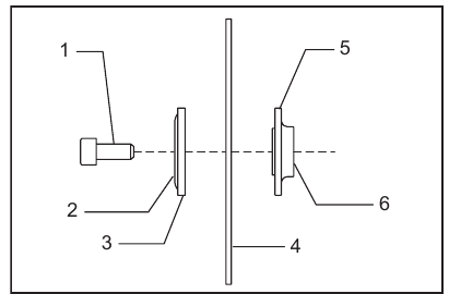
Rimozione o installazione della lama della sega circolare

- Blocco albero
- Chiave esagonale
| Assicurarsi che la lama della sega circolare sia installata con i denti rivolti verso l'alto nella parte anteriore dell'utensile. Utilizzare solo la chiave inglese Makita per installare o rimuovere la lama della sega circolare. |
Per rimuovere la lama della sega circolare, premere a fondo il blocco dell'albero in modo che la lama della sega circolare non possa ruotare e utilizzare la chiave inglese per allentare il bullone esagonale in senso antiorario. Quindi rimuovere il bullone esagonale, la flangia esterna e la lama della sega circolare.

- Bullone esagonale
- Flangia esterna
- Lama della sega circolare
- Flangia interna
Per installare la lama della sega circolare, seguire la procedura di rimozione in senso inverso. ASSICURARSI DI STRINGERE SALDAMENTE IL BULLONE ESAGONALE IN SENSO ORARIO.

- Bullone esagonale
- Sporgenza
- Flangia esterna
- Lama della sega circolare
- Flangia interna
- Sporgenza (lato più grande)
NOTA: Se una flangia interna viene rimossa per caso, installare la flangia interna in modo che la sua sporgenza (lato più grande) sia rivolta verso l'interno come mostrato nella figura.
Quando si cambia la lama della sega circolare, assicurarsi di pulire anche le protezioni della lama superiore e inferiore dalla segatura accumulata, come discusso nella sezione Manutenzione. Tali sforzi non sostituiscono la necessità di controllare il funzionamento della protezione inferiore prima di ogni utilizzo.
Stoccaggio della chiave esagonale

- Chiave esagonale
Quando non viene utilizzata, riporre la chiave esagonale come mostrato nella figura per evitare che venga persa.
Collegamento di un aspirapolvere
Accessorio opzionale

- Ugello antipolvere (accessorio opzionale)
- Vite (accessorio opzionale)

Quando si desidera eseguire un'operazione di taglio pulita, collegare un aspirapolvere Makita all'utensile. Installare l'ugello antipolvere (accessorio opzionale) sull'utensile utilizzando la vite. Quindi collegare un tubo dell'aspirapolvere all'ugello antipolvere come mostrato nella figura.
FUNZIONAMENTO
| Assicurarsi di spostare delicatamente l'utensile in avanti in linea retta. Forzare o torcere l'utensile surriscalda il motore e provoca un pericoloso contraccolpo, che può causare lesioni gravi. |
NOTA: Quando la temperatura della cartuccia della batteria è bassa, l'utensile potrebbe non funzionare a pieno regime. In questo caso, ad esempio, utilizzare l'utensile per un taglio leggero per un po' di tempo finché la cartuccia della batteria non si riscalda fino alla temperatura ambiente. Quindi, l'utensile può funzionare a pieno regime.

Tenere saldamente l'utensile. L'utensile è dotato sia di un'impugnatura anteriore (alloggiamento del motore) che di un'impugnatura posteriore. Utilizzare entrambi per afferrare al meglio l'utensile. Se entrambe le mani tengono la sega, non possono essere tagliate dalla lama della sega circolare. Posizionare la base sul pezzo da lavorare da tagliare senza che la lama della sega circolare entri in contatto. Quindi accendere l'utensile e attendere che la lama della sega circolare raggiunga la massima velocità. Ora è sufficiente spostare l'utensile in avanti sulla superficie del pezzo da lavorare, mantenendolo piatto e avanzandoFluidamente fino al completamento del taglio.
Per ottenere tagli puliti, mantenere la linea di taglio dritta e la velocità di avanzamento uniforme. Se il taglio non segue correttamente la linea di taglio prevista, non tentare di girare o forzare l'utensile indietro sulla linea di taglio. In tal modo si può bloccare la lama della sega circolare e provocare un pericoloso contraccolpo e possibili lesioni gravi. Rilasciare l'interruttore, attendere che la lama della sega circolare si fermi e quindi ritirare l'utensile. Riallineare l'utensile sulla nuova linea di taglio e ricominciare il taglio. Cercare di evitare il posizionamento che espone l'operatore a schegge e polvere di legno espulsi dalla sega. Utilizzare protezioni per gli occhi per evitare lesioni.
Guida di riscontro (guida)
Accessorio opzionale

La pratica guida di riscontro consente di eseguire tagli diritti extra-precisi. È sufficiente far scorrere la guida di riscontro fino a farla aderire saldamente al lato del pezzo da lavorare e fissarla in posizione con la vite sulla parte anteriore della base. Rende inoltre possibili tagli ripetuti di larghezza uniforme.
MANUTENZIONE
| Assicurarsi sempre che l'utensile sia spento e che la cartuccia della batteria sia rimossa prima di tentare di eseguire ispezioni o manutenzioni. Pulire le protezioni superiore e inferiore per assicurarsi che non vi sia segatura accumulata che possa ostacolare il funzionamento del sistema di protezione inferiore. Un sistema di protezione sporco può limitare il corretto funzionamento, con conseguenti gravi lesioni personali. Il modo più efficace per eseguire questa pulizia è con aria compressa. Se la polvere viene soffiata fuori dalle protezioni, assicurarsi di utilizzare una protezione adeguata per gli occhi e per la respirazione. |
AVVISO: Non utilizzare mai benzina, benzina, diluenti, alcol o simili. Possono verificarsi scolorimenti, deformazioni o crepe.
Per mantenere la SICUREZZA e l'AFFIDABILITÀ del prodotto, le riparazioni, qualsiasi altra manutenzione o regolazione devono essere eseguite da centri di assistenza autorizzati Makita o di fabbrica, utilizzando sempre parti di ricambio Makita.
ACCESSORI OPZIONALI
| Questi accessori o attacchi sono consigliati per l'uso con l'utensile Makita specificato in questo manuale. L'uso di qualsiasi altro accessorio o attacco potrebbe presentare un rischio di lesioni alle persone. Utilizzare solo l'accessorio o l'attacco per lo scopo previsto. |
Se hai bisogno di assistenza per maggiori dettagli su questi accessori, chiedi al tuo centro di assistenza Makita locale.
- Lama per sega circolare
- Guida di riscontro (guida)
- Chiave esagonale
- Ugello antipolvere
- Batteria e caricabatterie originali Makita
NOTA: Alcuni articoli nell'elenco potrebbero essere inclusi nella confezione dell'utensile come accessori standard. Possono differire da paese a paese.
Scarica manuale
Qui puoi scaricare la versione completa in PDF del manuale, può contenere ulteriori istruzioni di sicurezza, informazioni sulla garanzia, regole FCC, ecc.









