First Alert CO5120BN, CO5120PDBN - Айнымалы токпен жұмыс істейтін көміртегі тотығы дабылының нұсқаулығы
- 1 КІРІСПЕ
- 2 ҚАУІПСІЗДІК ТУРАЛЫ НЕГІЗГІ АҚПАРАТ
- 3 CO ДАБЫЛЫҢЫЗ ҚАЛАЙ ЖҰМЫС ІСТЕЙДІ
- 4 ОРНАТУ
- 5 ҚҰЛЫПТАУ ФУНКЦИЯЛАРЫН ПАЙДАЛАНУ
- 6 ЕГЕР СІЗДІҢ CO ДАБЫЛЫҢЫЗ ДЫБЫС БЕРСЕ
- 7 АПТА САЙЫНҒЫ ТЕСТІЛЕУ
- 8 ТҰРАҚТЫ ТЕХНИКАЛЫҚ ҚЫЗМЕТ КӨРСЕТУ
- 9 CO ТУРАЛЫ НЕ БІЛУ КЕРЕК
- 10 UNDERWRITERS LABORATORIES INC UL2034
- 11 CO ДАБЫЛДАРЫНЫҢ ЖАЛПЫ ШЕКТЕУЛЕРІ
- 12 АҚАУЛЫҚТАРДЫ ТҮЗЕТУ ЖӨНІНДЕГІ НҰСҚАУЛЫҚ
- 13 Сілтемелер
- 14 Нұсқаулықты жүктеп алу
- 15 Басқа тілдерде

КІРІСПЕ
Көміртегі тотығы дабылына қатысты қажеттіліктеріңіз үшін BRK Brands, Inc.-ті таңдағаныңызға рақмет. Сіз көміртегі тотығы туралы ерте ескертуді қамтамасыз етуге арналған заманауи көміртегі тотығы дабылын сатып алдыңыз.
Негізгі мүмкіндіктерге мыналар кіреді:
Ең дәл көміртегі тотығы сенсоры*
Жетілдірілген электрохимиялық CO сенсор технологиясы.
Intelligent Sensing Technology қажетсіз немесе кедергі келтіретін дабылдарды азайтуға көмектесу үшін жасалған.
Екі үнсіз режим.
Батареясының заряды аз болған кезде батареяны ауыстырмас бұрын сегіз сағатқа дейін дыбысты уақытша өшіріңіз немесе қажетсіз дабылды бірнеше минутқа өшіріңіз.
Екі бекіту функциясы.
Дабыл бекіткіші: Дабыл жағдайы басылғаннан кейін де бастапқы дабылды оңай анықтайды. Батарея зарядының төмендігін бекіту: Қай құрылғының батареясының заряды аз екенін анықтайды.
Smart Interconnect First Alert® және BRK брендінің түтін, CO және жылу дабылдарының көпшілігімен өзара байланысады. Дабыл қаққан түтін дабылдарымен өзара байланысқан кезде, құрылғы түтін дабылының үлгісін шығарады.
Шаң қаптамасы құрылыс кезінде дабылды таза ұстау үшін қосылған.
Оңай орнату/техникалық қызмет көрсету мүмкіндіктеріне сымдарға оңай қол жеткізу үшін бекіту кронштейніндегі үлкен саңылау кіреді. Батареяны тарту қойындысы үйге кіргенше батареяны жаңа күйінде сақтайды. Бүйірден жүктелетін батарея тартпасы дабылды төбеден немесе қабырғадан шығармай-ақ батареяны оңай ауыстыруға мүмкіндік береді.
Қызмет ету мерзімінің соңы туралы сигнал. Дабылды ауыстыру қажеттілігін естілетін және көрінетін растауды қамтамасыз етеді.

БАТАРЕЯМЕН ҚОЛДАУ
CO5120BN үлгісі

БАТАРЕЯМЕН ҚОЛДАУ ЖӘНЕ САНДЫҚ ДИСПЛЕЙ
CO5120PDBN үлгісі
МҰҚИЯТ ОҚЫП, САҚТАҢЫЗ.
Бұл пайдаланушы нұсқаулығында CO дабылыңыздың жұмысы туралы маңызды ақпарат бар. Егер сіз бұл CO дабылын басқалардың пайдалануы үшін орнатып жатсаңыз, осы нұсқаулықты немесе оның көшірмесін соңғы пайдаланушыға қалдыруыңыз керек.
ҚАУІПСІЗДІК ТУРАЛЫ НЕГІЗГІ АҚПАРАТ
- Қауіптер, ескертулер және сақтық шаралары сізге маңызды пайдалану нұсқаулары немесе ықтимал қауіпті жағдайлар туралы ескертеді. Бұл элементтерге ерекше назар аударыңыз.
- БҰЛ ТҮТІН ДАБЫЛЫ ЕМЕС! Бұл CO дабылы кез келген жану көзінен көміртегі тотығын анықтауға арналған. Ол түтінді, өртті немесе кез келген басқа газды анықтауға арналмаған.
- Бұл CO дабылы бір отбасылық үйлерде пайдалану үшін мақұлданған. Ол теңіз немесе RV пайдалануға арналмаған.
- Бұл CO дабылы тек сенсорда көміртегі тотығы газының бар екенін көрсетеді. Көміртегі тотығы газы басқа аймақтарда болуы мүмкін.
- Бұл құрылғы қуатсыз жұмыс істемейді. Айнымалы ток қуаты істен шықса, батареяның резервтік көшірмесі дабылды кемінде 7 күн қуаттандырады, егер 9 В батареясы жаңа және дұрыс орнатылған болса.
- Үнсіздік функциясы тек сіздің ыңғайлылығыңыз үшін және CO мәселесін түзетпейді. Кез келген дабылдан кейін әрқашан үйіңізде ықтимал мәселені тексеріңіз. Олай етпеу жарақатқа немесе өлімге әкелуі мүмкін.
- Бұл CO дабылы үздіксіз 120 В айнымалы ток, 60 Гц, таза синусоидалық электр қуатын алуы керек. (Батарея тек төтенше жағдайларда резервтік көшірмеге арналған). Димер немесе қосқышпен басқарылатын ұзартқыш сымында немесе розеткада пайдаланбаңыз.
- ЕШҚАШАН ешқандай дабылды елемеңіз. Дабылға қалай жауап беру керектігі туралы қосымша ақпарат алу үшін "CO дабылыңыз қосылса" бөлімін қараңыз. Жауап бермеу жарақатқа немесе өлімге әкелуі мүмкін.
- Осы көміртегі тотығы дабылын аптасына бір рет тексеріңіз. Егер ол дұрыс тексеруден өтпесе, оны дереу ауыстырыңыз! Егер CO дабылы дұрыс жұмыс істемесе, ол сізге мәселе туралы ескерте алмайды.
- Бұл өнім отбасылық тұрғын үйлердің кәдімгі жабық жерлерінде пайдалануға арналған. Ол Еңбекті қорғау және еңбек қауіпсіздігі басқармасының (OSHA) коммерциялық немесе өнеркәсіптік стандарттарына сәйкес CO деңгейін өлшеуге арналмаған. Медициналық жағдайлары бар және көміртегі тотығына сезімтал болуы мүмкін адамдар көміртегі тотығының концентрациясы 30 ppm-нен төмен болған кезде естілетін және көрінетін сигналдарды беретін ескерту құрылғыларын пайдалануды қарастыруы мүмкін. Көміртегі тотығы және сіздің медициналық жағдайыңыз туралы қосымша ақпарат алу үшін дәрігеріңізге хабарласыңыз.
CO ДАБЫЛЫҢЫЗ ҚАЛАЙ ЖҰМЫС ІСТЕЙДІ

CO дабылыңыздың қақпағы
- Тексеру/Дыбысты өшіру батырмасы немесе Тексеру/Дыбысты өшіру/Айналдыру батырмасы (тек CO5120PDBN)
- ҚУАТ/ДАБЫЛ шамы (ҚЫЗЫЛ)
- Ауа желдеткіштері
- (Қақпақтың артында) Дабыл сигналы: Тексеру, дабыл және құрылғының ақаулығы туралы ескерту үшін 85 дБ естілетін дабыл.
- Сандық дисплей (тек CO5120PDBN)
ШАМ МЕН ДАБЫЛ ҮЛГІЛЕРІН ТҮСІНУ
| Жағдай | Жарық диоды (қызыл шам) | Сигнал |
| ҚУАТ ҚОСУ | Айнымалы токпен үздіксіз қосылады Батареямен бір минут жыпылықтайды | Үнсіз |
| ТЕСТІЛЕУ КЕЗІНДЕ | Жарық диоды дабыл үлгісіне жуықтап жыпылықтайды. | Сигнал үлгісі: 4 сигнал, кідіріс, 4 сигнал, кідіріс |
| БАТАРЕЯНЫҢ ЗАДЯДЫ АЗ НЕМЕСЕ ЖОҚ | Батарея зарядының төмендігін бекіту үлгісі | Сигнал минутына бір рет "дыбыстайды" |
| ДАБЫЛ ЖАҒДАЙЫ Жеке CO дабылы (Автономды дабыл) | Жарық диоды дабыл үлгісіне жуықтап жыпылықтайды. | Сигнал үлгісі: 4 сигнал, кідіріс, 4 сигнал, кідіріс, қайталанады |
| ДАБЫЛ ЖАҒДАЙЫ (CO дабылдарының өзара байланысқан сериясы) | Жарық диоды дабылды іске қосқан құрылғыда(ларда) жылдам жыпылықтайды. Сериядағы басқа дабылдардағы жарық диодтары жыпылықтамайды | Сигнал үлгісі: Барлық CO дабылдарында 4 сигнал, кідіріс, қайталанады |
| ДАБЫЛДЫ ӨШІРУ (ALARM SILENCE) | Жарық диоды дабыл үлгісіне жуықтап жыпылықтайды. | Сигнал 4 минут бойы үнсіз қалады |
| БАТАРЕЯНЫҢ ЗАДЯДЫНЫҢ ТӨМЕНДІГІН ӨШІРУ (LOW BATTERY SILENCE) | Жарық диоды шамамен әр минут сайын жыпылықтайды | Сигнал 8 сағатқа дейін үнсіз болады. |
| ДАБЫЛ БЕКІТКІШІ (ALARM LATCH) | Дыбыс өшірілген және жарық диоды жергілікті дабылдан кейін 2 секунд қосылып, 2 секунд өшіп жыпылықтайды, егер Тексеру/Дыбысты өшіру батырмасымен қайта орнатылмаса. | Сигнал үнсіз |
| БАТАРЕЯНЫҢ ЗАДЯДЫНЫҢ ТӨМЕНДІГІН БЕКІТУ (LOW BATTERY LATCH) | Жарық диоды 4 секунд қосылып, 2 секунд өшіп жыпылықтайды. | Сигнал үнсіз |
| ЕСКЕРТПЕ: Бекіту функциялары батареяның резервтік режимінде жұмыс істеу кезінде белсенді емес | ||
| АҚАУЛЫҚ (MALFUNCTION) | Жарық диоды 3 дыбыспен синхрондалған 3 рет жыпылықтайды | Сигнал әр минут сайын 3 дыбыс шығарады |
| ҚЫЗМЕТ ЕТУ МЕРЗІМІНІҢ СОҢЫ (END OF LIFE) | Жарық диоды 5 дыбыспен синхрондалған 5 рет жыпылықтайды | Сигнал әр минут сайын 5 дыбыс шығарады |
Айнымалы ток өшірілген кезде, егер батарея заряды біткен немесе жоқ болса, CO дабылы жұмыс істей алмайды. | ||
САНДЫҚ ДИСПЛЕЙІ БАР ҮЛГІГЕ АРНАЛҒАН ҚОСЫМША ФУНКЦИЯЛАР

Дабыл айнымалы токпен жұмыс істейді

Дабыл төтенше жағдайда батареяның резервтік көшірмесімен жұмыс істейді

Төмен / жоқ батарея туралы ескерту

Дабыл, батарея зарядының төмендігі немесе қызмет ету мерзімінің соңы өшірілген

Ақаулық – Дабылды ауыстырыңыз

Қызмет ету мерзімінің соңы – Дабылды ауыстырыңыз

CO деңгейлері ppm-мен көрсетілген, егер бар болса.
Тексеру кезінде дисплейде қысқаша "30, 70, 150, 400" жыпылықтайды.
Бастапқы қуат қосылған кезде дисплейде қысқаша "888" жыпылықтайды.
CO ЖАДЫНЫҢ ЕҢ ЖОҒАРЫ КӨРСЕТКІШІН ПАЙДАЛАНУ
CO жады функциясы дабыл кезінде жазылған CO-ның ең жоғары деңгейін тексеруге мүмкіндік береді.
CO жадын тексеру үшін:
- Сызықша "MEMORY" (ЖАД) бөліміне дейін айналдырылғанша, Тексеру/Дыбысты өшіру/Айналдыру батырмасын басып, босатыңыз.
- Жадтағы CO деңгейін көрсету үшін Тексеру/Дыбысты өшіру/Айналдыру батырмасын басып тұрыңыз.
CO жадын тазарту үшін:
- 24 сағаттан кейін автоматты түрде қалпына келтіріледі.
-
- Сызықша "CLEAR MEMORY" (ЖАДТЫ ТАЗАРТУ) бөліміне дейін айналдырылғанша, Тексеру/Дыбысты өшіру/Айналдыру батырмасын басып, босатыңыз.
- Дисплейде "CLr" көрсетілгенше, Тексеру/Дыбысты өшіру/Айналдыру батырмасын басып тұрыңыз.
- Барлық қуатты өшіріңіз; Дабылды ажыратыңыз және батареяны шығарыңыз.
ЕСКЕРТПЕ: CO деңгейінің ең жоғары көрсеткіші 24 сағат бойы сақталады. CO мәселесін зерттеу үшін біреуге қоңырау шалуды жоспарласаңыз, CO жадының көрсеткішін ТАЗАРТПАҢЫЗ! CO жадының көрсеткішін тек тергеуші үйіңізді тексергеннен кейін ғана тазартыңыз. Егер тергеуші құрылғы автоматты түрде қалпына келтірілмес бұрын 24 сағат ішінде келмесе, ең жоғары деңгейді жазып алыңыз.
SMART INTERCONNECT ФУНКЦИЯСЫ
Бұл CO дабылында дабылды басқа BRK түтін және CO дабылдарымен өзара байланыстыруға мүмкіндік беретін "Smart Interconnect" бар. Дабылға түскен түтін дабылдарымен өзара байланысқан кезде, бұл CO дабылы түтін дабылының үлгісін шығарады.
ОРНАТУ
ҚҰРЫЛҒЫНЫ ҚАЙДА ОРНАТУ КЕРЕК
Ұлттық өрттен қорғау қауымдастығы (NFPA) CO дабылы әрбір бөлек ұйықтайтын аймақтың сыртында, жатын бөлмелердің тікелей жанында орталықтандырылған түрде орналасуы керек деп ұсынады. Қосымша қорғаныс үшін әрбір бөлек жатын бөлмеге және үйіңіздің әрбір қабатына қосымша CO дабылдарын орнатыңыз.
Егер сіздің жатын бөлме дәлізіңіз 40 футтан (12 метр) ұзын болса, дәліздің ЕКІ жағына да CO дабылын орнатыңыз.

NFPA ҰСЫНЫСТАРЫНА САЙ БОЛУ ҮШІН ҚАЖЕТ
ҚОСЫМША CO ДАБЫЛДАРЫН ОРНАТУҒА ҰСЫНЫЛАТЫН АЙМАҚТАР
Бір деңгейлі үйде:
- Кем дегенде бір CO дабылын әрбір бөлек ұйықтайтын аймақтың жанына немесе ішіне орнатыңыз.
- Қосымша қорғаныс үшін қосымша CO дабылын пештен немесе отын жағатын жылу көзінен кемінде 20 фут (6 метр) қашықтықта орнатыңыз.
Көп деңгейлі үйде—(жоғарыдағыдай плюс):
- Кем дегенде бір CO дабылын әрбір бөлек ұйықтайтын аймақтың жанына немесе ішіне орнатыңыз.
- Қосымша қорғаныс үшін кем дегенде бір CO дабылын үйдің әрбір қабатына орнатыңыз. Егер сізде жертөле болса, CO дабылын жертөле баспалдақтарының жоғарғы жағына орнатыңыз.
- Қосымша қорғаныс үшін қосымша CO дабылын пештен немесе отын жағатын жылу көзінен кемінде 20 фут (6 метр) қашықтықта орнатыңыз.
CO ДАБЫЛДАРЫН ҚАЙДА ОРНАТПАУ КЕРЕК
Бұл CO дабылын мына жерлерге орнатпаңыз:
- Гараждарда, ас үйлерде, пеш бөлмелерінде немесе шаңды, кір немесе майлы жерлерде.
- Жану бөлшектері шығарылатын жерлерде. Жану бөлшектері бірдеңе жанған кезде пайда болады. Аулақ болу керек жерлерге нашар желдетілетін ас үйлер, гараждар және пеш бөлмелері жатады. Құрылғыларды жану бөлшектерінің көздерінен (плита, пеш, су жылытқыш, жылытқыш) кемінде 20 фут (6 метр) қашықтықта ұстаңыз. 20 фут (6 метр) қашықтық мүмкін болмайтын жерлерде — мысалы, модульдік, жылжымалы немесе шағын үйлерде — CO дабылын осы отын жағатын көздерден мүмкіндігінше алыс орналастыру ұсынылады. Орналастыру бойынша ұсыныстар осы дабылдарды отын жағатын көзден қолайлы қашықтықта ұстауға және осылайша "қажетсіз" дабылдарды азайтуға арналған. Егер CO дабылы отын жағатын көздің жанына тікелей орналастырылса, қажетсіз дабылдар пайда болуы мүмкін. Бұл аймақтарды мүмкіндігінше желдетіңіз.
- Кез келген тамақ дайындайтын құрылғыдан 5 фут (1,5 метр) ішінде.
- Өте ылғалды жерлерде. Бұл дабыл ваннадан немесе душтан, саунадан, ылғалдандырғыштан, буландырғыштан, ыдыс жуғыштан, кір жуатын бөлмеден, қосалқы бөлмеден немесе жоғары ылғалдылықтың басқа көзінен кемінде 10 фут (3 метр) қашықтықта болуы керек.
- Температура 40˚ F (4.4˚ C) төмен немесе 100˚ F (37.8˚ C) жоғары жерлерде. Бұл аймақтарға ауа баптаусыз еңбектеген кеңістіктер, аяқталмаған шатырлар, оқшауланбаған немесе нашар оқшауланған төбелер, кіреберістер және гараждар кіреді.
- Турбулентті ауада, төбелік желдеткіштер, жылу желдеткіштері, кондиционерлер, таза ауа қайтарғыштары немесе ашық терезелер сияқты жерлерде. Үрлеген ауа CO-ның сенсорларға жетуіне кедергі келтіруі мүмкін.
- Тікелей күн сәулесінде.
- Бұл CO дабылы бір отбасылық үйде немесе пәтерде пайдалануға арналған. Ол көп отбасылық ғимараттардың жалпы лоббилерінде, дәліздерінде немесе жертөлелерінде пайдалануға арналмаған, егер әрбір отбасылық тұрғын үйінде жұмыс істейтін CO дабылдары орнатылмаса. Жалпы аймақтардағы CO дабылдары жеке отбасылық тұрғын үйлердің ішінен естілмеуі мүмкін.
- Бұл CO дабылы жеке тұрғын үйлердің әрқайсысында CO дабылы орнатылмаса, қонақ үйлер немесе жатақханалар сияқты көптеген адамдар тұратын жерлерде аяқталған анықтау жүйелерінің орнын басуға жарамайды.
- Бұл CO дабылын қоймаларда, өнеркәсіптік немесе коммерциялық ғимараттарда, арнайы мақсаттағы тұрғын емес ғимараттарда, RV-лерде, қайықтарда немесе ұшақтарда ПАЙДАЛАНБАҢЫЗ. Бұл CO дабылы тұрғын үйлерде пайдалану үшін арнайы жасалған және тұрғын емес жерлерде жеткілікті қорғанысты қамтамасыз етпеуі мүмкін.
ОРНАТУДЫ БАСТАМАС БҰРЫН
Бұл құрылғы төбеге немесе қабырғаға 4 дюймге (10 см) дейінгі кез келген стандартты сым қорабына орнатылуға арналған. Орнатуды бастамас бұрын "CO дабылдарын қайда орнату керек" және "CO дабылдарын қайда орнатпау керек" дегенді оқыңыз.
- Бұл дабылдың жұмыс істеуі үшін айнымалы ток немесе батарея қуаты болуы керек. Егер айнымалы ток қуаты істен шықса, 9 В батареясы жаңа және дұрыс орнатылған болса, батареяның резервтік көшірмесі дабылды қысқа уақытқа қуаттайды. Егер айнымалы ток қуаты істен шықса және батарея заряды таусылса немесе жоқ болса, дабыл жұмыс істей алмайды.
- Дабылдың шамадан тыс шулы қуат алмайтынына көз жеткізіңіз. Шулы қуаттың мысалдары бір тізбектегі негізгі құрылғылар, генератордан немесе күн қуатынан қуат, бір тізбектегі жарық диммері немесе флуоресценттік жарықтандырудың жанында орнатылған болуы мүмкін. Шамадан тыс шулы қуат дабылға зақым келтіруі мүмкін.
Осы CO дабылымен бірге берілген өздігінен жабысатын жапсырмалар жұбын табыңыз.
- Әрбір жапсырмаға төтенше жағдайға жауап беретін адамның (911 сияқты) және білікті құрылғы технигінің телефон нөмірін жазыңыз.
- Бір жапсырманы CO дабылының жанына, ал екінші жапсырманы дабыл естілсе, баруды жоспарлаған "таза ауа" орнына қойыңыз.
ЕСКЕРТПЕ: Білікті құрылғы технигі "жеке өзі немесе өкілі арқылы жылыту, желдету, ауа баптау (HVAC) жабдықтарын, жану құрылғылары мен жабдықтарын және/немесе газ каминдерін немесе басқа сәндік жану жабдықтарын орнатумен, сынаумен, қызмет көрсетумен немесе ауыстырумен айналысатын және оған жауапты адам, фирма, корпорация немесе компания" ретінде анықталады.
ОСЫ ҚҰРЫЛҒЫНЫҢ БӨЛІКТЕРІ

- Орнату кронштейні
- Орнату ұясы және бұранда*
- Бұғаттау түйреуіштері (кронштейннен шығарыңыз)
- Ыстық (қара) C сымы
- Бейтарап (ақ) C сымы
- Өзара қосу сымы (қызғылт сары)
- Батарея бөлімін ашуға арналған иінтірек
- Ашылмалы батарея бөлімі
- Жылдам қосылатын қуат
*Кірмейді
ҚҰРЫЛҒЫНЫ ҚАЛАЙ ОРНАТУ КЕРЕК
Сізге қажет құралдар: Стандартты жалпақ бұрағыш.
ЭЛЕКТР ТОГЫНЫҢ ҚАУПІ. Орнатуды бастамас бұрын тізбек сөндіргішіндегі немесе сақтандырғыш қорабындағы осы құрылғыны орнататын аймақтың қуатын өшіріңіз. Орнату алдында қуатты өшірмеу ауыр электр тогының соғуына, жарақатқа немесе өлімге әкелуі мүмкін.
Осы құрылғыны орнату үшін:
- Орнату кронштейнін негізден алыңыз. Орнату кронштейніндегі бұранда ұяларын қораптағы бұрандалардың үстіне қойыңыз. Бұрандаларды қатайтыңыз.
- Сым гайкаларын пайдаланып, қуат қосқышын айнымалы ток қуатына қосыңыз.
Қуат қосқышын немесе қуат қосқышына апаратын сымдарды дұрыс қоспау дабылға зақым келтіреді және дабылдың жұмыс істемеуіне әкелуі мүмкін.
ТЕК ДАРА ДАБЫЛ:
- Қуат қосқышындағы ақ сымды қораптағы бейтарап сымға қосыңыз.
- Қуат қосқышындағы қара сымды қораптағы ыстық сымға қосыңыз.
- Қызғылт сары сымды қораптың ішіне салыңыз. Ол тек өзара қосу үшін пайдаланылады.
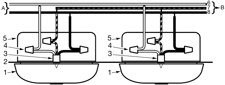
ТЕК ӨЗАРА ҚОСЫЛҒАН ДАБЫЛДАР:
Қуат қосқышындағы қызғылт сары өзара қосу сымындағы пластик жабынының шамамен 1/2" бөлігін сыдырып алыңыз.
- Қуат қосқышындағы ақ сымды қораптағы бейтарап сымға (әдетте ақ) қосыңыз.
- Қуат қосқышындағы қара сымды қораптағы ыстық сымға (әдетте қара) қосыңыз.
- Қуат қосқышындағы қызғылт сары сымды қораптағы өзара қосу сымына қосыңыз. Өзара қосылатын әрбір құрылғы үшін қайталаңыз. Қораптағы ыстық немесе бейтарап сымдарды ешқашан қызғылт сары өзара қосу сымына қоспаңыз.
- Қуат қосқышын CO дабылының артына қосыңыз.
- Дабылдың негізін орнату кронштейнінің үстіне қойып, бұраңыз. Дабылды кронштейннің үстіне әр 60° сайын орналастыруға болады. Құрылғыны сағат тілімен (оңға) құрылғы орнында болғанша бұраңыз.
- Барлық қосылымдарды тексеріңіз.
ТЕК ДАРА ДАБЫЛ:
- Егер сіз тек бір құрылғыны орнатып жатсаңыз, қораптың қуатын қалпына келтіріңіз.
ТЕК ӨЗАРА ҚОСЫЛҒАН ДАБЫЛДАР:
- Егер сіз бірнеше дабылды өзара қосып жатсаңыз, сериядағы әрбір дабыл үшін 1-5 қадамдарды қайталаңыз. Аяқтағаннан кейін қораптың қуатын қалпына келтіріңіз.
ЭЛЕКТР ТОГЫНЫҢ ҚАУПІ. Барлық дабылдар толық орнатылмайынша қуатты қалпына келтірмеңіз. Орнату аяқталмай тұрып қуатты қалпына келтіру ауыр электр тогының соғуына, жарақатқа немесе өлімге әкелуі мүмкін.
- CO дабылының айнымалы ток қуатын алып жатқанына көз жеткізіңіз. Қалыпты жұмыс кезінде қызыл индикатор шамы үздіксіз жанады. Егер қызыл қуат индикаторы жанбаса, ҚОРАПТЫҢ ҚУАТЫН ӨШІРІҢІЗ және барлық қосылымдарды қайта тексеріңіз. Егер барлық қосылымдар дұрыс болса және қуатты қалпына келтірген кезде қызыл қуат индикаторы әлі де жанбаса, құрылғыны дереу ауыстыру керек.
- БАТАРЕЯНЫҢ РЕЗЕРВТІК КӨШІРМЕСІН ІСКЕ ҚОСУ
"Батареяның резервтік көшірмесін іске қосу үшін тартыңыз" қойындысын алып тастау арқылы батареяның резервтік көшірмесін іске қосыңыз. Орнату кезінде батарея бөлімін ашып, батареяны қайта орналастырудың қажеті жоқ. Батарея қуатын үнемдеу үшін айнымалы ток қуаты қосылмайынша батареяны іске қосу қойындысын АЛЫП ТАСТАМАҢЫЗ. - CO дабылын сынаңыз. Дабыл естілгенше қақпақтағы сынау түймесін басып тұрыңыз: 4 дыбыс, кідіріс, 4 дыбыс, кідіріс. Өзара қосылған дабылдар сериясында сынау түймесін басып тұру арқылы әрбір дабылды бөлек сынау керек. Әрқайсысы сыналған кезде барлық құрылғылардың дабыл қағатынына көз жеткізіңіз.
Егер сериядағы кез келген құрылғы сынау кезінде дабыл қақпаса, ҚУАТТЫ ӨШІРІҢІЗ және қосылымдарды қайта тексеріңіз. Қуатты қалпына келтірген кезде дабыл қақпаса, оны дереу ауыстырыңыз.
ӨЗАРА ҚОСЫЛҒАН CO ДАБЫЛДАРЫНА ҚОЙЫЛАТЫН АРНАЙЫ ТАЛАПТАР
- Жоғарыда аталған талаптардың кез келгенін орындамау құрылғыларға зақым келтіруі және олардың дұрыс жұмыс істемеуіне әкелуі мүмкін, бұл сіздің қорғанысыңызды алып тастайды.
- Айнымалы ток және айнымалы ток/тұрақты ток CO дабылдары өзара қосылуы мүмкін. Айнымалы ток қуаты кезінде бір құрылғы CO-ны сезген кезде барлық құрылғылар дабыл қағады. Қуат үзілген кезде сериядағы тек айнымалы ток/тұрақты ток құрылғылары сигналдарды жіберуді және қабылдауды жалғастырады. Айнымалы токпен қуатталатын CO дабылдары жұмыс істемейді.
Өзара қосылған құрылғылар дара құрылғыларға қарағанда CO мәселесі туралы ертерек ескертуді қамтамасыз ете алады, әсіресе мәселе тұрғын үйдің шалғай аймағында басталса. Сериядағы кез келген құрылғы CO-ны сезсе, барлық CO және Smart Interconnect құрылғылары дабыл қағады. Қай CO дабылының дабылды бастағанын анықтау үшін кестені қараңыз.
| CO дабылын бастау кезінде | Қызыл жарықдиодты шам дабыл үлгісін жыпылықтатады |
| Барлық басқа CO дабылдарында | Қызыл жарықдиодты шам дабыл үлгісін жыпылықтатпайды |
Өзара қосу құрылғыларын тек бір отбасылық резиденцияның ішінде қосыңыз. Әйтпесе, сериядағы кез келген құрылғыны сынаған кезде барлық үй шаруашылықтары қажетсіз дабылдарды сезінеді. Өзара қосылған құрылғылар тек үйлесімді құрылғыларға қосылса және барлық талаптар орындалса ғана жұмыс істейді. Бұл құрылғы келесілермен үйлесімді болу үшін жасалған: BRK Electronics® және First Alert® 7010, 7010B, 7020B, SC7010B, SA520B, 9120, 9120B, SC9120B, 100S, SL177, SC7010BV, CO5120BN, CO5120PDBN, HD6135F, HD6135FB үлгілері.
Өзара қосылған құрылғылар БАРЛЫҚ келесі талаптарға сай болуы керек:

- Ауыстырылмаған 120VAC 60 Hz көзі
- Қосымша дабылдарға, Максимум = 18 дабыл
- CO дабылы
- Төбе немесе қабырға
- Қуат қосқышы
- Сым гайкасы
- Қорап
- Бейтарап сым (ақ)
- Өзара қосу сымы (Қызғылт сары)
- Ыстық сым (қара)
- Ең көп дегенде 18 үйлесімді түтін, жылу немесе CO дабылдарын өзара қосуға болады. NFPA 72 бойынша 18-дің 12-сінен артығы түтін дабылы бола алмайды.
- Барлық өзара қосылған құрылғыларды бірдей сақтандырғыш немесе тізбек сөндіргіші қуаттандыруы керек.
- Құрылғыларды өзара қосатын сымның жалпы ұзындығы 1000 футтан аз болуы керек. Бұл сым түрі әдетте аппараттық және электр жабдықтау дүкендерінде бар.
- Барлық сымдар барлық жергілікті электрлік кодтарға және Ұлттық электрлік кодекстің 210 және 300.3 (B) баптарына сәйкес келуі керек. Қосылымның қосымша талаптары үшін жергілікті құрылыс кодексіне жүгініңіз.
ҚҰЛЫПТАУ ФУНКЦИЯЛАРЫН ПАЙДАЛАНУ
Қосымша құлыптау функциялары батареяны немесе дабылды рұқсатсыз алып тастауды болдырмауға арналған. Егер рұқсатсыз батареяны немесе дабылды алып тастау мәселесі болмаса, құлыптарды бір отбасылық үй шаруашылықтарында іске қосудың қажеті жоқ.
Бұл CO дабылдарының екі бөлек құлыптау функциясы бар: біреуі батарея бөлігін құлыптайды, ал екіншісі CO дабылын бекіту кронштейніне құлыптайды. Сіз кез келген функцияны жеке пайдалануды немесе екеуін де пайдалануды таңдай аласыз.
Сізге қажет құралдар:
- Ине мұрынды қысқыш
- Стандартты жалпақ бұрағыш.

Екі құлыптау функциясы да бекіту кронштейніне құйылған құлыптау түйреуіштерін пайдаланады. Ине мұрынды қысқышты пайдаланып, қай құлыптау функцияларын пайдалануыңызға байланысты бір немесе екі түйреуішті алып тастаңыз.
БАТАРЕЯ БӨЛІГІНІҢ ҚҰЛЫПЫ
БАТАРЕЯ БӨЛІГІН ҚҰЛЫПТАУ ҮШІН:
Батареяны іске қосып, батареяның резервтік көшірмесін тексермейінше, батарея бөлігін құлыптамаңыз.
- "Батареяның резервтік көшірмесін іске қосу үшін тартыңыз" қойындысын алып тастау арқылы батареяның резервтік көшірмесін іске қосыңыз. CO дабылының қақпағындағы сынақ түймесін дыбыстық сигналды естігенше және дабыл дыбысын шығарғанша басып тұрыңыз: 4 дыбыс, кідіріс, 4 дыбыс, кідіріс.
![]()
Егер құрылғы сынақ кезінде дабыл қақпаса, батарея бөлігін құлыптамаңыз! Жаңа батареяны орнатып, қайтадан тексеріңіз. Егер ол әлі де дабыл қақпаса, CO дабылын дереу ауыстырыңыз. - Ине мұрынды қысқышты пайдаланып, бекіту кронштейнінен бір құлыптау түйреуішін ажыратыңыз.
![]()
- Құлыптау түйреуішін CO дабылының артындағы жапсырмадағы қара нүкте арқылы итеріңіз.
![]()
БАТАРЕЯ БӨЛІГІНІҢ ҚҰЛЫПЫН АШУ ҮШІН:
CO дабылы орнатылғаннан кейін, батарея бөлігінің құлпын ашпас бұрын оны C қуатынан ажырату керек.
ЭЛЕКТР ТОГЫНЫҢ ҚАУПІ. CO дабылын бекіту кронштейнінен алмас бұрын, CO дабылы орнатылған аймақтың қуатын өшіріңіз. Алдымен қуатты өшірмеу ауыр электр тогының соғуына, жарақатқа немесе өлімге әкелуі мүмкін.
- CO дабылын бекіту кронштейнінен алыңыз. Егер құрылғы кронштейнге құлыпталған болса, "Құлыптау функциясын өшіру" бөлімін қараңыз.
- CO дабылының артынан ақырын тартып, қуат қосқышын ажыратыңыз.
- Жалпақ бұрағышты құлыптау түйреуішінің басының астына салыңыз және оны батарея бөлігінің құлпынан ақырын шығарыңыз. (Егер сіз батарея бөлігін қайта құлыптауды жоспарласаңыз, құлыптау түйреуішін сақтаңыз.)
![]()
- Батарея бөлігін қайта құлыптау үшін батарея есігін жабыңыз және құлыптау түйреуішін құлыпқа қайта салыңыз.
- Қуат қосқышын CO дабылының артына қайта қосыңыз, CO дабылын бекіту кронштейніне қайта бекітіңіз және қуатты қалпына келтіріңіз.
Батареяны ауыстырған кезде, батарея бөлігін қайта құлыптамас бұрын CO дабылын әрқашан тексеріңіз.
БЕКІТУ КРОНШТЕЙНІНІҢ ҚҰЛЫПЫ
Сізге қажет құралдар:
- Ине мұрынды қысқыш
- Стандартты жалпақ бұрағыш
КРОНШТЕЙН ҚҰЛЫПЫН ІСКЕ ҚОСУ ҮШІН:
- Ине мұрынды қысқышты пайдаланып, бекіту кронштейнінен бір құлыптау түйреуішін ажыратыңыз.
![]()
- Құлыптау түйреуішін батарея есігінің айналмалы топсасында орналасқан құлыпқа салыңыз.
![]()
- CO дабылын бекіту кронштейніне бекіткен кезде, құлыптау түйреуішінің басы кронштейндегі ойыққа сәйкес келеді.
КРОНШТЕЙН ҚҰЛЫПЫН ӨШІРУ ҮШІН:
ЭЛЕКТР ТОГЫНЫҢ ҚАУПІ. CO дабылын бекіту кронштейнінен алмас бұрын, CO дабылы орнатылған аймақтың қуатын өшіріңіз. Қуатты өшірмеу ауыр электр тогының соғуына, жарақатқа немесе өлімге әкелуі мүмкін.
Айнымалы ток немесе айнымалы ток/тұрақты ток CO дабылына қызмет көрсетпес бұрын әрқашан тармақ тізбегін ажыратыңыз. Алдымен автоматты ажыратқыштағы немесе сақтандырғыш қорабындағы айнымалы ток қуатын өшіріңіз. Содан кейін батареяның резервтік көшірмесі бар дабылдардан батареяны алыңыз. Соңында сынақ түймесін басып тұрыңыз.
- Жалпақ бұрағышты бекіту кронштейнінің түйреуіші мен бекіту кронштейнінің арасына салыңыз.
![]()
- Бұрағышты да, CO дабылын да сағат тіліне қарсы (солға) бір уақытта бұрау арқылы CO дабылын кронштейннен ажыратыңыз.
![]()
КРОНШТЕЙН ҚҰЛЫПЫН ТҰРАҚТЫ АЛЫП ТАСТАУ ҮШІН:

Жалпақ бұрағышты құлыптау түйреуіші мен құлыптың арасына салыңыз және түйреуішті құлыптан шығарыңыз.
ЕГЕР СІЗДІҢ CO ДАБЫЛЫҢЫЗ ДЫБЫС БЕРСЕ
Сіздің CO дабылыңыздың іске қосылуы көміртегі тотығының (CO) бар екенін көрсетеді, ол сізді өлтіруі мүмкін. CO дабылыңыз дыбыс бергенде, оны елемеуге болмайды!
ЕГЕР ДАБЫЛ ДЫБЫС БЕРСЕ:
- Дабылды өшіру үшін Test/Silence (Сынау/Дыбысты өшіру) түймесін басыңыз.
- Жедел жәрдем қызметіне, өрт сөндіру бөліміне немесе 911-ге қоңырау шалыңыз. Жергілікті жедел жәрдем қызметінің нөмірін жазып алыңыз
- Дереу таза ауаға шығыңыз — сыртқа немесе ашық есік немесе терезе жанына. Барлық адамдардың есепке алынғанын тексеру үшін басын санаңыз. Жедел жәрдем қызметкері келгенше, үй-жайлар желдетілгенше және сіздің CO дабылыңыз қалыпты күйде қалғанша, үй-жайға қайта кірмеңіз немесе ашық есіктен немесе терезеден алыс кетпеңіз.
- 1-3 қадамдарды орындағаннан кейін, егер сіздің CO дабылыңыз 24 сағат ішінде қайта қосылса, 1-3 қадамдарды қайталаңыз және отын жағатын жабдықтар мен құрылғылардан CO көздерін зерттеу және осы жабдықтың дұрыс жұмыс істеуін тексеру үшін білікті құрылғы технигіне қоңырау шалыңыз. Егер осы тексеру кезінде ақаулар анықталса, жабдыққа дереу қызмет көрсетіңіз. Техник тексермеген кез келген жану жабдығын белгілеп, өндірушілердің нұсқауларын қараңыз немесе CO қауіпсіздігі және осы жабдық туралы қосымша ақпарат алу үшін тікелей өндірушілерге хабарласыңыз. Автокөліктердің қосылған гаражда немесе тұрғын үйдің жанында жұмыс істемегеніне және жұмыс істемегеніне көз жеткізіңіз. Білікті құрылғы технигінің нөмірін жазып алыңыз
Дабылдардың әртүрлі шектеулері бар. Толық ақпаратты "CO дабылдарының жалпы шектеулерінен" қараңыз.
ДЫБЫСТЫ ӨШІРУ ФУНКЦИЯЛАРЫН ПАЙДАЛАНУ
Мүйізді өшіру үшін ешқашан CO дабылының қуатын ажыратпаңыз — дыбысты өшіру функциясын пайдаланыңыз. CO дабылын ажырату сіздің қорғанысыңызды жояды! Дабылға жауап беру туралы толық ақпаратты алдыңғы беттен қараңыз.
Дыбысты өшіру функциясы CO дабылының дабыл мүйізін уақытша өшіруге арналған, ал сіз мәселені шешесіз — ол CO мәселесін түзетпейді. Дабыл өшірілген кезде, ол ауаны CO үшін бақылауды жалғастырады. CO дабыл деңгейіне жеткенде, құрылғы дыбыс береді — мүйіз үлгісін қайталайды: 4 дыбыс, кідіріс, 4 дыбыс және т.б. Мүйіз өшкенше Test/Silence (Сынау/Дыбысты өшіру) түймесін басып тұрыңыз. Дыбысты өшіру циклі шамамен 4 минутқа созылады.
Дабылдардың өзара байланысты сериясын өшіру үшін бастапқы дабылдағы (жыпылықтайтын қызыл шамы бар құрылғы) Test/Silence (Сынау/Дыбысты өшіру) түймесін басу керек. Егер сіз кез келген басқа дабылдағы Test/Silence (Сынау/Дыбысты өшіру) түймесін бассаңыз, ол тек сол құрылғыны өшіреді, бүкіл өзара байланысты серияны емес.
ЕСКЕРТПЕ: 4 минуттық дыбысты өшіру циклінен кейін CO дабылы қазіргі CO деңгейлерін қайта бағалайды және сәйкесінше жауап береді. Егер CO деңгейлері әлі де қауіпті болса — немесе одан да жоғарылай бастаса — мүйіз қайтадан дыбыс бере бастайды.
CO дабылы өшірілген кезде:
Егер CO дабылы...тек 4 минут бойы үнсіз болса, содан кейін қатты дыбыс бере бастаса — 4 дыбыс, содан кейін кідіріс, 4 дыбыс, содан кейін кідіріс. Қызыл шам (LED) жыпылықтауды жалғастырады...
Бұл нені білдіреді...CO деңгейлері әлі де қауіпті.
Егер CO дабылы...үнсіз қалса....
Бұл нені білдіреді...құрылғы қалыпты жұмысқа оралды.
БАТАРЕЯНЫҢ ТӨМЕНДІГІ ТУРАЛЫ ЕСКЕРТУДІ ӨШІРУ
Бұл дыбысты өшіру функциясы айнымалы ток қуаты болған жағдайда батареяның төмендігі туралы ескерту "дыбысын" 8 сағатқа дейін уақытша басады. Дабыл қақпағындағы Test/Silence (Сынау/Дыбысты өшіру) түймесін басыңыз. Батареяның төмендігі туралы ескерту "дыбысын" өшіру функциясы іске қосылғаннан кейін, құрылғы 8 сағат бойы минутына бір рет қызыл шамды жыпылықтатады. 8 сағаттан кейін батареяның төмендігі туралы "дыбыс" қайта басталады. Қуаттың өшуі жағдайында қорғанысты сақтау үшін батареяны мүмкіндігінше тезірек ауыстырыңыз.
ҚЫЗМЕТ МЕРЗІМІНІҢ АЯҚТАЛУЫ ТУРАЛЫ СИГНАЛДЫ ӨШІРУ
Бұл дыбысты өшіру функциясы Қызмет мерзімінің аяқталуы туралы ескерту "дыбысын" 2 күнге дейін уақытша басады. Test/Silence (Сынау/Дыбысты өшіру) түймесін басу арқылы Қызмет мерзімінің аяқталуы туралы ескерту "дыбысын" өшіруге болады. Мүйіз дыбыс береді, бұл Қызмет мерзімінің аяқталуы туралы дыбысты өшіру функциясының іске қосылғанын растайды.
Шамамен 2 күннен кейін Қызмет мерзімінің аяқталуы туралы "дыбыс" қайта басталады.
Шамамен 2-3 аптадан кейін Қызмет мерзімінің аяқталуы туралы ескертуді өшіру мүмкін емес.
БЕКІТУ ФУНКЦИЯЛАРЫ
Дабыл бекіткіші дабыл көміртегі тотығының дабыл деңгейлеріне ұшырағаннан кейін іске қосылады. Бұл функция тек айнымалы ток қуатымен жұмыс істейді. CO деңгейлері дабыл деңгейлерінен төмендегеннен кейін, Қызыл LED 2 секунд бойы қосылып, 2 секунд бойы өше бастайды. Ол дабылды сынау арқылы тазалағанша жыпылықтауды немесе "бекітуді" жалғастырады.
Бұл функция жедел жәрдем қызметкерлеріне, тергеушілерге немесе қызмет көрсету техниктеріне сіздің үйіңіздегі қай құрылғылардың көміртегі тотығының дабыл деңгейлеріне ұшырағанын анықтауға көмектеседі. Бұл тергеушілерге CO көзін анықтауға көмектеседі.
Өзара байланысты дабылдар. Бекіту дабылының индикаторы сериядағы қай дабылдардың көміртегі тотығының дабыл деңгейлеріне ұшырағанын көрсетеді.
Бекіту дабылының индикаторы оны тазалағанша ҚОСУЛЫ күйінде қалады, сондықтан ол сіз үйде болмаған кезде пайда болған CO дабылы туралы ескерте алады, тіпті ауадағы CO дабыл деңгейлерінен төмендеген болса да.
Батареяның төмендігі туралы бекіткіш дабыл "батареяның төмендігі күйінде" болған кезде іске қосылады. Бұл орын алған кезде қызыл LED 4 секунд Қосулы/2 секунд Өшірулі күйінде жыпылықтайды. Бұл функция қай дабылдың батареясын ауыстыру керектігін анықтауға көмектесуге арналған. Дегенмен, дабыл батареяның төмендігі туралы дыбысты шамамен әр минут сайын шығарады, кейде "батареяның төмендігінің" бастапқы кезеңдерінде дабыл бір минуттан үлкен аралықтарда, кейде батарея тұрақты төмен деңгейге жеткенше бірнеше сағатқа дейін дыбыс береді. Бұл инновациялық функция қай құрылғының дыбыс беріп жатқанын күту және/немесе анықтау кезіндегі көңілсіздікті жояды.
АПТА САЙЫНҒЫ ТЕСТІЛЕУ
Дыбыстық сигналды және қатты дабыл дыбысын естігенше Test/Silence (Сынау/Дыбысты өшіру) түймесін басып тұрыңыз — 4 дыбыс, кідіріс, 4 дыбыс. Бұл тізбек 10 секундқа созылуы керек. Егер дабыл дұрыс тексерілмесе, оны дереу ауыстырыңыз.
- Егер дабыл дұрыс тексерілмесе, оны дереу ауыстырыңыз. Кепілдікке жататын өнімдерді ауыстыру үшін өндірушіге қайтаруға болады.
- Мүйіз дыбыс беріп жатқанда дабылға жақын тұрмаңыз. Жақын қашықтықта әсер ету есту қабілетіңізге зиян тигізуі мүмкін. Сынақ кезінде мүйіз дыбыс бере бастағанда алыстаңыз.
- ЕШҚАШАН көлік шығарындысын пайдаланбаңыз! Шығарынды тұрақты зақым келтіруі мүмкін және кепілдігіңізді жояды.
ТҰРАҚТЫ ТЕХНИКАЛЫҚ ҚЫЗМЕТ КӨРСЕТУ
CO дабылының дұрыс жұмыс істеуін қамтамасыз ету үшін:
- Оны әр апта сайын "Апталық тестілеу" бөлімінде сипатталғандай тексеріп тұрыңыз.
- CO дабылының қақпағын айына кемінде бір рет жұмсақ щетка қондырмасын пайдаланып шаңсорғышпен тазалаңыз. Ешқашан су, тазалағыш заттар немесе еріткіштерді пайдаланбаңыз, себебі олар құрылғыны зақымдауы мүмкін. Шаңсорғышпен тазалағаннан кейін дабылды қайтадан тексеріңіз.
- "Батарея зарядының төмендігі туралы ескертуді" көрген/естіген кезде батареяны дереу ауыстырыңыз.
Батарея зарядының төмендігі (немесе жоқтығы) туралы ескерту (CO5120PDBN):
Сирена минутына бір рет "дыбыс береді" және дисплейде "bat" сөзі жыпылықтайды.
БАТАРЕЯНЫ АУЫСТЫРУ
Ауыстыратын батареяны таңдау: Бұл құрылғыға бір стандартты 9V сілтілік батарея қажет. Келесі сілтілік батареяларды ауыстыруға болады:
Duracell MN1604, Energizer 522, Ultralife U9VL-J және Ultralife U9VL-J-P.
Бұл ауыстыратын батареяларды жергілікті бөлшек сауда дүкендерінен табуға болады.
- Әрқашан осы пайдаланушы нұсқаулығында көрсетілген нақты батареяларды пайдаланыңыз. Қайта зарядталатын батареяларды ПАЙДАЛАНБАҢЫЗ. Батареяны орнатпас бұрын батарея контактілерін, сондай-ақ құрылғының контактілерін тазалаңыз. Батареяларды полярлықты (+ және -) ескере отырып дұрыс орнатыңыз.
- Пайдаланылған батареяларды жергілікті ережелерге сәйкес дұрыс кәдеге жаратыңыз немесе қайта өңдеңіз. Өз аймағыңыздағы электрониканы қайта өңдеу орнын табу үшін жергілікті қалдықтарды басқару органына немесе қайта өңдеу ұйымына хабарласыңыз. БАТАРЕЯЛАРДЫ ОТҚА ТАСТАМАҢЫЗ. БАТАРЕЯЛАР ЖАРЫЛЫП КЕТУІ НЕМЕСЕ АҒЫП КЕТУІ МҮМКІН.
- Батареяны балалардың қолы жетпейтін жерде сақтаңыз. Егер батарея жұтылып қойылса, дереу улануды бақылау орталығына, дәрігерге немесе 202-625-3333 телефоны бойынша Ұлттық батареяны жұту желісіне хабарласыңыз, себебі ауыр жарақат алуы мүмкін.
- CO дабылына немесе оның жанына тікелей тазалау химиялық заттарын немесе жәндіктерге қарсы спрейлерді шашпаңыз. CO дабылының үстінен боямаңыз. Бұлай істеу тұрақты зақым келтіруі мүмкін.
- Тұрмыстық тазалағыштар, аэрозольді химиялық заттар және басқа да ластаушы заттар сенсорға әсер етуі мүмкін. CO дабылының жанында осы материалдардың кез келгенін пайдаланған кезде бөлменің жақсы желдетілуін қамтамасыз етіңіз.
- Егер сіздің үйіңіз фумигацияланып жатса, құрылғыны уақытша ажыратыңыз және оны химиялық заттарға немесе түтіндерге ұшырамайтын жерге қойыңыз. Фумигация аяқталғаннан кейін және түтіннің барлық іздері кеткеннен кейін құрылғыны қайтадан қосыңыз және қайта тексеріңіз.
CO ТУРАЛЫ НЕ БІЛУ КЕРЕК
CO ДЕГЕНІМІЗ НЕ?
CO – қазба отындары толық жанбаған кезде немесе қызуға ұшыраған кезде (әдетте өрт) пайда болатын көрінбейтін, иіссіз, дәмсіз газ. Электр құрылғылары әдетте CO шығармайды.
Бұл отындарға мыналар жатады: ағаш, көмір, ағаш көмірі, мұнай, табиғи газ, бензин, керосин және пропан.
Кәдімгі құрылғылар көбінесе CO көздері болып табылады.
Егер олар дұрыс күтілмесе, дұрыс желдетілмесе немесе істен шықса, CO деңгейі тез көтерілуі мүмкін. Қазіргі уақытта үйлер энергияны үнемді пайдаланатындықтан, CO нақты қауіп төндіреді. Қосымша оқшаулауы, тығыздалған терезелері және басқа да ауа райынан қорғайтын "ауа өткізбейтін" үйлер CO-ны ішінде "қамап" қоюы мүмкін.
CO-МЕН УЛАНУ БЕЛГІЛЕРІ
Бұл белгілер CO-МЕН УЛАНУҒА байланысты және оларды БАРЛЫҚ үй шаруашылығы мүшелерімен талқылау керек.
Жеңіл әсер ету: Жеңіл бас ауруы, жүрек айнуы, құсу, шаршау ("тұмауға ұқсас" белгілер).
Орташа әсер ету: Бастың қатты ауруы, ұйқышылдық, шатасу, жүрек соғуының жиілеуі.
Ауыр әсер ету: Тырысулар, естен тану, жүрек және өкпе жеткіліксіздігі. Көміртегі тотығының әсерінен мидың зақымдануы, өлім болуы мүмкін.
Бұл CO дабылы уақыт өте келе CO-ға әсер етуді өлшейді. Егер CO деңгейі қысқа мерзімде өте жоғары болса немесе CO деңгейі ұзақ уақыт бойы белгілі бір минимумға жетсе, ол дабыл қағады. CO дабылы әдетте орташа, сау ересектерде белгілер пайда болғанға дейін дабыл қағады.
Бұл неліктен маңызды? Себебі сізге әлі де уақытында әрекет ете алатын кезде ықтимал CO мәселесі туралы ескерту керек. CO-ға әсер етудің көптеген хабарланған жағдайларында құрбандар өздерін жақсы сезінбейтінін білуі мүмкін, бірақ бағдардан адасып, ғимараттан шығуға немесе көмек алуға жеткілікті әрекет ете алмайды. Сондай-ақ, жас балалар мен үй жануарлары бірінші болып зардап шегуі мүмкін. CO дабылы шыққан кезде орташа сау ересек адам ешқандай белгілерді сезбеуі мүмкін. Алайда, жүрек немесе тыныс алу проблемалары бар адамдар, нәрестелер, туылмаған сәбилер, жүкті аналар немесе қарт адамдар CO-ның әсерінен тезірек және ауыр зардап шегуі мүмкін. Егер сізде CO-мен уланудың тіпті жеңіл белгілері болса да, дереу дәрігерге қаралыңыз!
ДАБЫЛДАН КЕЙІН CO КӨЗІН ТАБУ
Көміртегі тотығы – иіссіз, көрінбейтін газ, сондықтан дабылдан кейін CO көзін табу қиынға соғады. CO көздерін табуды қиындататын бірнеше факторлар бар:
- Тергеуші келгенге дейін үй жақсы желдетілген.
- Мәселе "кері тартудан" туындаған.
- Арнайы жағдайлар тудырған өтпелі CO мәселесі.
CO тергеуші келгенше таралып кетуі мүмкін болғандықтан, CO көзін табу қиын болуы мүмкін. BRK Brands, Inc. көміртегі тотығын зерттеуге немесе қызмет көрсетуге ақы төлеуге міндетті емес.
ҮЙДЕГІ CO-НЫҢ ЫҚТИМАЛ КӨЗДЕРІ

Отын жағатын құрылғылар, мысалы:
портативті жылытқыш, газбен немесе ағашпен жанатын камин, газ плитасы немесе пісіру беті, газбен кептіргіш.
Зақымдалған немесе жеткіліксіз желдету:
тот басқан немесе ажыратылған су жылытқышының желдеткіш құбыры, ағып тұрған мұржа құбыры немесе түтін құбыры немесе жарылған жылу алмастырғыш, бітелген немесе бітелген мұржа саңылауы.
Құрылғыны/құрылғыны дұрыс пайдаланбау:
жабық жерде (мысалы, гараж немесе қоршалған кіреберіс) барбекю грилін немесе көлікті пайдалану.
Өтпелі CO мәселелері:
"өтпелі" немесе қайталанатын CO мәселелерін сыртқы жағдайлар мен басқа да арнайы жағдайлар тудыруы мүмкін.
Келесі жағдайлар өтпелі CO жағдайларына әкелуі мүмкін:
- Сыртқы жағдайларға байланысты отын құрылғыларының шамадан тыс төгілуі немесе кері желдетілуі, мысалы:
- Желдің бағыты және/немесе жылдамдығы, соның ішінде қатты, екпінді жел. Желдеткіш құбырлардағы ауыр ауа (салқын/ылғалды ауа циклдер арасында ұзақ уақыт аралығымен).
- Сорғыш желдеткіштерді пайдалану нәтижесінде пайда болатын теріс қысым айырмашылығы.
- Шектеулі таза ауа үшін бір уақытта жұмыс істейтін бірнеше құрылғы.
- Кір кептіргіштерден, пештерден немесе су жылытқыштарынан босап кеткен желдеткіш құбырларының қосылымдары.
- Жоғарыда аталған жағдайларды күшейте алатын желдеткіш құбырларының конструкцияларындағы кедергілер немесе стандартты емес конструкциялар.
- Желдетілмейтін отын жағатын құрылғыларды ұзақ уақыт пайдалану (плита, пеш, камин).
- Жерге жақын жерде шығарындыларды ұстап қалуы мүмкін температуралық инверсиялар.
- Көліктің ашық немесе жабық қосылған гаражда немесе үйдің жанында бос тұруы.
Бұл жағдайлар қауіпті, себебі олар шығарындыларды сіздің үйіңізде ұстап қалуы мүмкін. Бұл жағдайлар келіп-кетіп тұруы мүмкін болғандықтан, оларды CO зерттеуі кезінде қайта жасау да қиын.
ОТБАСЫМДЫ ҚАЛАЙ ҚОРҒАЙ АЛАМЫН
CO дабылы – қорғаудың тамаша құралы. Ол ауаны бақылайды және көміртегі тотығының деңгейі орташа, сау ересектер үшін қауіп төндірмес бұрын қатты дабыл қағады.
CO дабылы үй құрылғыларына дұрыс техникалық қызмет көрсетудің орнын баса алмайды.
CO мәселелерін болдырмауға және CO-мен улану қаупін азайтуға көмектесу үшін:
- Жылына мұржалар мен түтін құбырларын тазалаңыз. Оларды дұрыс ауа ағыны үшін қоқыстардан, жапырақтардан және ұялардан тазалаңыз. Сондай-ақ, кәсіби маманнан тот пен коррозияны, жарықтарды немесе бөлінулерді тексертіңіз. Бұл жағдайлар дұрыс ауа қозғалысына кедергі келтіріп, кері тартуды тудыруы мүмкін. Ешқашан мұржаны ауа ағынын бөгейтін кез келген тәсілмен "жаппаңыз" немесе жаппаңыз.
- Жылына барлық отын жағатын жабдықтарды тексеріп, техникалық қызмет көрсетіңіз. Көптеген жергілікті газ немесе мұнай компаниялары және HVAC компаниялары құрылғыларды аз ғана ақыға тексереді.
- Барлық отын жағатын құрылғыларды үнемі көзбен тексеріп тұрыңыз. Құрылғыларды шамадан тыс тот пен қақтан тексеріңіз. Сондай-ақ, оттықтағы жалынды және тұтандырғыш шамдарды тексеріңіз. Жалын көк түсті болуы керек. Сары жалын отынның толық жанбайтынын және CO болуы мүмкін екенін білдіреді. Пештің үрлегіш есігін жабық ұстаңыз. Барлық отын жағатын құрылғыларда қол жетімді болған кезде желдеткіштерді немесе желдеткіштерді пайдаланыңыз. Құрылғылардың сыртқа қарай желдетілуін қамтамасыз етіңіз. Грильдерді немесе барбекюді үй ішінде немесе гараждарда немесе экрандалған кіреберістерде пайдаланбаңыз.
- CO көздерінен шығатын шығарындылардың кері ағынын тексеріңіз. Жұмыс істеп тұрған пештегі тартқыш қақпағында кері тартуды тексеріңіз. Пештің жылу алмастырғыштарындағы жарықтарды іздеңіз.
- Ортақ қабырғаның арғы жағындағы үйді немесе гаражды тексеріңіз.
- Терезелер мен есіктерді сәл ашық ұстаңыз. Егер сіз CO сіздің үйіңізге шығып жатыр деп күдіктенсеңіз, терезе немесе есік ашыңыз. Терезелер мен есіктерді ашу CO деңгейін айтарлықтай төмендетуі мүмкін.
UNDERWRITERS LABORATORIES INC UL2034
CO-НЫҢ ҚАНДАЙ ДЕҢГЕЙЛЕРІ ДАБЫЛДЫ ТУДЫРАДЫ?
Underwriters Laboratories Inc. UL2034 стандарты тұрғын үй CO дабылдарының төменде сипатталғандай CO деңгейлеріне және әсер ету уақытына ұшыраған кезде дыбыс шығаруын талап етеді. Олар уақыт өте келе (минутпен) CO-ның миллиондаған бөліктерімен (ppm) өлшенеді.
UL2034 талап ететін дабыл нүктелері*:
- Егер дабыл CO-ның 400 ppm-іне ұшыраса, ОЛ 4 пен 15 МИНУТ АРАЛЫҒЫНДА ДАБЫЛ ҚАҒУЫ КЕРЕК
- Егер дабыл CO-ның 150 ppm-іне ұшыраса, ОЛ 10 мен 50 МИНУТ АРАЛЫҒЫНДА ДАБЫЛ ҚАҒУЫ КЕРЕК.
- Егер дабыл CO-ның 70 ppm-іне ұшыраса, ОЛ 60 пен 240 МИНУТ АРАЛЫҒЫНДА ДАБЫЛ ҚАҒУЫ КЕРЕК.
* Шамамен 10%-дан 95%-ға дейінгі салыстырмалы ылғалдылық (RH) кезінде 10% COHb әсері.
Құрылғы 30 күн бойы 30 ppm тұрақты деңгейге ұшыраған кезде дабыл қақпайтындай етіп жасалған.
CO дабылдары өмірге тікелей қауіп төнгенге дейін дабыл қағуға арналған. CO-ны көруге немесе иіскеуге болмайтындықтан, оның жоқ деп ешқашан ойламаңыз.
- CO-ның 100 ppm-іне 20 минут бойы әсер ету орташа, сау ересектерге әсер етпеуі мүмкін, бірақ 4 сағаттан кейін сол деңгей бас ауруын тудыруы мүмкін.
- CO-ның 400 ppm-іне әсер ету орташа, сау ересектерде 35 минуттан кейін бас ауруын тудыруы мүмкін, бірақ 2 сағаттан кейін өлімге әкелуі мүмкін.
Стандарттар: Underwriters Laboratories Inc. Бір және бірнеше станциялы көміртегі тотығы дабылдары UL2034.
Underwriters Laboratories Inc. UL2034, 1-1.2 бөліміне сәйкес: "Осы талаптармен қамтылған көміртегі тотығы дабылдары көміртегі тотығының болуына жауап беруге арналған, мысалы, іштен жанатын қозғалтқыштардан шығатын газдар, отынмен жанатын құрылғылардың қалыптан тыс жұмысы және каминдер. CO дабылдары көміртегі тотығының әсерінен туындайтын қауіптерге әрекет ету қабілетін жоғалтуы мүмкін деңгейден төмен көміртегі тотығы деңгейінде дабыл қағуға арналған." Бұл CO дабылы дабылдың жанындағы ауаны бақылайды және CO деңгейі өмірге қауіп төндірмес бұрын дабыл қағуға арналған.
Бұл сізге үйден шығып, мәселені түзетуге қымбат уақыт береді. Бұл тек дабылдар осы нұсқаулықта сипатталғандай орналастырылса, орнатылса және техникалық қызмет көрсетілсе ғана мүмкін болады.
Типтік температура мен ылғалдылық диапазонындағы газды анықтау: CO дабылы әдетте 30 ppm-нен төмен CO деңгейін анықтауға арналмаған. UL метанға (500 ppm), бутанға (300 ppm), гептанға (500 ppm), этил ацетатына (200 ppm), изопропил спиртіне (200 ppm) және көмірқышқыл газына (5000 ppm) жалған дабылға төзімділігін тексерді. Мәндер газ бен бу концентрациясын миллиондаған бөліктермен өлшейді.
Естілетін дабыл: 10 футта (3 метр) кемінде 85 дБ.
CO ДАБЫЛДАРЫНЫҢ ЖАЛПЫ ШЕКТЕУЛЕРІ
Бұл CO дабылы тұрғын үйлерде пайдалануға арналған. Ол көміртегі тотығы детекторларына қойылатын Еңбекті қорғау және қауіпсіздік басқармасының (OSH) талаптары орындалуы тиіс өнеркәсіптік қолданбаларда пайдалануға арналмаған.
CO дабылдары барлық адамдарды оята алмауы мүмкін. Егер балалар немесе басқа адамдар CO дабылының дыбысынан оңай оянбаса немесе сәбилер немесе жүріп-тұру мүмкіндігі шектеулі отбасы мүшелері болса, төтенше жағдай туындаған жағдайда оларға көмектесуге біреудің тағайындалғанына көз жеткізіңіз.
CO дабылдары қуатсыз жұмыс істемейді. Бұл CO дабылына айнымалы ток қуатының үздіксіз берілуі және батареяның резервтік көзін қосу үшін жаңа, дұрыс орнатылған 9 В батареясы қажет. Батареяның резервтік көзі тек төтенше жағдайларда ғана пайдалануға арналған!
Күн немесе жел энергиясын пайдаланушыларға және батареяның резервтік қуат жүйелеріне арналған CO дабылдары: Айнымалы токпен жұмыс істейтін CO дабылдары тек нағыз немесе таза синусоидалық инверторлармен жұмыс істеуі керек. Бұл CO дабылын көптеген батареямен жұмыс істейтін UPS (үздіксіз қуат көзі) өнімдерімен немесе квадраттық толқынды немесе "квази синусоидалық толқынды" инверторлармен пайдалану дабылға зақым келтіреді. Егер сіз инвертор немесе UPS түріне сенімді болмасаңыз, тексеру үшін өндірушімен кеңесіңіз.
Бұл CO дабылы сенсорға жетпейтін көміртегі тотығын сезбейді. Бұл CO дабылы тек сенсордағы CO-ны сезеді. CO басқа аймақтарда болуы мүмкін. Есіктер немесе басқа кедергілер CO-ның CO дабылына жету жылдамдығына әсер етуі мүмкін. Осы себепті, егер жатын бөлмелердің есіктері әдетте түнде жабық болса, біз әрбір жатын бөлмеге және олардың арасындағы дәлізге CO дабылын орнатуды ұсынамыз.
CO дабылдары үйдің басқа қабатындағы CO-ны сезбеуі мүмкін. Мысалы, жатын бөлмелердің жанындағы екінші қабаттағы CO дабылы жертөледегі CO-ны сезбеуі мүмкін. Осы себепті, бір CO дабылы жеткілікті ескерту бермеуі мүмкін. Толық қамту ұсынылады. CO дабылдарын үйдің әр қабатына орналастырыңыз.
CO дабылдары естілмеуі мүмкін. Дабыл мүйізінің қаттылығы 10 футта (3 метр) 85 дБ-ге тең немесе одан асатын ағымдағы UL стандарттарына сәйкес келеді. Алайда, егер CO дабылы жатын бөлмеден тыс жерде орнатылса, ол қатты ұйықтап жатқан адамды немесе жақында есірткі қолданған немесе алкогольдік ішімдіктер ішкен адамды оята алмауы мүмкін. Бұл әсіресе есік жабық немесе жартылай ашық болса, рас. Тіпті ояу адамдар да дыбыс қашықтықпен немесе жабық есіктермен бөгелсе, дабыл мүйізін естімеуі мүмкін. Көлік қозғалысының, стереоның, радионың, теледидардың, кондиционердің немесе басқа құрылғылардың шуы да сақ адамдардың дабыл мүйізін естуіне кедергі келтіруі мүмкін. Бұл CO дабылы есту қабілеті нашар адамдарға арналмаған.
CO дабылдары түтін дабылының орнын баса алмайды. Өрт көміртегі тотығының көзі болғанымен, бұл CO дабылы түтінді немесе өртті сезбейді. Бұл CO дабылы ақаулы пештерден, құрылғылардан немесе басқа көздерден байқалмай шығып кетуі мүмкін CO-ны сезеді. Өрт туралы ерте ескерту үшін түтін дабылдарын орнату қажет.
CO дабылдары өмірді сақтандырудың орнын баса алмайды. Бұл CO дабылдары CO деңгейінің жоғарылауына қарсы ескертсе де, BRK Brands, Inc. олардың өмірді CO-дан уланудан қорғайтынына ешқандай кепілдік бермейді немесе меңземейді. Үй иелері мен жалға алушылар әлі де өз өмірлерін сақтандыруы керек.
CO дабылдарының қызмет ету мерзімі шектеулі. CO дабылы және оның барлық бөліктері көптеген қатаң сынақтардан өткен және мүмкіндігінше сенімді болуға арналған болса да, бұл бөліктердің кез келгені кез келген уақытта істен шығуы мүмкін. Сондықтан сіз CO дабылын апта сайын тексеріп тұруыңыз керек.
CO дабылдары ақымақ емес. Барлық басқа электрондық құрылғылар сияқты, CO дабылдарының да шектеулері бар. Олар тек өз сенсорларына жететін CO-ны анықтай алады. Егер CO үйдің шалғай бөлігінен, CO дабылынан алыс жерден шықса, олар CO деңгейінің көтерілуі туралы ерте ескерту бермеуі мүмкін.
АҚАУЛЫҚТАРДЫ ТҮЗЕТУ ЖӨНІНДЕГІ НҰСҚАУЛЫҚ
ЭЛЕКТР ТОГЫНЫҢ СОҒУ ҚАУПІ. CO дабылын бекіту кронштейнінен алдында немесе электр қосылымдарын тексермес бұрын, CO дабылы орнатылған аймаққа қуатты өшіріңіз! Қуатты алдымен өшірмеу ауыр электр тогының соғуына, жарақатқа немесе өлімге әкелуі мүмкін.
Төмендегі нұсқаулық CO дабылының орнатылуындағы немесе жұмысындағы ықтимал мәселені анықтауға көмектеседі. ЕСКЕРТПЕ: Бұл CO дабылының барлық жағдайларының толық тізімі болуға арналмаған. Егер сіз келесі бірнеше бетте қамтылмаған жағдайды бастан кешіріп жатсаңыз, Тұтынушылық істермен хабарласыңыз.
| Мәселе... | Егер дабыл... | Сіз... |
| Қызыл шам ӨШІРУЛІ. Test/Silence (Тексеру/Дыбысты өшіру) түймесін басқанда құрылғы дабыл қақпайды. | Құрылғы ешқандай қуат алмауы мүмкін. | Айнымалы ток қуат көзін тексеріңіз. Қуат қосқышының дабылға мықтап бекітілгеніне көз жеткізіңіз. Батареяның резервтік көзін қосу үшін жаңа 9 В батареясының орнатылғанына көз жеткізіңіз. |
| Қызыл шам минутына бір рет жыпылықтайды (мүйіз үнсіз). (CO5120PDBN дисплейінде "bat" деп жазылған). | Дабыл айнымалы ток қуатын алмайды. | Құрылғы тұрақты ток батареясының резервтік көзінде жұмыс істейді. C қуат көзін тексеріңіз. |
| Қызыл шам жыпылықтайды және мүйіз минутына бір рет "шырылдайды". (CO5120PDBN дисплейінде "bat" жыпылықтайды). | Батареяның заряды аз екендігі туралы ескерту. | Батареяның резервтік көзіндегі 9 В батареяны ауыстырыңыз. Батареяны ауыстырмас бұрын айнымалы ток қуатын ажыратыңыз. |
| Минутына бір рет дабыл 3 рет "шырылдайды" және қызыл шам үш рет жыпылықтайды. (CO5120PDBN дисплейінде "Err" деп жазылған). | АҚАУЛЫҚ СИГНАЛЫ. Өзін-өзі тексеру диагностикасына негізделген, құрылғы ақаулықты анықтады. Құрылғыны ауыстыру керек. | Жаңа 9 В батареясының орнатылғанына көз жеткізіңіз. Егер құрылғы әлі де жұмыс істемесе – ОНЫ АУЫСТЫРЫҢЫЗ. Кепілдікке жататын құрылғылар ауыстыру үшін өндірушіге қайтарылуы керек. |
| Шам жыпылықтайды (қызыл) және мүйіз әр минут сайын 5 рет "шырылдайды". (CO5120PDBN дисплейінде "End" деп жазылған). | ҚЫЗМЕТ МЕРЗІМІНІҢ АЯҚТАЛУ СИГНАЛЫ. CO дабылын ауыстыру керек. | Дереу CO дабылын ауыстырыңыз. |
| Test/Silence (Тексеру/Дыбысты өшіру) түймесін басқаннан кейін 4 минуттан соң CO дабылы қайтадан дабыл қағады. | CO деңгейі әлі де қауіпті болуы мүмкін. | Дабылға қалай жауап беру керектігі туралы толық ақпарат алу үшін "CO дабылыңыз дыбыс шығарса" бөлімін қараңыз. Егер біреу өзін нашар сезінсе, дереу үйіңізден ЭВАКУАЦИЯЛАҢЫЗ және 911 нөміріне қоңырау шалыңыз. |
| CO деңгейінің жоғары екендігі туралы зерттеуде анықталмаса да, CO дабылы жиі дыбыс шығарады. | CO дабылы дұрыс орналаспауы мүмкін. "CO дабылдарын қайда орнату керек" бөлімін қараңыз. | Дабылыңызды қайта орналастырыңыз. Егер жиі дабыл қағу жалғаса берсе, үйіңізді CO проблемаларының бар-жоғын қайта тексертіңіз. Сізде CO проблемасы үзіліспен болуы мүмкін. |
© 2012 BRK Brands, Inc. Барлық құқықтар қорғалған.
BRK Brands, Inc. таратқан.
3901 Liberty Street Road, Aurora, IL 60504-8122
Тұтынушылық істер: (800) 323-9005

Сілтемелер
Нұсқаулықты жүктеп алу
Мұнда нұсқаулықтың толық pdf нұсқасын жүктеп алуға болады, онда қосымша қауіпсіздік нұсқаулары, кепілдік туралы ақпарат, FCC ережелері және т.б. болуы мүмкін.







