Kidde P9040 - Dūmų signalizacijos instrukcija
ĮVADAS
9 voltų baterijomis maitinamas fotoelektrinis dūmų signalizatorius su "HUSH" (nutildymo) valdikliu, skirtas laikinai nutildyti erzinančius pavojaus signalus.
Dėkojame, kad įsigijote šį dūmų signalizatorių. Tai svarbi jūsų šeimos namų saugos plano dalis. Galite pasitikėti, kad šis produktas užtikrins aukščiausios kokybės saugos apsaugą. Žinome, kad tikitės tik to, kai kyla pavojus jūsų šeimos narių gyvybėms.
DŪMŲ SIGNALIZATORIUS NEGALI BŪTI MONTUOJAMAS, JEI NĖRA BATERIJOS. IŠĖMUS BATERIJĄ, DŪMŲ SIGNALIZATORIUS NEVEIKS.
PRIEŠ MONTUODAMI PERSKAITYKITE VISAS INSTRUKCIJAS IR LAIKYKITE ŠIĄ INSTRUKCIJĄ ŠALIA SIGNALIZATORIAUS, KAD GALĖTUMĖTE PASINAUDOTI ATEITYJE.
REKOMENDUOJAMOS SIGNALIZATORIŲ VIETOS

- Pirmąjį signalizatorių įrenkite šalia miegamųjų. Stenkitės stebėti išėjimo kelią, nes miegamieji paprastai yra toliausiai nuo išėjimo. Jei yra daugiau nei viena miegamoji zona, įrenkite papildomus signalizatorius kiekvienoje miegamojoje zonoje.
- Įrenkite papildomus signalizatorius, kad stebėtumėte bet kokią laiptinę, nes laiptinės veikia kaip dūmų ir karščio kaminai.
- Įrenkite bent vieną signalizatorių kiekviename aukšte.
- Įrenkite signalizatorių kiekviename miegamajame.
- Įrenkite signalizatorių kiekviename kambaryje, kuriame naudojami elektros prietaisai (pvz., nešiojami šildytuvai arba drėkintuvai).
- Įrenkite signalizatorių kiekviename kambaryje, kuriame kas nors miega uždaręs duris. Uždarytos durys gali neleisti signalizatoriui, kuris nėra tame kambaryje, pažadinti miegantįjį.
- Dūmai, karštis ir degimo produktai kyla į lubas ir plinta horizontaliai. Dūmų signalizatoriaus montavimas ant lubų kambario centre leidžia jam būti arčiausiai visų kambario taškų.
Lubų montavimas yra pageidautinas įprastoje gyvenamojoje statyboje.
- Montuodami mobiliajame name, atidžiai pasirinkite vietas, kad išvengtumėte šiluminių barjerų, kurie gali susidaryti prie lubų. Daugiau informacijos rasite skyriuje MOBILIOJO NAMO ĮRENGIMAS žemiau.
- Montuodami signalizatorių ant lubų, įrenkite jį mažiausiai 4 colių (10 cm) atstumu nuo šoninės sienos (žr. 1 paveikslą).
- Montuodami signalizatorių ant sienos, naudokite vidinę sieną, kurios viršutinis kraštas būtų mažiausiai 4 colių (10 cm) ir daugiausia 12 colių (30,5 cm) atstumu nuo lubų (žr. 1 paveikslą).
- Įrenkite dūmų signalizatorius abiejuose miegamojo koridoriaus arba didelio kambario galuose, jei koridorius arba kambarys yra ilgesnis nei 30 pėdų (9,1 m).
- Įrenkite dūmų signalizatorius ant nuožulnių, smailėjančių arba katedros tipo lubų ties aukščiausiu tašku arba 3 pėdų (0,9 m) atstumu nuo jo (matuojant horizontaliai). NFPA 72 teigia: "Dūmų signalizatoriai kambariuose, kurių lubų nuolydis didesnis nei 1 pėda 8 pėdoms (0,3 m 2,4 m) horizontaliai, turi būti įrengti aukštojoje kambario pusėje." NFPA 72 teigia: "Signalizatorių eilė turi būti išdėstyta ir įrengta 3 pėdų (0,9 m) atstumu nuo lubų viršūnės, matuojant horizontaliai" (žr. 3 paveikslą).
MOBILIOJO NAMO ĮRENGIMAS
Šiuolaikiniai mobilieji namai suprojektuoti ir pastatyti taip, kad būtų taupūs energijai. Įrenkite dūmų signalizatorius, kaip rekomenduojama aukščiau (žr. REKOMENDUOJAMOS VIETOS ir 1 ir 2 paveikslus).
Senuose mobiliuosiuose namuose, kurie nėra gerai izoliuoti, palyginti su dabartiniais standartais, didelis karštis arba šaltis gali būti perduodamas iš išorės į vidų per prastai izoliuotas sienas ir stogą. Tai gali sukurti šiluminį barjerą, kuris gali neleisti dūmams pasiekti ant lubų sumontuoto signalizatoriaus. Tokiuose įrenginiuose įrenkite dūmų signalizatorių ant vidinės sienos, kurios viršutinis kraštas būtų mažiausiai 4 colių (10 cm) ir daugiausia 12 colių (30,5 cm) atstumu nuo lubų (žr. 1 paveikslą).
Jei nesate tikri dėl savo mobiliojo namo izoliacijos arba pastebite, kad išorinės sienos ir lubos yra karštos arba šaltos, įrenkite signalizatorių ant vidinės sienos. Minimaliai apsaugai įrenkite bent vieną signalizatorių šalia miegamųjų. Dėl papildomos apsaugos žr. VIENO AUKŠTO PLANĄ 2 paveiksle.
PATIKRINKITE DŪMŲ SIGNALIZATORIAUS VEIKIMĄ PO TO, KAI MOBILIOJO NAMO TRANSPORTO PRIEMONĖ BUVO SANDĖLIUOJAMA, PRIEŠ KIEKVIENĄ KELIONĘ IR BENT KARTĄ PER SAVAITĘ NAUDOJIMO METU.
VIETOS, KURIŲ REIKĖTŲ VENGTI
- Garaže. Degimo produktai atsiranda, kai užvedate automobilį.
- Mažiau nei 4 colių (10 cm) atstumu nuo "A" rėmo tipo lubų viršūnės.
- Vietoje, kur temperatūra gali nukristi žemiau 40ºF arba pakilti virš 100ºF, pavyzdžiui, garažuose ir neįrengtose palėpėse.
- Dulkėtose vietose. Dulkių dalelės gali sukelti erzinantį pavojaus signalą arba jo neveikimą.
- Labai drėgnose vietose (daugiau nei 95% santykinis drėgnumas). Drėgmė arba garai gali sukelti erzinančius pavojaus signalus.
- Vietose, kuriose knibždėte knibžda vabzdžių.
- Dūmų signalizatoriai neturėtų būti įrengiami arčiau kaip 3 pėdų (0,9 m) atstumu nuo: virtuvės durų, vonios kambario durų, kuriame yra vonia arba dušas, priverstinio oro tiekimo kanalų, naudojamų šildymui arba vėsinimui, lubų arba viso namo ventiliatorių arba kitų didelio oro srauto zonų.
- Virtuvės. Įprastas gaminimas gali sukelti erzinančius pavojaus signalus. Jei pageidaujama virtuvės signalizacija, ji turėtų turėti pavojaus signalo nutildymo funkciją arba būti fotoelektrinio tipo.
- Šalia fluorescencinių lempų. Elektroninis "triukšmas" ("noise") gali sukelti erzinančius pavojaus signalus.
- Dūmų signalizatoriai neturi būti naudojami su detektorių apsaugomis, nebent derinys (signalizatorius ir apsauga) buvo įvertintas ir pripažintas tinkamu tam tikslui.
MONTAVIMO INSTRUKCIJOS
ŠIS ĮRENGINYS YRA UŽSANDARINTAS. DANGTELIS NENUSIMA!
Montuojant koridoriuje, "A" linija turi būti lygiagreti koridoriui.

Montuojant ant sienos, "A" linija turi būti horizontali, o rodyklė "UP FOR WALL MOUNTING" (aukštyn montuojant ant sienos) turi būti nukreipta į viršų.

- Nuimkite tvirtinimo plokštę nuo signalizatoriaus galo, laikydami tvirtinimo plokštę ir pasukdami signalizatorių kryptimi, nurodyta rodykle "OFF" (išjungta) ant signalizatoriaus dangtelio.
- Norėdami užtikrinti estetinį signalizatoriaus sulygiavimą su koridoriumi arba siena, "A" linija ant tvirtinimo plokštės turi būti lygiagreti koridoriui, kai montuojama ant lubų, arba horizontali, kai montuojama ant sienos.
- Pasirinkę tinkamą dūmų signalizatoriaus vietą, kaip aprašyta skyriuje REKOMENDUOJAMOS SIGNALIZATORIŲ VIETOS, pritvirtinkite tvirtinimo plokštę prie lubų, kaip parodyta 4 paveiksle. Montuojant ant sienos, žr. 5 paveikslą. Uždėkite tvirtinimo plokštę ant sienos. Įsitikinkite, kad tekstas "UP FOR WALL MOUNTING" (aukštyn montuojant ant sienos) ir rodyklė yra nukreipti į viršų. Naudokite pridedamus varžtus ir inkarus, kad pritvirtintumėte tvirtinimo plokštę (inkaro skylėms naudokite 3/16" grąžtą).
- Baterijos įdėjimo instrukcijos pateiktos baterijos skyriaus viduje. Norėdami užtikrinti tinkamą dūmų signalizatoriaus baterijos įdėjimą, vadovaukitės instrukcijomis.
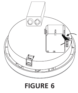
- Įdėdami bateriją, paspauskite baterijos priminimo pirštą žemyn į baterijos skyrių ir įdėkite bateriją (žr. 6 paveikslą).
![]()
JEI BATERIJOS PRIMINIMO PIRŠTAS NĖRA PRISPAUSTAS BATERIJOS BATERIJOS SKYRIUJE, ĮRENGINYS NEPRISIJUNGS PRIE JUDANČIO LAIKIKLIO.
- Sulygiavimo ženklai yra ant apdailos plokštės ir signalizatoriaus krašto. Įdėję tvirtinimo plokštę, uždėkite signalizatorių ant tvirtinimo plokštės, sulygiuodami sulygiavimo ženklus. Pasukite signalizatorių kryptimi, nurodyta rodykle "ON" (įjungta) ant signalizatoriaus dangtelio (žr. 7 paveikslą), kol jis užsifiksuos.
![Kidde - P9040 - MONTAVIMO INSTRUKCIJOS MONTAVIMO INSTRUKCIJOS]()
- Signlizatoriuje įdiegta apsaugos nuo klastojimo funkcija. Norėdami suaktyvinti šią funkciją, turite išlaužti apsaugos nuo klastojimo blokus ant tvirtinimo plokštės (žr. 8 paveikslą).
![]()
Naudokite mažą atsuktuvą. Naudojant šią funkciją bus atgrasomi vaikai ir kiti asmenys nuo signalizatoriaus nuėmimo nuo tvirtinimo plokštės. Atkreipkite dėmesį, kad norint pakeisti bateriją, reikės atlaisvinti apsaugos nuo klastojimo skirtuką. Naudodami įrankį (mažą atsuktuvą), pastumkite skirtuką nuo tvirtinimo plokštės (žr. 9 paveikslą) ir pasukite signalizatorių "OFF" (išjungta) kryptimi.
![]()
- Po įdiegimo patikrinkite signalizatorių paspausdami ir palaikydami bandymo mygtuką mažiausiai 5 sekundes. Tai turėtų įjungti pavojaus signalą.
EKSPLOATAVIMAS IR BANDYMAS
EKSPLOATAVIMAS: Dūmų signalizatorius veikia įdėjus naują bateriją ir atlikus bandymą. Pajutus degimo produktus, įrenginys skleidžia garsų 85 dB pulsuojantį signalą, kol oras išsivalo.
NUTILDYMO VALDYMAS ("HUSH" CONTROL): Funkcija "HUSH" (nutildymas) leidžia laikinai sumažinti signalizacijos grandinės jautrumą maždaug 8 minutėms. Ši funkcija turėtų būti naudojama tik tada, kai žinoma signalizacijos sąlyga, pavyzdžiui, dūmai nuo maisto gaminimo, suaktyvina signalizaciją. Dūmų signalizatoriaus jautrumas sumažinamas paspaudus "HUSH" (nutildymo) mygtuką ant dūmų signalizatoriaus dangtelio. Jei dūmų nėra per daug, signalas iškart nutyla, o raudonas šviesos diodas mirksi kas 10 sekundžių maždaug 8 minutes. Tai rodo, kad signalizacija yra laikinai sumažinto jautrumo būsenoje. Dūmų signalizatorius automatiškai persijungs po maždaug 8 minučių ir įjungs signalą, jei vis dar bus dūmų. "HUSH" (nutildymo) funkciją galima naudoti pakartotinai, kol oras nebus išvalytas nuo signalizaciją sukėlusios priežasties.
PASTABA: TANKŪS DŪMAI PANAIKINS "HUSH" (NUTILDYMO) VALDYMO FUNKCIJĄ IR ĮJUNGS NUOLATINĮ SIGNALĄ.
PRIEŠ NAUDODAMI SIGNALIZACIJOS "HUSH" (NUTILDYMO) FUNKCIJĄ, NUSTATYKITE DŪMŲ ŠALTINĮ IR ĮSITIKINKITE, KAD YRA SAUGI BŪKLĖ.
MIRKSINTI LED LEMPUTĖ: Šiame dūmų signalizatoriuje yra mirksinti raudona indikatoriaus lemputė. Lemputė mirksės kas 40–45 sekundes, rodydama, kad dūmų signalizatorius gauna maitinimą.
DŪMŲ JUTIKLIO KAMEROS VEIKIMAS: Ši signalizacija "cyptelės", jei sugenda kuris nors dūmų jutiklio kameros komponentas. Šis cyptelėjimas įvyks tarp raudonos LED indikatoriaus lemputės blyksnių. (Jei cyptelėjimas įvyksta tuo pačiu metu kaip ir raudonos LED lemputės blyksnis, žr. skyrių PRIEŽIŪRA, kad gautumėte informacijos apie išsikrovusią bateriją.)
BANDYMAS: Patikrinkite paspausdami bandymo mygtuką ant dangtelio ir laikydami jį nuspaustą mažiausiai 5 sekundes. Tai įjungs signalą, jei veikia elektroninė grandinė, sirena ir baterija. Jei signalas neskamba, įrenginys turi sugedusias baterijas arba kitą gedimą. NENAUDOKITE atviros liepsnos signalizacijai patikrinti, galite sugadinti signalizaciją arba uždegti degias medžiagas ir sukelti pastato gaisrą.
PATIKRINKITE SIGNALIZACIJĄ KAS SAVAITĘ, KAD UŽTIKRINTUMĖTE TINKAMĄ VEIKIMĄ. Nereguliarus arba silpnas garsas, sklindantis iš jūsų signalizacijos, gali reikšti, kad signalizacija yra sugedusi, ir ją reikia grąžinti aptarnauti.
PASTABA: REIKALINGAS SAVAITINIS TIKRINIMAS.
NETIKRI SIGNALAI
Dūmų signalizatoriai sukurti taip, kad sumažintų netikrų signalų skaičių.
Cigarečių dūmai paprastai neįjungs signalizacijos, nebent dūmai būtų pučiami tiesiai į signalizatorių. Degimo dalelės nuo maisto gaminimo gali įjungti signalizaciją, jei signalizatorius yra arti gaminimo zonos. Dideli kiekiai degiųjų dalelių susidaro išsiliejus arba kepant ant grotelių. Ventiliatoriaus naudojimas ant gartraukio, kuris vėdinamas į išorę (ne recirkuliacinio tipo), taip pat padės pašalinti šiuos degius produktus iš virtuvės.
Jei signalizacija įsijungia, pirmiausia patikrinkite, ar nėra gaisro. Jei aptinkamas gaisras, išeikite ir iškvieskite ugniagesių tarnybą. Jei gaisro nėra, patikrinkite, ar viena iš priežasčių, išvardytų skyriuje VENGTINOS VIETOS, galėjo sukelti signalizaciją.
Modelis P9040 turi "HUSH" (nutildymo) valdiklį, kuris yra labai naudingas virtuvės zonoje ar kitose vietose, kuriose dažnai pasitaiko netikrų signalų. Norėdami gauti daugiau informacijos, žr. skyrių EKSPLOATAVIMAS IR BANDYMAS.
PRIEŽIŪRA
BATERIJOS KEITIMAS
Išmontavimo instrukcijas rasite skyriuje MONTAVIMO INSTRUKCIJOS. Norint pakeisti bateriją, reikės atlaisvinti apsaugos nuo klastojimo skirtuką.
Norėdami pakeisti bateriją, nuimkite signalizaciją nuo tvirtinimo plokštės pasukdami signalizaciją "OFF" (išjungimo) rodyklės kryptimi ant dangtelio (žr. 7 pav.).
Modelio P9040 dūmų signalizatorius maitinamas 9 V baterija (galima naudoti anglies-cinko ir šarmines baterijas). Nauja baterija turėtų tarnauti vienerius metus normaliomis eksploatavimo sąlygomis. Ši signalizacija turi žemos baterijos stebėjimo grandinę, dėl kurios signalizacija "cyptelės" maždaug kas 30–40 sekundžių mažiausiai septynias (7) dienas, kai baterija išsikrauna. Pakeiskite bateriją, kai atsiranda ši sąlyga.
DŪMŲ SIGNALIZATORIAUS BATERIJAI PAKEISTI NAUDOKITE TIK ŠIAS 9 VOLTŲ BATERIJAS.
Anglies-cinko tipas: EVEREADY 1222; GOLD PEAK 1604S
Šarminis tipas: ENERGIZER 522; DURACELL MN1604, MX1604, GOLD PEAK 1604A PANASONIC 6AM6, 6AM-6, 6AM-6PI, 6AM6X ir 6LR61(GA)
PASTABA: REIKALINGAS SAVAITINIS TIKRINIMAS.
NAUDOKITE TIK NURODYTAS BATERIJAS. KITOKIŲ BATERIJŲ NAUDOJIMAS GALI TURĖTI ŽALINGĄ POVEIKĮ DŪMŲ SIGNALIZATORIUI.
SIGNALIZACIJOS VALYMAS
SIGNALIZACIJA TURĖTŲ BŪTI VALOMA BENT KARTĄ PER METUS
Norėdami išvalyti signalizaciją, nuimkite ją nuo tvirtinimo laikiklio, kaip aprašyta šio skyriaus pradžioje. Galite išvalyti signalizacijos vidų (jutimo kamerą) naudodami suspaustą orą arba dulkių siurblio žarną ir pūsdami arba siurbdami per angas aplink signalizacijos perimetrą. Signalizacijos išorę galima nuvalyti drėgna šluoste. Išvalę iš naujo įdiekite signalizaciją ir patikrinkite ją naudodami bandymo mygtuką. Jei valymas neatkuria normalaus signalizacijos veikimo, signalizacija turėtų būti pakeista.
DŪMŲ SIGNALIZATORIŲ APRIBOJIMAI
ATIDŽIAI IR NUODUGNIAI PERSKAITYKITE
- NFPA 72 teigia: Gyvybės sauga nuo gaisro gyvenamosiose patalpose pirmiausia grindžiama ankstyvu gyventojų informavimu apie poreikį pasitraukti, o po to – atitinkamais tų gyventojų pasitraukimo veiksmais. Gaisro įspėjimo sistemos gyvenamosioms patalpoms gali apsaugoti apie pusę gyventojų potencialiai mirtinuose gaisruose. Aukos dažnai yra artimos gaisrui, per senos ar jaunos arba fiziškai ar protiškai neįgalios, todėl negali pabėgti net ir laiku įspėjus, kad pabėgti turėtų būti įmanoma. Šiems žmonėms būtinos kitos strategijos, tokios kaip apsauga vietoje arba pagalba pabėgant ar gelbėjant.
- Dūmų signalizatoriai yra prietaisai, kurie gali suteikti ankstyvą įspėjimą apie galimus gaisrus už priimtiną kainą; tačiau signalizatoriai turi jutimo apribojimų. Jonizacijos jutimo signalizatoriai gali aptikti nematomų gaisro dalelių (susijusių su greitai liepsnojančiais gaisrais) anksčiau nei fotoelektriniai signalizatoriai. Fotoelektriniai jutimo signalizatoriai gali aptikti matomų gaisro dalelių (susijusių su lėtai smilkstančiais gaisrais) anksčiau nei jonizacijos signalizatoriai. Namų gaisrai vystosi skirtingais būdais ir dažnai yra nenuspėjami. Siekdama maksimalios apsaugos, Kidde rekomenduoja įdiegti tiek jonizacijos, tiek fotoelektrinius signalizatorius.
- Baterijomis maitinamas signalizatorius turi turėti nurodyto tipo bateriją, geros būklės ir tinkamai įdėtą.
- Kintamosios srovės maitinami signalizatoriai (be atsarginės baterijos) neveiks, jei kintamosios srovės maitinimas buvo nutrauktas, pavyzdžiui, dėl elektros gaisro arba atviro saugiklio.
- Dūmų signalizatoriai turi būti reguliariai tikrinami, siekiant įsitikinti, kad baterijos ir signalizacijos grandinės yra geros darbinės būklės.
- Dūmų signalizatoriai negali įjungti signalo, jei dūmai nepasiekia signalizatoriaus. Todėl dūmų signalizatoriai gali neaptikti gaisrų, prasidedančių kaminuose, sienose, ant stogų, kitoje uždarų durų pusėje arba kitame aukšte.
- Jei signalizatorius yra už miegamojo ribų arba kitame aukšte, jis gali nepabudinti tvirtai miegančio žmogaus.
- Alkoholio ar narkotikų vartojimas taip pat gali susilpninti žmogaus gebėjimą išgirsti dūmų signalizatorių. Siekiant maksimalios apsaugos, dūmų signalizatorius turėtų būti įrengtas kiekvienoje miegamojo zonoje kiekviename namo lygyje.
- Nors dūmų signalizatoriai gali padėti išgelbėti gyvybes, suteikdami ankstyvą įspėjimą apie gaisrą, jie nepakeičia draudimo poliso. Namų savininkai ir nuomininkai turėtų turėti pakankamą draudimą, kad apsaugotų savo gyvybes ir turtą.
GERI SAUGOS ĮPROČIAI
PARENGKITE IR PRAKTIKUOKITE PASITRAUKIMO PLANĄ
- Nubraižykite grindų planą, kuriame būtų nurodytos visos durys ir langai bei bent du (2) pasitraukimo maršrutai iš kiekvieno kambario. Antrojo aukšto langams gali prireikti virvės arba grandininės kopėčios.
- Surengkite šeimos susitikimą ir aptarkite savo pasitraukimo planą, parodydami visiems, ką daryti gaisro atveju.
- Nustatykite vietą už savo namų ribų, kur visi galėtumėte susitikti, jei įvyktų gaisras.
- Supažindinkite visus su dūmų signalizatoriaus garsu ir išmokykite juos palikti namus, kai jį išgirsta.
- Bent kas šešis mėnesius praktikuokite gaisro pratybas, įskaitant gaisro pratybas naktį. Įsitikinkite, kad maži vaikai girdi signalą ir pabunda, kai jis suskamba. Jie turi pabusti, kad įvykdytų pasitraukimo planą. Praktika leidžia visiems gyventojams išbandyti jūsų planą prieš avarinę situaciją. Galbūt negalėsite pasiekti savo vaikų. Svarbu, kad jie žinotų, ką daryti.
- Įrenkite ir prižiūrėkite gaisro gesintuvus kiekviename namo lygyje ir virtuvėje, rūsyje ir garaže. Prieš avarinę situaciją žinokite, kaip naudotis gaisro gesintuvu.
- Dabartiniai tyrimai parodė, kad dūmų signalizatoriai gali nepabudinti visų miegančių asmenų ir kad namų ūkio asmenys, galintys padėti kitiems, yra atsakingi už pagalbą tiems, kurie gali nepabusti nuo signalo garso, arba tiems, kurie negali saugiai evakuotis iš zonos be pagalbos.
KĄ DARYTI, KAI SUSKANBA SIGNALIZACIJA
- Įspėkite mažus vaikus namuose.
- Nedelsdami išeikite pagal savo pasitraukimo planą. Kiekviena sekundė svarbi, todėl negaiškite laiko rengdamiesi ar pasiimdami vertybių.
- Išeidami neatidarykite jokių vidinių durų, pirmiausia nepalietę jų paviršiaus. Jei karšta arba matote, kad pro plyšius veržiasi dūmai, neatidarykite tų durų! Vietoj to naudokite savo alternatyvų išėjimą. Jei durų vidus vėsus, prisiglauskite prie jų pečiu, šiek tiek atidarykite ir būkite pasiruošę užtrenkti, jei įsiverš karštis ir dūmai.
- Jei oras dūminis, likite arti grindų. Kvėpuokite sekliai per audinį, jei įmanoma, sudrėkintą.
- Išėję į lauką, eikite į pasirinktą susitikimo vietą ir įsitikinkite, kad visi yra ten.
- Iškvieskite ugniagesių tarnybą iš kaimyno namų, o ne iš savo!
- Negrįžkite į savo namus, kol gaisro pareigūnai nepasakys, kad viskas gerai.
- Yra situacijų, kai dūmų signalizatorius gali būti neveiksmingas apsaugant nuo gaisro, kaip nurodyta NFPA standarte 72. Pavyzdžiui:
- rūkymas lovoje
- vaikų palikimas namuose vienų
- valymas degiais skysčiais, tokiais kaip benzinas
NFPA REIKALAUJAMA APSAUGA
Nacionalinės priešgaisrinės apsaugos asociacijos standartas 72 pateikia šią informaciją:
Dūmų aptikimas – Jei to reikalauja taikomi įstatymai, kodeksai ar standartai konkrečiam užimtumui, patvirtinti vienos ir kelių stočių dūmų signalizatoriai turi būti įrengti taip:
- Visuose miegamuosiuose kambariuose.
- Už kiekvienos atskiros miegamosios zonos, šalia miegamųjų kambarių.
- Kiekviename gyvenamojo vieneto lygyje, įskaitant rūsius
Išimtis: esamuose vienos ir dviejų šeimų gyvenamuosiuose vienetuose leidžiami patvirtinti dūmų signalizatoriai, maitinami baterijomis.
Dūmų aptikimas – Ar daugiau dūmų signalizatorių yra pageidautina? Reikiamas dūmų signalizatorių skaičius gali neužtikrinti patikimos ankstyvojo perspėjimo apsaugos toms zonoms, kurias nuo zonų, apsaugotų reikiamais dūmų signalizatoriais, skiria durys. Dėl šios priežasties rekomenduojama, kad namų ūkio savininkas apsvarstytų galimybę naudoti papildomus dūmų signalizatorius toms zonoms, kad padidintų apsaugą. Papildomos zonos apima rūsį, miegamuosius, valgomąjį, katilinę, pagalbinę patalpą ir koridorius, kurie nėra apsaugoti reikiamais dūmų signalizatoriais. Dūmų signalizatorių įrengimas virtuvėje, palėpėje (įrengtoje ar neįrengtoje) arba garaže paprastai nerekomenduojamas, nes šiose vietose kartais pasitaiko sąlygų, kurios gali sukelti netinkamą veikimą.
Ši įranga turi būti įrengta pagal Nacionalinės priešgaisrinės apsaugos asociacijos standartą 72 (NFPA, Batterymarch Park, Quincy, MA 02269).
PRANEŠKITE VIETOS PRIEŠGAISRINĖS APSAUGOS DEPARTAMENTUI IR DRAUDIMO BENDROVEI APIE SAVO DŪMŲ SIGNALIZACIJOS ĮRENGIMĄ.
(KAIP REIKALAUJA KALIFORNIJOS VALSTYBĖS PRIEŠGAISRINĖS APSAUGOS VIRŠININKAS)
"Ankstyvojo perspėjimo apie gaisrą aptikimas geriausiai pasiekiamas įrengiant gaisro aptikimo įrangą visuose kambariuose ir namų ūkio zonose taip. Dūmų signalizatorius įrengtas kiekvienoje atskiroje miegamojoje zonoje (šalia, bet už miegamųjų ribų), o šilumos arba dūmų signalizatoriai svetainėse, valgomuosiuose, miegamuosiuose, virtuvėse, koridoriuose, palėpėse, katilinėse, spintose, pagalbinėse ir sandėliavimo patalpose, rūsiuose ir prijungtuose garažuose".
Atsisiųsti instrukciją
Čia galite atsisiųsti visą pdf instrukcijos versiją, kurioje gali būti papildomų saugos instrukcijų, garantijos informacijos, FCC taisyklių ir kt.
Atsisiųsti Kidde P9040 - Dūmų signalizacijos instrukcija



