Zanussi ZGNN955X - Instrukcja obsługi płyty gazowej
- 1 INSTALACJA
- 2 OPIS PRODUKTU
- 3 CODZIENNE UŻYTKOWANIE
- 4 WSKAZÓWKI I PORADY
- 5 KONSERWACJA I CZYSZCZENIE
- 6 ROZWIĄZYWANIE PROBLEMÓW
- 7 DANE TECHNICZNE
- 8 EFEKTYWNOŚĆ ENERGETYCZNA
- 9 INFORMACJE DOTYCZĄCE BEZPIECZEŃSTWA
- 10 INSTRUKCJE BEZPIECZEŃSTWA
- 11 Referencje
- 12 Pobierz instrukcję
- 13 W innych językach

INSTALACJA
Patrz rozdziały dotyczące bezpieczeństwa.
PRZED INSTALACJĄ
Przed zainstalowaniem płyty grzejnej zapisz poniższe informacje z tabliczki znamionowej. Tabliczka znamionowa znajduje się na spodzie płyty grzejnej.
Model
PNC
Numer seryjny
WAŻNE WYMOGI BEZPIECZEŃSTWA
Ta płyta grzejna musi być zainstalowana zgodnie z przepisami Gas Safety (Installation and Use) Regulations (aktualne wydanie) oraz IEE Wiring Regulations (aktualne wydanie).
Zapewnienie wentylacji
Szczegółowe zalecenia znajdują się w następujących brytyjskich normach Codes Of Practice: B.S. 6172/B.S. 5440, Par. 2 oraz B.S. 6891 Aktualne wydania.
Płyty grzejnej nie należy instalować w pokoju dziennym o kubaturze mniejszej niż 20 m³. Jeśli jest zainstalowana w pomieszczeniu o kubaturze mniejszej niż 5 m³, wymagany jest otwór wentylacyjny o efektywnej powierzchni 100 cm². Jeśli jest zainstalowana w pomieszczeniu o kubaturze od 5 m³ do 10 m³, wymagany jest otwór wentylacyjny o efektywnej powierzchni 50 cm², natomiast jeśli kubatura przekracza 11 m³, nie jest wymagany żaden otwór wentylacyjny.
Jeśli jednak pomieszczenie ma drzwi otwierające się bezpośrednio na zewnątrz, nie jest wymagany żaden otwór wentylacyjny, nawet jeśli kubatura wynosi od 5 m³ do 11 m³.
Jeśli w tym samym pomieszczeniu znajdują się inne urządzenia spalające paliwo, należy zapoznać się z normą B.S. 5440 Część 2 Aktualne wydanie, aby określić wymagania dotyczące otworów wentylacyjnych.
Lokalizacja
Płyta grzejna może być umieszczona w kuchni, kuchni z jadalnią lub pokoju dziennym (o kubaturze większej niż 20 m³), ale nie w łazience lub pokoju prysznicowym.
Minimalna odległość, na jakiej materiały łatwopalne mogą być umieszczone nad płytą grzejną, w jednej linii z krawędziami płyty grzejnej, wynosi 400 mm. Jeśli jest zamontowana poniżej 400 mm, należy zachować odstęp 50 mm od krawędzi płyty grzejnej.
PODŁĄCZENIE GAZU
Wszelkie instalacje gazowe muszą być wykonywane przez instalatora zarejestrowanego w GAS SAFE REGISTER.
Upewnij się, że po zainstalowaniu płyty grzejnej jest ona łatwo dostępna dla inżyniera w przypadku awarii.
Producent nie ponosi odpowiedzialności za niezastosowanie się do powyższych instrukcji lub innych instrukcji bezpieczeństwa zawartych w niniejszej instrukcji obsługi.
Na końcu wału, który zawiera kolanko gwintowane G 1/2", zamocowana jest regulacja, tak aby podkładka była umieszczona między elementami, jak pokazano na schemacie. Skręć części bez użycia nadmiernej siły.

- Koniec wału z nakrętką
- Podkładka dostarczona z urządzeniem
- Kolanko dostarczone z urządzeniem
Podłączenie do instalacji gazowej powinno być wykonane za pomocą rury sztywnej lub półsztywnej, tj. stalowej lub miedzianej.
Podłączenie powinno być odpowiednie do podłączenia do R 1/2 (gwint zewnętrzny 1/2 BSP).
Po wykonaniu ostatecznego podłączenia konieczne jest przeprowadzenie dokładnego testu szczelności płyty grzejnej i instalacji.
Upewnij się, że główna rura przyłączeniowa nie wywiera żadnego nacisku na płytę grzejną.
Jeśli używasz elastycznych rur metalowych, upewnij się, że są one zgodne z normami ISO 10380 i ISO 10807. Uważaj, aby nie stykały się z ruchomymi częściami lub nie były ściśnięte. Zachowaj również ostrożność, gdy płyta grzejna jest montowana razem z piekarnikiem.
Ważne jest, aby prawidłowo zainstalować kolanko, z kołnierzem na końcu gwintu, przymocowanym do rury przyłączeniowej płyty grzejnej.
Nieprawidłowy montaż spowoduje wyciek gazu.
Upewnij się, że ciśnienie gazu zasilającego urządzenie jest zgodne z zalecanymi wartościami.
Sztywne podłączenie:
Wykonaj podłączenie za pomocą metalowych rur sztywnych (miedzianych z końcówką mechaniczną).
WYMIANA DYSZ
- Zdejmij podpórki pod naczynia.
- Zdejmij pokrywki i korony palnika.
- Za pomocą klucza nasadowego 7 wykręć dysze i wymień je na te, które są niezbędne do rodzaju używanego gazu (patrz tabela w rozdziale "Dane techniczne").
- Zmontuj części, postępuj zgodnie z tą samą procedurą w odwrotnej kolejności.
- Przymocuj etykietę z nowym rodzajem zasilania gazem w pobliżu rury zasilającej gazem. Etykietę tę można znaleźć w opakowaniu dostarczonym z urządzeniem.
Jeśli ciśnienie gazu zasilającego jest zmienne lub różne od wymaganego, należy zamontować odpowiedni regulator ciśnienia na rurze zasilającej gazem.
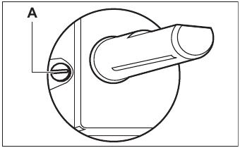
REGULACJA POZIOMU MINIMALNEGO
Aby wyregulować poziom minimalny palników:
- Zapalić palnik.
- Ustaw pokrętło w pozycji minimalnej.
- Zdejmij pokrętło i uszczelkę.
![Zanussi - ZGNN955X - REGULACJA POZIOMU MINIMALNEGO - Krok 1 REGULACJA POZIOMU MINIMALNEGO - Krok 1]()
Uważaj, aby nie uszkodzić uszczelki. Nie używaj ostrych narzędzi do jej usunięcia.
- Za pomocą cienkiego śrubokręta wyreguluj położenie śruby obejściowej (A).
![Zanussi - ZGNN955X - REGULACJA POZIOMU MINIMALNEGO - Krok 2 REGULACJA POZIOMU MINIMALNEGO - Krok 2]()
- W przypadku zmiany:
- z gazu ziemnego G20 20 mbar na gaz płynny, całkowicie dokręć śrubę obejściową.
- z gazu płynnego na gaz ziemny G20 20 mbar, odkręć śrubę obejściową o około 1/4 obrotu (1/2 obrotu dla palnika Multi Crown).
- Zamontuj ponownie uszczelkę i pokrętło.
![Zanussi - ZGNN955X - REGULACJA POZIOMU MINIMALNEGO - Krok 3 REGULACJA POZIOMU MINIMALNEGO - Krok 3]()
Upewnij się, że uszczelka znajduje się dokładnie w pierwotnym położeniu.
Upewnij się, że płomień nie gaśnie, gdy szybko przekręcisz pokrętło z pozycji maksymalnej do pozycji minimalnej.
PODŁĄCZENIE ELEKTRYCZNE
- Nie ciągnij za kabel sieciowy, aby odłączyć urządzenie. Zawsze wyciągaj wtyczkę z gniazdka (jeśli dotyczy).
Urządzenie nie może być podłączone za pomocą przedłużacza, adaptera lub gniazda wielokrotnego. Istnieje ryzyko pożaru.
- Nie dopuść do nagrzania się kabla zasilającego do temperatury powyżej 90°C. Kabel należy poprowadzić za pomocą zacisków przymocowanych do boku szafki, aby uniknąć kontaktu z urządzeniem znajdującym się pod płytą grzejną.
- Upewnij się, że po instalacji jest dostęp do wtyczki sieciowej.
Wymagania elektryczne
Stała instalacja elektryczna musi być zgodna z najnowszymi przepisami I.E.E. i lokalnymi przepisami Zakładu Energetycznego. Dla własnego bezpieczeństwa instalacja musi być wykonana przez wykwalifikowanego elektryka (np. lokalny Zakład Energetyczny lub wykonawcę, który jest wpisany na listę Krajowej Rady Kontroli Robót Elektrycznych [NICEIC]).
Producent odmawia ponoszenia odpowiedzialności, jeśli te środki bezpieczeństwa nie są przestrzegane.
Podłączenia zasilania
Ta płyta grzejna musi być podłączona do zasilania elektrycznego 220-240 V (~ 50-60 Hz).
Płyta grzejna ma listwę zaciskową, która jest oznaczona w następujący sposób:
- L — Zacisk fazowy
- N — Zacisk neutralny
lub E — Zacisk uziemiający
Przed wykonaniem podłączenia upewnij się, że:
- Zawór ograniczający i instalacja elektryczna mogą przyjąć obciążenie urządzenia (patrz tabliczka znamionowa)
- System zasilania jest wyposażony w skuteczne uziemienie zgodnie z obowiązującymi normami i przepisami
- Gniazdo lub przełącznik wielobiegunowy używany do podłączenia jest łatwo dostępny po zainstalowaniu urządzenia.
Urządzenie jest dostarczane z 3-żyłowym elastycznym kablem zasilającym z wtyczką 3 A. Jeśli konieczna jest wymiana bezpiecznika, należy użyć bezpiecznika 3 A zatwierdzonego przez ASTA (BS 1362).

- Zielony i żółty
- Bezpiecznik 3 A
- Brązowy
- Zacisk przewodu
- Niebieski
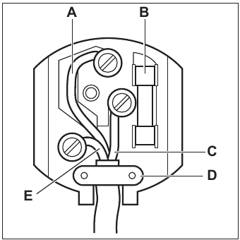
Przewody w kablu są oznaczone kolorami w następujący sposób:
| Zielony i żółty | Uziemienie |
| Niebieski | Neutralny |
| Brązowy | Faza |
Odcięta wtyczka włożona do gniazdka 13 A stanowi poważne zagrożenie porażeniem prądem. Upewnij się, że odcięta wtyczka została bezpiecznie zutylizowana.
WYMIANA KABLA PRZYŁĄCZENIOWEGO
Wymiana kabla elektrycznego musi być przeprowadzona wyłącznie przez serwis lub personel o podobnych kompetencjach, zgodnie z obowiązującymi przepisami.
Do wymiany kabla przyłączeniowego należy używać wyłącznie kabla H03V2V2-F T90 lub równoważnego typu. Upewnij się, że przekrój kabla jest odpowiedni do obciążenia napięciowego i temperatury roboczej. Żółto-zielony przewód uziemiający (B) musi być o około 2 cm dłuższy niż przewód fazowy i neutralny (A).

- Podłącz zielony i żółty (uziemiający) przewód do zacisku oznaczonego literą 'E' lub symbolem uziemienia
lub kolorem zielonym i żółtym. - Podłącz niebieski (neutralny) przewód do zacisku oznaczonego literą 'N' lub kolorem niebieskim.
- Podłącz brązowy (fazowy) przewód do zacisku oznaczonego literą 'L'. Musi być zawsze podłączony do fazy sieciowej.
Nie może być żadnych przeciętych lub luźnych żył przewodu. Zacisk przewodu musi być prawidłowo przymocowany do zewnętrznej osłony.
MONTAŻ

Jeśli element meblowy jest zainstalowany w odległości 400 mm nad płytą grzejną, musi być zachowana minimalna odległość bezpieczeństwa 50 mm z lewej lub prawej strony od krawędzi płyty grzejnej.


Urządzenie należy instalować tylko na blacie o płaskiej powierzchni.
MOŻLIWOŚCI MONTAŻU
Panel zainstalowany pod płytą grzejną musi być łatwy do usunięcia i umożliwiać łatwy dostęp w przypadku konieczności interwencji pomocy technicznej.
Szafka kuchenna z drzwiami lub szufladą

- Zdejmowany panel
- Miejsce na podłączenia
Szafka kuchenna z piekarnikiem
Ze względów bezpieczeństwa i w celu umożliwienia łatwego wyjęcia piekarnika z szafki, podłączenie elektryczne płyty grzejnej i piekarnika musi być zainstalowane oddzielnie.
Szafka kuchenna z podwójnym piekarnikiem

OPIS PRODUKTU
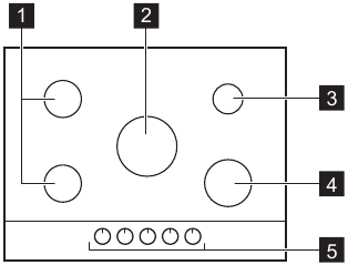
ROZKŁAD PALNIKÓW

- Palnik półszybki
- Palnik Multi Crown
- Palnik pomocniczy
- Palnik szybki
- Pokrętła sterujące
POKRĘTŁO STERUJĄCE
| Symbol | Opis |
| brak dopływu gazu / pozycja wyłączona |
| pozycja zapłonu / maksymalny dopływ gazu |
| minimalny dopływ gazu |
CODZIENNE UŻYTKOWANIE
Patrz rozdziały dotyczące bezpieczeństwa.
PRZEGLĄD PALNIKA

- Pokrywa palnika
- Korona palnika
- Świeca zapłonowa
- Termopara
ZAPŁON PALNIKA
Zawsze zapalaj palnik przed postawieniem na nim naczynia.
Zachowaj szczególną ostrożność podczas korzystania z otwartego ognia w kuchni. Producent nie ponosi żadnej odpowiedzialności w przypadku niewłaściwego użycia płomienia.
- Wciśnij pokrętło sterujące i obróć je w kierunku przeciwnym do ruchu wskazówek zegara do pozycji maksymalnego dopływu gazu (
). - Przytrzymaj wciśnięte pokrętło sterujące przez czas równy lub krótszy niż 10 sekund. Pozwoli to na rozgrzanie się termopary. W przeciwnym razie dopływ gazu zostanie przerwany.
- Dostosuj płomień po jego ustabilizowaniu.
Jeśli po kilku próbach palnik się nie zapala, sprawdź, czy korona i jej pokrywa znajdują się we właściwych pozycjach.
Nie przytrzymuj wciśniętego pokrętła sterującego dłużej niż 15 sekund. Jeśli palnik nie zapali się po 15 sekundach, zwolnij pokrętło sterujące, przekręć je do pozycji wyłączonej i spróbuj ponownie zapalić palnik po upływie co najmniej 1 minuty.
W przypadku braku zasilania elektrycznego można zapalić palnik bez urządzenia elektrycznego; w takim przypadku zbliż płomień do palnika, obróć pokrętło sterujące w kierunku przeciwnym do ruchu wskazówek zegara do pozycji maksymalnego dopływu gazu i wciśnij je. Przytrzymaj wciśnięte pokrętło sterujące przez czas równy lub krótszy niż 10 sekund, aby umożliwić rozgrzanie się termopary.
Jeśli palnik przypadkowo zgaśnie, przekręć pokrętło sterujące do pozycji wyłączonej i spróbuj ponownie zapalić palnik po upływie co najmniej 1 minuty.
Generator iskry może uruchomić się automatycznie po włączeniu zasilania, po instalacji lub po przerwie w dostawie prądu. To normalne.
Płyta grzejna jest wyposażona w zawory progresywne. Umożliwiają one dokładniejszą regulację płomienia.
WYŁĄCZANIE PALNIKA
Aby zgasić płomień, przekręć pokrętło do pozycji wyłączonej
.
Zawsze zmniejszaj płomień lub wyłączaj go przed zdjęciem patelni z palnika.
WSKAZÓWKI I PORADY
Patrz rozdziały dotyczące bezpieczeństwa.
NACZYNIA KUCHENNE
Nie używaj patelni żeliwnych, garnków glinianych lub ceramicznych, płyt grillowych lub do opiekania. Stal nierdzewna może ulec przebarwieniu, jeśli jest zbyt mocno nagrzana.
Nie stawiaj tego samego naczynia na dwóch palnikach.
Nie stawiaj niestabilnych lub uszkodzonych garnków na palniku, aby zapobiec rozlaniu i obrażeniom.
Upewnij się, że dna garnków nie znajdują się zbyt blisko pokrętła sterującego, w przeciwnym razie płomień nagrzeje pokrętło sterujące.
Upewnij się, że uchwyty garnków nie znajdują się nad przednią krawędzią płyty kuchennej.
Upewnij się, że garnki są umieszczone centralnie na palniku, aby uzyskać maksymalną stabilność i mniejsze zużycie gazu.
ŚREDNICE NACZYŃ KUCHENNYCH
Używaj naczyń kuchennych o średnicach odpowiednich do wielkości palników.
| Palnik | Średnica naczynia kuchennego (mm) |
| Multi Crown | 180 - 260 |
| Szybki | 180 - 260 |
| Półszybki (tylny lewy) | 120 - 240 |
| Półszybki (przedni lewy) | 120 - 220 |
| Pomocniczy | 80 - 160 |
KONSERWACJA I CZYSZCZENIE
Patrz rozdziały dotyczące bezpieczeństwa.
INFORMACJE OGÓLNE
- Czyść płytę grzejną po każdym użyciu.
- Zawsze używaj naczyń kuchennych z czystym dnem.
- Zarysowania lub ciemne plamy na powierzchni nie mają wpływu na działanie płyty grzejnej.
- Używaj specjalnego środka czyszczącego odpowiedniego do powierzchni płyty grzejnej.
Stal nierdzewna
- Myj części ze stali nierdzewnej wodą, a następnie osusz je miękką szmatką.
- Aby usunąć przypalone jedzenie, tłuszcz i uporczywe plamy, namocz je w niewielkiej ilości łagodnego detergentu na kilka minut przed czyszczeniem.
- Używaj środków czyszczących przeznaczonych specjalnie do czyszczenia stali nierdzewnej, aby chronić stalowe powierzchnie.
- Nie używaj środków czyszczących zawierających żrące chemikalia, takie jak chlorki, nie czyść powierzchni środkami dezynfekującymi, odplamiaczami lub środkami do usuwania rdzy oraz środkami do czyszczenia zanurzeniowego.
PODPORY NACZYŃ
Podpory naczyń nie są odporne na mycie w zmywarce. Należy je myć ręcznie.
- Zdejmij podpory naczyń, aby łatwo wyczyścić płytę grzejną.
Zachowaj szczególną ostrożność podczas wymiany podpór naczyń, aby zapobiec uszkodzeniu płyty grzejnej.
- Powłoka emaliowana może czasami mieć szorstkie krawędzie, dlatego zachowaj ostrożność podczas ręcznego mycia i suszenia podpór naczyń. W razie potrzeby usuń uporczywe plamy za pomocą pasty czyszczącej.
- Po wyczyszczeniu podpór naczyń upewnij się, że znajdują się one we właściwych pozycjach.
- Aby palnik działał prawidłowo, upewnij się, że ramiona podpór naczyń są ustawione w jednej linii z środkiem palnika.
CZYSZCZENIE URZĄDZENIA
Usuń natychmiast: stopiony plastik, folię plastikową, cukier i jedzenie z cukrem, w przeciwnym razie brud może spowodować uszkodzenie płyty grzejnej. Uważaj, aby uniknąć oparzeń.- Usuń, gdy płyta grzejna jest wystarczająco chłodna: pierścienie z kamienia, pierścienie z wody, plamy tłuszczu, błyszczące metaliczne przebarwienia. Wyczyść płytę grzejną wilgotną szmatką i nieściernym detergentem. Po czyszczeniu wytrzyj płytę grzejną do sucha miękką szmatką.
- Aby wyczyścić emaliowane części, pokrywy i korony, umyj je ciepłą wodą z mydłem i dokładnie osusz przed ponownym założeniem.
CZYSZCZENIE ŚWIECY ZAPŁONOWEJ
Ta funkcja jest realizowana za pomocą ceramicznej świecy zapłonowej z metalową elektrodą. Utrzymuj te elementy w czystości, aby zapobiec trudnościom z zapłonem, i sprawdź, czy otwory w koronie palnika nie są zatkane.
OKRESOWA KONSERWACJA
Skontaktuj się okresowo z lokalnym autoryzowanym centrum serwisowym, aby sprawdzić stan przewodu doprowadzającego gaz i regulatora ciśnienia, jeśli jest zamontowany.
ROZWIĄZYWANIE PROBLEMÓW
Patrz rozdziały dotyczące bezpieczeństwa.
CO ZROBIĆ, GDY
| Problem | Możliwa przyczyna | Rozwiązanie |
| Brak iskry podczas próby aktywacji generatora iskry. | Płyta grzejna nie jest podłączona do zasilania elektrycznego lub jest podłączona nieprawidłowo. | Sprawdź, czy płyta grzejna jest prawidłowo podłączona do zasilania elektrycznego. |
| Bezpiecznik jest przepalony. | Upewnij się, że bezpiecznik jest przyczyną usterki. Jeśli bezpiecznik przepala się raz po raz, skontaktuj się z wykwalifikowanym elektrykiem. | |
| Pokrywa i korona palnika są nieprawidłowo umieszczone. | Umieść pokrywę i koronę palnika prawidłowo. | |
Płomień gaśnie natychmiast po zapłonie | Termopara nie jest wystarczająco nagrzana. | Po zapaleniu płomienia przytrzymaj wciśnięte pokrętło przez czas równy lub krótszy niż 10 sekund. |
Pierścień płomienia jest nierówny | Korona palnika jest zablokowana resztkami jedzenia. | Upewnij się, że wtryskiwacz nie jest zablokowany, a korona palnika jest czysta. |
JEŚLI NIE MOŻESZ ZNALEŹĆ ROZWIĄZANIA
Jeśli nie możesz samodzielnie znaleźć rozwiązania problemu, skontaktuj się ze sprzedawcą lub autoryzowanym centrum serwisowym. Podaj dane z tabliczki znamionowej. Upewnij się, że obsługiwałeś płytę grzejną prawidłowo. W przeciwnym razie serwisowanie przez technika serwisowego lub sprzedawcę będzie odpłatne, również w okresie gwarancji.
Instrukcje dotyczące centrum serwisowego i warunków gwarancji znajdują się w książeczce gwarancyjnej.
ETYKIETY DOSTARCZANE Z WORECZKIEM NA AKCESORIA
Przyklej etykiety samoprzylepne zgodnie z poniższymi wskazówkami:

- Przyklej na karcie gwarancyjnej i wyślij tę część (jeśli dotyczy).
- Przyklej na karcie gwarancyjnej i zachowaj tę część (jeśli dotyczy).
- Przyklej na instrukcji obsługi.
DANE TECHNICZNE
WYMIARY URZĄDZENIA
| Szerokość | 857 mm |
| Głębokość | 520 mm |
ŚREDNICE DYSZ BYPASS
| PALNIK | Ø DYSZA BYPASS 1/100 mm |
| Multi Crown | 57 |
| Rapid | 52 |
| Semi-rapid | 35 |
| Auxiliary | 28 |
INNE DANE TECHNICZNE
| MOC CAŁKOWITA: | Gaz oryginalny: | G20 (2H) 20 mbar | 11,65 kW |
| Gaz zastępczy: | G30 (3+) 28-30 mbar | 825 g/h | |
| G31 (3+) 37 mbar | 811 g/h | ||
| Zasilanie elektryczne: | 220-240 V ~ 50-60 Hz 3-żyłowy elastyczny kabel z niewymienialną wtyczką wyposażoną w bezpiecznik topikowy 3 A | ||
| Kategoria urządzenia: | II2H3+ | ||
| Przyłącze gazu: | R 1/2" | ||
| Klasa urządzenia: | 3 | ||
PALNIKI GAZOWE NA GAZ ZIEMNY G20 20 mbar
| PALNIK | MOC NORMALNA kW | MOC MINIMALNA kW | ZNAK DYSZY |
| Multi Crown | 4,0 | 1,4 | 146 |
| Rapid | 2,95 | 0,75 | 119° |
| Semi-rapid | 1,85 | 0,6 | 92 |
| Auxiliary | 1,0 | 0,33 | 70 |
PALNIKI GAZOWE NA LPG G30/G31 28-30/37 mbar
| PALNIK | MOC NORMALNA kW | MOC MINIMALNA kW | ZNAK DYSZY | NOMINALNY PRZEPŁYW GAZU g/h | |||||||
| G30 28-30 mbar | G31 37 mbar | ||||||||||
| Multi Crown | 3,55 | 1,4 | 095 | 258 | 254 | ||||||
| Rapid | 2.8 | 0,95 | 86 | 204 | 200 | ||||||
| Semi-rapid | 2,0 | 0,6 | 71 | 145 | 143 | ||||||
| Auxiliary | 1,0 | 0,33 | 50 | 73 | 71 | ||||||
EFEKTYWNOŚĆ ENERGETYCZNA
INFORMACJE O PRODUKCIE ZGODNIE Z PRZEPISAMI UK ECODESIGN
| Identyfikacja modelu | ZGNN955X | |
| Rodzaj płyty grzejnej | Płyta do zabudowy | |
| Liczba palników gazowych | 5 | |
| Efektywność energetyczna na palnik gazowy (EE gas burner) | Lewy przedni - Semi-rapid | 55.3% |
| Lewy tylny - Semi-rapid | 57.4% | |
| Środkowy - Multi Crown | 54.3% | |
| Prawy przedni - Rapid | 58.5% | |
| Prawy tylny - Auxiliary | nie dotyczy | |
| Efektywność energetyczna płyty gazowej (EE gas hob) | 56.4% |
BS EN 30-2-1: Domestic cooking appliances burning gas - Part 2-1: Rational use of energy - General (Domowe urządzenia do gotowania spalające gaz - Część 2-1: Racjonalne zużycie energii - Ogólne)
OSZCZĘDNOŚĆ ENERGII
- Przed użyciem upewnij się, że palniki i ruszty są prawidłowo zamontowane.
- Używaj naczyń o średnicach odpowiednich do wielkości palników.
- Wyśrodkuj garnek na palniku.
- Podgrzewając wodę, używaj tylko potrzebnej ilości.
- Jeśli to możliwe, zawsze zakładaj pokrywki na naczynia.
- Gdy płyn zacznie wrzeć, zmniejsz płomień, aby płyn ledwo się gotował.
- Jeśli to możliwe, używaj szybkowaru. Zapoznaj się z jego instrukcją obsługi.
INFORMACJE DOTYCZĄCE BEZPIECZEŃSTWA
Przed instalacją i użytkowaniem urządzenia należy uważnie przeczytać załączoną instrukcję. Producent nie ponosi odpowiedzialności za jakiekolwiek obrażenia lub szkody wynikające z nieprawidłowej instalacji lub użytkowania. Instrukcję należy zawsze przechowywać w bezpiecznym i dostępnym miejscu, aby móc z niej skorzystać w przyszłości.
BEZPIECZEŃSTWO DZIECI I OSÓB WRAŻLIWYCH
- To urządzenie może być używane przez dzieci w wieku od 8 lat i starsze oraz osoby o ograniczonych zdolnościach fizycznych, sensorycznych lub umysłowych lub bez doświadczenia i wiedzy, jeśli są one nadzorowane lub poinstruowane w zakresie bezpiecznego użytkowania urządzenia i rozumieją związane z tym zagrożenia. Dzieci w wieku poniżej 8 lat i osoby z bardzo rozległymi i złożonymi niepełnosprawnościami powinny być trzymane z dala od urządzenia, chyba że są pod stałym nadzorem.
- Należy pilnować, aby dzieci nie bawiły się urządzeniem.
- Wszystkie materiały opakowaniowe należy przechowywać z dala od dzieci i odpowiednio je utylizować.
Trzymaj dzieci i zwierzęta z dala od urządzenia, gdy jest ono włączone lub gdy stygnie. Dostępne części nagrzewają się podczas użytkowania.- Jeśli urządzenie jest wyposażone w zabezpieczenie przed dziećmi, należy je włączyć.
- Dzieci nie mogą czyścić ani konserwować urządzenia bez nadzoru.
OGÓLNE ZASADY BEZPIECZEŃSTWA
- To urządzenie jest przeznaczone wyłącznie do gotowania.
- To urządzenie jest przeznaczone do użytku domowego w pomieszczeniach zamkniętych.
- To urządzenie może być używane w biurach, pokojach hotelowych, pokojach gościnnych typu "bed & breakfast", pensjonatach agroturystycznych i innych podobnych miejscach zakwaterowania, gdzie takie użycie nie przekracza (średniego) poziomu użytku domowego.
Urządzenie i jego dostępne części nagrzewają się podczas użytkowania. Należy zachować ostrożność, aby uniknąć dotykania elementów grzejnych.
Pozostawienie bez nadzoru gotowania na płycie grzejnej z tłuszczem lub olejem może być niebezpieczne i może spowodować pożar.- Nigdy nie używaj wody do gaszenia pożaru podczas gotowania. Wyłącz urządzenie i przykryj płomienie np. kocem gaśniczym lub pokrywką.
Urządzenie nie może być zasilane za pomocą zewnętrznego urządzenia przełączającego, takiego jak programator czasowy, ani podłączone do obwodu, który jest regularnie włączany i wyłączany przez zakład energetyczny.
Proces gotowania musi być nadzorowany. Krótkotrwały proces gotowania musi być nadzorowany w sposób ciągły.
Nie przechowuj przedmiotów na powierzchniach do gotowania.- Metalowe przedmioty, takie jak noże, widelce, łyżki i pokrywki, nie powinny być umieszczane na powierzchni płyty grzejnej, ponieważ mogą się nagrzewać.
- Nie używaj urządzenia przed zainstalowaniem go w zabudowie.
- Do czyszczenia urządzenia nie używaj myjki parowej.
- Jeśli przewód zasilający jest uszkodzony, musi zostać wymieniony przez producenta, autoryzowany serwis lub podobnie wykwalifikowane osoby w celu uniknięcia zagrożenia.
- W przypadku, gdy urządzenie jest podłączone bezpośrednio do zasilania, wymagany jest wyłącznik izolacyjny wszystkich biegunów z przerwą między stykami. Należy zagwarantować całkowite odłączenie zgodnie z warunkami określonymi w kategorii przepięciowej III. Kabel uziemiający jest z tego wyłączony.
- Podczas prowadzenia kabla zasilającego upewnij się, że kabel nie styka się bezpośrednio (na przykład za pomocą tulei izolacyjnej) z częściami, które mogą osiągnąć temperaturę o ponad 50°C wyższą od temperatury pokojowej.
Używaj wyłącznie osłon płyty grzejnej zaprojektowanych przez producenta urządzenia do gotowania lub wskazanych przez producenta urządzenia w instrukcji użytkowania jako odpowiednie lub osłon płyty grzejnej wbudowanych w urządzenie. Używanie nieodpowiednich osłon może spowodować wypadki.
INSTRUKCJE BEZPIECZEŃSTWA
To urządzenie jest odpowiednie na następujące rynki:

INSTALACJA
Tylko wykwalifikowana osoba może instalować to urządzenie.
Ryzyko obrażeń lub uszkodzenia urządzenia.
- Usuń wszystkie opakowania.
- Nie instaluj ani nie używaj uszkodzonego urządzenia.
- Postępuj zgodnie z instrukcjami instalacji dołączonymi do urządzenia.
- Zachowaj minimalną odległość od innych urządzeń i elementów.
- Zawsze zachowuj ostrożność podczas przenoszenia urządzenia, ponieważ jest ciężkie. Zawsze używaj rękawic ochronnych i zakrytego obuwia.
- Zabezpiecz cięte powierzchnie uszczelniaczem, aby zapobiec pęcznieniu spowodowanemu wilgocią.
- Chroń spód urządzenia przed parą i wilgocią.
- Nie instaluj urządzenia obok drzwi lub pod oknem. Zapobiega to spadaniu gorących naczyń z urządzenia po otwarciu drzwi lub okna.
- Jeśli urządzenie jest zainstalowane nad szufladami, upewnij się, że przestrzeń między spodem urządzenia a górną szufladą jest wystarczająca do cyrkulacji powietrza.
- Spodnia część urządzenia może się nagrzewać podczas użytkowania. Jeśli piekarnik nie został zamontowany pod płytą grzejną, a spód urządzenia jest dostępny i może umożliwić użytkownikowi lub przedmiotom przechowywanym pod płytą grzejną bezpośredni kontakt ze spodem płyty, należy zamontować pośredni panel ochronny.
- Sklejka lub materiał korpusu kuchennego są dopuszczalne dla panelu.
- Panel musi być zdejmowalny w celu serwisowania. Śruby użyte do zamocowania panelu muszą być dostępne po instalacji.
PODŁĄCZENIE ELEKTRYCZNE
Ryzyko pożaru i porażenia prądem.
- Wszystkie połączenia elektryczne powinny być wykonywane przez wykwalifikowanego elektryka.
- Urządzenie musi być uziemione.
- Przed wykonaniem jakiejkolwiek czynności upewnij się, że urządzenie jest odłączone od zasilania.
- Upewnij się, że parametry na tabliczce znamionowej są zgodne z parametrami elektrycznymi sieci zasilającej.
- Upewnij się, że urządzenie jest prawidłowo zainstalowane. Luźny i nieprawidłowy kabel zasilający lub wtyczka (jeśli dotyczy) mogą spowodować przegrzanie zacisku.
- Użyj prawidłowego kabla zasilającego.
- Nie pozwól, aby kabel zasilający się zaplątał.
- Upewnij się, że zainstalowano zabezpieczenie przed porażeniem.
- Użyj zacisku odciążającego na kablu.
- Upewnij się, że kabel zasilający lub wtyczka (jeśli dotyczy) nie dotykają gorącego urządzenia lub gorących naczyń podczas podłączania urządzenia do gniazdka.
- Nie używaj adapterów wielowtykowych i przedłużaczy.
- Uważaj, aby nie uszkodzić wtyczki (jeśli dotyczy) lub kabla zasilającego. Skontaktuj się z naszym autoryzowanym centrum serwisowym lub elektrykiem, aby wymienić uszkodzony kabel zasilający.
- Ochrona przed porażeniem części pod napięciem i izolowanych musi być zamocowana w taki sposób, aby nie można jej było usunąć bez użycia narzędzi.
- Podłącz wtyczkę do gniazdka dopiero po zakończeniu instalacji. Upewnij się, że po instalacji jest dostęp do wtyczki.
- Jeśli gniazdko jest luźne, nie podłączaj wtyczki.
- Nie ciągnij za kabel zasilający, aby odłączyć urządzenie. Zawsze ciągnij za wtyczkę.
- Używaj tylko prawidłowych urządzeń izolujących: wyłączników nadprądowych, bezpieczników (bezpieczniki wkręcane wyjmowane z uchwytu), wyłączników różnicowoprądowych i styczników.
- Instalacja elektryczna musi być wyposażona w urządzenie izolujące, które umożliwia odłączenie urządzenia od sieci na wszystkich biegunach. Urządzenie izolujące musi mieć szerokość otwarcia styków co najmniej 3 mm.
PODŁĄCZENIE GAZU
Podczas korzystania z butli gazowej zawsze trzymaj ją na płaskiej, poziomej powierzchni (z zaworem gazowym u góry).
- Wszystkie podłączenia gazowe muszą być wykonywane przez wykwalifikowaną osobę.
- Przed instalacją upewnij się, że lokalne warunki dystrybucji (rodzaj gazu i ciśnienie gazu) oraz regulacja urządzenia są kompatybilne.
- Upewnij się, że wokół urządzenia jest cyrkulacja powietrza.
- Informacje o dopływie gazu znajdują się na tabliczce znamionowej.
- To urządzenie nie jest podłączone do urządzenia, które odprowadza produkty spalania. Upewnij się, że podłączasz urządzenie zgodnie z obowiązującymi przepisami instalacyjnymi. Przestrzegaj wymagań dotyczących odpowiedniej wentylacji.
UŻYTKOWANIE
Ryzyko obrażeń, oparzeń i porażenia prądem.
Używanie gazowego urządzenia do gotowania powoduje wytwarzanie ciepła, wilgoci i produktów spalania w pomieszczeniu, w którym jest zainstalowane. Upewnij się, że kuchnia jest dobrze wentylowana, szczególnie gdy urządzenie jest w użyciu. Długotrwałe intensywne użytkowanie urządzenia może wymagać dodatkowej wentylacji, na przykład zwiększenia wentylacji mechanicznej, jeśli jest obecna, dodatkowej wentylacji w celu bezpiecznego usunięcia produktów spalania na zewnątrz (na zewnątrz) przy jednoczesnym zapewnieniu wymiany powietrza w pomieszczeniu za pomocą dodatkowej wentylacji. Skonsultuj się z wykwalifikowaną osobą przed instalacją dodatkowej wentylacji.
- Nie zmieniaj specyfikacji tego urządzenia.
- Usuń wszystkie opakowania, etykiety i folie ochronne (jeśli dotyczy) przed pierwszym użyciem.
- Upewnij się, że otwory wentylacyjne nie są zablokowane.
- Nie pozostawiaj urządzenia bez nadzoru podczas pracy.
- Po każdym użyciu ustaw strefę gotowania na "off" (wyłączone).
- Nie kładź sztućców ani pokrywek garnków na strefach gotowania. Mogą się nagrzać.
- Nie używaj urządzenia mokrymi rękami lub gdy ma kontakt z wodą.
- Nie używaj urządzenia jako powierzchni roboczej lub powierzchni do przechowywania.
- Kiedy wkładasz jedzenie do gorącego oleju, może pryskać.
Ryzyko pożaru i wybuchu
- Tłuszcze i oleje podgrzane mogą uwalniać łatwopalne opary. Trzymaj płomienie lub nagrzane przedmioty z dala od tłuszczów i olejów podczas gotowania z nimi.
- Opary uwalniane przez bardzo gorący olej mogą spowodować samozapłon.
Zużyty olej, który może zawierać resztki jedzenia, może spowodować pożar w niższej temperaturze niż olej użyty po raz pierwszy.
- Nie umieszczaj łatwopalnych produktów lub przedmiotów zwilżonych łatwopalnymi produktami w, w pobliżu lub na urządzeniu.
Ryzyko uszkodzenia urządzenia.
- Nie trzymaj gorących naczyń na panelu sterowania.
- Nie pozwól, aby naczynia gotowały się na sucho.
- Uważaj, aby przedmioty lub naczynia nie spadły na urządzenie. Powierzchnia może ulec uszkodzeniu.
- Nigdy nie zostawiaj włączonego palnika z pustymi naczyniami lub bez naczyń.
- Nie kładź folii aluminiowej na urządzeniu.
- Używaj tylko stabilnych naczyń o odpowiednim kształcie i średnicy większej niż wymiary palników.
- Upewnij się, że naczynia są umieszczone centralnie na palnikach.
- Nie używaj dużych naczyń, które zachodzą na krawędzie urządzenia. Może to spowodować uszkodzenie powierzchni blatu.
- Upewnij się, że płomień nie gaśnie, gdy szybko przekręcisz pokrętło z pozycji maksymalnej do minimalnej.
- Używaj tylko akcesoriów dostarczonych z urządzeniem.
- Nie instaluj dyfuzora płomienia na palniku.
- Nie pozwól, aby kwaśne płyny, na przykład ocet, sok z cytryny lub środek do usuwania kamienia, dotykały płyty grzejnej. Może to spowodować matowe plamy.
- Odbarwienie emalii lub stali nierdzewnej nie ma wpływu na działanie urządzenia.
KONSERWACJA I CZYSZCZENIE
Nie zdejmuj przycisków, pokręteł ani uszczelek z panelu sterowania. Woda może dostać się do wnętrza urządzenia i spowodować uszkodzenia.
- Czyść urządzenie regularnie, aby zapobiec pogorszeniu się materiału powierzchni.
- Wyłącz urządzenie i pozwól mu ostygnąć przed czyszczeniem.
- Nie używaj strumienia wody ani pary do czyszczenia urządzenia.
- Czyść urządzenie wilgotną, miękką szmatką. Używaj tylko neutralnych detergentów. Nie używaj ściernych produktów, ściernych gąbek do czyszczenia, rozpuszczalników ani metalowych przedmiotów.
- Nie myj palników w zmywarce.
SERWIS
- Aby naprawić urządzenie, skontaktuj się z autoryzowanym centrum serwisowym. Używaj tylko oryginalnych części zamiennych.
ODWIEDŹ NASZĄ STRONĘ INTERNETOWĄ, ABY:
Uzyskać porady dotyczące użytkowania, broszury, narzędzie do rozwiązywania problemów, informacje o serwisie i naprawach: www.zanussi.com/support

Referencje
Pobierz instrukcję
Tutaj możesz pobrać pełną wersję instrukcji w formacie pdf, może ona zawierać dodatkowe instrukcje bezpieczeństwa, informacje o gwarancji, przepisy FCC itp.
Pobierz Zanussi ZGNN955X - Instrukcja obsługi płyty gazowej


