Canyon Otto CNS-SW86 - Manual de utilizare pentru ceas inteligent sport multifuncțional

INFORMAȚII GENERALE
Dispozitivul Canyon Otto CNS-SW86 – ceas inteligent cu design sportiv, cu conexiune wireless la smartphone prin intermediul aplicației dedicate Canyon Life. Echipat cu o carcasă metalică elegantă, cadran cu ecran tactil, curea din silicon și un set mare de funcții.
Model: CNS-SW86RR (roșu), CNS-SW86BB (negru), CNS-SW86SS (alb).
DESCRIEREA UNITĂȚII
Datele obținute cu dispozitivul nu sunt indicatori medicali.
Funcții
setarea notificărilor; măsurare dinamică a ritmului cardiac, tensiunii arteriale, nivelului de saturație a oxigenului, pedometru, contor de calorii, cronometru, distanța parcursă, statistici detaliate ale activității, precum și monitorizarea somnului; optimizare pentru sporturi populare (25 de tipuri); memento-uri de activitate, memento-uri pentru a bea apă; control de la distanță al playerului și al camerei smartphone-ului, cadrane schimbabile, vreme, jocuri, pornirea ecranului cu o mișcare a mâinii. Suport pentru notificări de la mesagerii populari: Viber, Telegram, Facebook, Twitter, WhatsApp, Instagram, Skype, etc.
Specificații
DC 5.0 V / 1.0 A. RAM 192 KB, ROM Flash 64 MB; 90 MHz.
BT: 5.1; 6 dBm.
Putere transmițător: < 20.0 mW. IP68.
Ecran: tactil, IPS, Ø 1.3 inch, 360×360 pixeli;
DPI 30.5×91.5; 256 K.
Carcasă: 46×43×10 mm; aliaj de aluminiu, plastic.
Curea: 20 mm; silicon.
Greutate: 40,7 g
Compatibilitate: Android 7.0 și versiuni ulterioare cu suport Google Play Services, iOS 13.0 și versiuni ulterioare.
Baterie: Li-Polymer, 3.7 V, 280 mAh, nedetașabilă.
Timp de încărcare completă: 3 h.
Durata de funcționare: 6–8 zile în utilizare activă; până la 30 de zile în modul standby.
Condiții de funcționare: temperatură 0...+35°C; umiditate 5–95%.
Condiții de depozitare: temperatură −20...+45°C; umiditate 5–95%.
Conținutul pachetului
ceas inteligent Otto CNS-SW86,
cablu magnetic de încărcare USB Type-A (lungime 60 cm),
ghid de pornire rapidă.
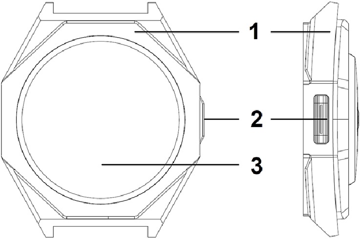
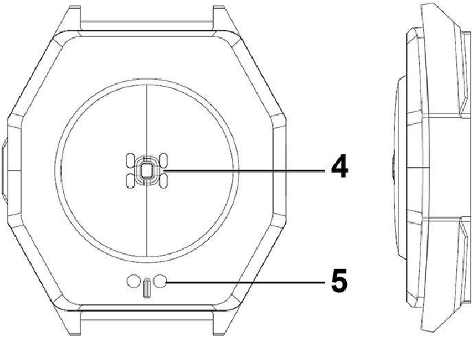
EXTERIOR

fig. A

fig. B

fig. C
- Corp.
- Buton.
- Ecran.

fig. D
- Monitor de ritm cardiac.
- Contacte de încărcare.

fig. E.
- Cablu.
Dacă aveți întrebări înainte de a returna dispozitivul la magazin, vă rugăm să ne trimiteți un e-mail la support@canyon.eu sau puteți discuta cu noi pe site-ul web canyon.eu/user-help-desk.
ÎNCEPEREA
Încărcare (fig. E).
Încărcați dispozitivul înainte de a-l utiliza pentru prima dată. Pentru a face acest lucru, conectați cablul de încărcare (6) la contactele electrice (5) și conectați-l la sursa de alimentare.
Ieșirea sursei de alimentare nu trebuie să depășească 5.0 V 1.0 A (adaptorul de alimentare nu este inclus).
Pornirea dispozitivului. Apăsați butonul de pornire al dispozitivului (2) timp de 3–5 secunde până când apare cadranul (vezi fig. C).
Oprirea dispozitivului. În timp ce vă aflați pe ecranul cu fața ceasului, glisați în jos. Selectați
("Setări"). În meniul care apare, apăsați
("Oprire") și confirmați cu
("Da") (vezi fig. F).

Instalarea și conectarea aplicației (fig. H).

Pentru a face ceasul și smartphone-ul să funcționeze împreună, instalați aplicația gratuită Canyon Life. Scanați codul QR pentru a accesa Google Play sau App Store, descărcați și rulați aplicația. Conectați-vă la contul dvs. sau înregistrați un cont nou. Apoi, activați BT pe smartphone-ul dvs. În aplicația Canyon Life, atingeți "Connect BT Device" ("Conectare dispozitiv BT"). Așezați ceasul și smartphone-ul unul lângă celălalt și apăsați "Start" ("Start"). Selectați ceasul dvs. din listă (SW86) și atingeți "Add device" ("Adăugare dispozitiv").
Schimbarea fețelor ceasului (fig. I, J).

Pentru mai multe informații despre alegerea fețelor ceasului, consultați manualul de utilizare complet la canyon.eu/driversand-manuals.
Navigarea în meniu. Când vă aflați pe un ecran cu o față de ceas, glisați în jos pentru a accesa meniul. Datele despre nivelul de încărcare al dispozitivului și conexiunea BT sunt disponibile, iar butoanele sunt situate în meniu (vezi fig. G):

![]() | Modul "Theatre" ("Cinema"). Setați luminozitatea minimă a ecranului și dezactivați vibrațiile |
![]() | Vibrație. Activați sau dezactivați vibrațiile |
![]() | Luminozitate. Modificarea nivelului de luminozitate (5 niveluri) |
![]() | Setări. Lista funcțiilor suplimentare |
![]() | Vreme. Prognoza meteo (necesită conectarea la aplicație) |
![]() | Pentru o descriere completă a aplicațiilor, consultați manualul de utilizare complet la canyon.eu/drivers-andmanuals |
DEPANARE
Ceasul nu se pornește.
Încărcați dispozitivul timp de câteva minute. Dacă ceasul nu se încarcă, verificați cablul USB și încărcătorul.
Ceasul nu este detectat de smartphone.
Asigurați-vă că BT este activat pe smartphone-ul dvs. Asigurați-vă că ceasul nu este conectat la un alt smartphone.
Conexiune pierdută cu smartphone-ul.
Acordați aplicației permisiunea de a rula în fundal și eliminați orice restricții.
REGULI PENTRU UTILIZARE ÎN SIGURANȚĂ
Nu apăsați ecranul cu obiecte ascuțite și nu aplicați prea multă presiune. Nu dezasamblați și nu încercați să reparați singur unitatea.
Nu scăpați, nu aruncați și nu îndoiți dispozitivul. Pentru a evita rănirea, nu utilizați un ceas cu fisuri sau alte defecte. Curățați cu o cârpă uscată sau ușor umedă numai după ce ați oprit dispozitivul și l-ați deconectat de la sursa de alimentare.
CONDIȚII DE GARANȚIE
Perioada de garanție este de 2 ani de la momentul achiziției, cu excepția cazului în care legea locală prevede altfel. Durata de viață a serviciului este egală cu perioada de garanție. Informații suplimentare despre garanție sunt disponibile la canyon.eu/warranty-terms.
Toate informațiile conținute în acest document pot fi modificate fără o notificare prealabilă a utilizatorului. Pentru cele mai recente informații și detalii despre dispozitiv, procesul de conectare, certificări, garanție și calitate și funcționalitatea aplicației Canyon Life, consultați manualele de instalare și operare relevante disponibile la canyon.eu/driversand-manuals. Toate mărcile comerciale și mărcile comerciale sunt proprietatea proprietarilor respectivi. Fabricat în China.
Directiva 2014/53/UE privind echipamentele radio.
Mai multe informații la canyon.eu/certificates.
Producător: ASBISc Enterprises PLC, Iapetou, 1, Agios Athanasios, 4101, Limassol, Cipru.
Tel.: +357-25-85-70-00, fax: +357-85-72-88,
e-mail: info@asbis.com, asbis.com.
Importator/distribuitor: ASBISc Enterprises PLC, Iapetou, 1, Agios Athanasios, 4101, Limassol, Cipru, Tel.: +357-25-85-70-00, asbis.com.

Referințe
Biroul de asistență pentru utilizatori - Canyon
Declarație de garanție limitată - Canyon
Certificate
ASBIS – Distribuitor IT
Descărcați manualul
Aici puteți descărca versiunea completă pdf a manualului, aceasta poate conține instrucțiuni suplimentare de siguranță, informații despre garanție, reguli FCC etc.
Descărcați Canyon Otto CNS-SW86 - Manual de utilizare pentru ceas inteligent sport multifuncțional





