Logitech ZONE 750 - Manual pentru căști USB cu fir și anulare a zgomotului
- 1 CUNOAȘTEȚI-VĂ PRODUSUL
- 2 CONTROLER ÎN LINIE
- 3 CE SE AFLĂ ÎN CUTIE
- 4 CONECTAREA UNITĂȚII
- 5 POTRIVIREA DISPOZITIVULUI
- 6 REGLAREA BRAȚULUI MICROFONULUI
- 7 CONTROALELE ÎN LINIE ALE DISPOZITIVULUI ȘI LUMINA INDICATOR
- 8 LOGI TUNE (APLICAȚIE COMPANION PC)
- 9 REGLAREA SIDETONE
- 10 ACTUALIZAȚI-VĂ UNITATEA
- 11 DIMENSIUNE
- 12 CERINȚE DE SISTEM
- 13 SPECIFICAȚII TEHNICE
- 14 Referințe
- 15 Descărcați manualul
- 16 În alte limbi

CUNOAȘTEȚI-VĂ PRODUSUL

CONTROLER ÎN LINIE

CE SE AFLĂ ÎN CUTIE

- Căști cu controler în linie și conector USB-C
- Adaptor USB-A
- Geantă de călătorie
- Documentație pentru utilizator
CONECTAREA UNITĂȚII
Conectare prin USB-C
- Introduceți conectorul USB-C în portul USB-C al computerului dumneavoastră.
![Logitech - ZONE 750 - CONECTAREA UNITĂȚII - Conectare prin USB-C CONECTAREA UNITĂȚII - Conectare prin USB-C]()
Conectare prin USB-A

- Introduceți conectorul USB-C în adaptorul USB-A.
- Introduceți conectorul USB-A în portul USB-A al computerului dumneavoastră.
Notă: Utilizați adaptorul USB-A doar cu setul de căști furnizat.
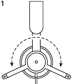
POTRIVIREA DISPOZITIVULUI

Ajustați setul de căști glisând banda de sus în poziție deschisă sau închisă pe ambele părți.
REGLAREA BRAȚULUI MICROFONULUI
- Brațul microfonului se rotește la 270 de grade. Purtați-l pe partea stângă sau dreaptă. Pentru cea mai bună experiență muzicală, vă recomandăm să purtați setul de căști cu microfonul pe partea stângă. Indicatoarele stânga/dreapta pot fi găsite pe partea laterală a setului de căști.
![]()
- Ajustați locația flexibilă a brațului microfonului pentru a capta mai bine vocea.
![]()
CONTROALELE ÎN LINIE ALE DISPOZITIVULUI ȘI LUMINA INDICATOR
| Buton | Utilizare | Lumină Indicator | Acțiune | |
![]() | Dezactivare microfon (Mute) | Dezactivare microfon activată (Mute on) | ROȘU continuu | Apăsați scurt pentru a dezactiva/reactiva microfonul (mute / unmute) |
| Dezactivare microfon oprită (Mute off) | Fără lumină | |||
![]() | Comenzi apeluri (Call Controls) | Apeluri primite (Incoming calls) | ALB intermitent | Apăsați scurt pentru a răspunde la apeluri (answer calls) |
| Apăsați 2 secunde pentru a respinge apelurile (reject calls) | ||||
| Apeluri în desfășurare (Ongoing calls) | ALB continuu | Apăsați scurt pentru a încheia apelurile (end calls) | ||
| Asistent Vocal (Voice Assistant) | Fără lumină | Apăsați 2 secunde pentru a activa asistentul vocal* (trigger voice assistant) | ||
![]() | Comenzi Media (Media Controls) | Fără lumină | Apăsați scurt pentru a reda/întrerupe (play / pause) | |
| Apăsați de două ori pentru a urmări înainte (track forward) | ||||
| Apăsați de trei ori pentru a urmări înapoi (track backward) | ||||
| + | Volum (Volume) | Fără lumină | Apăsați scurt pentru a crește volumul (volume up) | |
| - | Apăsați scurt pentru a reduce volumul (volume down) | |||
* Funcționalitatea asistentului vocal poate depinde de modelele de dispozitive.

LOGI TUNE (APLICAȚIE COMPANION PC)
Logi Tune vă ajută să îmbunătățiți performanța căștilor cu actualizări periodice de software și firmware, vă ajută să reglați ceea ce auziți cu personalizarea EQ cu 5 benzi și vă ajută să controlați modul în care sunteți auzit cu amplificarea microfonului, comenzile sidetone și multe altele. Mini-aplicația fără distrageri vă permite să faceți ajustări audio în timpul unui apel video activ.
Aflați mai multe și descărcați Logi Tune de la: www.logitech.com/tune
REGLAREA SIDETONE
Sidetone vă permite să vă auziți propria voce în timpul conversațiilor, astfel încât să fiți conștient de cât de tare vorbiți. În Logi Tune, selectați funcția sidetone și reglați selectorul în consecință.
- un număr mai mare înseamnă că auziți mai mult sunet extern.
- un număr mai mic înseamnă că auziți mai puțin sunet extern.
ACTUALIZAȚI-VĂ UNITATEA
Se recomandă să vă actualizați setul de căști. Pentru a face acest lucru, descărcați Logi Tune de la www.logitech.com/tune
DIMENSIUNE
Set de căști:
Înălțime x Lățime x Adâncime: 165,93 mm x 179,73 mm x 66,77 mm
Greutate: 0,211 Kg
Dimensiunile pernei pentru urechi:
Înălțime x Lățime x Adâncime: 65,84 mm x 65,84 mm x 18,75 mm
Adaptor:
Înălțime x Lățime x Adâncime: 21,5 mm x 15,4 mm x 7,9 mm
CERINȚE DE SISTEM
Computer bazat pe Windows, Mac sau Chrome cu port USB-C sau USB-A disponibil.
Compatibilitatea USB-C cu dispozitivele mobile depinde de modelele de dispozitive.
SPECIFICAȚII TEHNICE
Impedanță de intrare: 32 Ohmi
Sensibilitate (căști): 99 dB SPL/1 mW/1K Hz (nivel driver)
Sensibilitate (microfon): Microfon principal: -48 dBV/Pa, Microfon secundar: -40 dBV/Pa
Răspuns în frecvență (Căști): 20-16 kHz
Răspuns în frecvență (Microfon): 100-16 kHz (nivel componentă microfon)
Lungime cablu: 1,9 m
© 2023 Logitech. Logitech, Logi, Zone și sigla Logitech sunt mărci comerciale sau mărci comerciale înregistrate ale Logitech Europe S.A. și/sau ale afiliaților săi din SUA și alte țări. Chrome, Mac, USB-C, Windows și toate celelalte mărci comerciale terțe sunt proprietățile proprietarilor respectivi. Logitech nu își asumă nicio responsabilitate pentru eventualele erori care pot apărea în această publicație. Informațiile conținute aici pot fi modificate fără notificare.

Referințe
Descărcați manualul
Aici puteți descărca versiunea completă pdf a manualului, aceasta poate conține instrucțiuni suplimentare de siguranță, informații despre garanție, reguli FCC etc.
Descărcați Logitech ZONE 750 - Manual pentru căști USB cu fir și anulare a zgomotului





