Logitech ZONE WIRED - Manual de utilizare pentru căști cu anulare a zgomotului fără fir
- 1 CUNOAȘTEȚI-VĂ PRODUSUL
- 2 CE SE AFLĂ ÎN CUTIE
- 3 CONECTAREA CĂȘTILOR
- 4 POTRIVIREA CĂȘTILOR
- 5 REGLAREA BRAȚULUI MICROFONULUI
- 6 CONTROALELE ÎN LINIE ALE CĂȘTILOR ȘI LUMINA INDICATOR
- 7 LOGI TUNE DESKTOP (APLICAȚIE COMPANION PC)
- 8 REGLAREA SIDETONE
- 9 ACTUALIZAȚI-VĂ CĂȘTILE
- 10 DIMENSIUNE
- 11 CERINȚE DE SISTEM
- 12 SPECIFICAȚII TEHNICE
- 13 Referințe
- 14 Descărcați manualul
- 15 În alte limbi

CUNOAȘTEȚI-VĂ PRODUSUL

CONTROLER ÎN LINIE

CE SE AFLĂ ÎN CUTIE

- Căști cu controler în linie și conector USB-C
- Adaptor USB-A
- Geantă de călătorie
- Documentație pentru utilizator
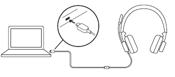
CONECTAREA CĂȘTILOR
Conectați prin USB-C

- Conectați conectorul USB-C în portul USB-C al computerului.
Conectați prin USB-A

- Conectați conectorul USB-C în adaptorul USB-A.
- Conectați conectorul USB-A în portul USB-A al computerului.
Notă: Utilizați adaptorul USB-A doar cu căștile furnizate.
POTRIVIREA CĂȘTILOR
Ajustați căștile glisând banda de sus în poziție deschisă sau închisă pe ambele părți.

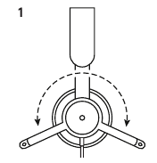
REGLAREA BRAȚULUI MICROFONULUI
- Brațul microfonului se rotește la 270 de grade. Purtați-l pe partea stângă sau dreaptă. Pentru cea mai bună experiență muzicală, vă recomandăm să purtați căștile cu microfonul pe stânga. Indicatorii stânga/dreapta pot fi găsiți pe partea laterală a căștilor.
![Reglarea brațului microfonului]()
- Ajustați locația flexibilă a brațului microfonului pentru a capta mai bine vocea.
![Ajustați locația brațului microfonului]()
CONTROALELE ÎN LINIE ALE CĂȘTILOR ȘI LUMINA INDICATOR
| Versiunea TEAMS | ||||
| Buton | Utilizare | Lumină indicator | Acțiune | |
![]() | Dezactivare microfon (Mute) | Dezactivare microfon activată (Mute on) | ROȘU continuu (Solid RED) | Apăsați scurt pentru a dezactiva/reactiva microfonul (Mute / Unmute) |
| Dezactivare microfon dezactivată (Mute off) | Fără lumină (No light) | |||
![]() | Controale apeluri (Call Controls) | Apeluri primite (Incoming calls) | ALB intermitent (Flashing WHITE) | Apăsați scurt pentru a răspunde la apeluri (Answer calls) |
| Apăsați timp de 2 secunde pentru a respinge apelurile (Reject calls) | ||||
| Apeluri în desfășurare (Ongoing calls) | ALB continuu (Solid WHITE) | Apăsați scurt pentru a încheia apelurile (End calls) | ||
| Activități Teams (Teams Activities) | Se conectează la Teams (Connecting to Teams) | VIOLET pulsatil (Pulsing PURPLE) | Apăsați scurt pentru a verifica conexiunea la Teams (check connection to Teams) | |
| Conexiune eșuată la Teams (Failed connection to Teams) | VIOLET intermitent timp de 10 secunde, apoi se stinge (Flashing PURPLE for 10 secs then off) | |||
| Nu este conectat la Teams (Not connected to Teams) | VIOLET intermitent de 3 ori, apoi se stinge (Flashing PURPLE 3 times then off) | |||
| Conectat la Teams (Connected to Teams) | VIOLET continuu (Solid PURPLE) | Apăsați scurt / 2 secunde pentru activități Teams (Teams activities) | ||
| Notificări Teams apel pierdut / Mesaj vocal / Alăturare la întâlnire (Teams Missed call / Voice mail / Join meeting notifications) | VIOLET pulsatil (Pulsing PURPLE) | Apăsați scurt pentru a răspunde la notificările Teams (Respond to Teams notifications) | ||
![]() | Controale media (Media Controls) | Fără lumină (No light) | Apăsați scurt pentru a reda / întrerupe (Play / Pause) | |
| Apăsați de două ori pentru a trece la următorul (Track forward) | ||||
| Apăsați de trei ori pentru a trece la anteriorul (Track backward) | ||||
| + | Volum (Volume) | Fără lumină (No light) | Apăsați scurt pentru a crește volumul (Volume up) | |
| - | Apăsați scurt pentru a reduce volumul (Volume down) | |||
Notă: Activitățile Teams sunt funcționale doar atunci când Teams rulează pe un PC sau Mac deblocat.

| Versiunea UC | ||||
| Buton | Utilizare | Lumină indicator | Acțiune | |
![]() | Dezactivare microfon (Mute) | Dezactivare microfon activată (Mute on) | ROȘU continuu (Solid RED) | Apăsați scurt pentru a dezactiva/reactiva microfonul (Mute / Unmute) |
| Dezactivare microfon dezactivată (Mute off) | Fără lumină (No light) | |||
![]() | Controale apeluri (Call Controls) | Apeluri primite (Incoming calls) | ALB intermitent (Flashing WHITE) | Apăsați scurt pentru a răspunde la apeluri (Answer calls) |
| Apăsați timp de 2 secunde pentru a respinge apelurile (Reject calls) | ||||
| Apeluri în desfășurare (Ongoing calls) | ALB continuu (Solid WHITE) | Apăsați scurt pentru a încheia apelurile (End calls) | ||
| Asistent vocal (Voice Assistant) | Fără lumină (No light) | Apăsați timp de 2 secunde pentru a activa asistentul vocal* (Trigger voice assistant*) | ||
![]() | Controale media (Media Controls) | Fără lumină (No light) | Apăsați scurt pentru a reda / întrerupe (Play / Pause) | |
| Apăsați de două ori pentru a trece la următorul (Track forward) | ||||
| Apăsați de trei ori pentru a trece la anteriorul (Track backward) | ||||
| + | Volum (Volume) | Fără lumină (No light) | Apăsați scurt pentru a crește volumul (Volume up) | |
| - | Apăsați scurt pentru a reduce volumul (Volume down) | |||
* Funcționalitatea asistentului vocal poate depinde de modelele dispozitivului.

LOGI TUNE DESKTOP (APLICAȚIE COMPANION PC)
Logi Tune Desktop vă ajută să îmbunătățiți performanța căștilor cu actualizări periodice de software și firmware, vă ajută să reglați ceea ce auziți cu personalizarea EQ pe 5 benzi și vă ajută să controlați modul în care sunteți auzit cu amplificarea microfonului, controalele sidetone și multe altele. Mini-aplicația fără distrageri vă permite să faceți ajustări audio în timpul unui apel video activ.
Aflați mai multe și descărcați Logi Tune Desktop de la: www.logitech.com/tune
REGLAREA SIDETONE
Sidetone vă permite să vă auziți propria voce în timpul conversațiilor, astfel încât să fiți conștient de cât de tare vorbiți. În Logi Tune, selectați funcția sidetone și reglați cadranul în consecință.
- un număr mai mare înseamnă că auziți mai mult sunet extern.
- un număr mai mic înseamnă că auziți mai puțin sunet extern.
ACTUALIZAȚI-VĂ CĂȘTILE
Se recomandă să vă actualizați căștile. Pentru a face acest lucru, descărcați Logi Tune de la www.logitech.com/tune
DIMENSIUNE
Căști:
Înălțime x Lățime x Adâncime: 165,93 mm x 179,73 mm x 66,77 mm Greutate: 0,211 Kg
Dimensiunile pernei pentru urechi:
Înălțime x Lățime x Adâncime: 65,84 mm x 65,84 mm x 18,75 mm
Adaptor:
Înălțime x Lățime x Adâncime: 21,5 mm x 15,4 mm x 7,9 mm
CERINȚE DE SISTEM
Computer bazat pe Windows, Mac sau Chrome cu port USB-C sau USB-A disponibil. Compatibilitatea USB-C cu dispozitivele mobile depinde de modelele dispozitivului.
SPECIFICAȚII TEHNICE
Impedanță de intrare: 32 Ohmi
Sensibilitate (căști): 99dB±3dB la 1000Hz @30mW,1cm
Sensibilitate (microfon): Microfon principal: -48 dBV/Pa, Microfon secundar: - 40 dBV/Pa
Răspuns în frecvență (căști): 20~16 kHz
Răspuns în frecvență (microfon): 100~16 kHz
Lungime cablu: 1,9 m
© 2023 Logitech. Logitech, Logi, Zone și sigla Logitech sunt mărci comerciale sau mărci comerciale înregistrate ale Logitech Europe S.A. și/sau ale afiliaților săi în SUA și în alte țări. Chrome, Mac, Microsoft Teams, USB-C, Windows și toate celelalte mărci comerciale ale terților sunt proprietățile proprietarilor respectivi. Logitech nu își asumă nicio responsabilitate pentru eventualele erori care pot apărea în această publicație. Informațiile conținute aici pot fi modificate fără notificare.

Referințe
Descărcați manualul
Aici puteți descărca versiunea completă pdf a manualului, aceasta poate conține instrucțiuni suplimentare de siguranță, informații despre garanție, reguli FCC etc.
Descărcați Logitech ZONE WIRED - Manual de utilizare pentru căști cu anulare a zgomotului fără fir







