Manualul Sony SRS-XB40

Note privind caracteristica de rezistență la apă
(Citiți înainte de a utiliza sistemul)
Performanța de rezistență la apă a sistemului
Acest sistem are o specificație de rezistență la apă*1,*2 de IPX5*3, așa cum este specificat în „Grade de protecție împotriva pătrunderii apei” din IEC60529 „Grad de protecție (Cod IP)”. Cu toate acestea, acest sistem nu este complet etanș.
Nu scăpați sistemul în apă fierbinte într-o cadă și nu îl utilizați intenționat în apă.
Lichidele pentru care se aplică specificațiile de performanță de rezistență la apă
| Aplicabile: | apă dulce, apă de la robinet |
| Neaplicabile: | lichide altele decât cele de mai sus (apă cu săpun, apă cu detergent sau agenți de baie, șampon, apă termală, apă de piscină, apă de mare etc.) |
*1 Necesită fixarea sigură a capacului.
*2 Accesoriile furnizate nu sunt rezistente la apă.
*3 IPX5 (Grad de protecție împotriva jeturilor de apă): Pentru detalii, consultați Ghidul de ajutor.
Performanța de rezistență la apă a sistemului se bazează pe măsurătorile noastre în condițiile descrise aici. Rețineți că defecțiunile rezultate în urma scufundării în apă cauzate de utilizarea greșită de către client nu sunt acoperite de garanție.
Pentru a evita deteriorarea performanței de rezistență la apă
Verificați următoarele și utilizați sistemul corect.
- Nu utilizați și nu lăsați sistemul într-un mediu extrem de cald sau rece (temperatură în afara intervalului 5°C – 35°C). Dacă sistemul este utilizat sau lăsat în afara intervalului de mai sus, sistemul se poate opri automat pentru a proteja circuitele interne.
- Aveți grijă să nu scăpați sistemul sau să îl supuneți unui șoc mecanic. Deformarea sau deteriorarea pot cauza deteriorarea performanței de rezistență la apă.
- Nu utilizați sistemul într-un loc în care o cantitate mare de apă sau apă fierbinte poate stropi pe el. Sistemul nu are un design rezistent la presiunea apei. Utilizarea sistemului în locația de mai sus poate cauza o defecțiune.
- Nu turnați apă la temperatură înaltă și nu suflați aer fierbinte de la un uscător de păr sau de la orice alt aparat direct pe sistem. De asemenea, nu utilizați niciodată sistemul în locuri cu temperaturi ridicate, cum ar fi în saune sau lângă o sobă.
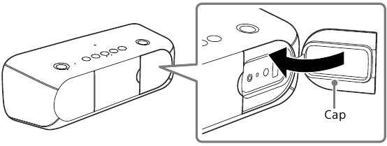
- Manipulați capacul cu grijă. Capacul joacă un rol foarte important în menținerea performanței de rezistență la apă. Când utilizați sistemul, asigurați-vă că capacul este închis complet. Când închideți capacul, aveți grijă să nu permiteți pătrunderea corpurilor străine în interior. Dacă capacul nu este închis complet, performanța de rezistență la apă se poate deteriora și poate cauza o defecțiune a sistemului ca urmare a pătrunderii apei în sistem.
![Sony - SRS-XB40 - Pentru a evita deteriorarea performanței de rezistență la apă Pentru a evita deteriorarea performanței de rezistență la apă]()
Cum să îngrijiți sistemul atunci când este umed
Dacă sistemul se udă, mai întâi îndepărtați apa din sistem, apoi ștergeți umezeala de pe sistem folosind o cârpă moale și uscată. Mai ales în regiunile reci, lăsarea umezelii pe suprafața sa poate determina înghețarea sistemului și funcționarea defectuoasă. Asigurați-vă că ștergeți umezeala după utilizarea sistemului.
Puneți sistemul pe un prosop sau o cârpă uscată. Apoi lăsați-l la temperatura camerei și uscați sistemul până când nu mai rămâne umezeală.
Specificații
Secțiunea difuzor
Sistem de difuzoare: Aprox. 61 mm diam. × 2
Tip incintă: Model cu radiator pasiv
BLUETOOTH
| Sistem de comunicare | Specificația BLUETOOTH versiunea 4.2 |
| Ieșire | Specificația BLUETOOTH Clasa de putere 2 |
| Raza maximă de comunicare | Linie vizuală aprox. 10 m* 1 |
| Banda de frecvență | bandă de 2,4 GHz (2,4000 GHz - 2,4835 GHz) |
| Metoda de modulare | FHSS |
| Profiluri BLUETOOTH compatibile*2 | A2DP (Advanced Audio Distribution Profile) AVRCP (Audio Video Remote Control Profile) HSP (Headset Profile) HFP (Hands-free Profile) SPP (Serial Port Profile) |
| Codec acceptat*3 | SBC* 4, AAC* 5, LDAC* 6 |
| Interval de transmisie (A2DP) | 20 Hz - 20.000 Hz (Frecvență de eșantionare 44,1 kHz) |
*1 Raza reală va varia în funcție de factori precum obstacolele dintre dispozitive, câmpurile magnetice din jurul unui cuptor cu microunde, electricitatea statică, sensibilitatea de recepție, performanța antenei, sistemul de operare, aplicația software etc.
*2 Profilurile standard BLUETOOTH indică scopul comunicării BLUETOOTH între dispozitive.
*3 Codec: Format de compresie și conversie a semnalului audio
*4 Codec subbandă
*5 Codare audio avansată
*6 LDAC este o tehnologie de codare audio dezvoltată de Sony, care permite transmiterea de
Conținut audio de înaltă rezoluție (Hi-Res), chiar și printr-o conexiune BLUETOOTH. Spre deosebire de alte tehnologii de codare compatibile BLUETOOTH, cum ar fi SBC, funcționează fără nicio conversie descendentă a conținutului audio Hi-Res*7 și permite transmiterea a de aproximativ trei ori mai multe date*8 decât acele alte tehnologii printr-o rețea fără fir BLUETOOTH cu o calitate a sunetului fără precedent, prin mijloace de codare eficientă și pachete optimizate.
*7 Cu excepția conținutului în format DSD.
*8 În comparație cu SBC (Subband Coding) atunci când este selectată rata de biți de 990 kbps (96/48 kHz) sau 909 kbps (88,2/44,1 kHz).
Microfon
Tip: Condensator electret
Caracteristică direcțională: Omni direcțional
Interval de frecvență eficient: 100 Hz - 7.000 Hz
Generalități
| Intrare | Mufă AUDIO IN (minijack stereo ø 3,5 mm) |
| DC OUT | Mufă USB tip A (pentru încărcarea bateriei unui dispozitiv conectat) (5 V, Max. 1,5 A) |
| Alimentare | DC 9,5 V (folosind adaptorul AC furnizat conectat la sursa de alimentare AC 100 V - 240 V, 50 Hz/60 Hz) sau, folosind bateria litiu-ion încorporată |
| Durata de viață a bateriei litiu-ion (folosind conexiunea BLUETOOTH) | Aprox. 24 de ore* 9 |
| Dimensiuni (inclusiv părțile proeminente și comenzile) | Aprox. 279 mm × 100 mm × 105 mm (l/î/a) |
| Masă | Aprox. 1.500 g inclusiv bateria |
| Conținutul pachetului | Unitate principală (1) Adaptor AC (AC-E9522M) (1) Ștecăr (1) Instrucțiuni de utilizare (1) Ghid de referință (acest document) (1) |
*9 Când este utilizată sursa de muzică specificată, nivelul volumului unității este setat la 19, iar iluminarea de pe unitate este oprită.
Dacă nivelul volumului unității este setat la maximum, durata de viață va fi de aprox. 4 ore. Timpul poate varia, în funcție de temperatură sau de condițiile de utilizare.
Modele iPhone/iPod compatibile
Tehnologia Bluetooth funcționează cu iPhone 7 Plus, iPhone 7, iPhone SE, iPhone 6s Plus, iPhone 6s, iPhone 6 Plus, iPhone 6, iPhone 5s, iPhone 5c, iPhone 5, iPhone 4s, iPod touch (generația a 6-a), iPod touch (generația a 5-a).
Notă
Sony nu își poate asuma responsabilitatea în cazul în care datele înregistrate pe iPhone/iPod sunt pierdute sau deteriorate atunci când utilizați iPhone/iPod conectat la această unitate.
Designul și specificațiile pot fi modificate fără notificare.
Avertismente de siguranță
Înainte de a utiliza sistemul, vă rugăm să citiți cu atenție acest ghid și să îl păstrați pentru consultare ulterioară.
Pentru a reduce riscul de incendiu sau electrocutare, nu expuneți adaptorul AC la ploaie sau umezeală.
Pentru a reduce riscul de incendiu, nu acoperiți orificiul de ventilație al aparatului cu ziare, fețe de masă, perdele etc.
Nu expuneți aparatul la surse de flacără deschisă (de exemplu, lumânări aprinse).
Pentru a reduce riscul de incendiu sau electrocutare, nu expuneți adaptorul AC la picurare sau stropire și nu așezați obiecte umplute cu lichide, cum ar fi vaze, pe adaptorul AC.
Nu instalați aparatul într-un spațiu închis, cum ar fi o bibliotecă sau un dulap încorporat.
Nu expuneți bateriile (acumulatorul sau bateriile instalate) la căldură excesivă, cum ar fi lumina soarelui, focul sau altele asemenea, pentru o perioadă lungă de timp.
Deoarece ștecherul principal al adaptorului AC este utilizat pentru a deconecta adaptorul AC de la rețea, conectați-l la o priză AC ușor accesibilă. Dacă observați o anomalie, deconectați-l imediat de la priza AC.
Unitatea nu este deconectată de la sursa de alimentare AC (rețea) atâta timp cât este conectată la priza de perete, chiar dacă unitatea însăși a fost oprită.
Dacă pielea dumneavoastră atinge adaptorul AC sau acest produs pentru o perioadă lungă de timp când alimentarea este pornită, aceasta poate provoca o vătămare cauzată de temperatură scăzută.
Plăcuța cu date tehnice și informațiile importante privind siguranța sunt situate pe exteriorul din spate al unității principale și pe suprafața adaptorului AC.
Nu dezasamblați, deschideți sau distrugeți celulele secundare sau bateriile.
Nu expuneți celulele sau bateriile la căldură sau foc. Evitați depozitarea în lumina directă a soarelui.
În cazul în care o celulă se scurge, nu permiteți contactul lichidului cu pielea sau ochii. Dacă a avut loc contactul, spălați zona afectată cu cantități mari de apă și solicitați sfatul medicului.
Nu utilizați niciun încărcător altul decât cel furnizat special pentru utilizare cu echipamentul.
Nu utilizați nicio celulă sau baterie care nu este proiectată pentru utilizare cu echipamentul.
Celulele și bateriile secundare trebuie încărcate înainte de utilizare. Utilizați întotdeauna încărcătorul corect și consultați instrucțiunile producătorului sau manualul echipamentului pentru instrucțiuni de încărcare adecvate. După perioade lungi de depozitare, poate fi necesar să încărcați și să descărcați celulele sau bateriile de mai multe ori pentru a obține performanțe maxime.
Precauții de siguranță
Cu privire la siguranță
- Înainte de a utiliza sistemul, asigurați-vă că tensiunea de funcționare a sistemului este identică cu cea a sursei de alimentare locale.
| Unde a fost achiziționat | Tensiune de funcționare |
| Toate țările/regiunile | 100 V – 240 V AC, 50 Hz/60 Hz |
Note privind adaptorul AC
- Utilizați numai adaptorul AC furnizat. Pentru a evita deteriorarea sistemului, nu utilizați niciun alt adaptor AC.
![]()
Cu privire la amplasare
- Nu așezați difuzorul într-o poziție înclinată.
- Nu lăsați sistemul într-o locație apropiată de surse de căldură sau într-un loc supus luminii directe a soarelui, prafului excesiv sau șocurilor mecanice.
- Nu utilizați și nu lăsați sistemul într-o mașină.
- Nu utilizați sistemul într-o saună.
Cu privire la curățare
- Nu utilizați alcool, benzină sau diluant pentru a curăța carcasa.
Altele
- Când utilizați funcția Speaker Add sau Wireless Party Chain, codecul este schimbat în SBC.
- La temperaturi ridicate, încărcarea se poate opri sau volumul se poate reduce pentru a proteja bateria.
- Chiar dacă nu intenționați să utilizați sistemul pentru o perioadă lungă de timp, încărcați bateria la capacitatea maximă o dată la 6 luni pentru a menține performanța acesteia.
Despre Ghidul vocal
GHIDUL DE SUNET ESTE DISPONIBIL ÎN ACEST PRODUS NUMAI ÎN ENGLEZĂ
În funcție de starea sistemului, ghidul vocal este redat de difuzor după cum urmează.
- Când setați sistemul în modul de asociere; "Bluetooth pairing" (Asociere Bluetooth)
- Când apăsați și mențineți apăsat butonul
(apel) pentru a verifica nivelul de încărcare a bateriei în timpul pornirii sistemului; "Fully charged/About 70%/About 50%/About 20%/Please charge" (Încărcat complet/Aproximativ 70%/Aproximativ 50%/Aproximativ 20%/Vă rugăm să încărcați) - Când nivelul de încărcare a bateriei este scăzut; "Please charge" (Vă rugăm să încărcați)
- Când schimbați L/R pe SongPal în timpul funcției Speaker Add; "Left/Right" (Stânga/Dreapta)
Descărcați manualul
Aici puteți descărca versiunea completă pdf a manualului, aceasta poate conține instrucțiuni suplimentare de siguranță, informații despre garanție, reguli FCC etc.
Descărcați Manualul Sony SRS-XB40


(apel) pentru a verifica nivelul de încărcare a bateriei în timpul pornirii sistemului; "Fully charged/About 70%/About 50%/About 20%/Please charge" (Încărcat complet/Aproximativ 70%/Aproximativ 50%/Aproximativ 20%/Vă rugăm să încărcați)