Ryobi JOBPLUS P570 - Priročnik za glavo večnamenskega orodja

POSEBNI VARNOSTNI PREDPISI
Za zmanjšanje nevarnosti poškodb mora uporabnik prebrati in razumeti ta priročnik za uporabo, pa tudi priročnik za uporabo električnega ročaja in, če je primerno, baterijski sklop in polnilnik, preden jih uporabi. Pred uporabo zagotovite združljivost in pravilno prileganje glave in električnega ročaja.
- Električno orodje držite za izolirane prijemalne površine, ko izvajate operacijo, pri kateri lahko rezalni pripomoček pride v stik s skrito napeljavo ali lastnim kablom. Če rezalni pripomoček pride v stik z žico pod napetostjo, lahko izpostavljeni kovinski deli električnega orodja postanejo prevodni in lahko povzročijo električni udar.
- Uporabite spone ali drug praktičen način za pritrditev in podpiranje obdelovanca na stabilni platformi. Če obdelovanec držite z roko ali ob telesu, je nestabilen in lahko povzroči izgubo nadzora.
SPECIFIKACIJE IZDELKA
Hitrost 0-20.000 nihajev na minuto.
SEZNAM PAKIRANJA
Glava večnamenskega orodja, segmentni žagin list, univerzalni list, podložna blazinica za natančno brušenje, brusni papir granulacije 60, brusni papir granulacije 80 (3), brusni papir granulacije 120, šestrobni ključ in adapter
UPORABA
| Vrsta dodatne opreme | Uporaba | |
| Segmentni žagin list | Izravnalno rezanje v lesu in suhomontažnih ploščah |
![]() | Univerzalni list | Ravni rezi v lesu, plastiki in tankih kovinah |
![]() | Podložna blazinica za natančno brušenje | Brušenje v kotih in drugih težko dostopnih mestih |
![]() | Brusni papir | Brusni papir granulacije 60 (1), granulacije 80 (3) in granulacije 120 (1) je priložen za brušenje v različnih aplikacijah |
![]() | Adapter | Namestite adapter s stranjo D navzven za uporabo z dodatki Dremel ® in s stranjo B navzven za uporabo z dodatki BOSCH ®. |
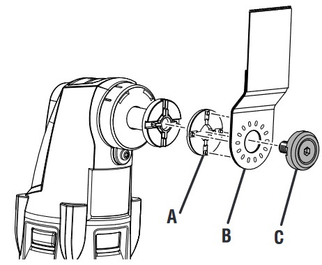
NAMESTITEV GLAVE

A - Glava večnamenskega orodja
B - Zaskočke
C - Električni ročaj
- Odstranite baterijski sklop iz električnega ročaja ali odklopite iz napajanja.
- Namestite glavo na električni ročaj in potiskajte, dokler se zaskočke ne zaskoči v položaj. Povlecite glavo, da se prepričate, da je varno nameščena, preden nadaljujete.
OPOMBA: Glavo lahko namestite pod koti 90°, da najbolje ustreza vašim potrebam uporabe.
NAMESTITEV DODATNE OPREME
A - Segmentni žagin list
B - Sklop vijaka in podložke
C - Univerzalni list
D - Šestrobni ključ
E - Podložna blazinica za natančno brušenje

A - Adapter
B - Dodatna oprema Bosch ali Dremel
C - Sklop vijaka in podložke
- Odstranite baterijski sklop iz električnega ročaja ali odklopite iz napajanja.
- S priloženim šestrobnim ključem zavrtite vijak v nasprotni smeri urinega kazalca. Odstranite sklop vijaka in podložke ter ga postavite na stran.
- Namestite želeni pripomoček na glavo, tako da se odprtine na pripomočku prilegajo dvignjenim delom glave. Ponovno namestite vijak in podložko ter ju varno privijte.
OPOMBA: Nekateri dodatki Fein® se bodo prilegali tudi tej glavi brez uporabe adapterjev. Pri uporabi dodatkov Fein vedno upoštevajte navodila za ta pripomoček, poleg vseh navodil za ta izdelek.
- Priložen je adapter, ki omogoča uporabo dodatkov BOSCH ® in Dremel ® z električnim ročajem. Pri uporabi teh dodatkov najprej namestite adapter, nato pa še dodatek. Adapter je treba namestiti s stranjo B navzven za uporabo z dodatki BOSCH ® in s stranjo D navzven za uporabo z dodatki Dremel ®. Adapter uporabljajte samo pri uporabi teh dodatkov.
OPOMBA: Pri uporabi dodatkov Bosch ali Dremel vedno upoštevajte navodila za ta pripomoček, poleg vseh navodil za ta izdelek.
Med uporabo orodja ne nosite ohlapnih oblačil ali nakita. Lahko se zataknejo v gibljive dele in povzročijo resne poškodbe. Glavo držite stran od orodja in delovnega območja. Lasje se lahko potegnejo v orodje in povzročijo resne poškodbe.
Nezavarovano delo se lahko vrže proti operaterju in povzroči poškodbe.
REZANJE

- Žago trdno držite pred seboj in jasno stran od sebe. Prepričajte se, da je list očiščen vseh tujkov.
- Jasno označite linijo reza.
- Pritisnite stikalo, da začnete rezanje. Pustite, da list doseže polno hitrost, nato pa premaknite list v obdelovanec.
- Za rezanje držite zobe lista v delovni površini in počasi premikajte zadnji del orodja v enakomernem bočnem gibanju.
OPOMBA: Če je linija in napis na listu med uporabo videti zamegljena, uporabljate pravilno količino pritiska. Če postanejo jasni, uporabljate preveliko silo.
OBVESTILO: Ne silite. Uporabite samo toliko pritiska, da žaga reže. Pustite, da list in žaga opravita delo. Uporaba prevelikega pritiska bo povzročila močne vibracije orodja, kar lahko povzroči zlomljene liste in prezgodnjo obrabo motorja orodja.
Roke držite stran od listov. Ne segajte pod obdelovanec ali okoli ali nad list, medtem ko se list premika. Ne poskušajte odstraniti odrezanega materiala, ko se list premika.
IZBIRA BRUSNEGA PAPIRJA
Izbira pravilne velikosti zrnatosti in vrste brusnega papirja je izjemno pomemben korak pri doseganju visokokakovostne brušene površine. Aluminijev oksid, silicijev karbid in drugi sintetični abrazivi so najboljši za strojno brušenje. Naravni abrazivi, kot sta kremen in granat, so premehki za ekonomično uporabo pri strojnem brušenju.
Na splošno bo groba zrnatost odstranila največ materiala, fina zrnatost pa bo dala najboljšo končno obdelavo pri vseh postopkih brušenja. Stanje površine, ki jo je treba brusiti, bo določilo, katera zrnatost bo opravila delo. Če je površina groba, začnite z grobo zrnatostjo in brusite, dokler površina ni enakomerna. Srednjo zrnatost lahko nato uporabite za odstranjevanje prask, ki jih je pustila groba zrnatost, fino zrnatost pa za končno obdelavo površine. Vedno nadaljujte z brušenjem z vsako zrnatostjo, dokler površina ni enakomerna.
BRUŠENJE

Brusilnik držite pred seboj in stran od sebe, pri čemer ga držite stran od obdelovanca. Zaženite brusilnik in pustite, da motor doseže največjo hitrost, nato pa ga postopoma spustite na obdelovanec z rahlim gibanjem naprej. Brusilnik počasi premikajte po obdelovancu z gibi naprej in nazaj ali z gibi od strani do strani. Po končanem brušenju vedno odstranite brusilnik z obdelovanca, preden ga izklopite.
Ne silite. Teža enote zagotavlja ustrezen pritisk, zato pustite, da brusni papir in brusilnik opravita delo. Dodatni pritisk samo upočasni motor, hitro obrabi brusni papir in močno zmanjša hitrost brusilnika. Prevelik pritisk bo preobremenil motor, kar lahko povzroči poškodbe zaradi pregrevanja motorja in lahko povzroči slabše delo. Vsak premaz ali smola na lesu se lahko zmehča zaradi toplote trenja. Ne dovolite, da bi brusili na enem mestu predolgo, saj lahko hitro delovanje brusilnika odstrani preveč materiala, zaradi česar je površina neenakomerna.

Prenesi navodilo
Tukaj lahko prenesete polno pdf različico navodila, ki lahko vsebuje dodatna varnostna navodila, informacije o garanciji, FCC pravila itd.
Prenesi Ryobi JOBPLUS P570 - Priročnik za glavo večnamenskega orodja



