SunJoe 24V-JB-LTE - Manual del soplador de turbina Jet inalámbrico
- 1 Instrucciones de seguridad
- 2 Seguridad general
- 3 Instrucciones de seguridad de la batería y el cargador
- 4 Símbolos de seguridad
- 5 Conozca su soplador de chorro inalámbrico
- 6 Desembalaje
- 7 Funcionamiento del paquete de baterías
- 8 Funcionamiento del cargador
- 9 Montaje
- 10 Funcionamiento
- 11 Mantenimiento
- 12 Almacenamiento
- 13 Precaución de la batería + Eliminación
- 14 Servicio y soporte
- 15 Modelo y números de serie
- 16 Referencias
- 17 Descargar manual
- 18 En otros idiomas

Instrucciones de seguridad
Todos los operadores deben leer estas instrucciones antes de usar
Lea todas las instrucciones contenidas en este manual. Guarde este manual en un lugar seguro, para que la información esté disponible en todo momento. Si le da el equipo a otra persona, asegúrese de proporcionarle estas instrucciones de funcionamiento. Siempre se deben seguir las precauciones básicas de seguridad para reducir el riesgo de incendio, descarga eléctrica y lesiones personales.
Esto indica una situación peligrosa que, de no seguirse, provocará lesiones graves o la muerte.
Esto indica una situación peligrosa que, de no seguirse, podría provocar lesiones graves o la muerte.
Esto indica una situación peligrosa que, de no seguirse, podría provocar lesiones leves o moderadas.
El uso inadecuado de la máquina invalidará la garantía y eximirá al fabricante de toda responsabilidad. En consecuencia, el usuario será responsable de todos y cada uno de los daños o lesiones que se produzcan a sí mismo o a terceros.
Seguridad general
SOLO PARA USO DOMÉSTICO
Use protección auditiva adecuada durante el uso. Después de largos períodos de uso prolongado, el ruido generado por este aparato puede causar pérdida de audición si sus oídos no están protegidos adecuadamente.
Cuando utilice la herramienta eléctrica, siempre se deben seguir las precauciones básicas de seguridad para reducir el riesgo de incendio, descarga eléctrica y lesiones personales. Éstas incluyen:
- Mantenga el área de trabajo limpia y bien iluminada – Las áreas oscuras y desordenadas invitan a los accidentes.
- Piezas de repuesto – Cuando repare esta unidad, utilice únicamente piezas de repuesto idénticas.
- Mantenga alejados a los niños, transeúntes y mascotas – Todos los espectadores, incluidas las mascotas, deben mantenerse a una distancia segura del área de trabajo.
- Vístase adecuadamente – No use ropa suelta ni joyas, ya que estos artículos pueden quedar atrapados en las piezas móviles. Use una cubierta protectora para sujetar el cabello largo. Se recomienda usar guantes de goma y calzado antideslizante resistente cuando trabaje al aire libre.
- Evite el arranque accidental – Asegúrese de que el interruptor esté en la posición de apagado antes de conectarlo al paquete de baterías, recoger o transportar el aparato. Transportar el aparato con el dedo en el interruptor o energizar un aparato que tiene el interruptor encendido invita a los accidentes.
- Desconecte el paquete de baterías antes de limpiar o reparar – Desconecte el paquete de baterías del aparato antes de realizar cualquier ajuste, cambiar accesorios o guardar. Estas medidas de seguridad preventivas reducen el riesgo de encender el aparato accidentalmente.
No modifique ni intente reparar el aparato o el paquete de baterías (según corresponda), excepto como se indica en las instrucciones de uso y cuidado. - Piezas móviles – Mantenga las manos y los pies alejados de las piezas móviles. Mantenga los protectores en su lugar y en buen estado de funcionamiento.
- No fuerce la herramienta – Funcionará mejor con menos probabilidad de lesiones personales o mecánicas si se utiliza al ritmo para el que fue diseñada.
- Use equipo de protección personal – Cuando utilice esta herramienta, use gafas de seguridad con protectores laterales o gafas protectoras para proporcionar la protección ocular necesaria. Use protectores auditivos para evitar daños auditivos. Use una máscara facial o contra el polvo si el entorno de trabajo es polvoriento.
- Retire la batería – Retire la batería cuando la herramienta no esté en uso, antes de repararla, al cambiar los accesorios y al realizar cualquier otra tarea de mantenimiento.
- Guarde la herramienta inactiva en interiores – Cuando no esté en uso, el soplador debe guardarse en interiores en un lugar seco y alto o cerrado con llave fuera del alcance de los niños.
- Use la herramienta correcta – No use la herramienta para ningún trabajo que no sea aquel para el que está destinada.
- Evite entornos peligrosos – No use el soplador bajo la lluvia, en lugares húmedos o mojados.
- Manténgase alerta – Observe lo que está haciendo. Use el sentido común. No opere el soplador cuando esté cansado o bajo la influencia de drogas, alcohol u otros medicamentos.
Instrucciones de seguridad adicionales
- No use el soplador bajo la lluvia o en un área húmeda.
- Tenga especial cuidado al limpiar en escaleras o peldaños.
- Mantenga una base firme y conserve el equilibrio en todo momento. No se exceda. Excederse puede provocar la pérdida del equilibrio.
- Apague todos los controles antes de desenchufar la herramienta.
- No use la herramienta si el interruptor de encendido no la enciende o apaga (ON/OFF). Cualquier herramienta que no se pueda controlar con el interruptor es peligrosa y debe repararse.
- Inspeccione cuidadosamente su aparato antes de usarlo y siga todas las instrucciones de la etiqueta y las marcas.
- Mantenga todas las partes de su cuerpo alejadas de cualquier pieza móvil y de todas las superficies calientes de la unidad.
- No introduzca ningún objeto en las aberturas de la herramienta. No use la herramienta con ninguna abertura bloqueada; mantenga las aberturas libres de polvo, pelusa, cabello o cualquier otro objeto que pueda reducir el flujo de aire.
- Revise el área de trabajo antes de cada uso. Retire todos los objetos, como rocas, vidrios rotos, clavos, alambres o cuerdas, que puedan salir despedidos o enredarse en la máquina.
- El servicio del producto debe ser realizado únicamente por personal de reparación calificado. El servicio o el mantenimiento realizado por personal no calificado podría provocar lesiones al usuario o daños al producto.
- Este soplador está diseñado únicamente para uso residencial. El uso comercial de este producto está prohibido y anulará la garantía del fabricante.
- Nunca haga funcionar la unidad sin el equipo adecuado conectado. Siempre asegúrese de que el tubo del soplador esté instalado correctamente.
- Siempre sujete el mango cuando opere la unidad, opere la máquina únicamente en su orientación prevista.
Reglas de seguridad específicas para el soplador Jet
- El soplador Jet ha sido diseñado para limpiar escombros ligeros y hojas de superficies duras, no para limpiar áreas de césped.
- Cuando opere la unidad, nunca apunte la boquilla del soplador Jet en dirección a personas o mascotas o en dirección a las ventanas. Tenga mucho cuidado al soplar escombros cerca de objetos sólidos, como árboles, automóviles y paredes.
- Asegúrese de asegurar la unidad cuando la transporte.
- Nunca empape ni rocíe la unidad con agua ni con ningún otro líquido. Limpie la unidad después de cada uso como se describe en la sección de limpieza y almacenamiento.
Instrucciones de seguridad de la batería y el cargador
Prestamos mucha atención al diseño de cada batería para garantizar que le suministremos baterías seguras, duraderas y con una alta densidad de energía. Las celdas de la batería tienen una amplia gama de dispositivos de seguridad. Cada celda individual se formatea inicialmente y se registran sus curvas características eléctricas. Estos datos se utilizan exclusivamente para poder ensamblar las mejores baterías posibles.
A pesar de todas las precauciones de seguridad, siempre se debe tener cuidado al manipular las baterías. Los siguientes puntos deben obedecerse en todo momento para garantizar un uso seguro. El uso seguro solo puede garantizarse si se utilizan celdas no dañadas. El manejo incorrecto de la batería puede causar daños a las celdas.
Los análisis confirman que el uso incorrecto y el cuidado deficiente de las baterías de alto rendimiento son los principales factores responsables de los daños personales y/o del producto.
Utilice únicamente baterías de repuesto aprobadas; otras baterías pueden dañar el soplador a reacción y provocar un mal funcionamiento.
Para reducir el riesgo de lesiones, cargue la batería de iones de litio Sun Joe® de 24 V solo en su cargador de iones de litio Sun Joe® designado. Otros tipos de cargadores presentan riesgo de incendio, lesiones personales y daños. No conecte una batería a un enchufe de fuente de alimentación o al encendedor de cigarrillos del automóvil. Dicho uso indebido desactivará o dañará permanentemente la batería.
- Evite los entornos peligrosos: no cargue la batería bajo la lluvia, la nieve o en lugares húmedos. No utilice la batería o el cargador en presencia de atmósferas explosivas (vapores gaseosos, polvo o materiales inflamables) porque se pueden generar chispas al insertar o quitar la batería, lo que podría provocar un incendio.
- Cargue en un área bien ventilada: no bloquee las rejillas de ventilación del cargador. Manténgalas despejadas para permitir una ventilación adecuada. No permita fumar ni llamas abiertas cerca de una batería en carga. Los gases ventilados pueden explotar.
NOTA: El rango de temperatura seguro para la batería es de 41 °F a 105 °F (5 °C a 40,5 °C). No cargue la batería al aire libre en climas helados; cárguela a temperatura ambiente. - Mantenga el cable del cargador: cuando desenchufe el cargador, tire del enchufe, no del cable, del receptáculo para reducir el riesgo de dañar el enchufe y el cable eléctricos. Nunca transporte el cargador por el cable ni tire de él para desconectarlo del receptáculo. Mantenga el cable alejado del calor, el aceite y los bordes afilados. Asegúrese de que no se pise el cable, se tropiece con él o se someta a daños o tensión cuando el cargador esté en uso. No utilice el cargador con un cable o enchufe dañado. Reemplace un cargador dañado inmediatamente.
- No utilice un cable de extensión a menos que sea absolutamente necesario: el uso de un cable de extensión incorrecto, dañado o cableado incorrectamente presenta un riesgo de incendio y descarga eléctrica. Si se debe utilizar un cable de extensión, enchufe el cargador en un cable de extensión de calibre 16 o más grande correctamente cableado con el enchufe hembra que coincida con el enchufe macho del cargador. Asegúrese de que el cable de extensión esté en buenas condiciones eléctricas.
- El cargador 24VCHRG-AC está clasificado solo para 100 a 240 voltios de CA: el cargador debe enchufarse a un receptáculo apropiado.
- Utilice únicamente los accesorios recomendados: el uso de un accesorio no recomendado o vendido por el fabricante del cargador de batería o de la batería puede provocar riesgo de incendio, descarga eléctrica o lesiones personales.
- Desenchufe el cargador cuando no esté en uso: asegúrese de quitar las baterías de los cargadores desenchufados.
Para reducir el riesgo de descarga eléctrica, siempre desenchufe el cargador antes de realizar cualquier limpieza o mantenimiento. No permita que entre agua en el cargador. Utilice un interruptor de circuito por falla a tierra (GFCI) para reducir los riesgos de descarga. - No queme ni incinere las baterías: las baterías pueden explotar, causando lesiones personales o daños. Se crean humos y materiales tóxicos cuando se queman las baterías.
- No aplaste, deje caer ni dañe las baterías: no utilice la batería o el cargador si han sufrido un golpe fuerte, se han caído, se han atropellado o se han dañado de alguna manera (es decir, perforado con un clavo, golpeado con un martillo, pisado, etc.).
- No desmonte: el reensamblaje incorrecto puede suponer un grave riesgo de descarga eléctrica, incendio o exposición a productos químicos tóxicos de la batería. Si la batería o el cargador están dañados, póngase en contacto con un distribuidor autorizado de Snow Joe® + Sun Joe® o llame al centro de atención al cliente de Snow Joe® + Sun Joe® al 1-866-SNOWJOE (1-866-766-9563).
- Los productos químicos de la batería causan quemaduras graves: nunca permita que una batería dañada entre en contacto con la piel, los ojos o la boca. Si una batería dañada tiene fugas de productos químicos, utilice guantes de goma o neopreno para desecharla de forma segura. Si la piel está expuesta a los fluidos de la batería, lave el área afectada con agua y jabón y enjuague con vinagre. Si los ojos están expuestos a los productos químicos de la batería, enjuague inmediatamente con agua durante 20 minutos y busque atención médica. Retire y deseche la ropa contaminada.
- No cortocircuite: cuando la batería no esté en uso, manténgala alejada de otros objetos metálicos, como clips, monedas, llaves, clavos, tornillos u otros objetos metálicos pequeños, que puedan hacer una conexión de un terminal a otro. Cortocircuitar los terminales de la batería puede causar quemaduras o un incendio.
- Guarde la batería y el cargador en un lugar fresco y seco: no guarde la batería o el cargador donde las temperaturas puedan superar los 105 °F (40,5 °C), como a la luz solar directa o dentro de un vehículo o edificio de metal durante el verano.
Información sobre la batería
- La batería suministrada con su soplador a reacción inalámbrico está solo parcialmente cargada. La batería debe cargarse por completo antes de utilizar la herramienta por primera vez.
- Para un rendimiento óptimo de la batería, evite los ciclos de descarga baja cargando la batería con frecuencia.
- Guarde la batería en un lugar fresco, idealmente a 77 °F (25 °C) y cargada al menos al 40 %.
- Las baterías de iones de litio están sujetas a un proceso de envejecimiento natural. La batería debe reemplazarse a más tardar cuando su capacidad se reduzca a solo el 80 % de su capacidad cuando es nueva. Las celdas debilitadas en una batería envejecida ya no pueden cumplir con los altos requisitos de energía necesarios para el funcionamiento adecuado de su soplador a reacción y, por lo tanto, representan un riesgo para la seguridad.
- No arroje las baterías al fuego, ya que esto representa un riesgo de explosión.
- No encienda la batería ni la exponga al fuego.
- No descargue las baterías por completo. La descarga exhaustiva dañará las celdas de la batería. La causa más común de descarga exhaustiva es el almacenamiento prolongado o la falta de uso de baterías parcialmente descargadas. Deje de trabajar tan pronto como el rendimiento de la batería disminuya notablemente o se active el sistema de protección electrónica. Guarde la batería solo después de que se haya cargado por completo.
- Proteja las baterías y la herramienta de sobrecargas. Las sobrecargas provocarán rápidamente el sobrecalentamiento y el daño de las celdas dentro de la carcasa de la batería, incluso si este sobrecalentamiento no es evidente externamente.
- Evite daños y golpes. Reemplace inmediatamente las baterías que se hayan caído desde una altura de más de un metro o las que hayan estado expuestas a golpes violentos, incluso si la carcasa de la batería parece no estar dañada. Las celdas de la batería en el interior pueden haber sufrido daños graves. En tales casos, lea la información sobre la eliminación de residuos para desechar la batería correctamente.
- Si la batería sufre sobrecarga y sobrecalentamiento, el corte de protección integrado apagará el equipo por razones de seguridad.
No presione más el interruptor de encendido/apagado si se ha activado el corte de protección. Esto puede dañar la batería. - Recargue solo con el cargador especificado por el fabricante. Un cargador que sea adecuado para un tipo de batería puede crear un riesgo de incendio cuando se utiliza con otra batería.
- Utilice los aparatos solo con las baterías específicamente designadas. El uso de cualquier otra batería puede crear un riesgo de lesiones e incendio.
- En condiciones abusivas, se puede expulsar líquido de la batería; evite el contacto. Si el contacto ocurre accidentalmente, enjuague con agua. Si el líquido entra en contacto con los ojos, busque ayuda médica adicional. El líquido expulsado de la batería puede causar irritación o quemaduras. (Este consejo se considera correcto para los tipos de celdas convencionales de NiMh, NiCd, plomo-ácido y de iones de litio. Si este consejo es incorrecto para un diseño de celda que difiere de estos, entonces se puede sustituir el consejo correcto).
- No utilice una batería o un aparato que esté dañado o modificado. Las baterías dañadas o modificadas pueden exhibir un comportamiento impredecible que resulte en incendio, explosión o riesgo de lesiones.
- No exponga una batería o un aparato al fuego o a una temperatura excesiva. La exposición al fuego o a una temperatura superior a 266 °F (130 °C) puede provocar una explosión.
- Siga todas las instrucciones de carga y no cargue la batería o el aparato fuera del rango de temperatura especificado en las instrucciones. La carga incorrecta o a temperaturas fuera del rango especificado puede dañar la batería y aumentar el riesgo de incendio.
Información sobre el cargador y el proceso de carga
- Compruebe los datos marcados en la placa de características del cargador de batería. Asegúrese de conectar el cargador de batería a una fuente de alimentación con el voltaje marcado en la placa de características. Nunca lo conecte a un voltaje de red diferente.
- Proteja el cargador de batería y su cable de daños. Mantenga el cargador y su cable alejados del calor, el aceite y los bordes afilados. Haga que un técnico cualificado repare los cables dañados sin demora en un distribuidor autorizado de Snow Joe® + Sun Joe® o llame al centro de atención al cliente de Snow Joe® + Sun Joe® al 1-866-SNOWJOE (1-866-766-9563).
- Los enchufes eléctricos deben coincidir con el tomacorriente. Nunca modifique el enchufe de ninguna manera. No utilice ningún enchufe adaptador con aparatos conectados a tierra. Los enchufes no modificados y los tomacorrientes correspondientes reducirán el riesgo de descarga eléctrica.
- Mantenga el cargador de batería, la(s) batería(s) y la herramienta inalámbrica fuera del alcance de los niños.
- No utilice el cargador de batería suministrado para cargar otras herramientas inalámbricas.
- Durante los períodos de uso intenso, la batería se calentará. Deje que la batería se enfríe a temperatura ambiente antes de insertarla en el cargador para recargarla.
- No sobrecargue las baterías. No exceda los tiempos máximos de carga. Estos tiempos de carga solo se aplican a las baterías descargadas. La inserción frecuente de una batería cargada o parcialmente cargada provocará una sobrecarga y daños en las celdas. No deje las baterías en el cargador durante días y días.
- Nunca utilice ni cargue las baterías si sospecha que han pasado más de 12 meses desde la última vez que se cargaron. Existe una alta probabilidad de que la batería ya haya sufrido daños peligrosos (descarga exhaustiva).
- Cargar las baterías a una temperatura inferior a 41 °F (5 °C) causará daños químicos a las celdas y puede provocar un incendio.
- No utilice baterías que hayan estado expuestas al calor durante el proceso de carga, ya que las celdas de la batería pueden haber sufrido daños peligrosos.
- No utilice baterías que hayan sufrido curvatura o deformación durante el proceso de carga o aquellas que exhiban otros síntomas atípicos (gases, silbidos, grietas, etc.).
- Nunca descargue completamente la batería (la profundidad máxima de descarga recomendada es del 80 %). Una descarga completa de la batería provocará un envejecimiento prematuro de las celdas de la batería.
Protección contra las influencias ambientales
- Use ropa de trabajo adecuada. Use gafas de seguridad.
- Proteja su herramienta inalámbrica y el cargador de batería de la humedad y la lluvia. La humedad y la lluvia pueden causar daños peligrosos a las celdas.
- No utilice la herramienta inalámbrica o el cargador de batería cerca de vapores y líquidos inflamables.
- Utilice el cargador de batería y las herramientas inalámbricas solo en condiciones secas y a una temperatura ambiente de 41 °F a 105 °F (5 °C a 40,5 °C).
- No guarde el cargador de batería en lugares donde la temperatura pueda alcanzar más de 105 °F (40,5 °C). En particular, no deje el cargador de batería en un automóvil estacionado al sol.
- Proteja las baterías del sobrecalentamiento. Las sobrecargas, la sobrecarga y la exposición a la luz solar directa provocarán el sobrecalentamiento y el daño de las celdas. Nunca cargue ni trabaje con baterías que se hayan sobrecalentado; reemplácelas inmediatamente, si es posible.
- Guarde el cargador y su herramienta inalámbrica solo en lugares secos con una temperatura ambiente de 41 °F a 105 °F (5 °C a 40,5 °C). Guarde su batería de iones de litio en un lugar fresco y seco a una temperatura de 77 °F (25 °C). Proteja la batería, el cargador y la herramienta inalámbrica de la humedad y la luz solar directa. Solo coloque las baterías completamente cargadas en el almacenamiento (cargadas al menos al 40 %).
- Evite que la batería de iones de litio se congele. Las baterías que se almacenaron por debajo de 32 °F (0 °C) durante más de 60 minutos deben desecharse.
- Al manipular las baterías, tenga cuidado con la carga electrostática. Las descargas electrostáticas pueden dañar el sistema de protección electrónica y las celdas de la batería. Evite la carga electrostática y nunca toque los polos de la batería.
Símbolos de seguridad
La siguiente tabla muestra y describe los símbolos de seguridad que pueden aparecer en este producto. Lea, comprenda y siga todas las instrucciones de la máquina antes de intentar montarla y operarla.
| Símbolos | Descripciones | ||
| LEA EL MANUAL DEL OPERADOR – Lea, comprenda y siga todas las instrucciones del manual del usuario antes de intentar montar y operar. | ||
| | ALERTA DE SEGURIDAD – Indica una precaución, una advertencia o un peligro. | ||
| Tenga cuidado con los objetos voladores y los escombros. | ||
| Las cuchillas giratorias representan un grave riesgo de lesiones. Mantenga las manos y los pies alejados de las aberturas mientras la máquina está en funcionamiento. | ||
| Retire inmediatamente el enchufe de la red eléctrica si el cable de alimentación está dañado, deshilachado o enredado. Mantenga siempre el cable de alimentación alejado del calor, el aceite y los bordes afilados. | ||
| DOBLE AISLAMIENTO – Al realizar el mantenimiento, utilice únicamente piezas de repuesto idénticas. | ||
| Mantenga a los transeúntes y a los niños a una distancia segura. | ||
| No exponga la unidad a la lluvia ni a condiciones de humedad. | ||
| Utilice protección auditiva. Utilice protección ocular. Utilice protección respiratoria. | ||
| La pieza giratoria seguirá funcionando continuamente durante varios segundos después de apagar la máquina. | ||
| Apague la máquina y desconéctela de la fuente de alimentación antes de inspeccionar, limpiar, cambiar accesorios o realizar cualquier otra tarea de mantenimiento. | ||
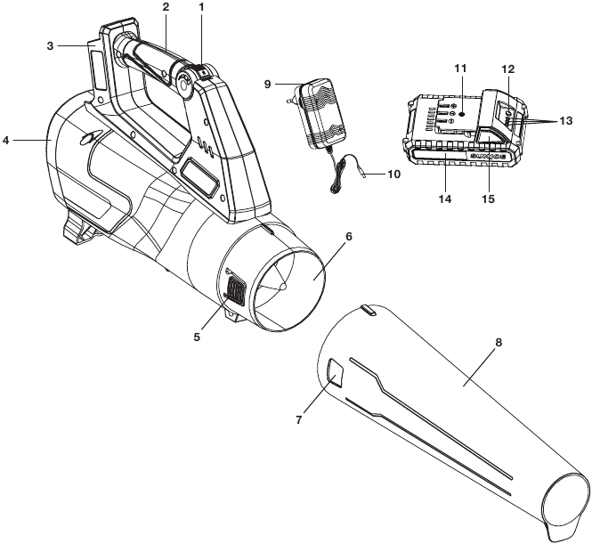
Conozca su soplador de chorro inalámbrico
Lea atentamente el manual del propietario y las instrucciones de seguridad antes de utilizar el soplador de chorro inalámbrico. Compare la ilustración siguiente con el soplador de chorro inalámbrico para familiarizarse con la ubicación de los distintos controles y ajustes. Guarde este manual para futuras consultas.

- Interruptor de encendido/apagado (ON/OFF switch) con velocidad variable
- Mango
- Compartimento de la batería
- Entrada de aire
- Pestaña de bloqueo del tubo del soplador
- Salida de la carcasa del soplador
- Ranura
- Tubo del soplador
- Cargador de iones de litio iON+ de 24 V (24VCHRG-AC)
- Enchufe del cargador
- Toma de carga
- Botón pulsador para el indicador de batería
- Indicadores de batería
- Batería de iones de litio iON+ de 24 V (24VBAT-LTE) con tecnología exclusiva EcoSharp®
- Botón de bloqueo pulsador
Datos técnicos
Voltaje máximo de la batería*: 24 V CC
Capacidad de la batería: 2.0 Ah
Entrada del cargador: 100 – 240 V CA, 50 – 60 Hz, 50 W
Salida del cargador: 25.2V DC
1400 mA
Tiempo máximo de carga: 80 min
Motor: 430 W
Velocidad máxima del aire: 100 mph
Flujo de aire máximo: 350 cfm
Ajustes de velocidad: 5 velocidades variables (hasta 100 mph)
Peso neto: 6.4 lbs (2.9 kg)
*Voltaje inicial sin carga, cuando está completamente cargada, alcanza un máximo de 24 voltios; el voltaje nominal bajo carga típica es de 21.6 voltios.
Desembalaje
Contenido de la caja
- Cuerpo del soplador de chorro inalámbrico
- Tubo del soplador
- Batería de iones de litio iON+ de 24 V
- Cargador de iones de litio iON+ de 24 V
- Manual con tarjeta de registro
- Retire con cuidado el soplador de chorro inalámbrico y compruebe que se suministran todos los elementos anteriores.
- Inspeccione cuidadosamente el producto para asegurarse de que no se hayan producido roturas o daños durante el envío. Si encuentra piezas dañadas o faltantes, NO devuelva la unidad a la tienda. Llame al centro de atención al cliente de Snow Joe® + Sun Joe® al 1-866-SNOWJOE (1-866-766-9563).
NOTA: No deseche la caja de envío ni el material de embalaje hasta que esté listo para usar el soplador de chorro inalámbrico. El embalaje está hecho de materiales reciclables. Deseche estos materiales correctamente de acuerdo con las regulaciones locales.
El equipo y el material de embalaje no son juguetes. No permita que los niños jueguen con bolsas de plástico, láminas o piezas pequeñas. ¡Estos artículos pueden tragarse y suponen un riesgo de asfixia!
Funcionamiento del paquete de baterías
El equipo funciona con una batería de iones de litio. El paquete de baterías está completamente sellado y no requiere mantenimiento.
Indicador del nivel de carga de la batería
El paquete de baterías está equipado con un botón pulsador para comprobar el nivel de carga. Simplemente pulse el botón pulsador para leer el nivel de carga de la batería en los LED del indicador de batería:
- Los 3 LED de control de nivel están encendidos: El nivel de carga de la batería es alto.
- 2 LED de control de nivel están encendidos: El nivel de carga de la batería está disminuyendo. Deje de trabajar lo antes posible.
- 1 LED de control de nivel está encendido: La batería está descargada. Deje de trabajar INMEDIATAMENTE y cargue la batería. De lo contrario, la vida útil de la batería se reducirá considerablemente.

NOTA: Si el botón del nivel de carga no parece funcionar, inserte el cargador y cárguelo según sea necesario.
NOTA: Inmediatamente después de usar el paquete de baterías, el botón del nivel de carga puede mostrar una carga más baja de la que mostrará si se comprueba unos minutos más tarde. Las celdas de la batería "recuperan" parte de su carga después de descansar.
Funcionamiento del cargador
Cargue únicamente los paquetes de baterías de iones de litio Sun Joe® de 24 V con su cargador rápido de iones de litio Sun Joe® de 24 V compatible. Otros tipos de baterías pueden causar lesiones personales y daños.
Para reducir el riesgo de descarga eléctrica, no permita que entre agua en el enchufe de CA/CC del cargador.
Cuándo cargar la batería de iones de litio iON+ 24VBAT-LTE
NOTA: Los paquetes de baterías de iones de litio iON+ 24VBAT-LTE no desarrollan una "memoria" cuando se cargan después de una descarga solo parcial. Por lo tanto, no es necesario agotar el paquete de baterías antes de insertar el enchufe del cargador.
- Utilice las luces indicadoras de la batería para determinar cuándo cargar su paquete de baterías de iones de litio iON+ 24VBAT-LTE.
- Puede "recargar" la carga de su paquete de baterías antes de comenzar un trabajo grande o después de un largo día de uso.
Carga de la batería
- Pulse el botón de bloqueo pulsador de la batería para extraer el paquete de baterías del equipo (Fig. 1).
![SunJoe - 24V-JB-LTE - Carga de la batería - Paso 1 Carga de la batería - Paso 1]()
- Compruebe que el voltaje de la red eléctrica sea el mismo que el que figura en la placa de características del cargador de batería. A continuación, enchufe el adaptador del cargador en una toma de corriente alterna adecuada. Conecte el enchufe del cargador a la toma de carga de la batería para iniciar la carga (Fig. 2).
![SunJoe - 24V-JB-LTE - Carga de la batería - Paso 2 Carga de la batería - Paso 2]()
- La batería tardará aproximadamente 80 minutos en cargarse. Los LED indicadores de la batería parpadearán y se iluminarán uno por uno durante el proceso de carga. Desenchufe el cargador inmediatamente cuando los 3 LED estén todos iluminados.
PELIGRO DE INCENDIO. Al desconectar el cargador de la batería, asegúrese de desenchufar primero el cargador de la toma de corriente y, a continuación, desconecte el cargador de la batería.
Este cargador no se apaga automáticamente cuando la batería está completamente cargada. Tenga cuidado de no dejar la batería enchufada al cargador. Apague o desenchufe el cargador de la red eléctrica cuando la carga esté completa. - La recarga oportuna de la batería ayudará a prolongar su vida útil. Debe recargar el paquete de baterías cuando observe una caída en la potencia del equipo.
Nunca permita que el paquete de baterías se descargue por completo, ya que esto causará daños irreversibles a la batería.
Montaje
Para evitar lesiones personales graves, lea y comprenda todas las instrucciones de seguridad proporcionadas.
No inserte la batería hasta que el montaje esté completo. El incumplimiento podría provocar un arranque accidental y posibles lesiones personales graves.
Antes de realizar cualquier mantenimiento, asegúrese de que la batería esté retirada. El incumplimiento de esta advertencia podría provocar lesiones personales graves.
Para evitar lesiones personales graves, asegúrese de que el interruptor esté en la posición de APAGADO (OFF) (0), que la batería esté retirada y que el impulsor se haya detenido por completo antes de colocar el tubo.
Colocación del tubo del soplador de chorro
- Deslice el tubo del soplador hacia delante hasta que la pestaña de bloqueo del tubo en la carcasa del soplador encaje en la ranura del tubo del soplador (Fig. 3).
Para evitar el riesgo de lesiones, no se recomienda desmontar el tubo del soplador.
Funcionamiento
Arranque y parada
Arrancar, parar y reiniciar un motor de CC repetidamente en pocos segundos puede generar una gran cantidad de calor y dañar el motor. Para proteger la vida útil de su soplador de chorro inalámbrico, siempre espere al menos cinco segundos después de detenerlo antes de reiniciar el soplador de chorro.
- Inserte la batería en el compartimento de la batería (Fig. 4).
![SunJoe - 24V-JB-LTE - Arranque y parada - Paso 1 Arranque y parada - Paso 1]()
- Para arrancar el soplador de chorro inalámbrico, deslice el interruptor de ON/OFF (encendido/apagado) hasta que alcance la velocidad deseada (Fig. 5).
![SunJoe - 24V-JB-LTE - Arranque y parada - Paso 2 Arranque y parada - Paso 2]()
- Esta unidad está equipada con 5 ajustes de velocidad variable. La posición "5" es el ajuste máximo que sopla hasta 160 km/h (Fig. 6).
![SunJoe - 24V-JB-LTE - Arranque y parada - Paso 3 Arranque y parada - Paso 3]()
- Para apagar la herramienta, deslice el interruptor de ON/OFF (encendido/apagado) a "0" (Fig. 7).
Consejos de funcionamiento
Utilice el soplador de chorro inalámbrico solo a la luz del día o con buena luz artificial.
- Cuando utilice el soplador de chorro inalámbrico, plante los pies firmemente en el suelo y coloque la mano dominante en el mango de la unidad para controlarla. Use su otra mano para estabilizar la unidad según sea necesario.
- Use equipo de protección personal durante su sesión de trabajo. Esto incluye botas, gafas de seguridad/antiparras, protectores auditivos, pantalones largos y una camisa de manga larga.
- Asegúrese de que la boquilla del tubo del soplador de chorro no esté dirigida a nadie ni a ningún residuo suelto antes de arrancar la unidad.
- Verifique que la unidad esté en buenas condiciones de funcionamiento. Asegúrese de que los tubos y las protecciones estén en su lugar y seguros.
- Mantenga un agarre firme en el mango de la unidad mientras esté en uso.
- Para reducir el riesgo de pérdida de audición asociada con el aumento de los niveles de sonido, se requiere protección auditiva.
- Opere el equipo eléctrico solo en horas razonables, no temprano en la mañana o tarde en la noche cuando las personas puedan ser molestadas. Cumpla con los horarios que figuran en las ordenanzas locales. Las recomendaciones habituales son de 9:00 a. m. a 5:00 p. m., de lunes a sábado.
- Para reducir los niveles de ruido, limite la cantidad de equipos eléctricos que se utilizan al mismo tiempo y opere los sopladores eléctricos a la velocidad más baja posible necesaria para hacer el trabajo.
- Use rastrillos y escobas para aflojar los residuos antes de soplar.
- En condiciones de polvo, humedezca ligeramente las superficies.
- Conserve agua utilizando sopladores eléctricos en lugar de mangueras para muchas aplicaciones de césped y jardín, incluidas áreas como canaletas, pantallas, patios, parrillas, porches y jardines.
- Sople los residuos en un área segura y abierta lejos de niños, mascotas, ventanas abiertas o automóviles recién lavados.
- Limpie después de usar sopladores de hojas y otros equipos de jardinería. Deseche los residuos de forma adecuada.
Para evitar lesiones personales graves, use protectores auditivos, gafas protectoras o gafas de seguridad en todo momento cuando opere esta unidad. Use una mascarilla o máscara contra el polvo en lugares polvorientos.
Para evitar lesiones personales graves o daños a la unidad, asegúrese de que el tubo del soplador esté en su lugar antes de operar la unidad.
Ventilaciones de aire
Nunca cubra las ventilaciones de aire. Manténgalas libres de obstrucciones y residuos. Siempre deben permanecer despejadas para una refrigeración adecuada del motor.
Para evitar lesiones personales graves, no use ropa holgada o artículos como bufandas, cuerdas, cadenas, corbatas, etc., que puedan ser arrastrados hacia las ventilaciones de aire. Para asegurarse de que el cabello largo no sea arrastrado hacia las ventilaciones de aire, recoja el cabello largo.
Funcionamiento del soplado
- Sostenga el soplador de chorro firmemente con su mano dominante en el mango de la unidad. Barra de lado a lado con la boquilla a varios centímetros por encima del suelo o piso (Fig. 8).
![SunJoe - 24V-JB-LTE - Funcionamiento del soplado Funcionamiento del soplado]()
- Avance lentamente la unidad, manteniendo la pila acumulada de residuos frente a usted.
Mantenimiento
Siempre use guantes protectores durante las operaciones de mantenimiento. No realice el mantenimiento cuando el motor esté en marcha o caliente.
Use solo piezas de repuesto, accesorios y aditamentos originales del fabricante. No hacerlo puede causar posibles lesiones y un rendimiento deficiente.
Para pedir piezas de repuesto o accesorios originales para el soplador de chorro inalámbrico Sun Joe® iON+ 24V-JB-LTE, visite sunjoe.com o póngase en contacto con el centro de atención al cliente de Snow Joe® + Sun Joe® al 1-866-SNOWJOE (1-866-766-9563).
Retire la batería antes de realizar cualquier tarea de mantenimiento.
Si la batería está conectada a la unidad, alguien podría encender accidentalmente la unidad mientras la está inspeccionando, lo que podría provocar lesiones personales graves.
- Guarde la herramienta, el manual de instrucciones y los accesorios en un lugar seguro y seco. De esta manera, siempre tendrá la información a mano.
- Mantenga las ventilaciones de aire de la herramienta destapadas y limpias en todo momento.
- Quite el polvo y la suciedad con regularidad. La limpieza se realiza mejor con un trapo o cepillo.
- Nunca use agentes cáusticos para limpiar las piezas de plástico.
No use agentes de limpieza para limpiar las piezas de plástico de la herramienta. Se recomienda un detergente suave sobre un paño húmedo. El agua nunca debe entrar en contacto con la herramienta.
Almacenamiento
- Examine minuciosamente el soplador de chorro inalámbrico en busca de piezas desgastadas, sueltas o dañadas. Si necesita reparar o reemplazar una pieza, póngase en contacto con un distribuidor autorizado de Snow Joe® + Sun Joe® o llame al centro de atención al cliente de Snow Joe® + Sun Joe® al 1-866-SNOWJOE (1-866-766-9563) para obtener ayuda.
- Retire la batería del soplador de chorro inalámbrico antes de guardarlo.
- Guarde el soplador de chorro en un lugar seco y bien ventilado que sea inaccesible para los niños. Manténgalo alejado de agentes corrosivos.
Precaución de la batería + Eliminación
Siempre deseche su paquete de baterías de acuerdo con las regulaciones federales, estatales y locales. Póngase en contacto con una agencia de reciclaje en su área para conocer los lugares de reciclaje.
Incluso los paquetes de baterías descargadas contienen algo de energía. Antes de desecharlo, use cinta aislante para cubrir los terminales para evitar que el paquete de baterías se cortocircuite, lo que podría provocar un incendio o una explosión.
Para reducir el riesgo de lesiones o explosión, nunca queme ni incinere un paquete de baterías, incluso si está dañado, agotado o completamente descargado. Cuando se queman, se emiten humos y materiales tóxicos a la atmósfera circundante.
- Las baterías varían según el dispositivo. Consulte su manual para obtener información específica.
- Instale solo baterías nuevas del mismo tipo en su producto (donde corresponda).
- No insertar las baterías con la polaridad correcta, como se indica en el compartimento de las baterías o en el manual, puede acortar la vida útil de las baterías o provocar fugas en las baterías.
- No mezcle baterías viejas y nuevas.
- No mezcle baterías alcalinas, estándar (carbono-zinc) o recargables (níquel cadmio, níquel metal hidruro o iones de litio).
- No deseche las baterías en el fuego.
- Las baterías deben reciclarse o desecharse según las pautas estatales y locales.
Servicio y soporte
Si su soplador de chorro inalámbrico Sun Joe® iON+ 24V-JB-LTE requiere servicio o mantenimiento, llame al 1-866-SNOWJOE (1-866-766-9563) para obtener ayuda.
Modelo y números de serie
Cuando se ponga en contacto con la empresa, vuelva a pedir piezas o solicite el servicio de un distribuidor autorizado, deberá proporcionar el modelo y los números de serie, que se pueden encontrar en la calcomanía ubicada en la carcasa de la unidad. Copie estos números en el espacio provisto a continuación.

Referencias
Descargar manual
Aquí puedes descargar la versión completa en pdf del manual, puede contener instrucciones de seguridad adicionales, información de garantía, reglas de la FCC, etc.
Descargar SunJoe 24V-JB-LTE - Manual del soplador de turbina Jet inalámbrico





