VTech VM5463 priručnik
- 1 Važne sigurnosne upute
- 2 Što je u kutiji
- 3 Spojite monitor za bebu
- 4 Uključivanje ili isključivanje monitora za bebu
- 5 Postavljanje monitora za bebu
- 6 Provjera statusa
- 7 Pregled - Dječja jedinica
- 8 Pregled - Roditeljska jedinica
- 9 Osnovni rad - Roditeljska jedinica
- 10 Ikone glavne jedinice
- 11 Svjetlo projekcije
- 12 Osjetljivost na zvuk i aktivacija zvukom
- 13 Noćni vid
- 14 Način rada prigušivanja
- 15 Montirajte dječju jedinicu na suhozid (opcionalno)
- 16 Opća njega proizvoda
- 17 Pohrana
- 18 Nadzor odraslih
- 19 Tehničke specifikacije
- 20 Preuzmi priručnik
- 21 Na drugim jezicima
Važne sigurnosne upute
Primijenjena natpisna pločica nalazi se na dnu baze dječje jedinice.
Kada koristite svoju opremu, uvijek se trebate pridržavati osnovnih sigurnosnih mjera opreza kako biste smanjili rizik od požara, električnog udara i ozljeda, uključujući sljedeće:
- Slijedite sva upozorenja i upute označene na proizvodu.
- Potrebno je postavljanje od strane odrasle osobe.
Ne postavljajte dječju jedinicu na visinu iznad 2 metra.- Ovaj je proizvod namijenjen kao pomoć. Nije zamjena za odgovoran i primjeren nadzor odrasle osobe i ne smije se koristiti kao takav.
- Ovaj proizvod nije namijenjen za uporabu kao medicinski monitor.
- Ne koristite ovaj proizvod u blizini vode. Na primjer, nemojte ga koristiti pored kade, umivaonika, sudopera, kade za pranje rublja ili bazena, ili u mokrom podrumu ili tušu.
Koristite samo isporučenu bateriju. Može postojati opasnost od eksplozije ako se za roditeljsku jedinicu koristi pogrešna vrsta baterije. Baterija ne smije biti izložena visokim ili niskim ekstremnim temperaturama i niskom tlaku zraka na velikoj nadmorskoj visini tijekom uporabe, skladištenja ili transporta. Bacanje baterije u vatru ili vruću pećnicu, ili mehaničko drobljenje ili rezanje ili baterije može dovesti do eksplozije. Ostavljanje baterije u okruženju s iznimno visokom temperaturom može dovesti do eksplozije ili curenja zapaljive tekućine ili plina. Baterija izložena iznimno niskom tlaku zraka može dovesti do eksplozije ili curenja zapaljive tekućine ili plina. Bacite iskorištenu bateriju prema uputama.- Koristite samo adaptere isporučene s ovim proizvodom. Neispravan polaritet ili napon adaptera može ozbiljno oštetiti proizvod.
Informacije o adapteru za napajanje:
Izlaz roditeljske jedinice: 5V DC 1A
VTech Telecommunications Ltd.
Model: VT05EEU05100
Izlaz dječje jedinice: 5V DC 1A.
VTech Telecommunications Ltd.
Model: VT05EEU05100
Informacije o punjivoj bateriji: Li-ion baterija, 3.8V 2100mAh
Zhongshan Tianmao Battery Co., Ltd.
Broj modela: BP1763
- Adapter za napajanje namijenjen je pravilnoj orijentaciji u okomitom ili podnom položaju. Zupci nisu dizajnirani za držanje utikača na mjestu ako je priključen u stropnu utičnicu, utičnicu ispod stola ili ormarića.
- Za opremu koja se može priključiti, utičnica (adapter za napajanje) mora biti instalirana u blizini opreme i mora biti lako dostupna.
- Isključite ovaj proizvod iz zidne utičnice prije čišćenja. Nemojte koristiti tekuća ili aerosolna sredstva za čišćenje. Za čišćenje koristite vlažnu krpu.
- Nemojte rezati adaptere za napajanje kako biste ih zamijenili drugim utikačima jer to uzrokuje opasnu situaciju.
- Ne dopustite da bilo što leži na kabelima za napajanje. Ne postavljajte ovaj proizvod na mjesto gdje se po kabelima može hodati ili gdje se mogu prignječiti.
- Ovaj proizvod treba raditi samo s vrstom izvora napajanja navedenom na naljepnici s oznakama. Ako niste sigurni koju vrstu napajanja imate u svom domu, obratite se svom prodavaču ili lokalnoj elektroenergetskoj tvrtki.
- Nemojte preopterećivati zidne utičnice ili koristiti produžni kabel.
- Ne postavljajte ovaj proizvod na nestabilan stol, policu, stalak ili druge nestabilne površine.
- Ovaj proizvod ne smije se postavljati u područje gdje nije osigurana odgovarajuća ventilacija. Utori i otvori na stražnjoj ili donjoj strani ovog proizvoda osigurani su za ventilaciju. Kako biste ih zaštitili od pregrijavanja, ti otvori ne smiju biti blokirani postavljanjem proizvoda na meku površinu kao što je krevet, kauč ili tepih. Ovaj proizvod nikada ne smije biti postavljen u blizini radijatora ili grijača.
- Nikada ne gurajte predmete bilo koje vrste u ovaj proizvod kroz utore jer mogu dodirnuti opasne naponske točke ili stvoriti kratki spoj. Nikada ne prolijevajte tekućinu bilo koje vrste po proizvodu.
- Kako biste smanjili rizik od električnog udara, nemojte rastavljati ovaj proizvod, već ga odnesite u ovlašteni servisni centar. Otvaranje ili uklanjanje dijelova proizvoda koji nisu navedeni kao pristupna vrata može vas izložiti opasnim naponima ili drugim rizicima. Neispravno ponovno sastavljanje može uzrokovati električni udar kada se proizvod naknadno koristi.
- Trebali biste testirati prijem zvuka svaki put kada uključite jedinice ili premjestite jednu od komponenti.
- Povremeno pregledajte sve komponente radi oštećenja.
- Postoji vrlo mali rizik od gubitka privatnosti pri korištenju određenih elektroničkih uređaja, kao što su monitori za bebe, bežični telefoni itd.Kako biste zaštitili svoju privatnost, provjerite je li proizvod već korišten prije kupnje, povremeno resetirajte monitor za bebe isključivanjem i ponovnim uključivanjem jedinica, te isključite monitor za bebe ako ga nećete koristiti neko vrijeme.
- Djeca bi trebala biti pod nadzorom kako bi se osiguralo da se ne igraju s proizvodom.
- Proizvod nije namijenjen za uporabu od strane osoba (uključujući djecu) sa smanjenim fizičkim, osjetilnim ili mentalnim sposobnostima, ili nedostatkom iskustva i znanja, osim ako im je osoba odgovorna za njihovu sigurnost dala nadzor ili upute o uporabi uređaja.
SAČUVAJTE OVE UPUTE
- Koristite i pohranjujte proizvod na temperaturi između 0oC i 40 C.
- Opasnost od opeklina, opasnost od požara, opasnost od eksplozije povezana s nepravilnim rukovanjem baterijom.
- Ne izlažite proizvod ekstremnoj hladnoći, vrućini ili izravnoj sunčevoj svjetlosti. Ne stavljajte proizvod blizu izvora topline.
Opasnost od gušenja—Djeca su se UGUŠILA u kablovima. Držite ovaj kabel izvan dohvata djece (više od 0,9 m). Nemojte uklanjati ovu oznaku.
![]()
- Nikada ne stavljajte jedinicu(e) kamere unutar dječjeg krevetića ili ogradice za igru. Nikada ne prekrivajte jedinicu(e) kamere ili roditeljsku jedinicu ničime poput ručnika ili deke.
- Drugi elektronički proizvodi mogu uzrokovati smetnje u radu vaše jedinice kamere. Pokušajte instalirati svoju jedinicu kamere što je dalje moguće od ovih elektroničkih uređaja: bežičnih usmjerivača, radija, mobilnih telefona, interfona, monitora za sobu, televizora, osobnih računala, kuhinjskih uređaja i bežičnih telefona.
Mjere opreza za korisnike ugrađenih srčanih elektrostimulatora
Srčani elektrostimulatori (primjenjivo samo na digitalne bežične uređaje): Wireless Technology Research, LLC (WTR), neovisna istraživačka jedinica, provela je multidisciplinarnu procjenu smetnji između prijenosnih bežičnih uređaja i ugrađenih srčanih elektrostimulatora. Uz potporu američke Agencije za hranu i lijekove, WTR preporučuje liječnicima da:
Pacijenti s elektrostimulatorom
- Držite bežične uređaje najmanje 15 cm od elektrostimulatora.
- NE stavljajte bežične uređaje izravno iznad elektrostimulatora, na primjer u džep na prsima, kada je uključen.
Procjena WTR-a nije utvrdila nikakav rizik za promatrače s elektrostimulatorima od drugih osoba koje koriste bežične uređaje.
Elektromagnetska polja (EMF)
Ovaj VTech proizvod usklađen je sa svim standardima koji se odnose na elektromagnetska polja (EMF). Ako se njime rukuje pravilno i prema uputama u ovom korisničkom priručniku, proizvod je siguran za korištenje na temelju danas dostupnih znanstvenih dokaza.
Što je u kutiji

Spojite monitor za bebu
NAPOMENE
- Punjiva baterija u roditeljskoj jedinici je ugrađena.
- Koristite samo adaptere za napajanje isporučene s ovim proizvodom.
- Provjerite nije li monitor za bebu spojen na električnu utičnicu kojom upravlja prekidač.
- Spojite adaptere za napajanje samo u okomitom ili podnom položaju. Zupci adaptera nisu dizajnirani za držanje težine monitora za bebu, stoga ih nemojte spajati na stropove, ispod stola ili utičnice u ormariću. U suprotnom, adapteri se možda neće pravilno spojiti na utičnice.
- Provjerite jesu li roditeljska jedinica, dječja jedinica i kablovi adaptera za napajanje izvan dohvata djece.

Uključivanje ili isključivanje monitora za bebu
- Pomaknite prekidač za uključivanje ili isključivanje dječje jedinice.
![VTech - VM5463 - Uključivanje ili isključivanje monitora za bebu - Korak 1 Uključivanje ili isključivanje monitora za bebu - Korak 1]()
- Pritisnite i držite
za uključivanje ili isključivanje roditeljske jedinice.
![VTech - VM5463 - Uključivanje ili isključivanje monitora za bebu - Korak 2 Uključivanje ili isključivanje monitora za bebu - Korak 2]()
Postavljanje monitora za bebu

NAPOMENA
- Kako biste izbjegli smetnje od drugih elektroničkih uređaja, postavite monitor za bebu najmanje 1 metar (3 stope) od uređaja kao što su bežični usmjerivači, mikrovalne pećnice, mobilni telefoni i računala.
- Zadana glasnoća roditeljske jedinice je razina 4, a maksimalna glasnoća je razina 7. Ako osjetite buku povratne sprege iz monitora za bebu tijekom postavljanja:
- Provjerite jesu li dječja jedinica i roditeljska jedinica udaljene više od 1 metra (3 stope), ILI
- Smanjite glasnoću roditeljske jedinice.
Provjera statusa
Nakon što uključite i dječju jedinicu i roditeljsku jedinicu, vaša roditeljska jedinica prikazuje slike s dječje jedinice, a
LED lampica se uključuje. ON LED lampica dječje jedinice također se uključuje.

Pregled - Dječja jedinica

- Senzor svjetla
- Objektiv kamere
- Mikrofon
- Noćno svjetlo
- Prekidač za uključivanje/isključivanje
- On/Off LED svjetlo
- Uključeno kada je dječja jedinica uključena i uparena s roditeljskom jedinicom.
- Treperi kada se dječja jedinica ne gleda; ili kada se izgubi veza s roditeljskom jedinicom.
- Projektor svjetla
- Zvučnik
Tipka za uključivanje/isključivanje svjetla projekcije
Tipka za uključivanje/isključivanje noćnog svjetla - Priključak za napajanje
- Utori za montažu na zid
Pregled - Roditeljska jedinica

- LED svjetla indikatora
Veza
Baterija
Isključi zvuk
Razgovaraj
- LCD zaslon
- Mikrofon
Napajanje
Razgovaraj
Izbornik/Odaberi - Tipke sa strelicama
Tipke za glasnoću
Prikaz /
LCD isključen
Zumiranje /
Izlaz
- Antena
- RESET
- Postolje
- Utičnica za napajanje
Osnovni rad - Roditeljska jedinica
Korištenje izbornika

Pritisnite
za ulazak u izbornik, odaberite stavku izbornika ili spremite postavku. Roditeljsku jedinicu možete koristiti za napredne postavke ili radnje, poput pokretanja ili zaustavljanja sviranja uspavanke dječje jedinice ili za podešavanje osjetljivosti zvuka dječje jedinice. Dok ste u izborniku:
- Pritisnite
ili
za kretanje kroz opcije glavnog izbornika. - Pritisnite
za odabir stavke ili spremanje postavke. - Pritisnite
ili
za kretanje kroz podizbornike ili za podešavanje postavke. - Pritisnite
za povratak na prethodne opcije izbornika bez promjene trenutne postavke. - Pritisnite
Zumiranje /
Izlaz za povratak na video uživo.
Podešavanje glasnoće zvučnika
Pritisnite
za podešavanje glasnoće zvučnika roditeljske jedinice. Određuje glasnoću zvuka koji se prenosi do vas s dječje jedinice.

Razgovarajte sa svojom dječjom jedinicom
Pritisnite i držite
i razgovarajte sa svojom roditeljskom jedinicom. Vaš se glas prenosi na dječju jedinicu. Otpustite
kada završite s razgovorom i ponovno čujete svoju bebu.

Zumiranje
Pritisnite
za zumiranje ili smanjivanje.

Isključite zaslon
Pritisnite i držite
za isključivanje zaslona. I dalje možete čuti zvukove s dječje jedinice.

Savjet
- Pritisnite bilo koju tipku na roditeljskoj jedinici za ponovno uključivanje zaslona.
Ikone glavne jedinice
Ikone glavnog izbornika
| Glavni izbornik | Podizbornik | |
| Svjetlina | ||
![]() |
![]() |
|
| Postavke kamere | ||
![]() |
![]() |
Glasnoća zvučnika dječje jedinice
|
| Uspavanka | ||
![]() |
![]() |
Reproduciraj/zaustavi uspavanku |
![]() |
|
|
![]() |
|
|
![]() |
|
|
| Noćno svjetlo | ||
![]() |
![]() |
Uključite/isključite noćno svjetlo![]() |
![]() |
|
|
![]() |
|
|
![]() |
|
|
| Postavke upozorenja | ||
![]() |
![]() |
|
![]() |
|
|
![]() |
|
|
| Projekcija | ||
![]() |
![]() |
Uključite/isključite svjetlo projekcije |
![]() |
|
|
| Temperatura | ||
![]() |
![]() |
|
![]() |
|
|
![]() |
|
|
![]() |
|
|
| Aktivacija zvukom - zaslon i zvuk | ||
![]() |
![]() |
Uključite/isključite aktivaciju zvukom
• Kada je zaslon glavne jedinice isključen i primi upozorenja, na primjer, izgubljena veza između glavne jedinice i dječje jedinice, ili je baterija slaba, zaslon i zvučnik glavne jedinice će se uključiti na 10 sekundi. |
| VOX (Upozorenje aktivirano glasom) Osjetljivost | ||
![]() |
![]() |
|
Ikone statusa
![]() |
Status veze
|
![]() |
Svjetlo projekcije - Uključeno |
![]() |
Trenutni status prikaza | ![]() |
Svjetlo projekcije - Automatski uključeno
|
![]() |
Noćni vid - Uključeno | ![]() |
Temperatura u stvarnom vremenu
|
![]() |
Zumiranje - Uključeno | ![]() |
Indikator zvuka s 9 razina
|
![]() |
Uspavanka - Uključeno | ![]() |
Ton upozorenja temperature - Uključeno |
![]() |
Noćno svjetlo - Uključeno | ![]() |
Utišavanje upozorenja
|
![]() |
Noćno svjetlo - Automatski uključeno
|
![]() |
Status baterije
|
![]() |
Glasnoća zvučnika - prikazuje razinu glasnoće zvučnika glavne jedinice tijekom podešavanja. |
Ikone upozorenja
![]() |
|
![]() |
|
![]() |
|
![]() |
|
Svjetlo projekcije
Savjet
- Svjetlo projekcije koje se nalazi na vrhu dječje jedinice projicira scenu zvjezdanog mekog noćnog svjetla na strop s kutom nagiba. Podesite položaj dječje jedinice sa svjetlom projekcije kako biste pomogli umiriti bebu da zaspi. Za optimalne performanse, postavite dječju jedinicu u uspravan položaj.
Optimalni položaj

Osjetljivost na zvuk i aktivacija zvukom
Zaslon i zvuk aktivirani zvukom
Zaslon roditeljske jedinice automatski ostaje isključen kako bi se uštedjela energija kada dječja jedinica ne detektira nikakve zvukove. Kada je uključena Sound activation (Aktivacija zvukom), nakon što dječja jedinica detektira zvukove koji su glasniji od odabrane razine osjetljivosti na zvuk, zaslon i zvučnik roditeljske jedinice automatski se uključuju. Roditeljska jedinica će se ponovno isključiti nakon 50 sekundi bez detekcije zvuka.

Napomena
- Ako ste utišali zvučnik roditeljske jedinice, samo će se zaslon roditeljske jedinice uključiti kada se detektira zvuk.
Podesite osjetljivost detekcije zvuka
Kada uključite Sound activation (Aktivacija zvukom), možete podesiti VOX Sensitivity (VOX osjetljivost) dječje jedinice za detektiranje zvukova i uključivanje roditeljske jedinice kada je njezin zaslon isključen ili prigušen.
Kada dječja jedinica detektira zvukove koji prelaze određene razine, zaslon roditeljske jedinice automatski će se uključiti i dječja jedinica će prenijeti detektirane zvukove na roditeljsku jedinicu. Tada ćete moći vidjeti i čuti svoju bebu.
Ako ste uključili značajku Night light Auto-on (Automatsko uključivanje noćnog svjetla), ona će se automatski uključiti kako bi umirila vašu bebu.
Ako isključite Sound activation (Aktivacija zvukom), stalno ćete čuti zvukove iz dječje jedinice, čak i
| VOX Sensitivity level (Razina VOX osjetljivosti) | Level 5 (Highest)![]() | Level 4 (High)![]() | Level 3 (Medium)![]() | Level 2 (Low)![]() | Level 1 (Lowest)![]() |
| Description (Opis) | (Zadana postavka) Zaslon i zvučnik roditeljske jedinice uključuju se za vrlo tihe zvukove, uključujući pozadinske zvukove iz bebine sobe. | Zaslon i zvučnik roditeljske jedinice uključuju se za tiho brbljanje i glasnije zvukove vaše bebe. Roditeljska jedinica ostaje tiha kada vaša beba čvrsto spava. | Zaslon i zvučnik roditeljske jedinice uključuju se samo za glasno brbljanje i glasnije zvukove vaše bebe. Roditeljska jedinica ostaje tiha kada vaša beba proizvodi tihe zvukove. | Zaslon i zvučnik roditeljske jedinice uključuju se samo za plač i glasnije zvukove vaše bebe. Roditeljska jedinica ostaje tiha kada vaša beba proizvodi tihe zvukove. | Zaslon i zvučnik roditeljske jedinice uključuju se samo za glasan plač ili vrištanje vaše bebe. Roditeljska jedinica ostaje tiha kada vaša beba proizvodi tihe zvukove. |
Noćni vid

Dječja jedinica ima infracrvene LED diode koje vam omogućuju da jasno vidite svoju bebu noću ili u mračnoj sobi. Kada dječja jedinica detektira niske razine svjetlosti, infracrvene LED diode se automatski uključuju. Slike s dječje jedinice tada su crno-bijele i pojavljuju se na zaslonu.
Napomene
- Normalno je vidjeti kratak bijeli odsjaj na zaslonu roditeljske jedinice dok se dječja jedinica prilagođava mračnom okruženju.
- Kada su infracrvene LED diode uključene, normalno je da su slike crno-bijele.
Savjet
- Ovisno o okruženju i drugim ometajućim čimbenicima, na primjer, osvjetljenju, objektima, bojama i pozadini, kvaliteta slike može varirati. Podesite kut dječje jedinice ili postavite dječju jedinicu na višu lokaciju kako biste spriječili odsjaj i zamućen prikaz.
Način rada prigušivanja
Način rada prigušivanja pomaže vam uštedjeti energiju roditeljske jedinice. Zaslon roditeljske jedinice automatski će se prigušiti nakon 10 minuta neaktivnosti, kada se ne pritisnu tipke ili se ne primaju upozorenja od dječje jedinice.

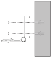
Montirajte dječju jedinicu na suhozid (opcionalno)
NAPOMENE
- Provjerite jačinu prijema i kut kamere dječje jedinice prije bušenja rupa.
- Vrste vijaka i tipli koje trebate ovise o sastavu zida. Možda ćete morati kupiti vijke i tiple zasebno kako biste montirali svoje dječje jedinice.
- Postavite nosač za zid na zid, a zatim olovkom označite dvije rupe paralelno. Uklonite nosač za zid i izbušite dvije rupe u zidu (svrdlo od 5,5 mm).
![]()
- Ako bušite rupe u stup, idite na korak 3.
![]()
- Ako bušite rupe u objekt koji nije stup, umetnite zidne tiple u rupe. Lagano udarite po krajevima čekićem dok zidni tipli ne budu u ravnini sa zidom.
![]()
- Poravnajte nosač za zid i vijke s rupama u zidu kao što je prikazano. Prvo zategnite vijak u srednjoj rupi, tako da je položaj nosača za zid fiksiran. Možete zategnuti drugi vijak u gornjoj rupi.
- Postavite dječju jedinicu na nosač za zid, a zatim je gurnite prema naprijed dok se ne zaključa na svoje mjesto. Spojite adapter za napajanje na dječju jedinicu i napajanje.
![VTech - VM5463 - Montirajte dječju jedinicu na suhozid - Korak 1 Montirajte dječju jedinicu na suhozid - Korak 1]()
- Umetnite vijke u rupe i zategnite vijke dok ne bude izloženo samo 6,5 mm vijaka.
![]()
ILI
- Postavite dječju jedinicu na zidni nosač, a zatim je gurnite prema naprijed dok se ne zaključa na svoje mjesto. Poravnajte rupe na zidnom nosaču s vijcima na zidu i gurnite zidni nosač prema dolje dok se ne zaključa na svoje mjesto.
![VTech - VM5463 - Montirajte dječju jedinicu na suhozid - Korak 2 Montirajte dječju jedinicu na suhozid - Korak 2]()
- Možete maksimizirati kutove gledanja dječje jedinice naginjanjem zidnog nosača. Držite dječju jedinicu, a zatim okrenite gumb u smjeru suprotnom od kazaljke na satu. To će olabaviti spoj zidnog nosača. Nagnite dječju jedinicu gore ili dolje kako biste se prilagodili željenom kutu. Zatim okrenite gumb u smjeru kazaljke na satu kako biste zategnuli spoj i osigurali kut.
![VTech - VM5463 - Montirajte dječju jedinicu na suhozid - Korak 3 Montirajte dječju jedinicu na suhozid - Korak 3]()
Opća njega proizvoda
Kako bi ovaj proizvod dobro radio i izgledao dobro, slijedite ove smjernice:
- Izbjegavajte postavljanje u blizini uređaja za grijanje i uređaja koji stvaraju električni šum (na primjer, motori ili fluorescentne svjetiljke).
- NE izlažite ga izravnoj sunčevoj svjetlosti ili vlazi.
- Izbjegavajte ispuštanje proizvoda ili grubo postupanje s njim.
- Čistite mekom vlažnom krpom.
- NE uranjajte roditeljsku jedinicu i dječju jedinicu u vodu i ne čistite ih pod tekućom vodom.
- NE koristite sprej za čišćenje ili tekuća sredstva za čišćenje.
- Prije ponovnog spajanja dječje jedinice i roditeljske jedinice na električnu mrežu, provjerite jesu li suhe.
Pohrana
Kada nećete koristiti baby monitor neko vrijeme, pohranite roditeljsku jedinicu, dječju jedinicu i adaptere na hladnom i suhom mjestu.
Nadzor odraslih
- Ovaj baby monitor treba koristiti kao pomoć, a potreban je i odgovarajući nadzor odraslih.
- Ne postavljajte dječju jedinicu unutar dječjeg krevetića ili ogradice.
- Što se tiče sigurnosti djeteta, dodirivanje ili igranje s baby monitorom i svim dodacima nije dopušteno. OVO NIJE IGRAČKA.
Tehničke specifikacije
| Kontrola frekvencije | Kristalno kontrolirani PLL sintetizator |
| Frekvencija prijenosa | Dječja jedinica: 2405-2475 MHz Roditeljska jedinica: 2405-2475 MHz Maksimalna snaga koju koristi odašiljač: 0,1 W (100 mW) |
| Kanali | 32 |
| LCD | 5" Color LCD (QVGA 480x272 piksela) |
| Nominalni efektivni domet | Stvarni radni domet može varirati ovisno o uvjetima okoline u trenutku korištenja. |
| Zahtjevi za napajanje | Roditeljska jedinica: 3,8 V Li-ion baterija Adapter za napajanje dječje jedinice: Izlaz: 5V DC @ 1A Adapter za napajanje roditeljske jedinice: Izlaz: 5V DC @ 1A |
Aroser Allee 66, 13407 Berlin
Proizvođač: VTech Telecommunications Ltd.
23/F., Tai Ping Industrial Centre, Block 1, 57 Ting Kok Road, Tai Po, Hong Kong.
Preuzmi priručnik
Ovdje možete preuzeti punu pdf verziju priručnika, koja može sadržavati dodatne sigurnosne upute, informacije o jamstvu, FCC pravila, itd.
Preuzmi VTech VM5463 priručnik
















ili
za kretanje kroz opcije glavnog izbornika.
ili
za kretanje kroz podizbornike ili za podešavanje postavke.
















































Označava nisku razinu zvuka koju detektira dječja jedinica.
označava umjerenu razinu zvuka koju detektira dječja jedinica.
označava visoku razinu zvuka koju detektira dječja jedinica.





















