Micca OriGen G2 - USB DAC және алдын ала күшейткіш нұсқаулығы

Кіріспе
Сатып алғаныңыз үшін рақмет! OriGen USB аудио ЦАП және алдын ала күшейткіші - 24bit/192kHz дейінгі жоғары ажыратымдылықтағы PCM аудиосын қолдайтын студиялық мастер класындағы сандық аудионы ойнату құрылғысы. Компьютеріңіздің дыбыс картасын айналып өту және музыкаңыздың толық әлеуетін ашу үшін OriGen-ді пайдаланыңыз.
Сұрағыңыз бар ма немесе көмек керек пе?
Біздің техникалық қолдау көрсету тобына электрондық пошта арқылы хабарласыңыз: support@miccatron.com осы өнімді орнату және пайдалану бойынша жеке көмек алу үшін. Келесілер үшін біздің өнім туралы ақпарат веб-сайтына кіріңіз: www.miccatron.com :
- Микробағдарламалық жасақтаманы жаңарту
- Пайдаланушы нұсқаулықтары
- Ақаулықтарды жою шебері
- Техникалық қолдау көрсету сұрауы
Техникалық қолдау көрсетуге хабарласқанда, тапсырыс туралы ақпаратыңызды, өнім үлгісін және ойнатқыштың төменгі жағындағы сериялық нөмірін қосуды ұмытпаңыз.
Ерекшеліктері
Кіріс және шығыс
- Windows XP/7/8/8.1/10 және MAC OSX жүйелерімен пайдалануға арналған асинхронды USB 2.0 кірісі.
- Оптикалық S/PDIF сандық кірісі. USB немесе оптикалық кіріс арасында ауыстырып қосуға болады.
- Алдыңғы жағындағы 3,5 мм және 1/4" стерео құлаққап шығыстары. Кіріктірілген қуатты құлаққап күшейткіші 16-600 Ω құлаққаптарын қолдайды. Құлаққап немесе артқы аналогтық стерео шығыс арасында ауыстырып қосуға болады.
- Артқы 3,5 мм аналогтық стерео және біріктірілген оптикалық S/PDIF сандық шығысы.
Сандық ағын форматтары
- USB және оптикалық кірістер арқылы 24-биттік/192 кГц-ке дейінгі PCM аудиосы.
- USB кірісі арқылы ASIO қолдауы
- USB кірісі арқылы WASAPI Push/Event қолдауы
Негізгі компоненттер
- C-MEDIA CM6631A USB 2.0 жоғары жылдамдықты 480 Мбит/с аудио контроллері
- Wolfson WM8740 жоғары өнімді стерео D/A түрлендіргіші
- JRC NJM4556 операциялық күшейткіші
Не кіреді § Micca OriGen құрылғысы
- USB кабелі
- 3,5 мм-ден RCA аудио кабеліне дейін
- Пайдаланушы нұсқаулығы
Ескертпе: Осы нұсқаулықтағы барлық ақпарат жарияланған кезде дұрыс болды. Алайда, біздің инженерлер өнімді үнемі жаңартып және жақсартып отыратындықтан, құрылғыңыздың бағдарламалық жасақтамасы осы нұсқаулықта ұсынылғаннан сәл өзгеше көрініске немесе өзгертілген функционалдылыққа ие болуы мүмкін.
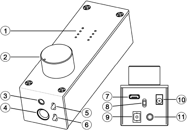
Өнімге шолу

Қосылымдар мен басқару элементтері
| Аты | Сипаттамасы | |
| 1 | Аудио туралы ақпарат дисплейі | USB аудио үлгісінің жылдамдығын, ойнату дыбыс деңгейін және қуат индикаторын көрсететін LED торы. USB үшін ғана үлгі жылдамдығы туралы ақпарат және оптикалық емес. |
| 2 | Дыбыс деңгейі, қосу/өшіру қосқышы | Біріктірілген қуатты қосу/өшіру қосқышы және дыбыс деңгейін басқару. |
| 3 | 3,5 мм Құлаққап ұясы | 3,5 мм құлаққаптарды қосуға арналған шығыс ұясы. Төмен кедергілі немесе жоғары сезімталдықты құлаққаптарды пайдалансаңыз, күшейту қосқышын -10 дБ-ге орнатуды ұмытпаңыз. |
| 4 | 6,3 мм (1/4") Құлаққап ұясы | 6,3 мм (1/4") құлаққаптарды қосуға арналған шығыс ұясы. Төмен кедергілі немесе жоғары сезімталдықты құлаққаптарды пайдалансаңыз, күшейту қосқышын -10 дБ-ге орнатуды ұмытпаңыз. |
| 5 | Шығыс таңдау қосқышы | Құлаққап немесе артқы аналогтық стерео шығыс арасында таңдайды. |
| 6 | Күшейту қосқышы | Қалыпты немесе -10 дБ күшейтуді таңдайды. -10 дБ күшейту төмен кедергілі немесе сезімтал құлаққаптар үшін, мысалы, IEM үшін пайдаланылуы керек. Әрқашан -10 дБ күшейту параметрінен бастаңыз. |
| 7 | USB ұясы | Компьютердің USB хост портынан сандық аудио кіріс интерфейсі. |
| 8 | Кіріс таңдау қосқышы | USB немесе оптикалық кіріс арасында таңдайды. |
| 9 | S/PDIF оптикалық кірісі | Оптикалық шығыс көзінен сандық аудио кірісі. |
| 10 | DC 5V | USB OTG арқылы Android құрылғысымен пайдаланған кезде OriGen-ге қуат беру үшін қажет. Қуат адаптері кірмейді. |
| 11 | Аналогтық стерео және S/PDIF оптикалық шығысы | Екі-бірінде аналогтық стерео шығысы және S/PDIF оптикалық сандық шығысы. Аналогтық стерео шығысын дыбыс деңгейінің тұтқасы және күшейту қосқышы басқарады. |
Орнату және инсталляция
Драйверді орнату
OriGen драйвер дискісімен бірге жеткізілмейді. Windows 10, ағымдағы MacOS және Linux драйверлерді қажет етпейді. Windows XP, 7/8/8.1/10 соңғы драйверлерін мына сілтемеден жүктеп алыңыз: www.miccatron.com.
Windows Vista қолдау көрсетпейді.
- OriGen G2 құрылғысын компьютеріңізге қосып, оны қосыңыз. Қуат индикаторы жасыл түспен жануы керек. Артқы жағындағы кіріс қосқышын "USB" күйіне орнатыңыз.
- ZIP файлын компьютеріңіздегі қалтаға шығарыңыз. Компьютеріңіздегі барлық бағдарламаларды жабыңыз – компьютер орнатудың бөлігі ретінде қайта іске қосылады.
- Драйвер қалтасына өтіп, орнатуды бастау үшін SETUP.EXE файлын екі рет басыңыз. Егер "белгісіз жариялаушы" ескертуі көрсетілсе, жалғастыру үшін "Иә" ("Yes") түймесін басыңыз.
![Micca - OriGen G2 - Драйверді орнату - 1-қадам - Орнату exe файлын ашыңыз Драйверді орнату - 1-қадам - Орнату exe файлын ашыңыз]()
- Драйверді орнату шебері іске қосылады. "Келесі" ("Next") түймесін басыңыз, лицензиялық келісім шарттарын қабылдаңыз және "Орнату" ("Install") түймесін басыңыз.
![Micca - OriGen G2 - Драйверді орнату - 2-қадам - Келесіні басыңыз Драйверді орнату - 2-қадам - Келесіні басыңыз]()
- Орнату аяқталғаннан кейін орнатқыш компьютерді қайта іске қосуды сұрайды. "Иә, мен қазір компьютерімді қайта іске қосқым келеді" ("Yes, I want to restart my computer now") дегенді таңдап, "Аяқтау" ("Finish") түймесін басыңыз.
![Micca - OriGen G2 - Драйверді орнату - 3-қадам - Орнатуды аяқтау Драйверді орнату - 3-қадам - Орнатуды аяқтау]()
- Компьютер қайта іске қосылғаннан кейін OriGen пайдалануға дайын. Оның әдепкі ойнату құрылғысы ретінде орнатылғанын растау үшін
аудио науа белгішесін оң жақпен басып, "Ойнату құрылғылары" ("Playback Devices") дегенді таңдаңыз. - Ойнату құрылғылары экранында OriGen тізімге "OriGen G2" ретінде қосылады. Егер ол әлі әдепкі құрылғы болмаса, оны оң жақпен басып, "Әдепкі құрылғы ретінде орнату" ("Set as Default Device") дегенді таңдаңыз.
Орнату кезіндегі ақаулықтарды жою
Драйверді орнату аяқталғаннан кейін OriGen пайдалануға дайын. Компьютер қазір OriGen арқылы дыбыстарды шығаруы керек. Егер дыбыс болмаса, келесі ақаулықтарды жою қадамдарын орындап көріңіз:
- OriGen құрылғысын компьютердегі USB ұясына қосыңыз. Егер үстел компьютерін пайдалансаңыз, артқы USB ұяларының бірін пайдаланыңыз. Кіріс таңдау қосқышын USB кірісін пайдалану үшін орнатыңыз.
- OriGen-мен бірге келген USB кабелін пайдаланыңыз. Бұл арнайы кабель емес, бірақ ол жақсы жұмыс істейтін сапалы кабель.
- OriGen құрылғысын қосыңыз, қуат индикаторының жасыл түспен жанғанын тексеріңіз.
аудио науа белгішесін оң жақпен басып, "Ойнату құрылғылары" ("Playback Devices") дегенді таңдаңыз. "Ойнату" ("Playback") қойындысында "OriGen G2" табылғанына көз жеткізіңіз.- "OriGen G2" дегенді оң жақпен басып, "Әдепкі құрылғы ретінде орнату" ("Set as Default Device") дегенді таңдаңыз. Енді бұл құрылғыда жасыл белгіше болуы керек.
- Құлаққапты OriGen-ге қосыңыз, күшейту қосқышын -10dB күйіне орнатыңыз, дыбыс деңгейін реттеу тұтқасын сағат 9 күйіне орнатыңыз және шығыс таңдау қосқышын құлаққапқа орнатыңыз.
- Веб-шолғышты сүйікті бейне сайтыңызға ашып, бейнені ойнатыңыз. Дыбыс шығуы керек.
Жоғарыдағы қадамдардың кез келгенінде қателерге тап болсаңыз, мыналарды қолданып көріңіз:
- Компьютеріңіздегі басқа USB портын қолданып көріңіз.
- Компьютеріңізді өшіріп, қайта қосыңыз. :3
- Драйвер пакетін жойып, қайта орнатыңыз.
- Компьютеріңіздегі дыбыс өшірілмегеніне көз жеткізіңіз. Windows 7 жүйесінде жүйе дыбысы өшірілмесе де, белгілі бір қолданбаны өшіруге болады. Мұны тексеру үшін
аудио науа белгішесін басыңыз - дыбысты ойнату мүмкіндігі бар барлық ағымдағы қолданбалар жеке тізімделеді, сонымен қатар олардың дыбыс деңгейі/өшіру басқару элементтері де көрсетіледі.
Жоғарыдағы қадамдардан кейін OriGen құрылғысын компьютеріңізбен жұмыс істетуде қиындықтар туындаса, support@miccatron.com мекенжайы бойынша қолдау көрсету тобымызға хабарласыңыз.
Кеңейтілген конфигурация
Кеңейтілген пайдаланушылар осы бөлімдегі нұсқауларға сәйкес әдепкі жұмыс параметрлеріне түзетулер енгізгісі келуі мүмкін.
Ойнату құрылғысының параметрі
- Ойнату құрылғыларының тізімінен "OriGen G2" дегенді оң жақпен басып, "Сипаттар" ("Properties") дегенді таңдаңыз.
- Деңгейлер қойындысында оның ең көбі 100-ге орнатылғанына көз жеткізіңіз. Ойнату дыбыс деңгейін орнату үшін OriGen құрылғысындағы дыбыс деңгейін реттеу тұтқасын пайдаланыңыз.
- Деңгейлер қойындысында оның ең көбі 100-ге орнатылғанына көз жеткізіңіз. Ойнату дыбыс деңгейін орнату үшін OriGen құрылғысындағы дыбыс деңгейін реттеу тұтқасын пайдаланыңыз.
- Кеңейтілген қойындысында кез келген қажетті Әдепкі пішімді таңдаңыз, мысалы, 24 бит 192000 Гц.
- Аяқтағаннан кейін "Қолдану" ("Apply") түймесін басыңыз.
Одан да кеңейтілген конфигурация
Бұл бөлім Foobar2000 және JRiver Media Center сияқты танымал музыка ойнату бағдарламалық құралымен пайдалану үшін белгілі бір параметрлер бойынша ұсыныстар береді.
Foobar2000 ойнату параметрлері
OriGen Foobar2000 дыбысты шығара алатын барлық әртүрлі әдістерді қолдайды. Бұл шығыс опцияларына қол жеткізу үшін Файл -> Параметрлер дегенді таңдап, Ойнату -> Шығыс конфигурациясы мәзіріне өтіңіз. Құрылғылар ашылмалы терезесінде OriGen үшін келесі шығыс опциялары қол жетімді:
- DS: Негізгі дыбыс драйвері – Foobar2000 Windows DirectSound компонентін пайдаланып OriGen-ге дыбыс шығарады. Бұл параметр жұмыс істеуі үшін OriGen әдепкі аудио ойнату құрылғысы ретінде орнатылуы керек. Foobar2000-нан басқа, барлық басқа жүйелік және қолданбалы дыбыстар да OriGen арқылы ойнатылады.
- DS: Динамиктер (OriGen G2) – Foobar2000 дыбысты шығару үшін әрқашан OriGen құрылғысын пайдаланады. Бұл OriGen әдепкі аудио ойнату құрылғысы ретінде орнатылмаған және барлық басқа жүйелік және қолданбалы дыбыстар басқа аудио ойнату құрылғысын пайдаланса, музыкаңызды сигналдар, қоңыраулар және басқа компьютерлік жүйелік дыбыстар бөлмейтіндей етіп жасау үшін пайдалы.
- ASIO: USB құрылғысына арналған ASIO – Foobar2000 үшін қосымша ASIO компоненті орнатылған болса ғана қол жетімді. ASIO интерфейсін пайдаланған кезде Foobar2000 OriGen құрылғысына ерекше қол жеткізуді қажет етеді, осылайша басқа бағдарламалар бір уақытта OriGen арқылы дыбыс шығармайды. OriGen құрылғысымен ASIO интерфейсін пайдаланбас бұрын басқа аудио құрылғысын әдепкі аудио ойнату құрылғысы ретінде орнату маңызды. Әйтпесе, басқа бағдарламалармен қақтығыстар жүйені қайта іске қосуды қажет ететін құлыпталған дыбыс шығысына әкелуі мүмкін.
- WASAPI (оқиға/итеру): Динамиктер (OriGen G2) – Foobar2000 үшін қосымша WASAPI компоненті орнатылған болса ғана қол жетімді. Оқиға және итеру әдістері де қолдау көрсетеді. WASAPI интерфейсін пайдаланған кезде Foobar2000 OriGen құрылғысына ерекше қол жеткізуді қажет етеді, осылайша басқа бағдарламалар бір уақытта OriGen арқылы дыбыс шығармайды. OriGen құрылғысымен WASAPI интерфейсін пайдаланбас бұрын басқа аудио құрылғысын әдепкі аудио ойнату құрылғысы ретінде орнату маңызды. Әйтпесе, басқа бағдарламалармен қақтығыстар жүйені қайта іске қосуды қажет ететін құлыпталған дыбыс шығысына әкелуі мүмкін.
JRiver Media Center ойнату параметрлері
OriGen JRiver Media Center дыбысты шығара алатын барлық әртүрлі әдістерді қолдайды. Бұл шығыс опцияларына қол жеткізу үшін Құралдар -> Опциялар дегенді таңдап, Аудио конфигурациясы мәзірін таңдаңыз. Аудио құрылғылары ашылмалы терезесінде OriGen үшін келесі шығыс опциялары қол жетімді:
- Әдепкі аудио құрылғысы (Direct Sound) – JRiver Windows DirectSound компонентін пайдаланып OriGen-ге дыбыс шығарады. Бұл параметр жұмыс істеуі үшін OriGen әдепкі аудио ойнату құрылғысы ретінде орнатылуы керек. JRiver-ден басқа, барлық басқа жүйелік және қолданбалы дыбыстар да OriGen арқылы ойнатылады.
- DS: Динамиктер (OriGen G2) – Foobar2000 дыбысты шығару үшін әрқашан OriGen құрылғысын пайдаланады. Бұл OriGen әдепкі аудио ойнату құрылғысы ретінде орнатылмаған және барлық басқа жүйелік және қолданбалы дыбыстар басқа аудио ойнату құрылғысын пайдаланса, музыкаңызды сигналдар, қоңыраулар және басқа компьютерлік жүйелік дыбыстар бөлмейтіндей етіп жасау үшін пайдалы.
- USB құрылғысына арналған ASIO (ASIO) – ASIO интерфейсін пайдаланған кезде JRiver OriGen құрылғысына ерекше қол жеткізуді қажет етеді, осылайша басқа бағдарламалар бір уақытта OriGen арқылы дыбыс шығармайды. OriGen құрылғысымен ASIO интерфейсін пайдаланбас бұрын басқа аудио құрылғысын әдепкі аудио ойнату құрылғысы ретінде орнату маңызды. Әйтпесе, басқа бағдарламалармен қақтығыстар жүйені қайта іске қосуды қажет ететін құлыпталған дыбыс шығысына әкелуі мүмкін.
- DS: Динамиктер (OriGen G2) (WASAPI) – WASAPI интерфейсін пайдаланған кезде JRiver OriGen құрылғысына ерекше қол жеткізуді қажет етеді, осылайша басқа бағдарламалар бір уақытта OriGen арқылы дыбыс шығармайды. OriGen құрылғысымен WASAPI интерфейсін пайдаланбас бұрын басқа аудио құрылғысын әдепкі аудио ойнату құрылғысы ретінде орнату маңызды. Әйтпесе, басқа бағдарламалармен қақтығыстар жүйені қайта іске қосуды қажет ететін құлыпталған дыбыс шығысына әкелуі мүмкін.
Пайдалану
OriGen-ді негізгі пайдалану қарапайым, OriGen-ді қосып, дыбыс деңгейін қалауыңыз бойынша реттеңіз. Бұл бөлімде OriGen мүмкіндіктері толығырақ сипатталған, сонымен қатар өнімділікті және тыңдаудан ләззат алуды қалай арттыруға болатыны туралы ұсыныстар берілген.
Сигнал дисплейінің торы
Ағымдағы жұмыс күйін көрсету үшін OriGen-де дыбыс деңгейін реттеу тұтқасының үстінде 10 дисплей шамы бар. Төменде әрбір күй шамы арқылы берілетін ақпарат сипатталған.

| Белгі | Сипаттама |
| 44.1 - 192 | Алты шамның тобы ағымдағы USB кіріс аудио сигналының дискреттеу жиілігін көрсетеді, оның ішінде 44.1kHz, 48kHz, 88.2kHz, 96kHz, 176.4kHz және 192kHz. Оптикалық кіріс үшін дисплей жоқ. |
![]() | Дыбыс деңгейінің индикатор шамы. Бұл шамның көк және қызыл компоненттері бар, олар сәйкесінше сол және оң арналарға сәйкес келеді. Екі арнада да сигнал болған кезде, шам күлгін түсті болады. Салыстырмалы түрде төмен дыбыс деңгейінде шам мүлдем жанбайтын сияқты көрінуі мүмкін. |
![]() | Қуат индикаторы. Жарамды USB қосылымы орнатылған кезде жасыл түске, ал орнатылмаған болса қызыл түске жанады. Өшірілген кезде шам жанбайды. |
Тұтқалар мен қосқыштар
Дыбыс деңгейін реттеу
OriGen-дегі дыбыс деңгейінің тұтқасы сонымен қатар қуатты қосу/өшіру қосқышы болып табылады. Әрқашан дыбыс деңгейінің тұтқасын сағат 9-дан жоғары емес күйде бастаңыз. Қажетті тыңдау деңгейіне реттеңіз. Пайдалану кезінде шығыс құрылғыларын немесе құлаққаптарды ауыстырсаңыз, алдымен дыбыс деңгейін сағат 9-ға дейін төмендетуді ұмытпаңыз.
OriGen-ді пайдаланбаған кезде өшірудің қажеті жоқ. Кейбір компьютерлер өшірілген кезде USB портына қуат беруді жалғастырады. Бұл жағдайда OriGen-дегі LED индикатор шамдары компьютер өшірулі болса да жанып тұрады. Бұл қалыпты жағдай және ешқандай мәселе тудырмайды.
Кіріс таңдау қосқышы
Кіріс таңдау қосқышы USB және Optical S/PDIF кірісі арасында ауысады. Екі кірісті де бір уақытта қосуға болады, бірақ олардың тек біреуі ғана кіріс сигналы ретінде пайдалану үшін таңдалады.
Шығыс таңдау қосқышы
Шығыс таңдау қосқышы сигналды артқы аналогтық стерео шығысқа немесе алдыңғы құлаққап ұяларына шығару үшін қолданылады. Екеуін де бір уақытта пайдалану мүмкін емес. Егер сигналды төменгі ағынды күшейткішке және құлаққапқа бір уақытта шығару қажет болса, бұған күшейткішті де, құлаққапты да алдыңғы құлаққап ұяларына қосу арқылы қол жеткізуге болады.
Күшейту қосқышы
Күшейту қосқышы OriGen шығыс деңгейін қосылған құрылғыны немесе құлаққапты дұрыс басқару үшін қажетінше реттейді. Күшейту қосқышының параметріне сәйкес келетін максималды шығыс сигналының деңгейі төмендегідей:
| Параметр | Шығыс деңгейлері |
| 0dB | Барлық аналогтық шығыстар үшін 5.3Vrms |
| -10dB | Барлық аналогтық шығыстар үшін 1.6Vrms |
0dB параметрі төмен кіріс сезімталдығы бар күшейткіштерді немесе төмен тиімділігі және/немесе жоғары кедергісі бар құлаққаптарды басқаруға жарамды. Әрқашан күшейту қосқышын -10dB параметрінде және дыбыс деңгейін реттеуді сағат 9-да бастаңыз. Қажет болған жағдайда ғана 0dB күйіне ауысыңыз.
Кірістер
USB кірісі
Микро USB кіріс ұясы OriGen-ді компьютердің USB қосқышына қосу үшін қолданылады. OriGen-нің компьютердегі USB ұясына қосылғанына көз жеткізіңіз. Егер үстел компьютерін пайдалансаңыз, артқы USB ұяларының бірін пайдаланыңыз. Тек OriGen-мен бірге келген USB кабелін пайдаланыңыз. Бұл сиқырлы кабель емес, бірақ біз оның жұмыс істейтінін білетін жақсы сапалы кабель. Сигнал кірісі ретінде USB пайдаланған кезде кіріс таңдау қосқышын USB күйіне орнатыңыз.
USB кірісі OTG USB Audio-ды қолдайтын үйлесімді мобильді құрылғылармен пайдаланылған кезде де жұмыс істейді. OTG USB Audio-ды қолдау әмбебап болмағандықтан, бұл функционалдылық нақты мобильді құрылғыға байланысты және сондықтан тек «сол күйінде» негізінде ұсынылады. Көптеген мобильді құрылғылардағы USB порты қуат шығармайтындықтан, бұл функционалдылық үшін бөлек 5V DC қуат адаптері (жинаққа кірмейді) қажет болады.
Optical S/PDIF кірісі
OriGen Optical S/PDIF кірісі компьютерлер, DVD ойнатқыштар, теледидарлар және т.б. сияқты құрылғылардан 24-bit/192kHz дейінгі PCM сигналдарын қабылдайды. Сигнал кірісі ретінде Optical пайдаланған кезде кіріс таңдау қосқышын Optical күйіне орнатыңыз.
Optical S/PDIF кірісін пайдаланған кезде OriGen USB ұясы немесе DC кіріс ұясы арқылы қуатталуы керек. Кез келген USB қуат көзі, мысалы, компьютердің USB порты немесе USB телефон зарядтағышы қолайлы.
Бит жылдамдығына арналған LED индикаторлары тек USB кірісіне арналған ақпаратты көрсететінін және сондықтан Optical S/PDIF кірісіне арналған ақпаратты көрсетпейтінін ескеріңіз.
DC кіріс ұясы
DC кіріс ұясы OriGen OTG USB Audio қосылымы арқылы үйлесімді мобильді құрылғыға қосылған кезде пайдалану үшін 5 вольттық DC қуат адаптерлерін (жинаққа кірмейді) қабылдайды. Optical кірісті пайдаланған кезде OriGen-ді қуаттандыру үшін DC кіріс ұясын пайдалануға болатын болса да, қуат үшін USB портын пайдалану әлдеқайда ыңғайлы.
Шығыстар
Артқы аналогтық стерео шығыс
3.5 мм артқы шығыс ұясы күшейткіш немесе қуатталған динамиктер сияқты төменгі ағынды құрылғыны басқару үшін пайдалануға болатын аналогтық стерео аудио шығысын қамтамасыз етеді. Шығыс сигналының деңгейі дыбыс деңгейін реттеуге, сондай-ақ күшейту қосқышына байланысты реттеледі. Күшейту қосқышының параметрін -10dB күйінде бастаңыз және қосымша шығыс сигналының амплитудасы қажет болған жағдайда ғана 0dB күйіне ауысыңыз.
Optical S/PDIF шығысы
3.5 мм артқы шығыс ұясына кіріктірілген оптикалық шығыс тақталық DAC-қа қосылу үшін шағын оптикалық ұяларды қабылдайды. Осылайша пайдаланылған кезде OriGen USBto-S/PDIF тасымалдаушысы ретінде жұмыс істейді және ешқандай сигналды декодтау немесе дыбыс деңгейін реттеу функциясын орындамайды. Бұл басқаша USB интерфейсі жоқ аудио жүйесіне жоғары сапалы сандық аудио сигналын беру үшін пайдалы.
Құлаққап шығыстары
OriGen 3.5 мм немесе 6.3 мм (1/4") құлаққап ұялары бар құлаққаптарды қосу үшін екі құлаққап ұясымен жабдықталған. Құлаққап шығыс сигналының деңгейі дыбыс деңгейін реттеуге, сондай-ақ күшейту қосқышына байланысты реттеледі. Күшейту қосқышының параметрін 10dB күйінде бастаңыз және қосымша шығыс дыбысы қажет болған жағдайда ғана 0dB күйіне ауысыңыз.
Екі құлаққап шығыс ұясы параллель, сондықтан екі құлаққапты параллель қосуға болады. OriGen-мен пайдаланылатын құлаққаптар үшін ұсынылатын ең төменгі кедергі 16 Ω. Екі құлаққапты параллель пайдалансаңыз, ұсынылатын ең төменгі кедергі әр құлаққап үшін 32 Ω құрайды.
Техникалық сипаттама
| Жалпы | |
| PCM пішімдері: | PCM (44.1/48/88.2/96/176.4/192kHz, 16/24bit) |
| USB интерфейсі: | USB 2.0, асинхронды тасымалдау режимі |
| Аудио контроллері: | C-MEDIA CM6631A |
| DAC IC: | Wolfson WM8740 |
| Шығыс Op-amp: | JRC NJM4556 |
| Арнаның теңсіздігі: | · < 0.5dB |
| Optical S/PDIF пішімі: | Тек PCM |
| Қуат көзі: | 5V/500mA |
| Өлшемдері: | 4.6 x 1.5 x 1.9 Дюйм (116mm x 38mm x 47mm) |
| Салмағы: | 6 Oz (170g) |
| Желілік шығыс | |
| Жиілік диапазоны: | 20Hz ~ 20kHz +/- 0.1dB |
| THD+N: | <0.02% (1kHz, A-wt.) |
| Сигнал-шу қатынасы: | >108dB (1kHz, A-wt.) |
| Кросс-талк: | -74dB (1kHz) |
| Шығыс кернеуі: | 5.3Vrms (Күшейту: 0dB); 1.6Vrms (Күшейту: -10dB) |
| Құлаққап шығысы | |
| Жиілік диапазоны: | 20Hz ~ 20kHz +/- 0.1dB |
| THD+N" | <0.02% (1kHz, A-wt.) |
| Сигнал-шу қатынасы: | >108dB (1kHz, A-wt.) |
| Кросс-талк: | 93dB (1kHz) |
| Шығыс кернеуі: | 5.3Vrms (Күшейту: 0dB); 1.6Vrms (Күшейту: -10dB) |
| Шығыс тогы: | 70mA (Номиналды); 100mA (Макс) |
| Шығыс кедергісі: | 0.5 Ω |
| Жүктеме кедергісі: | 16 ~ 600 Ω |
Copyright © 2009-2019 Micca. Барлық құқықтар қорғалған.

Сілтемелер
Нұсқаулықты жүктеп алу
Мұнда нұсқаулықтың толық pdf нұсқасын жүктеп алуға болады, онда қосымша қауіпсіздік нұсқаулары, кепілдік туралы ақпарат, FCC ережелері және т.б. болуы мүмкін.
Micca OriGen G2 - USB DAC және алдын ала күшейткіш нұсқаулығы жүктеп алу



аудио науа белгішесін оң жақпен басып, "Ойнату құрылғылары" ("Playback Devices") дегенді таңдаңыз.
аудио науа белгішесін оң жақпен басып, "Ойнату құрылғылары" ("Playback Devices") дегенді таңдаңыз. "Ойнату" ("Playback") қойындысында "OriGen G2" табылғанына көз жеткізіңіз.
