Ghid de Pornire Rapidă al Camerei Digitale Kodak Pixpro AZ421

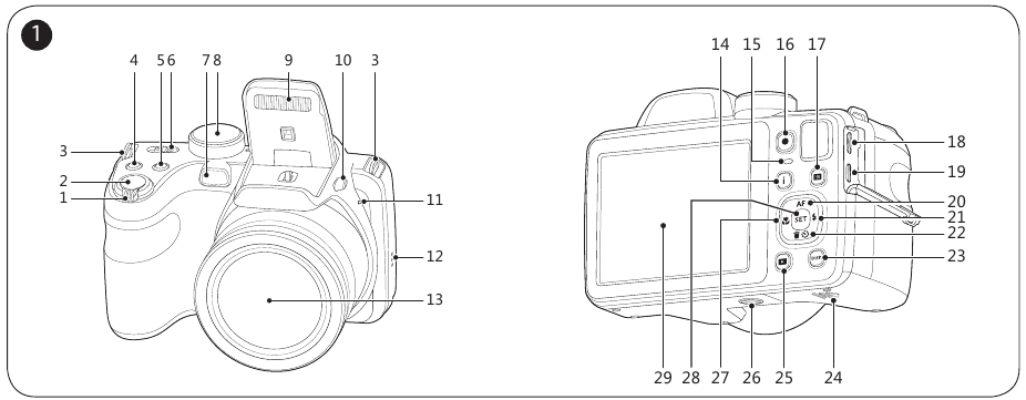
Vederi ale Camerei

| 1 | Manetă de zoom | 16 | Buton de înregistrare video rapidă |
| 2 | Buton declanșator | 17 | Buton meniu |
| 3 | Orificiu pentru curea | 18 | Port Micro USB |
| 4 | Buton de compensare a expunerii | 19 | Port Micro HDMI |
| 5 | Buton de fotografiere continuă | 20 | Buton AF/Buton săgeată (Sus) |
| 6 | Comutator de alimentare | 21 | Buton bliț/Buton săgeată (Dreapta) |
| 7 | Lumină de asistență AF/Lampă autodeclanșator | 22 | Buton ștergere/Buton autodeclanșator/ Buton săgeată (Jos) |
| 8 | Selector moduri | 23 | Buton afișare |
| 9 | Lampă bliț | 24 | Capac baterie |
| 10 | Buton bliț | 25 | Buton redare |
| 11 | Microfon | 26 | Soclu trepied |
| 12 | Difuzor | 27 | Buton macro/Buton săgeată (Stânga) |
| 13 | Obiectiv | 28 | Buton SET |
| 14 | Buton i | 29 | LCD |
| 15 | Lampă indicator |
Introducerea Bateriei

- Deschideți capacul bateriei.
- Introduceți corect bateria în slot așa cum arată diagrama.
- Închideți capacul bateriei.
Setarea Limbii/Datei/Orei

- Apăsați comutatorul de alimentare pentru a porni camera și meniul de limbă va apărea. Utilizați butonul Sus/Jos/Stânga/Dreapta pentru a selecta o limbă și apăsați butonul
pentru a confirma limba. - Utilizați din nou butonul Sus/Jos/Stânga/Dreapta pentru a seta data și ora, și apăsați butonul
pentru a confirma.
Realizarea unei Fotografii

- Țineți camera în siguranță.
- Utilizați maneta de zoom pentru a selecta pozițiile Tele sau Wide pentru a mări sau micșora subiectul.
- Apăsați butonul declanșator pe jumătate pentru a focaliza subiectul. Când cadrul de focalizare devine verde, apăsați butonul declanșator complet în jos pentru a face fotografia.
Utilizarea Selectorului de Moduri
Această cameră oferă un selector de moduri convenabil, care vă permite să comutați manual între diferite setări ale camerei cu ușurință. Modurile disponibile sunt enumerate mai jos:
| Mod Auto | ![]() | Înfrumusețare Față |
| Program AE | | Mod Panoramă |
| Prioritate Obturator | | Mod Scenă |
![]() | Prioritate Diafragmă | | Mod Film |
![]() | Mod Manual | ![]() | Setări Personalizate |
Utilizarea Butonului de Înregistrare Video Rapidă

În modul de fotografiere, apăsați butonul
pentru a începe înregistrarea unui video. După înregistrare, apăsați din nou butonul
pentru a opri înregistrarea. Camera va stoca videoclipul și va reveni la ecranul de fotografiere.
Utilizarea Butonului Meniu
În fiecare mod, apăsați butonul
pentru a accesa "Meniul Ușor" ("Easy Menu"). Apăsați butoanele
pentru a vă deplasa printre opțiuni, apoi apăsați butonul
pentru a face o selecție. Alegerea
din această listă va oferi acces la "Meniul Complet" ("Full Menu"):
![]() | Setări de Fotografiere | | Setări Generale |
![]() | Setări de Conectare | | Setări Fisiere |
Produs Licențiat
Marca comercială Kodak și aspectul comercial sunt utilizate sub licență de la Kodak.
© 2014 de JK Imaging Ltd. Toate drepturile rezervate.
JK Imaging Ltd. 1411 W. 190th Street, Suite 550, Gardena, CA 90248, USA
www.kodakpixpro.com

Referințe
Descărcați manualul
Aici puteți descărca versiunea completă pdf a manualului, aceasta poate conține instrucțiuni suplimentare de siguranță, informații despre garanție, reguli FCC etc.
Descărcați Ghid de Pornire Rapidă al Camerei Digitale Kodak Pixpro AZ421





