JBL CINEMA SB160 - Návod na použitie soundbaru

KONTAKTUJTE NÁS: Ak máte akékoľvek otázky týkajúce sa JBL CINEMA SB160, jeho inštalácie alebo prevádzky, kontaktujte svojho predajcu alebo inštalatéra, alebo navštívte našu webovú stránku na www.JBL.com.
ČO JE V KRABICI

*Typy a počty napájacích káblov sa líšia podľa regiónov.

PRIPOJENIE SOUNDBARU
Táto časť vám pomôže pripojiť soundbar k televízoru a iným zariadeniam a nastaviť celý systém.
Pripojenie k zásuvke HDMI (ARC)
Pripojenie HDMI podporuje digitálny zvuk a je najlepšou možnosťou na pripojenie k soundbaru. Ak váš televízor podporuje HDMI ARC, môžete počúvať zvuk z televízora cez soundbar pomocou jediného kábla HDMI.

- Pomocou vysokorýchlostného kábla HDMI pripojte konektor HDMI OUT (ARC)to TV na soundbare ku konektoru HDMI ARC na televízore.
- Konektor HDMI ARC na televízore môže byť označený odlišne. Podrobnosti nájdete v používateľskej príručke k televízoru.
- Na televízore zapnite operácie HDMI-CEC. Podrobnosti nájdete v používateľskej príručke k televízoru.
Poznámka:
- Uistite sa, či je na vašom televízore zapnutá funkcia HDMI CEC.
- Váš televízor musí podporovať funkciu HDMI-CEC a ARC. Funkcie HDMICEC a ARC musia byť nastavené na možnosť On (zapnuté).
- Spôsob nastavenia HDMI-CEC a ARC sa môže líšiť v závislosti od televízora. Podrobnosti o funkcii ARC nájdete v používateľskej príručke k televízoru.
- Iba káble HDMI 1.4 môžu podporovať funkciu ARC.
Pripojenie k optickej zásuvke

- Odstráňte ochranný kryt optickej zásuvky OPTICAL. Pomocou optického kábla pripojte konektor OPTICAL na soundbare ku konektoru OPTICAL OUT na televízore alebo inom zariadení.
- Digitálny optický konektor môže byť označený ako SPDIF alebo SPDIF OUT.
Poznámka: V režime OPTICAL/HDMI ARC, ak z jednotky nevychádza žiadny zvuk a indikátor stavu bliká, možno budete musieť aktivovať výstup PCM alebo Dolby Digital Signal na zdrojovom zariadení (napr. televízor, DVD alebo Blu-ray prehrávač).
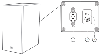
Pripojenie k napájaniu
- Pred pripojením napájacieho kábla striedavého prúdu sa uistite, že ste dokončili všetky ostatné pripojenia.
- Riziko poškodenia produktu! Uistite sa, že napájacie napätie zodpovedá napätiu vytlačenému na zadnej strane alebo na spodnej strane jednotky.
- Pripojte napájací kábel do zásuvky AC~ na jednotke a potom do sieťovej zásuvky.
- Pripojte napájací kábel do zásuvky AC~ na subwoofera a potom do sieťovej zásuvky.
![JBL - Harman CINEMA SB160 - Pripojenie k napájaniu Pripojenie k napájaniu]()
SPÁROVANIE SO SUBWOOFEROM
Automatické párovanie
Zapojte soundbar a subwoofer do sieťových zásuviek a potom stlačte na jednotke alebo diaľkovom ovládači, aby ste prepnuli jednotku do režimu ON (zapnuté). Subwoofer a soundbar sa automaticky spárujú.

- Keď sa subwoofer páruje so soundbarom, indikátor Pair (párovanie) na subwoofera bude rýchlo blikať.
- Keď je subwoofer spárovaný so soundbarom, indikátor Pair (párovanie) na subwoofera sa rozsvieti nepretržite.
- Nestláčajte tlačidlo Pair (párovanie) na zadnej strane subwoofera, okrem manuálneho párovania.
Manuálne párovanie
Ak nie je počuť žiadny zvuk z bezdrôtového subwoofera, manuálne spárujte subwoofer.
- Znova odpojte obe jednotky zo sieťových zásuviek a potom ich znova zapojte po 3 minútach.
- Stlačte a podržte tlačidlo
(Pair (párovanie)) na subwoofera na niekoľko sekúnd.
Indikátor Pair (párovanie) na subwoofera bude rýchlo blikať. - Potom stlačte tlačidlo
na jednotke alebo diaľkovom ovládači, aby ste zapli jednotku ON (zapnuté).
Indikátor Pair (párovanie) na subwoofera sa po úspešnom spárovaní rozsvieti. - Ak indikátor Pair (párovanie) stále bliká, zopakujte kroky 1-3.
Poznámka:
- Subwoofer by mal byť v otvorenom priestore do 6 m od soundbaru (čím bližšie, tým lepšie).
- Odstráňte všetky predmety medzi subwooferom a soundbarom.
- Ak bezdrôtové pripojenie zlyhá znova, skontrolujte, či v okolí nie je konflikt alebo silné rušenie (napr. rušenie z elektronického zariadenia). Odstráňte tieto konflikty alebo silné rušenia a zopakujte vyššie uvedené postupy.
- Ak hlavná jednotka nie je pripojená k subwooferu a je v režime ON (zapnuté), indikátor POWER (napájanie) jednotky bude blikať.
UMIESTNENIE SOUNDBARU
Umiestnenie soundbaru na stôl

Montáž soundbaru na stenu
Použite pásku na prilepenie papierovej šablóny na montáž na stenu na stenu, pretlačte hrot pera cez stred každého montážneho otvoru, aby ste označili umiestnenie konzoly na montáž na stenu, a odstráňte papier.
Priskrutkujte konzoly na montáž na stenu na značku pera; priskrutkujte závitový montážny stĺpik do zadnej časti soundbaru; potom zaveste soundbar na stenu.

PRÍPRAVY
Príprava diaľkového ovládača
Dodávaný diaľkový ovládač umožňuje ovládať jednotku z diaľky.
- Aj keď sa diaľkový ovládač používa v efektívnom rozsahu 19,7 stôp (6 m), ovládanie diaľkovým ovládačom nemusí byť možné, ak sa medzi jednotkou a diaľkovým ovládačom nachádzajú nejaké prekážky.
- Ak sa diaľkový ovládač používa v blízkosti iných produktov, ktoré generujú infračervené lúče, alebo ak sa v blízkosti jednotky používajú iné zariadenia diaľkového ovládania, ktoré používajú infračervené lúče, môže fungovať nesprávne. Naopak, ostatné produkty môžu fungovať nesprávne.
Prvé použitie:
Jednotka má predinštalovanú lítiovú batériu CR2025. Odstráňte ochrannú kartu, aby ste aktivovali batériu diaľkového ovládača.

Výmena batérie diaľkového ovládača
- Diaľkový ovládač vyžaduje lítiovú batériu CR2025, 3V.
![JBL - Harman CINEMA SB160 - Výmena batérie diaľkového ovládača Výmena batérie diaľkového ovládača]()
- Zatlačte na západku na boku priehradky na batérie smerom k priehradke.
- Teraz vysuňte priehradku na batérie z diaľkového ovládača.
- Vyberte starú batériu. Vložte novú batériu CR2025 do priehradky na batérie so správnou polaritou (+/-), ako je uvedené.
- Zasuňte priehradku na batérie späť do otvoru v diaľkovom ovládači.
Bezpečnostné opatrenia týkajúce sa batérií
- Ak sa diaľkový ovládač nebude dlhší čas používať (viac ako mesiac), vyberte batériu z diaľkového ovládača, aby ste zabránili jej vytečeniu.
- Ak batérie vytečú, utrite únik vo vnútri priestoru pre batérie a vymeňte batérie za nové.
- Nepoužívajte iné batérie, ako tie, ktoré sú špecifikované.
- Batérie nezohrievajte ani nerozoberajte.
- Nikdy ich nehádžte do ohňa alebo vody.
- Neprenášajte ani neskladujte batérie s inými kovovými predmetmi. Mohlo by to spôsobiť skrat batérií, vytečenie alebo výbuch.
- Nikdy nenabíjajte batériu, pokiaľ nie je potvrdené, že ide o nabíjateľný typ.
POUŽÍVANIE VÁŠHO SOUNDBAR SYSTÉMU
Ovládanie
Horný panel

* Prepínanie medzi režimami BT/OPTICAL/HDMI ARC.
** Prepínanie medzi režimami zvuku MUSIC/MOVIE/NEWS.
*** LED dióda zdroja: • Červená - Pohotovostný režim / • Modrá - Bluetooth / • Oranžová - OPTICAL / • Biela - HDMI ARC
Diaľkové ovládanie

- Power (napájanie)
- Volume +/ (Hlasitosť +/-)
- Bluetooth mode (režim Bluetooth)
- Optical mode (optický režim)
- HDMI ARC mode (režim HDMI ARC)
- Mute (stlmiť)
- Previous Track / Next Track (predchádzajúca skladba / nasledujúca skladba)
- Play / Pause (prehrať / pozastaviť)
- Movie EQ (ekvalizér pre filmy)
- Music EQ (ekvalizér pre hudbu)
- News EQ (ekvalizér pre správy)
Bezdrôtový subwoofer

- AC~ Socket (zásuvka)
- PAIR button (tlačidlo párovania)
- Subwoofer indicator (indikátor subwoofera)
Používanie Bluetooth
- Opakovane stlačte
tlačidlo na zariadení alebo stlačte tlačidlo BT na diaľkovom ovládači, aby ste spustili párovanie Bluetooth - Vyberte "JBL CINEMA SB160" pre pripojenie
![JBL - Harman CINEMA SB160 - POUŽÍVANIE VÁŠHO SOUNDBAR SYSTÉMU - Používanie Bluetooth POUŽÍVANIE VÁŠHO SOUNDBAR SYSTÉMU - Používanie Bluetooth]()
Poznámka: Ak chcete spárovať ďalšie mobilné zariadenie, stlačte a podržte tlačidlo Bluetooth (BT) na diaľkovom ovládači na 3 sekundy.
POZNÁMKY
- Ak sa pri pripájaní zariadenia Bluetooth vyžaduje kód PIN, zadajte <0000>.
- V režime pripojenia Bluetooth sa pripojenie Bluetooth stratí, ak vzdialenosť medzi soundbarom a zariadením Bluetooth presiahne 27 stôp/8 m.
- Soundbar sa automaticky vypne po 10 minútach v stave Ready (pripravený).
- Elektronické zariadenia môžu spôsobovať rádiové rušenie. Zariadenia, ktoré generujú elektromagnetické vlny, musia byť umiestnené mimo hlavnej jednotky soundbaru - napr. mikrovlnné rúry, bezdrôtové zariadenia LAN atď.
- Počúvanie hudby zo zariadenia Bluetooth
- Ak pripojené zariadenie Bluetooth podporuje Advanced Audio Distribution Profile (A2DP), môžete počúvať hudbu uloženú v zariadení prostredníctvom prehrávača.
- Ak zariadenie podporuje aj Audio Video Remote Control Profile (AVRCP), môžete použiť diaľkové ovládanie prehrávača na prehrávanie hudby uloženej v zariadení.
- Spárujte svoje zariadenie s prehrávačom.
- Prehrávajte hudbu prostredníctvom svojho zariadenia (ak podporuje A2DP).
- Použite dodané diaľkové ovládanie na ovládanie prehrávania (ak podporuje AVRCP).
- Ak chcete pozastaviť/obnoviť prehrávanie, stlačte tlačidlo
na diaľkovom ovládači. - Ak chcete preskočiť na skladbu, stlačte tlačidlá
na diaľkovom ovládači.
Používanie režimu OPTICAL / HDMI ARC
Uistite sa, že je jednotka pripojená k televízoru alebo zvukovému zariadeniu.
- Opakovane stlačte tlačidlo
na jednotke alebo stlačte tlačidlá OPTICAL (optický), HDMI na diaľkovom ovládači, aby ste vybrali požadovaný režim. - Ovládajte svoje zvukové zariadenie priamo pre funkcie prehrávania.
- Stlačením tlačidiel VOL +/– nastavte hlasitosť na požadovanú úroveň.
Tip: Ak v režime OPTICAL/HDMI ARC nevychádza z jednotky žiadny zvuk a indikátor stavu bliká, možno budete musieť aktivovať výstup PCM alebo Dolby Digital Signal na svojom zdrojovom zariadení (napr. TV, DVD alebo Blu-ray prehrávač).
Reagovanie na diaľkové ovládanie televízora
Použite vlastné diaľkové ovládanie televízora na ovládanie soundbaru
Pre iné televízory vykonajte IR diaľkové učenie
Ak chcete naprogramovať soundbar tak, aby reagoval na diaľkové ovládanie televízora, postupujte podľa týchto krokov v režime Standby (pohotovostný režim).
- Stlačte a podržte tlačidlá VOL+ a SOURCE (zdroj) na 5 sekúnd na soundbare, aby ste vstúpili do režimu učenia.
- Oranžový indikátor bude rýchlo blikať.
Učenie tlačidla POWER (napájanie)
- Stlačte a podržte tlačidlo POWER (napájanie) na 5 sekúnd na soundbare.
- Dvakrát stlačte tlačidlo POWER (napájanie) na diaľkovom ovládaní televízora.
![JBL - Harman CINEMA SB160 - IR diaľkové učenie - Krok 1 IR diaľkové učenie - Krok 1]()
Rovnaký postup (2-3) zopakujte pre VOL- a VOL+. Pre stlmenie (mute) stlačte obe tlačidlá VOL+ a VOL- na soundbare a stlačte tlačidlo MUTE (stlmiť) na diaľkovom ovládaní televízora.

- Opäť stlačte a podržte tlačidlá VOL+ a SOURCE (zdroj) na 5 sekúnd na soundbare a teraz bude váš soundbar reagovať na diaľkové ovládanie televízora.
- Oranžový indikátor bude pomaly blikať.
NASTAVENIE ZVUKU
Táto časť vám pomôže vybrať ideálny zvuk pre vaše video alebo hudbu.
Predtým ako začnete
- Vykonajte potrebné pripojenia popísané v používateľskej príručke.
- Na soundbare prepnite na príslušný zdroj pre ostatné zariadenia.
Nastavenie hlasitosti
- Stlačením tlačidla VOL+/- zvýšite alebo znížite úroveň hlasitosti.
- Ak chcete stlmiť zvuk, stlačte tlačidlo MUTE (stlmiť).
- Ak chcete obnoviť zvuk, znova stlačte tlačidlo MUTE (stlmiť) alebo stlačte tlačidlo VOL+/-.
Poznámka: Počas nastavovania hlasitosti bude indikátor LED stavu rýchlo blikať. Keď hlasitosť dosiahne maximálnu/minimálnu úroveň, indikátor LED stavu raz zabliká.
Výber efektu ekvalizéra (EQ)
Vyberte preddefinované režimy zvuku, ktoré vyhovujú vášmu videu alebo hudbe.
Stlačte tlačidlo
(EQ) na jednotke alebo stlačte tlačidlo MOVIE (film) / MUSIC (hudba) / NEWS (správy) na diaľkovom ovládači, aby ste vybrali požadované prednastavené efekty ekvalizéra:
- MOVIE (film): odporúča sa na sledovanie filmov
- MUSIC (hudba): odporúča sa na počúvanie hudby
- NEWS (správy): odporúča sa na počúvanie správ
SYSTÉM
Automatický pohotovostný režim
Tento soundbar sa automaticky prepne do pohotovostného režimu po 10 minútach nečinnosti tlačidiel a žiadnom prehrávaní zvuku/videa z pripojeného zariadenia.
Automatické prebudenie
Soundbar sa zapne vždy, keď sa prijme zvukový signál. Toto je najužitočnejšie pri pripájaní k televízoru pomocou optického kábla, pretože väčšina pripojení HDMI™ ARC túto funkciu štandardne umožňuje.
Výber režimov
Opakovane stlačte tlačidlo
na jednotke alebo stlačte tlačidlá BT, OPTICAL (optický), HDMI na diaľkovom ovládači, aby ste vybrali požadovaný režim. Indikátor na prednej strane hlavnej jednotky zobrazí, ktorý režim sa aktuálne používa.
- Modrá: Režim Bluetooth.
- Oranžová: Optický režim.
- Biela: Režim HDMI ARC.
Aktualizácia softvéru
Spoločnosť JBL môže v budúcnosti ponúknuť aktualizácie firmvéru systému soundbaru. Ak je aktualizácia ponúknutá, môžete aktualizovať firmvér pripojením zariadenia USB s uloženou aktualizáciou firmvéru k portu USB na soundbare.
Navštívte stránku www.JBL.com alebo kontaktujte call centrum JBL, aby ste získali viac informácií o sťahovaní aktualizačných súborov.
ŠPECIFIKÁCIE PRODUKTU
Všeobecné
- Napájanie : 100 - 240V~, 50/60Hz
- Celkový maximálny výkon : 220 W
- Maximálny výstupný výkon soundbaru: 2 x 52 W
- Maximálny výkon subwoofera : 116 W
- Spotreba v pohotovostnom režime : 0.5 W
- Prevodník soundbaru : 2 x (48x90)mm ovládač pretekárskej dráhy + 2 x 1.25" výškový reproduktor
- Prevodník subwoofera : 5.25", bezdrôtový subwoofer
- Max SPL : 82dB
- Frekvenčná odozva : 40Hz - 20KHz
- Prevádzková teplota : 0°C - 45°C
- Verzia Bluetooth : 4.2
- Frekvenčný rozsah Bluetooth : 2402 – 2480MHz
- Maximálny výkon Bluetooth : 0dBm
- Modulácia Bluetooth : GFSK, π/4 DQPSK
- Frekvenčný rozsah bezdrôtového pripojenia 2.4G : 2400 – 2483MHz
- Maximálny výkon bezdrôtového pripojenia 2.4G : 3dBm
- Modulácia bezdrôtového pripojenia 2.4G : FSK
- Rozmery soundbaru (Š x V x H) : 900 x 67 x 63 (mm) \ 35.4" x 2.6" x 2.5"
- Hmotnosť soundbaru : 1.65 kg
- Rozmery subwoofera (Š x V x H): 170 x 345 x 313 (mm)\ 6.7" x 13.6" x 12.3"
- Hmotnosť subwoofera : 5 kg
RIEŠENIE PROBLÉMOV
Ak máte problémy s používaním tohto produktu, pred požiadaním o servis skontrolujte nasledujúce body.
Systém
Zariadenie sa nezapne.
- Skontrolujte, či je napájací kábel zapojený do zásuvky a soundbaru
Zvuk
Žiadny zvuk zo soundbaru.
- Uistite sa, že soundbar nie je stlmený.
- Na diaľkovom ovládači vyberte správny zdroj zvukového vstupu
- Pripojte zvukový kábel zo soundbaru k televízoru alebo iným zariadeniam.
- Samostatné zvukové pripojenie však nepotrebujete, ak:
- sú soundbar a TV pripojené cez HDMI ARC pripojenie.
Žiadny zvuk z bezdrôtového subwoofera.
- Skontrolujte, či LED dióda subwoofera svieti na oranžovo. Ak biela LED dióda bliká, pripojenie sa stratilo. Manuálne spárujte subwoofer so soundbarom (pozri 'Spárovanie so subwooferom').
Skreslený zvuk alebo ozvena.
- Ak prehrávate zvuk z televízora cez soundbar, uistite sa, že je televízor stlmený.
Bluetooth
Zariadenie sa nemôže pripojiť k soundbaru.
- Nezapli ste funkciu Bluetooth na zariadení. Pozrite si používateľskú príručku zariadenia, kde nájdete informácie o tom, ako túto funkciu zapnúť.
- Soundbar je už pripojený k inému zariadeniu Bluetooth. Stlačením a podržaním tlačidla BT na diaľkovom ovládači odpojte pripojené zariadenie a skúste to znova.
- Vypnite a zapnite zariadenie Bluetooth a skúste sa znova pripojiť.
- Zariadenie nie je správne pripojené. Pripojte zariadenie správne.
Kvalita prehrávania zvuku z pripojeného zariadenia Bluetooth je nízka.
- Príjem signálu Bluetooth je slabý. Presuňte zariadenie bližšie k soundbaru alebo odstráňte prekážky medzi zariadením a soundbarom.
Pripojené zariadenie Bluetooth sa neustále pripája a odpája.
- Príjem signálu Bluetooth je slabý. Presuňte zariadenie Bluetooth bližšie k soundbaru alebo odstráňte prekážky medzi zariadením a soundbarom.
- Pri niektorých zariadeniach Bluetooth sa pripojenie Bluetooth môže automaticky deaktivovať, aby sa šetrila energia. To neznamená žiadnu poruchu soundbaru.
Diaľkové ovládanie
Diaľkové ovládanie nefunguje.
- Skontrolujte, či nie sú batérie vybité a vymeňte ich za nové.
- Ak je vzdialenosť medzi diaľkovým ovládaním a hlavnou jednotkou príliš veľká, presuňte ho bližšie k jednotke.

Referencie
Stiahnuť návod
Tu si môžete stiahnuť úplnú verziu návodu vo formáte pdf, môže obsahovať ďalšie bezpečnostné pokyny, informácie o záruke, pravidlá FCC atď.
Stiahnuť JBL CINEMA SB160 - Návod na použitie soundbaru


tlačidlo na zariadení alebo stlačte tlačidlo BT na diaľkovom ovládači, aby ste spustili párovanie Bluetooth
na diaľkovom ovládači.
na diaľkovom ovládači.
na jednotke alebo stlačte tlačidlá OPTICAL (optický), HDMI na diaľkovom ovládači, aby ste vybrali požadovaný režim.