Sonos One SL - Priročnik za osnovni zvočnik
- 1 Pregled
- 2 Kontrole in lučke
- 3 Priključna plošča
- 4 Izberite lokacijo
- 5 Nastavitev stereo para
- 6 Nastavitev prostorskih zvočnikov
- 7 Nastavitve izdelka
- 8 Dodatna oprema
- 9 Stojalo Sonos One
- 10 Nastavite ga
- 11 Polica za Sonos One
- 12 Namestitev
- 13 Nosilec za Sonos One
- 14 Namestitev
- 15 Specifikacije
- 16 Reference
- 17 Prenesi navodilo
- 18 V drugih jezikih

Pregled


Osnovni zvočnik za ljubitelje glasbe —
- Popoln za police, pulte in majhne prostore ali za montažo na steno, strop ali stojalo za zvočnike.
- Upravljanje na dotik na zvočniku omogoča prilagajanje glasnosti, predvajanje in zaustavitev ali preskakovanje skladb.
- Povežite dva Sonos One SL za levi-desni stereo zvok ali uporabite dva Sonos One SL kot zadnja prostorska zvočnika za domači kino.
- Upravljajte svoj sistem Sonos z aplikacijo Sonos S2 (za Android in iOS).
- Glejte Namestitev, ko ste pripravljeni dodati Sonos One SL v svoj sistem.
Kontrole in lučke
Nadzor glasnosti

- Povečanje glasnosti (desno)
- Zmanjšanje glasnosti (levo)
Pritisnite in držite za hitro spreminjanje glasnosti.
Opomba: Za prilagajanje glasnosti lahko uporabite tudi aplikacijo Sonos.
Predvajaj/Začasno ustavi

- Enkrat pritisnite za predvajanje ali začasno ustavitev zvoka.
- Pritisnite in držite, da dodate zvok, ki se predvaja v drugi sobi.
Naslednji/Prejšnji

- Povlecite desno za preskok na naslednjo skladbo.
- Povlecite levo za vrnitev na prejšnjo skladbo.
Opomba: Pri poslušanju radijske postaje ne morete preskočiti naprej ali nazaj.
Statusna lučka

Prikazuje povezavo izdelka z WiFi, označuje, kdaj je glasnost izključena, in signalizira napake.
Izvedite več
Opomba: Če ne želite dovoliti predvajanja ali prilagajanja glasnosti z uporabo kontrol na dotik na zvočniku, jih lahko onemogočite v nastavitvah sobe.
Priključna plošča

- Gumb za pridružitev
Pritisnite za povezavo s sistemom Sonos med namestitvijo. - Ethernet vrata
Uporabite Ethernet kabel, če se želite povezati z usmerjevalnikom, računalnikom ali napravo za shranjevanje v omrežju (NAS) (izbirno). - Vhod za napajanje (omrežno)
Uporabljajte samo priloženi napajalni kabel (uporaba napajalnega kabla drugega proizvajalca bo razveljavila vašo garancijo). Opomba: Trdno vstavite napajalni kabel, dokler se ne poravna z dnom zvočnika.
Opomba: Trdno vstavite napajalni kabel, dokler se ne poravna z dnom zvočnika.
Izberite lokacijo
Zvočnik lahko postavite skoraj kamor koli. Za največjo učinkovitost je tukaj nekaj smernic:
- Sonos One SL zveni odlično tudi, ko je postavljen ob steno ali na polico. Za najboljšo učinkovitost pustite vsaj 2,5 cm prostora okoli zadnje strani zvočnika.
- Je odporen na vlago, zato ga lahko uporabljate v kopalnici.
- Ni vodoodporen, zato ga ne postavljajte blizu vode ali ga puščajte na dežju.
Nastavitev stereo para
Povežite dva zvočnika Sonos v isti sobi za še širšo stereo izkušnjo. En zvočnik služi kot levi kanal, drugi pa kot desni kanal.
Opomba: Zvočniki Sonos v stereo paru morajo biti iste vrste.
- Postavite zvočnike 2,4 do 3 metre narazen. Vaš najljubši položaj za poslušanje mora biti 2,4 do 3,6 metra od seznanjenih zvočnikov—manjša razdalja poveča nizke tone, večja razdalja izboljša stereo sliko.
- Pojdite na
> System (Sistem). - Izberite enega od zvočnikov, ki ga želite uporabiti v stereo paru, nato izberite Set Up Stereo Pair (Nastavi stereo par) za začetek.
Izvedite več
Nastavitev prostorskih zvočnikov
Preprosto je spremeniti dva zvočnika Sonos (isti model) ali Sonos Amp in vaše najljubše zvočnike, ki niso Sonos, v ločena desni in levi kanal za vaš domači kino.
- Postavite vsak prostorski zvočnik približno 3 metre od vašega najljubšega položaja za poslušanje in jih usmerite proti prostoru za sedenje.
- Pojdite na
> System (Sistem). - Izberite sobo s soundbarom in izberite Add Surrounds (Dodaj prostorske zvočnike) za začetek.
Opomba: Če združite sobe ali ustvarite stereo par, ne boste imeli prostorskega zvoka.
Izvedite več
Nastavitve prostorskega zvoka
Med namestitvijo je prostorski zvok optimiziran za vašo sobo. Te nastavitve so nastavljive:
| Surrounds (Prostorski zvočniki) | Vklopite ali izklopite prostorski zvok (On ali Off). |
| TV Level (Raven TV) | Prilagodite glasnost prostorskega zvoka za TV zvok. |
| Music Level (Raven glasbe) | Prilagodite glasnost prostorskega zvoka za glasbo. |
| Music Playback (Predvajanje glasbe) | Ambient (subtilno) ali Full (glasneje, celoten razpon). Ne velja za predvajanje glasbe Dolby Atmos. |
Nastavitve izdelka
Izdelke Sonos lahko prilagodite svoji okolici. Pojdite na
> System (Sistem) in izberite izdelek.
| Room Name (Ime sobe) | Če zvočnik premaknete v novo sobo, lahko njegovo ime spremenite v Settings (Nastavitve). |
| Turn off WiFi (Izklopite WiFi) (ni na voljo za Sonos Era 100, Era 300 ali prenosne izdelke) | WiFi na zvočniku lahko izklopite, ko je povezan z vašim omrežjem z Ethernet kablom. To zmanjša porabo energije in lahko izboljša povezljivost za žične zvočnike.
|
| EQ | Izdelki Sonos so dobavljeni s prednastavljenimi nastavitvami izenačevalnika. Nastavitve zvoka (nizki toni, visoki toni ali glasnost) lahko spremenite, da ustrezajo vašim osebnim željam. Izvedite več |
| Trueplay | Trueplay prilagodi zvok vaši okolici in vsebini. Prenosni izdelki se lahko samodejno uglasijo. Izvedite več |
| Volume Limit (Omejitev glasnosti) | Za vsako sobo lahko nastavite največjo glasnost. Izvedite več |
| Status Light (Statusna lučka) | Prikazuje povezavo zvočnika z WiFi, označuje, kdaj je glasnost izključena, in signalizira napake. Izvedite več |
| Touch Controls (Kontrole na dotik) | Kontrole na dotik na zvočniku lahko onemogočite. To lahko storite, da preprečite, da bi otrok ali radovedna žival pomotoma prilagodila predvajanje ali glasnost. Izvedite več |
| Battery Saver (Varčevanje z baterijo) (samo prenosni izdelki) | Če želite prihraniti življenjsko dobo baterije, lahko nastavite, da se vaš prenosni zvočnik samodejno izklopi namesto, da preide v stanje mirovanja. V aplikaciji Sonos se ne bo prikazal, dokler ga ponovno ne vklopite. |
| Line-In (Linijski vhod) (izdelki Sonos z možnostjo linijskega vhoda) | Ko je projektor, gramofon, stereo ali druga zvočna naprava priključena na izdelek Sonos, lahko prilagodite te nastavitve linijskega vhoda:
|
Dodatna oprema
Poiščite popoln dodatek za vaš sistem Sonos—prilagojen, da se popolnoma prilega vašim izdelkom Sonos.
Za celoten izbor stojal, stenskih nosilcev, polnilnikov in kablov, ki so združljivi s Sonos, si oglejte Dodatna oprema na naši spletni strani.
Stojalo Sonos One
Komplet po meri oblikovanih stojal za zvočnike Sonos One, One SL in Play: 1 zagotavlja elegantno rešitev za postavitev vaših prostorskih zvočnikov za domači kino.
- Vdolbina v steblu skrije napajalni kabel zvočnika za preprosto upravljanje kablov.
- Trdna konstrukcija. Osnova ima povečano strukturno stabilnost za odpravo nihanja, odbijači pa pritrdijo vaše zvočnike na svoje mesto.
- Popolna višina za prostorske zvočnike za domači kino.
- Dimenzije (V x Š x G): 837,8 x 300 x 300 mm
- Teža: 5,58 kg za par; 2,8 kg vsak
Opomba: Za celoten izbor stojal, stenskih nosilcev in kablov, ki so združljivi s Sonos, si oglejte Dodatna oprema na naši spletni strani.
Kaj je v škatli?
Komplet vsebuje par stojal Sonos. Vsak sklop stojala vključuje:
- Osnova
- Steblo
- Platforma za zvočnik
- Spodnji pokrov platforme za zvočnik
- Zgornji pokrov stebla
- Montažni komplet s 4 vijaki (2 srebrna, 2 črna)
Opomba: Zvočniki Sonos se prodajajo ločeno.
Kaj boste potrebovali
- Izvijač Phillips
Nastavite ga
- Vzemite vse iz škatle in postavite osnovo v režo embalaže, da jo stabilizirate za naslednjih nekaj korakov. Izključite zvočnik Sonos in napeljite konec napajalnega kabla zvočnika skozi odprtino v osnovi.
![]()
- Tesno vstavite steblo v osnovo, pri čemer uporabite poravnalne zatiče, da postavite kanal napajalnega kabla spredaj ali zadaj. Uporabite 2 črna vijaka in izvijač Phillips, da pritrdite osnovo.
![]()
- Napeljite napajalni kabel zvočnika skozi platformo zvočnika.
![]()
- Uporabite 2 srebrna vijaka, da pritrdite platformo zvočnika na vrh stebla, pri čemer previdno napeljite napajalni kabel. Pritrdite spodnjo ploščo s kanalom napajalnega kabla na zadnji strani in pritrdite platformo na steblo.
![]()
- Ponovno priključite napajalni kabel v zvočnik in ga postavite na zgornji nosilec, pri čemer povlecite odvečni kabel navzdol z vrha. Privijte vijake in pritrdite zgornji pokrov z zarezo, obrnjeno proti zvočniku.
![]()
- Pritisnite napajalni kabel v steblo, pri čemer delajte od zgoraj navzdol. Povlecite odvečni kabel navzdol z osnove.
![]()
- Rahlo nagnite stojalo naprej, da ovijete odvečni kabel okoli dna osnove. Priključite napajalni kabel zvočnika v steno in uživajte v glasbi!
![]()
Polica za Sonos One
Polica, ki jo je enostavno namestiti za Sonos One, One SL in Play: 1, varno drži vaš zvočnik na mestu—njena zasnova, ki prihrani prostor, zagotavlja namensko mesto za vaš zvočnik.
- Zasnovana za podporo do 3,6 kg (8 lbs).
- Dimenzije (V x Š x G): 22,7 x 260 x 160 mm (0,89 x 10,23 x 6,29 in).
- Teža: 0,45 kg (1 lb)
Opomba: Za celotno izbiro stojal, stenskih nosilcev in kablov, ki so združljivi s Sonos, si oglejte Dodatna oprema na naši spletni strani.
Kaj je v škatli?
- Zgornja polica
- Stenski nosilec
- Spodnji pokrov
- Montažni material
Opomba: Zvočniki Sonos se prodajajo ločeno.
Kaj potrebujete
- Svinčnik
- Izvijač Phillips
- Električni vrtalnik (če je potreben za namestitev)
| Material stene | Predhodno vrtanje | Uporaba stenskih vložkov | Uporaba vijakov |
| Leseni nosilec | Sveder 1/8" / 3 mm | Ne | Da |
| Suha stena (brez nosilca) | Sveder 5/16" / 8 mm | Da | Da |
| Trda stenska plošča ali dvojna plošča | Sveder 5/16" / 8 mm | Da | Da |
| Omet | Sveder 5/16" / 8 mm | Da | Da |
| Beton ali opeka | Sveder 5/16" / 8 mm | Da | Da |
Namestitev
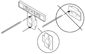
- Postavite stenski nosilec ob steno in označite luknje za vijake. (Prepričajte se, da je črn obroč iz pene na nosilcu obrnjen navzgor.)
![]()
- Če uporabljate stenske vložke, uporabite sveder 5/16" za vrtanje 2 pilotnih lukenj in nato vstavite stenske vložke. Za smernice glejte spodnje informacije o montaži na steno. Sicer ta korak preskočite.
![]()
- Uporabite izvijač Phillips ali električni vrtalnik, da privijete nosilec na steno.
- Postavite polico tako, kot želite (podpira postavitev zvočnika na levo ali desno stran). Pritisnite polico trdno na stenski nosilec, dokler se ne zaskoči (spredaj in zadaj).
![]()
- Napeljite napajalni kabel zvočnika skozi odprtino na polici. (Kabel boste ovili okoli dna police, ko bo sestavljena.)
![]()
- Previdno poravnajte zatiče, nato pa trdno pritisnite spodnji pokrov na polico, dokler se ne zaskoči. Priključite napajalni kabel v zvočnik in ga postavite na vrh police.
![]()
- Ovijte odvečni napajalni kabel okoli dna police.
![]()
- Sestava vaše police je končana—čas je za predvajanje glasbe!
![]()
Nosilec za Sonos One
- Nosilec, ki ga je enostavno namestiti za Sonos One, One SL in Play: 1.
- Drži zvočnik normalno, na glavo ali celo vodoravno.
- Zvočnik se lahko vrti do 45 stopinj.
- Omogoča dostop do priključkov, gumbov in upravljalnih elementov na dotik.
- Čisto usmerja kable vašega zvočnika.
Ta nosilec je namenjen samo za uporabo s Sonos One, One SL in Play: 1.
Kaj je v škatli?
- Nosilec
- Stenski nosilec
- Zgornji pokrovček
- Montažni komplet
Opomba: Zvočniki Sonos se prodajajo ločeno.
Kaj potrebujete
- Svinčnik
- Vodna tehtnica
- Izvijač Phillips
- Električni vrtalnik (če je potreben za mesto namestitve)
| Stenski nosilec | Predhodno vrtanje | Uporaba stenskih vložkov | Uporaba vijakov |
| Leseni nosilec | Sveder 1/8" / 3mm | Ne | Da |
| Suha stena (brez nosilca) | Sveder 5/16" / 8mm | Da | Da |
| Trda stenska plošča ali dvojna plošča | Sveder 5/16" / 8mm | Da | Da |
| Omet | Sveder 5/16" / 8mm | Da | Da |
| Beton ali opeka | Sveder 5/16" / 8mm | Da | Da |
Namestitev
- Postavite stenski nosilec ob steno z vodno tehtnico, da se prepričate, da je navpičen, in označite luknje za vijake.
- Če uporabljate stenske vložke, uporabite sveder 5/16" za vrtanje 2 pilotnih lukenj in nato vstavite stenske vložke.
- Uporabite izvijač Phillips ali električni vrtalnik, da privijete stenski nosilec.
![]()
- Napeljite napajalni kabel zvočnika skozi odprtino na nosilcu in ga priključite v zvočnik. Postavite ga na nosilec.
![]()
- Pritisnite zgornji trak trdno na zvočnik in uporabite izvijač Phillips, da privijete pritrdilni element zgornjega traku na zadnji strani.
![]()
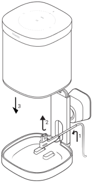
- Potisnite nosilec navzdol na stenski nosilec.
![]()
- Zasukajte zvočnik, da ga postavite na mesto, nato pa ga obrnite desno, da ga varno zaklenete. Obrnite levo za odklepanje.
![Sonos - One SL - Namestitev Namestitev]()
- Napeljite napajalni kabel v stranski kavelj in priključite zvočnik na napajanje.
![]()
Specifikacije
| Funkcija | Opis |
| ZVOK | |
| Ojačevalnik | Dva digitalna ojačevalnika razreda D. |
| Visokotonec | En visokotonec ustvarja jasen in natančen odziv na visoke frekvence. |
| Srednjetonec | En srednjetonec zagotavlja zvesto predvajanje vokalnih frekvenc srednjega razreda ter globok, bogat bas. |
| Stereo par | Spremenite dva zvočnika v ločena zvočnika levega in desnega kanala, da ustvarite širši in globlji zvok. |
| Domači kino | Dodajte dva zvočnika kot prostorska za pravo izkušnjo prostorskega zvoka. |
| OMREŽJE* | |
| Brezžična povezljivost | Povezuje se z omrežjem WiFi s katerim koli usmerjevalnikom, ki oddaja 802.11a/b/g/n 2,4 ali 5 GHz. |
| Ethernet vrata | Ena 10/100Mbps Ethernet vrata. Izdelek Sonos lahko priključite neposredno v usmerjevalnik, če je vaš WiFi nestabilen. |
| SPLOŠNO | |
| Napajanje | Samodejno preklapljanje 100 - 240V ~ 50-60 Hz 1A AC univerzalni vhod |
| Dimenzije (V x Š x G) | 6,36 x 4,69 x 4,69in. (161,45 x 119,7 X 119,7 mm) |
| Teža | 4,08lb (1,85kg) |
| Delovna temperatura | 32° do 104°F (0 do 40°C) |
| Temperatura skladiščenja | -4° do 158°F (-20° do 70°C) |
| Odpornost na vlago | Zasnovan tako, da prenese visoko vlažnost, na primer v kopalnici s tekočo prho. (Ni vodoodporen ali vodoodporen.) |
| Končna obdelava izdelka | Bela z belo mrežico; črna s črno mrežico |
| Vsebina paketa | Sonos One SL, napajalni kabel in vodnik za hiter začetek |
* Specifikacije se lahko spremenijo brez predhodnega obvestila.

Reference
Sonos LED lights | Sonos
Create a stereo pair | Sonos
Add surround speakers to a Sonos home theater | Sonos
Disable or enable Wi-Fi on your Sonos products | Sonos
Adjust the bass, treble, balance, and loudness | Sonos
Tune your Sonos speakers with Trueplay | Sonos
Setting a volume limit on Sonos products | Sonos
Using touch controls on Sonos products | SonosAccessories, Add-Ons, and Extras | Sonos
Accessories, Add-Ons, and Extras | Sonos
Use Line-In on Sonos | Sonos
Prenesi navodilo
Tukaj lahko prenesete polno pdf različico navodila, ki lahko vsebuje dodatna varnostna navodila, informacije o garanciji, FCC pravila itd.
Prenesi Sonos One SL - Priročnik za osnovni zvočnik



















