Vodnik za hiter začetek za Pioneer DEH-S210UI
- 1 Priključki
- 2 Ta enota
- 3 Napajalni kabel
- 4 Ojačevalnik moči
- 5 Namestitev
- 6 Namestitev DIN nosilca
- 7 Osnovno upravljanje
- 8 Operacija nastavitve
- 9 Upravljanje sprejemnika
- 10 Upravljanje CD/USB/iPod/AUX
- 11 Vzpostavitev povezave z aplikacijo Pioneer ARC APP
- 12 Poslušanje Spotify
- 13 Prenesi navodilo
- 14 V drugih jezikih

Priključki
- Pri nameščanju te enote v vozilo brez položaja ACC (dodatna oprema) na kontaktni ključavnici lahko neuspešna povezava rdečega kabla s priključkom, ki zazna delovanje kontaktnega ključa, povzroči praznjenje akumulatorja.
![]()
- Uporaba te enote v pogojih, ki niso naslednji, lahko povzroči požar ali okvaro.
- Vozila z 12-voltno baterijo in negativno ozemljitvijo.
- Ko se izhod zvočnika uporablja s 4 kanali, uporabite zvočnike nad 50 W (največja vhodna moč) in med 4 Ω do 8 Ω (vrednost impedance). Za to enoto ne uporabljajte zvočnikov od 1 Ω do 3 Ω.
- Ko se izhod zadnjega zvočnika uporablja z 2 Ω nizkotonca, uporabite zvočnike nad 70 W (največja vhodna moč).
* Za način povezave glejte priključke.
- Da preprečite kratek stik, pregrevanje ali okvaro, natančno upoštevajte spodnja navodila.
- Pred namestitvijo odklopite negativni pol akumulatorja.
- Žice pritrdite s kabelskimi sponkami ali lepilnim trakom. Ovijte lepilni trak okoli žic, ki pridejo v stik s kovinskimi deli, da zaščitite žice.
- Vse kable namestite stran od gibljivih delov, kot so ročica menjalnika in sedežne letve.
- Vse kable namestite stran od vročih mest, kot je v bližini izhoda grelnika.
- Ne priključujte rumenega kabla na akumulator tako, da ga napeljete skozi luknjo v motornem prostoru.
- Vse odklopljene kabelske priključke prekrijte z izolirnim trakom.
- Ne skrajšujte kablov.
- Nikoli ne prerežite izolacije napajalnega kabla te enote, da bi si delili napajanje z drugimi napravami. Trenutna zmogljivost kabla je omejena.
- Uporabite varovalko predpisane vrednosti.
- Nikoli ne priključujte negativnega kabla zvočnika neposredno na ozemljitev.
- Nikoli ne povezujte negativnih kablov več zvočnikov skupaj.
- Ko je ta enota vklopljena, se krmilni signali pošiljajo prek modro/belega kabla. Priključite ta kabel na daljinski upravljalnik sistema zunanjega ojačevalnika moči ali na krmilni priključek releja za samodejno anteno vozila (maks. 300 mA 12 V DC). Če je vozilo opremljeno s stekleno anteno, jo priključite na napajalni priključek ojačevalnika antene.
- Nikoli ne priključujte modro/belega kabla na napajalni priključek zunanjega ojačevalnika moči. Prav tako ga nikoli ne priključujte na napajalni priključek samodejne antene. To lahko povzroči praznjenje akumulatorja ali okvaro.
- Črni kabel je ozemljitev. Ozemljitvene kable za to enoto in drugo opremo (zlasti izdelke z visokim tokom, kot so ojačevalniki moči) je treba napeljati ločeno. Če niso, lahko nenamerna odklopitev povzroči požar ali okvaro.
- Grafični simbol
na izdelku pomeni enosmerni tok. - Funkcije in zvočne nastavitve, razen nastavitve RCA pre-out, so shranjene v pomnilniku, če je enota odklopljena od napajanja.
Ta enota

- Vhod napajalnega kabla
- Zadnji izhod ali izhod nizkotonca
- Sprednji izhod
- Vhod za anteno
- Varovalka (10 A)
- Žični daljinski vhod
Priključite lahko žični adapter za daljinsko upravljanje (naprodaj posebej).
Napajalni kabel

- Na vhod napajalnega kabla
- Glede na vrsto vozila se lahko funkcija
in
razlikuje. V tem primeru obvezno priključite
na
in
na
. - Rumena
Rezervno (ali dodatno) - Rumena
Priključite na stalni 12 V napajalni priključek. - Rdeča
Dodatno (ali rezervno) - Rdeča
Priključite na priključek, ki ga nadzira kontaktno stikalo (12 V DC). - Priključite žice iste barve med seboj.
- Črna (ozemljitev ohišja)
- Modra/bela
Položaj pina priključka ISO se razlikuje glede na vrsto vozila. Priključite
in
, ko je Pin 5 vrsta krmiljenja antene. Pri drugi vrsti vozila nikoli ne priključujte
in
. - Modra/bela
Priključite na priključek za nadzor sistema ojačevalnika moči (maks. 300 mA 12 V DC). - Modra/bela
Priključite na krmilni priključek releja za samodejno anteno (maks. 300 mA 12 V DC). - Rumena/črna
Če uporabljate opremo s funkcijo Mute (izklop zvoka), priključite to žico na žico Audio Mute (izklop zvoka) na tej opremi. Če ne, pustite žico Audio Mute (izklop zvoka) brez povezav. - Žice zvočnikov
Bela: Spredaj levo![]()
Bela/črna: Spredaj levo![]()
Siva: Spredaj desno![]()
Siva/črna: Spredaj desno![]()
Zelena: Zadaj levo
ali nizkotonec ![]()
Zelena/črna: Zadaj levo
ali nizkotonec ![]()
Vijolična: Zadaj desno
ali nizkotonec ![]()
Vijolična/črna: Zadaj desno
ali nizkotonec ![]()
- Oranžna/bela
Priključite na signal osvetlitve avtomobila. - Priključek ISO
V nekaterih vozilih je lahko priključek ISO razdeljen na dva. V tem primeru se prepričajte, da ste priključili oba priključka.
OPOMBE
- Spremenite začetni meni te enote. Glejte [SP-P/O MODE]. Izhod nizkotonca te enote je mono.
- Ko uporabljate nizkotonec z 2 Ω, se prepričajte, da ste nizkotonec priključili na vijolično in vijolično/črno žico te enote. Ne priključujte ničesar na zeleno in zeleno/črno žico.
Ojačevalnik moči
(naprodaj posebej)
Izvedite te povezave, ko uporabljate izbirni ojačevalnik.

- Daljinski upravljalnik sistema
Priključite na modro/bel kabel. - Ojačevalnik moči (naprodaj posebej)
- Povežite z RCA kabli (naprodaj posebej)
- Na sprednji izhod
- Sprednji zvočnik
- Na zadnji izhod ali izhod nizkotonca
- Zadnji zvočnik ali nizkotonec
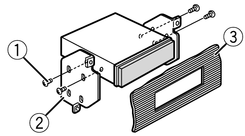
Namestitev
- Pred končno namestitvijo preverite vse povezave in sisteme.
- Ne uporabljajte nepooblaščenih delov, saj lahko to povzroči okvare.
- Posvetujte se s svojim prodajalcem, če namestitev zahteva vrtanje lukenj ali druge spremembe na vozilu.
- Ne nameščajte te enote tam, kjer:
- lahko ovira delovanje vozila.
- lahko povzroči poškodbe potnika zaradi nenadnega ustavljanja.
- Namestite to enoto stran od vročih mest, kot je v bližini izhoda grelnika.
- Optimalno delovanje je doseženo, ko je enota nameščena pod kotom manj kot 60°.
![]()
- Pri nameščanju, da zagotovite pravilno odvajanje toplote pri uporabi te enote, poskrbite, da pustite dovolj prostora za zadnjo ploščo in ovijte vse ohlapne kable, da ne blokirajo zračnikov.
![Pioneer - DEH-S210UI - Namestitev Namestitev]()
Namestitev DIN nosilca
- Vstavite priložen montažni tulec v armaturno ploščo.
- Pritrdite montažni tulec tako, da z izvijačem upognete kovinske jezičke (90°) na svoje mesto.

- Armaturna plošča
- Montažni tulec
- Prepričajte se, da je enota varno nameščena na svoje mesto. Nestabilna namestitev lahko povzroči preskakovanje ali druge nepravilnosti.
Ko ne uporabljate priloženega montažnega tulca
- Določite ustrezen položaj, kjer se luknje na nosilcu in strani enote ujemajo.
![Pioneer - DEH-S210UI - Namestitev DIN nosilca - 2. korak Namestitev DIN nosilca - 2. korak]()
- Privijte dva vijaka na vsaki strani.
- Vijačni vijak (5 mm × 9 mm, ni priložen izdelku)
- Montažni nosilec
- Armaturna plošča ali konzola
Odstranjevanje enote (nameščene s priloženim montažnim tulcem)
- Odstranite okrasni obroč.
- Okrasni obroč
- Zarezan jeziček
- Sprostitev sprednje plošče omogoča lažji dostop do okrasnega obroča.
- Pri ponovnem pritrjevanju okrasnega obroča usmerite stran z zarezo navzdol.
- Vstavite priložene ključe za odstranjevanje v obe strani enote, dokler se ne zaskoči.
- Potegnite enoto iz armaturne plošče.
![Pioneer - DEH-S210UI - Odstranjevanje enote - 2. korak Odstranjevanje enote - 2. korak]()
Osnovno upravljanje
DEH-S210UI

O glavnem meniju
V glavnem meniju lahko prilagodite različne nastavitve.
- Pritisnite gumb M.C., da prikažete glavni meni.
- Obrnite gumb M.C., da izberete eno od spodnjih kategorij, nato pritisnite za potrditev.
- FUNCTION settings (nastavitve FUNKCIJE)
- AUDIO settings (nastavitve ZVOKA)
- SYSTEM settings (nastavitve SISTEMA)
- ILLUMINATION settings (nastavitve OSVETLITVE)
- MIXTRAX settings (nastavitve MIXTRAX)
- Obrnite gumb M.C., da izberete možnosti, nato pritisnite za potrditev.
Pogosto uporabljene operacije
| Namen | Operacija |
| Vklopite napajanje | Pritisnite SRC/OFF za vklop napajanja. Pritisnite in držite SRC/OFF za izklop napajanja. |
| Prilagodite glasnost | Obrnite gumb M.C.. |
| Izberite vir | Večkrat pritisnite SRC/OFF. |
| Spremenite informacije na zaslonu | Večkrat pritisnite DISP. |
| Vrnite se na prejšnji zaslon/seznam | Pritisnite BAND/ . |
| Vrnite se na običajni zaslon iz menija | Pritisnite in držite BAND/ . |
| Spremenite svetlost zaslona | Pritisnite in držite BAND/ . |
| Povečajte raven nizkih tonov | Pritisnite BASS.
|
Operacija nastavitve
Ko po namestitvi vklopite kontaktno ključavnico, se na zaslonu prikaže [SET UP:YES] (nastavitev:da).
- Pritisnite gumb M.C..
- Obrnite gumb M.C., da izberete možnosti, nato pritisnite za potrditev.
Če želite nadaljevati z naslednjo možnostjo menija, morate potrditi svojo izbiro.
| Element menija | Opis |
| LANGUAGE (JEZIK) [ENG] (angleščina), [РУС] (ruščina), [TUR] (turščina) | Izberite jezik za prikaz besedilnih informacij iz stisnjene zvočne datoteke. |
| CLOCK SET (NASTAVITEV URE) | Nastavite uro.
|
| FM STEP (KORAK FM) [100], [50] | Izberite korak uglaševanja FM s 100 kHz ali 50 kHz. |
- [QUIT:YES] (izhod:da) se prikaže, ko so vse nastavitve opravljene.
Če se želite vrniti na prvi element menija za nastavitev, obrnite gumb M.C., da izberete [QUIT:NO] (izhod:ne), nato pritisnite za potrditev. - Pritisnite gumb M.C. za potrditev nastavitev.
Upravljanje sprejemnika
Sprejemanje prednastavljenih postaj
- Pritisnite SRC/OFF, da izberete [RADIO] (radio).
- Pritisnite BAND/
, da izberete frekvenčno območje.
[FM1]
[FM2]
[FM3]
[MW]/[LW] - Pritisnite številčni gumb (1/
do 6/
).
Pomnilnik najboljših postaj (BSM)
- Po izbiri frekvenčnega območja pritisnite gumb M.C., da prikažete glavni meni.
- Obrnite gumb M.C., da izberete [FUNCTION] (funkcija), nato pritisnite za potrditev.
- Obrnite gumb M.C., da izberete [BSM], nato pritisnite za potrditev.
Ročno shranjevanje postaj
- Med sprejemanjem postaje, ki jo želite shraniti, pritisnite in držite enega od številčnih gumbov (1/
do 6/
), dokler ne preneha utripati.
Upravljanje CD/USB/iPod®/AUX
CD
- Vstavite disk v režo za nalaganje diskov z etiketo navzgor.
Če želite izmetati disk, najprej ustavite predvajanje in nato pritisnite
.
USB/iPod
- Odprite pokrov vrat USB.
- Priključite napravo USB/iPod z ustreznim kablom.
MTP povezava
Napravo, nameščeno z operacijskim sistemom Android OS 4.0 ali večino poznejših različic, lahko povežete z enoto prek MTP, z uporabo kabla, priloženega napravi Android. Vendar pa glede na povezano napravo, različico operacijskega sistema ali število datotek v napravi morda ne bo mogoče predvajati zvočnih datotek/pesmi prek MTP.
OPOMBA
Če uporabljate povezavo MTP, mora biti [ANDROID WIRED] (žični ANDROID) v nastavitvah SISTEMA nastavljen na [MEMORY] (pomnilnik).
AUX
- Vstavite stereo mini vtič v vhodni priključek AUX.
- Pritisnite SRC/OFF, da izberete [AUX] kot vir.
Vzpostavitev povezave z aplikacijo Pioneer ARC APP
Pioneerjeva napredna aplikacija spremeni vaš združljiv pametni telefon v zmogljiv zaslon na dotik za daljinsko upravljanje.

Ne poskušajte upravljati aplikacije med vožnjo. Preden poskusite uporabiti kontrole v aplikaciji, se prepričajte, da ste se umaknili s ceste in parkirali vozilo na varnem mestu.
Pri vzpostavljanju povezave z napravo Android
- Vstopite v meni SYSTEM (glejte "O glavnem meniju").
- Obrnite gumb M.C., da izberete [ANDROID WIRED] (ŽIČNO ANDROID), nato pritisnite za potrditev.
- Obrnite gumb M.C., da izberete [APP CONTROL] (UPRAVLJANJE APLIKACIJE), nato pritisnite za potrditev.
- Obrnite gumb M.C., da izberete [P.APP AUTO ON] (SAMODEJNI VKLOP P.APP), nato pritisnite za potrditev.
- Obrnite gumb M.C., da izberete [ON] (VKLOP), nato pritisnite za potrditev.
- Povežite to enoto z napravo prek USB-ja.
Aplikacija Pioneer ARC APP se na napravi Android zažene samodejno.
Pri vzpostavljanju povezave z napravo iPhone
- Povežite to enoto z napravo iPhone prek USB-ja.
- Pritisnite SRC/OFF (VIR/IZKLOP), da izberete kateri koli vir
- Pritisnite in držite gumb M.C.. Aplikacija Pioneer ARC APP se zažene na napravi iPhone.
OPOMBA
Če povezava ne uspe, zaženite aplikacijo Pioneer ARC APP na napravi iPhone.
Poslušanje Spotify®
(Združljivo samo s Spotify, nameščenim na napravi iPhone)
Pred uporabo posodobite vdelano programsko opremo aplikacije Spotify na najnovejšo različico.
Preden začnete, povežite to enoto z mobilno napravo prek USB-ja (samo iPhone).
- Pritisnite SRC/OFF (VIR/IZKLOP), da izberete [SPOTIFY].
- Zaženite aplikacijo Spotify na mobilni napravi in začnite predvajanje.


Prenesi navodilo
Tukaj lahko prenesete polno pdf različico navodila, ki lahko vsebuje dodatna varnostna navodila, informacije o garanciji, FCC pravila itd.
Prenesi Vodnik za hiter začetek za Pioneer DEH-S210UI

na izdelku pomeni enosmerni tok.
in
razlikuje. V tem primeru obvezno priključite
na
na
.
in
, ko je Pin 5 vrsta krmiljenja antene. Pri drugi vrsti vozila nikoli ne priključujte 





.
, da izberete frekvenčno območje.
[FM2]
do 6/
).
.