Focusrite Clarett+ OctoPre - Ses Arabirimi Kılavuzu
- 1 GENEL BAKIŞ
- 2 BAŞLARKEN
- 3 CLARETT+ OCTOPRE'Yİ KULLANMA
-
4
ÖRNEK KURULUMLAR
- 4.1 Ses arabirimi ile Clarett+ OctoPre: Saat lideri olarak OctoPre
- 4.2 Ses arabirimi ile Clarett+ OctoPre: Saat lideri olarak ses arabirimi
- 4.3 Red 8Line ile Clarett+ OctoPre – SMUX-II ve SMUX-IV modları
- 4.4 Analog miksaj masası ile Clarett+ OctoPre
- 4.5 ADAT-Hat modunda Clarett+ OctoPre
- 4.6 Davul kaydetmek için Clarett+ OctoPre'nin insert'lerini kullanma
- 5 CLARETT+ OCTOPRE TEKNİK ÖZELLİKLERİ
- 6 SORUN GİDERME
- 7 TELİF HAKKI VE YASAL UYARILAR
- 8 Referanslar
- 9 Kılavuzu indir
- 10 Diğer Dillerde

GENEL BAKIŞ
Giriş
Eşsiz tamamen analog Air fonksiyonuna sahip sekiz yeni nesil, yüksek tavan boşluğuna sahip, düşük gürültülü, düşük distorsiyonlu Clarett+ mikrofon preamplifikatörü, hassas netlikle mükemmel derecede net kayıtlar yakalamanıza yardımcı olur. Ultra geniş dinamik aralığa sahip bağımsız A-D ve D-A dönüştürücüler, gerçeği duymanızı sağlar ve sizi ve işbirlikçilerinizi müziğinize her zamankinden daha yakın hale getirir.
Clarett+ OctoPre, tüm ekipmanınızı bağlayan ve yüksek kaliteli çoklu kanal kaydını kolaylaştıran stüdyo yükseltmesidir. ADAT aracılığıyla bağlanan Clarett+ 2Pre, Clarett+ 4Pre veya Clarett+ 8Pre ile birlikte kullanıldığında, herhangi bir çok kanallı kayıt oturumu için ideal bir arkadaştır.
Bu Kullanım Kılavuzu, ürünün operasyonel özelliklerini tam olarak anlamanıza yardımcı olmak için donanımın ayrıntılı bir açıklamasını sağlar. Clarett+ OctoPre'nin sunduğu tüm olanakların tam olarak farkında olmak için Kılavuzu okumak için zaman ayırmanızı öneririz.
Özellikler
Clarett+ OctoPre, mikrofonlar, hat ve enstrüman giriş sinyalleriyle kullanım için sekiz kanallı bir preamplifikatördür. Hem analog hem de dijital çıkışlar sağlanır: dijital çıkışlar, optik kablolar kullanılarak herhangi bir ADAT donanımlı arayüze kolayca yönlendirilebilen optik TOSLINK konektörlerinde ADAT formatındadır. Clarett+ OctoPre, 44.1, 48, 88.2 veya 96 kHz örnekleme hızlarında sekiz ses kanalı veya 176.4 veya 192 kHz'de dört kanal iletebilir ve alabilir.
Clarett+ OctoPre, en net ve en güçlü sesi yakalamak için yeni nesil, yüksek performanslı sekiz Clarett+ preamplifikatörüne sahiptir; bu preamplifikatör tasarımı, büyük miktarda tavan boşluğu, düşük distorsiyon ve düşük gürültü sağlar.
Yeni ve geliştirilmiş yüksek performanslı A-D ve D-A dönüştürücüler, her zamankinden daha güçlü kayıtlar yapmak için son derece düşük gürültü ve yüksek dinamik aralıklı ses sağlar. Her kanalda değiştirilebilir kanal insert'leri, Clarett+ OctoPre'yi yaratıcı sürecinizin merkezinde tutar ve word clock girişi, sisteminiz için kolaylık ve güvenilirlik sunar.
ADAT girişleri, kayıt sisteminizin çıkış kanalı sayısını artırmak için bir arayüzün ADAT çıkışına (Clarett+ 8Pre gibi) bağlanmanızı sağlar.
Kutu İçeriği
Clarett+ OctoPre'nizle birlikte şunlara sahip olmalısınız:
- IEC konektörlü AC güç kablosu
Donanım Özellikleri
Ön Panel

- INPUTS 1 & 2 (GİRİŞLER 1 & 2) **SIGNndash; Combo XLR giriş soketleri - mikrofonları, enstrümanları (örneğin, gitar) veya hat seviyesi sinyallerini uygun şekilde XLR veya ¼" jaklar aracılığıyla bağlayın. Enstrümanlar veya hat seviyesi sinyalleri için TRS (dengeli) veya TS (dengesiz) jak fişleri kullanılabilir.
- INST 1 & INST 2 (ENSTRÜMAN 1 & ENSTRÜMAN 2) – Girişleri 1 ve 2'yi "Instrument" (Enstrüman) moduna ayarlamak için iki anahtar. INST seçildiğinde, kazanç aralığı ve giriş empedansı (LINE'a göre) değiştirilir ve giriş dengesiz hale getirilir. Bu, 2 kutuplu (TS) jak fişi aracılığıyla enstrümanların doğrudan bağlantısı için optimize eder. INST kapalı olduğunda, girişler hat seviyesi sinyallerinin bağlantısı için uygundur. Hat seviyesi sinyalleri, 3 kutuplu (TRS) jak aracılığıyla dengeli biçimde veya 2 kutuplu (TS) jak aracılığıyla dengesiz biçimde bağlanabilir. Her anahtarın seçimi doğrulamak için kırmızı bir LED'i vardır.
- 48V – Mikrofon girişleri 1-4 ve 5-8 için Combo konektörlerin XLR kontaklarında 48 V fantom gücünü etkinleştiren iki anahtar. (3 ila 8 arasındaki girişlerin arka panelde olduğuna dikkat edin.) Her anahtar, fantom gücü etkinleştirildiğinde göstermek için kırmızı bir LED'e sahiptir. Tüm mikrofonların fantom gücüne ihtiyaç duymadığını unutmayın. Mikrofonunuzun çalışması için buna ihtiyacı olup olmadığından emin değilseniz, lütfen mikrofon belgelerini okuyun.
- Gain 1 to 8 (Kazanç 1 - 8) – sekiz döner kontrol: sırasıyla Girişler 1 ila 8'deki sinyaller için giriş kazancını ayarlayın.
- O/L – her giriş kanalında kırmızı bir "overload" (aşırı yük) LED'i bulunurSIGN** bu, sinyal seviyesi +19,5 dBu'ya ulaştığında yanar. Kırpmayı önlemek için seviyeyi her zaman LED yanmayacak şekilde ayarlayın.
- INSERT/AIR – kanalın arka panel insert noktasını veya kanalın AIR fonksiyonunu etkinleştiren, kanal başına bir anahtar; bu, INSERT ve AIR ana anahtarlarının [8] ayarına bağlıdır. Her anahtarın ilişkili bir LED'i vardır; bu, INSERT seçildiğinde yeşil veya AIR seçildiğinde sarı yanar.
- Meters (Ölçerler) – a) sekiz analog giriş sinyalinin sinyal seviyelerini (ölçerler 1 ila 8) ve b) MONITOR 1 ve 2 çıkışlarındaki sinyal seviyelerini (ölçerler L ve R) gösteren on 6 segmentli LED ölçer. Giriş ölçerler, giriş kazanç aşamasından sonra sinyal seviyesini gösterir. Çıkış ölçerler, bu nedenle göstergelerini etkilemeyen monitör seviyesi kontrolünden [10] önce sinyal seviyesini gösterir. LED'ler -42'de (yeşil, "sinyal mevcut"), -18 ve -12 dBFS (yeşil), -6 ve -3 dBFS (sarı) ve 0 dBFS'de (kırmızı) yanar. 0 dBFS, dijital kırpmayı ifade eder ve her zaman kaçınılmalıdır.
- INSERT (EKLEME) ve AIR (HAVA) fonksiyon ana anahtarları: kanal başına INSERT/AIR anahtarlarının [6] işlevini belirleyen dahili LED'li (INSERT = yeşil, AIR = sarı) iki anahtar.
- SAMPLE RATE (ÖRNEKLEME HIZI) – altı örnekleme hızı ayarı arasında adım adım ilerleyen bir anahtar. Mevcut hız, yeşil bir LED ile gösterilir. OctoPre, kullanımda olan örnekleme hızını saklar, böylece güç döngüleri boyunca korunur.
- SYNC (SENKRONİZASYON) – üç mevcut dijital senkronizasyon kaynağı (Dahili, ADAT veya Word clock) arasında adım adım ilerleyen bir anahtar, mevcut kaynak bitişik kırmızı LED'lerden biriyle gösterilir. OctoPre, kullanımda olan Senkronizasyon kaynağını saklar, böylece güç döngüleri boyunca korunur.
(Kilitli) – Clarett+ OctoPre'nin dahili saatine veya harici bir dijital girişe saat senkronizasyonunu doğrulayan yeşil bir LED.- ADAT
LINE (HAT) – Devre dışı bırakıldığında, Giriş Kanalları 1 ila 8 hem arka panel LINE OUTPUT (HAT ÇIKIŞI) konektörünü (analog) hem de ADAT çıkış portlarını (dijital) besler. ADAT
LINE modu etkinleştirildiğinde, ADAT giriş portlarında bulunan sinyaller OctoPre'nin LINE OUTPUT (HAT ÇIKIŞI) konektörüne gönderilir. Bu, sisteminize 8 kanallı analog çıkış eklemenizi sağlar. Kırmızı LED, bu modun etkinleştirildiğini doğrular. Bu modda, analog girişler (Kanallar 1 ila 8) ADAT dijital çıkışlarına yönlendirilmiş olarak kalır. Kullanımda olan mod bellekte saklanır, böylece ünite kapatıldığında korunur. - POWER (GÜÇ) – AC güç anahtarı ve LED.
- Clarett+ OctoPre'yi standart bir 19" ekipman rafına monte etmek için raf kulakları.
Arka Panel

- MIC/LINE INPUTS 3 to 8 (MİK/HAT GİRİŞLERİ 3 - 8) – Combo XLR giriş soketleri - daha fazla mikrofon veya hat seviyesi sinyallerini uygun şekilde XLR veya ¼" jaklar aracılığıyla bağlayın. Hat seviyesi sinyalleri için ¼" TRS (dengeli) veya TS (dengesiz) jak fişleri kullanılabilir.
- INSERTS (EKLEMELER) 1 & 2 – Harici bağlamak için bir erişim noktası sağlayan iki ¼" TRS jak soketi Kanallar 1 ve 2'ye işleme ekipmanı. Insert'ler ön panel tarafından etkinleştirilir
INSERT/AIR (EKLEME/HAVA) anahtarları [6] ve [8] ve dengesizdir. Soketler aşağıdaki gibi kablolanmıştır:Jak kontakları Fonksiyon Uç Gönder (çıkış) Halka Dönüş (giriş) Manşon Toprak Ön paneldeki O/L LED'inin [5] insert gönderme öncesinde sinyal seviyesini izlediğini, böylece harici ekipmana aşırı sinyal seviyesi gönderilmediğini unutmayın.
- INSERTS (EKLEMELER) 3 - 8 – Kanallar 3 ila 8 için insert noktalarını sağlayan 6 x ¼" TRS jak soketi; bunlar elektriksel olarak [16] ile aynıdır.
- OPTICAL OUT (OPTİK ÇIKIŞ) – Ünitenin dijital çıkışlarını sağlayan iki TOSLINK konektörü. Kullanımı iki konektör, aşağıdaki gibi örnekleme hızına bağlıdır:
Örnekleme Hızı ÇIKIŞ 1 (RH portu) ÇIKIŞ 2 (LH portu) 44.1/48 kHz Kanallar 1 ila 8 Kanallar 1 ila 8 88.2/96 kHz Kanallar 1 ila 4 Kanallar 5 ila 8 176.4/192 kHz Kanallar 1 ve 2 Kanallar 3 ve 4 - OPTICAL IN (OPTİK GİRİŞ) – ADAT'ta kullanıldığında üniteye dijital girişleri sağlayan iki TOSLINK konektörü
LINE modu. Bunların Kanallar 1 ila 8'e "dijital" girişler OLMADIĞINI ve bu portlara uygulanan sinyallerin AIR devresinden geçmediğini veya insert'lerde bulunmadığını unutmayın. İki konektörün kullanımı [18] gibi örnekleme hızına bağlıdır.
- LINE OUTPUTS 1 to 8 (HAT ÇIKIŞLARI 1 - 8) – 25 pinli dişi D-sub üzerinde sekiz dengeli analog hat çıkışı konektörü. Bu konektör her zaman aktiftir ve normalde Kanalların 1 ila 8 çıkışlarını taşır ve Clarett+ OctoPre'nin bağımsız bir 8 kanallı analog mikrofon pre'si olarak kullanılmasını sağlar. ADAT'ta
LINE modunda, konektör OPTICAL IN (OPTİK GİRİŞ) portlarına [19] uygulanan sinyalleri taşır. Konektörün pin çıkışı, 8 kanallı analog arayüzler için "Tascam" standardını izler: Pin Fonksiyon Pin Fonksiyon 1 Çıkış 8 'sıcak' (+) 14 Çıkış 8 'soğuk' (-) 2 Çıkış 8 Gnd 15 Çıkış 7 'sıcak' (+) 3 Çıkış 7 'soğuk' (-) 16 Çıkış 7 Gnd 4 Çıkış 6 'sıcak' (+) 17 Çıkış 6 'soğuk' (-) 5 Çıkış 6 Gnd 18 Çıkış 5 'sıcak' (+) 6 Çıkış 5 'soğuk' (-) 19 Çıkış 5 Gnd 7 Çıkış 4 'sıcak' (+) 20 Çıkış 4 'soğuk' (-) 8 Çıkış 4 Gnd 21 Çıkış 3 'sıcak' (+) 9 Çıkış 3 'soğuk' (-) 22 Çıkış 3 Gnd 10 Çıkış 2 'sıcak' (+) 23 Çıkış 2 'soğuk' (-) 11 Çıkış 2 Gnd 24 Çıkış 1 'sıcak' (+) 12 Çıkış 1 'soğuk' (-) 25 Çıkış 1 Gnd 13 n/c
- WORD CLOCK OUTPUT (WORD CLOCK ÇIKIŞI) – Clarett+ OctoPre'nin word clock'unu taşıyan bir BNC konektörü; bu diğer dijital ses ekipmanlarını senkronize etmek için kullanılabilir.
- WORD CLOCK IN (WORD CLOCK GİRİŞİ) – Harici bir word clock sinyalinin bağlantısı için bir BNC konektörü; SYNC'yi W/CLOCK'a ayarlayarak seçin. Stüdyonuzdaki tüm dijital ses cihazları için senkronizasyon sağlayan bir Lider referans saatiniz varsa bu girişi kullanın.
- AC şebekesi – standart IEC soketi. Clarett+ OctoPre, "Evrensel" bir güç ile donatılmıştır kaynağı ve 50 veya 60 Hz'de 100 ila 240 V arasındaki herhangi bir AC şebeke voltajından çalışacaktır.
BAŞLARKEN
Clarett+ OctoPre'nizi Kaydetme
Aşağıdaki adımlardan herhangi birinde sorun yaşıyorsanız, lütfen video kılavuzumuzu buradan izleyin:
focusrite.com/get-started/ClarettPlus-OctoPre.
- focusrite.com/register/ adresine gidin.
![Focusrite - Clarett+ OctoPre - BAŞLARKEN - Kayıt - Adım 1 BAŞLARKEN - Kayıt - Adım 1]()
- Zaten bir Focusrite/Novation hesabınız yoksa, HESAP OLUŞTUR'u seçin ve ekrandaki talimatları izleyin.
- Bir hesabınız varsa, giriş yapın ve YENİ BİR ÜRÜN KAYDET'i seçin:
![Focusrite - Clarett+ OctoPre - BAŞLARKEN - Kayıt - Adım 2 BAŞLARKEN - Kayıt - Adım 2]()
- Ürün açılır listesinden Clarett+ cihazınızı seçin ve sayfanın alt kısmına cihazınızın Seri Numarasını girin. Clarett+ OctoPre'nizin seri numarası ünitenin altında bulunabilir. Ardından Seri Numarasını Ayarla'yı tıklayın.
- Cihazınızı kaydetmeyi bitirmek için ekrandaki diğer talimatları izleyin.
- Kayıt tamamlandığında, Ürününüz hesabınızda Donanımım sekmesi altında görünecektir.
- Tüm birlikte verilen yazılımlarınız hesabınızdaki Yazılımım sekmesi altında bulunabilir.
CLARETT+ OCTOPRE'Yİ KULLANMA
Kombo Girişler
Sekiz analog girişin tümü "Kombo XLR" konektörlerini kullanır. Bunlar erkek XLR konektörlerini, TS (dengesiz) ¼" jaklarını veya TRS (dengeli) ¼" jaklarını kabul eder.
Bir XLR konektörü kullandığınızda, preamp otomatik olarak mikrofon seviyesi sinyallerini almak için kazancı ve empedansı yapılandırır. Bir ¼" fiş kullanılıyorsa, preamp dengeli veya dengesiz hat seviyesi sinyallerini kabul eder. INST modunu (1 veya 2 numaralı kanallar) etkinleştirdiğinizde, 1/4" giriş dengesiz, yüksek empedanslı bir sinyal için optimize edilir.
Hat Çıkışları
Clarett+ OctoPre'nin hat çıkışlarını harici ekipmanın (veya başka herhangi bir cihazın) analog hat girişlerine bağlayarak, bunu analog, 8 kanallı bir mikrofon preamplifikatörü veya ADAT
LINE modundayken ADAT sinyalleri için analog bir "break-out kutusu" olarak kullanabilirsiniz.
Çıkışlar dengelidir. Hazır DB25-XLR veya DB25-jak breakout kabloları profesyonel ses tedarikçilerinden temin edilebilir.
Dijital Çıkışlar
TOSLINK optik kabloları kullanarak Clarett+ OctoPre'yi bir ses cihazının ADAT giriş(ler)ine bağlamak için OPTICAL OUT ADAT port(lar)ını [18] kullanın.
Portlar, tek bir optik kablo aracılığıyla 44,1 kHz veya 48 kHz örnekleme hızında sekiz ses kanalı gönderebilir. Bu örnekleme hızlarında, iki port aynı sekiz kanalı taşır.
88,2 kHz veya 96 kHz örnekleme hızlarında, her port dört kanal gönderir. Sağdaki port 1'den 4'e kadar olan kanalları, soldaki port 5'ten 8'e kadar olan kanalları taşır; sekiz kanalın tamamını göndermek için iki TOSLINK kablosuna ihtiyacınız vardır.
176,4 kHz veya 192 kHz örnekleme hızlarında, her port iki kanal iletebilir. Sağdaki port 1 ve 2 numaralı kanalları, soldaki port 3 ve 4 numaralı kanalları taşır. OctoPre, bu örnekleme hızlarında dört dijital ses kanalıyla sınırlıdır; 5'ten 8'e kadar olan kanalların çıkışları ADAT portları aracılığıyla kullanılamaz.
Örnekleme hızı frekansını seçmek için SAMPLE RATE (ÖRNEKLEME HIZI) anahtarını [9] kullanın. Clarett+ OctoPre'de seçilen örnekleme hızının, alıcı dijital cihazda ayarlanan örnekleme hızıyla eşleşmesi önemlidir.
Dijital Senkronizasyon
İki senkronizasyon seçeneği mevcuttur:
Saat lideri olarak Clarett+ OctoPre
OctoPre'yi OPTICAL OUT port(lar)ı aracılığıyla alıcı cihaza bağlayın ve alıcı cihazın saatini ADAT girişinden (ve her iki cihazdaki örnekleme hızlarının eşleştiğinden) aldığından emin olun.
OctoPre'de SYNC (SENKRONİZASYON) INTERNAL (DAHİLİ)'e ayarlanmalı ve
LED'i yanacaktır.
Alternatif bir yöntem, alıcı cihazı bir BNC kablosu kullanarak Clarett+ OctoPre'nin WORD CLOCK OUT'una senkronize etmektir. Alıcı cihazın senkronizasyon kaynağının harici word clock girişine ayarlanması gerekecektir.
Saat takipçisi olarak Clarett+ OctoPre
OctoPre'yi OPTICAL OUT port(lar)ı aracılığıyla arayüzünüze bağlayın ve dijital sistemin word clock liderinden OctoPre'nin WORD CLOCK IN konektörüne bir BNC kablosu bağlayın (ayrıca tüm cihazlardaki örnekleme hızlarının eşleştiğinden emin olun).
OctoPre'de SYNC (SENKRONİZASYON) W/CLOCK'a ayarlanmalı ve
LED'i yanacaktır.
Dijital Girişler
Clarett+ OctoPre'nin ADAT
LINE modunu kullanarak dijital sesi (örneğin, bir DAW'ın çıkışı) analoga dönüştürmeniz gerekiyorsa OPTICAL IN ADAT port(lar)ını [19] kullanın.
Sağdaki port, tek bir optik kablo aracılığıyla 44,1 kHz veya 48 kHz örnekleme hızında sekiz ses kanalı alabilir.
88,2 kHz veya 96 kHz örnekleme hızlarında, her port dört ses kanalı alabilir. Sağdaki port 1'den 4'e kadar olan kanalları, soldaki port 5'ten 8'e kadar olan kanalları taşır; sekiz kanalın tamamını almak için iki TOSLINK kablosuna ihtiyacınız vardır.
176,4 kHz veya 192 kHz örnekleme hızlarında, her port iki ses kanalı alabilir. Sağdaki port 1 ve 2 numaralı kanalları, soldaki port 3 ve 4 numaralı kanalları taşır. OctoPre, bu örnekleme hızlarında dört dijital ses kanalıyla sınırlıdır.
İstenen frekansı seçmek için SAMPLE RATE (ÖRNEKLEME HIZI) anahtarını [9] kullanın. Clarett+ OctoPre'de seçilen örnekleme hızının, ileten dijital cihazda ayarlanan örnekleme hızıyla eşleşmesi önemlidir.
AIR modu
Clarett+ serisindeki tüm modellerin önemli bir özelliği, analog preamplifikatör tasarımıdır. Devre, her kanalda ayrı ayrı seçilebilen bir AIR işlevi içerir. AIR, Focusrite'ın klasik transformatör tabanlı ISA mikrofon preamplifikatörlerinin empedans ve rezonans özelliklerini modellemek için preamplifikatörün frekans yanıtını ince bir şekilde değiştirir. Mikrofonlarla kayıt yaparken, vokaller ve birçok akustik enstrüman için en çok ihtiyaç duyulan orta frekans aralığında gelişmiş bir netlik ve tanım fark edeceksiniz.
Insert'ler
Her preamplifikatör kanalı, kompresörler veya gürültü kapıları gibi harici işleme ekipmanlarını bağlamak için değiştirilebilir bir insert noktası içerir. Insert, bir gönderim ve bir dönüş içerir: INSERT soketinde jak yoksa, kanal sinyal yolu kesintisizdir. Insert gönderimi ve dönüşü her ikisi de dengesizdir. Jakın ucu (gönderim) ve halkası (dönüşü) iki ayrı kabloya bağlanmış bir TRS jakı kullanın; bu tür kablolar (genellikle 'Y-kabloları' olarak anılır) profesyonel ses tedarikçilerinden temin edilebilir.
Insert noktası, AIR devresinden (harici ekipman, AIR tarafından değiştirilmiş bir sinyal alacaktır) ve ön panel GAIN (KAZANÇ) kontrollerinden [4] sonradır. Bir insert noktası kullanırken, harici işlemcinin giriş ve çıkış seviyelerini, dönüş sinyalinin gönderimle yaklaşık aynı seviyede olacak şekilde ayarlamaya çalışın. Harici işlemcinin kazancı çok yüksekse, OctoPre içinde aşırı yüklenme riskiyle karşı karşıya kalırsınız, bu nedenle dönüş sinyali seviyesini kontrol etmek için kanal ölçerlerini [7] kullanın.

INSERT soketine jak takılı değilken kanal yolu kesintisizdir.

INSERT soketine bir TRS jakı takılıyken: Uç insert gönderimi, Halka insert dönüşüdür
Insert noktasını etkinleştirmek için ön paneldeki INSERT/AIR düğmelerini [6] kullanın. (Önce ana anahtarı [8] kullanarak INSERT'i seçin.) Seçimi onaylamak için kanal LED'i yeşil renkte yanacaktır.
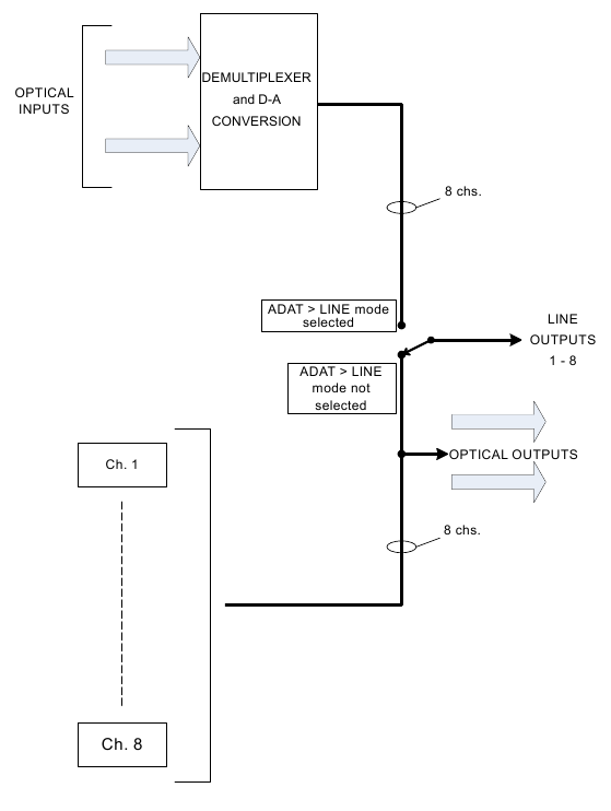
ADAT-Hat moduna
ADAT
LINE modunu (ön panelde [12]) seçmek, analog LINE OUTPUTS D-sub konektörünü [20] besleyen sekiz kaynağı yeniden atar. Normal çalışmada, mikrofon preamplifikatör çıkış kanalları bu D-sub konektöründe mevcuttur; ADAT
LINE modunda, OPTICAL IN port(lar)ındaki ADAT dijital sinyalleri, D-A dönüştürmeden sonra D-sub konektörünü besler.

Bu mod, Clarett+ OctoPre'yi 8 kanallı bir ADAT formatı çıkışını (örneğin, bir DAW'dan) bir dizi analog girişe bağlamak için kullanmanıza olanak tanır. Örneğin, DAW'ınızdaki kanalları miksaj işleminizin bir parçası olarak kullanmak üzere harici ekipmana gönderebilirsiniz.
ADAT
LINE modu etkinleştirildiğinde, sekiz Clarett mikrofon preamplifikatörü hala çalışır durumdadır ve çıkışları OPTICAL OUT portlarında kullanılabilir durumda kalır.
ÖRNEK KURULUMLAR
Ses arabirimi ile Clarett+ OctoPre: Saat lideri olarak OctoPre

Burada Clarett+ OctoPre üzerindeki OPTICAL OUT (OPTİK ÇIKIŞ), tek bir optik kablo ile bir Focusrite Clarett+ 8Pre ses arabirimindeki OPTICAL IN (OPTİK GİRİŞ)'e bağlanır. Her iki ünite de 44,1 kHz örnekleme hızında çalışır. OctoPre'nin saat kaynağı INTERNAL (DAHİLİ) olarak ayarlanmıştır ve 8Pre'nin saat kaynağı ADAT (Focusrite Control aracılığıyla) olarak ayarlandığı için ona senkronizedir.
Bu kurulum, örneğin, bir DAW'da aynı anda 16 adede kadar mikrofon veya hat kaynağının kaydedilmesini sağlar ve canlı bir grubu kaydetmek için idealdir.
Ses arabirimi ile Clarett+ OctoPre: Saat lideri olarak ses arabirimi

Burada Clarett+ OctoPre üzerindeki OPTICAL OUT (OPTİK ÇIKIŞ), tek bir optik kablo ile bir Focusrite Clarett+ 8Pre ses arabirimindeki OPTICAL IN (OPTİK GİRİŞ)'e bağlanır. Her iki ünite de 44,1kHz örnekleme hızında çalışır. OctoPre'nin saat kaynağı W/CLOCK olarak ayarlanmıştır ve WORD CLOCK IN (WORD SAATİ GİRİŞİ) girişi, bir BNC kablosuyla Clarett+ 8Pre üzerindeki WORD CLOCK OUT (WORD SAATİ ÇIKIŞI)'a bağlanır. Clarett+ 8Pre'nin saat kaynağı INTERNAL (DAHİLİ) (Focusrite Control aracılığıyla) olarak ayarlanmıştır, bu da onu senkronizasyon lideri yapar. Ayrıca bir ADAT girişi ve bir word clock çıkışı olan diğer herhangi bir ses arabirimi için de uygun olacaktır.
Red 8Line ile Clarett+ OctoPre – SMUX-II ve SMUX-IV modları

Bu örnek, 2. Örneğe benzer bir kurulumu gösterir, ancak 96 kHz örnekleme hızında ("SMUX-II" modu) çalışan bir Focusrite Red 8Line ses arabirimi kullanır. Her iki ünite de 96kHz'e ayarlanmalıdır; her biri dört ses kanalı taşıyan iki optik kabloya ihtiyacınız vardır. Red 8Line, senkronizasyon lideridir.
Bu kurulum, 192 kHz örnekleme hızı ("SMUX-IV" modu) ile de uygulanabilir; bu durumda her optik kablo iki ses kanalı taşıyacaktır.
Bu örnekteki kurulum, iki ADAT girişi ve bir word clock çıkışı olan diğer herhangi bir 96/192 kHz özellikli ses arabirimi için de uygun olacaktır.
Analog miksaj masası ile Clarett+ OctoPre

Bu kurulum, analog bir miksaj masası için yüksek kaliteli bir "ön uç" sağlamak üzere Clarett+ OctoPre'nin mikrofon preamplifikatörlerini ve AIR modunu kullanır. OctoPre'nin LINE OUT (HAT ÇIKIŞI) soketini miksaj masası üzerindeki sekiz hat girişine bağlamak için 8 yollu bir kablo demeti kullanın; bunun bir ucunda 25 yollu bir D-sub ve diğer ucunda masanın hat girişlerine uygun sekiz konektöre ihtiyacı olacaktır. (Hazır kablo demetleri profesyonel ses tedarikçilerinden temin edilebilir).
Bu kurulum, OctoPre'yi herhangi bir 8 kanallı analog cihazla bir giriş aşaması olarak kullanmak için de uygun olacaktır.
Clarett+ OctoPre'nin ADAT OUT (ADAT ÇIKIŞI) portları her zaman aktif olduğundan, performansı aynı anda bir ADAT arabirimi ile bir DAW'a (veya başka bir kayıt cihazına) da kaydedebilirsiniz.
ADAT-Hat modunda Clarett+ OctoPre

Bu örnek, miksaj için daha fazla sayıda DAW parçasının analog bir miksaj masasına nasıl bağlanacağını gösterir. Bir Red 8Line arabiriminin 8 analog çıkışı, masa Kanalları 1 ila 8'e bağlanır. Red 8Line'ın OPTICAL OUT (OPTİK ÇIKIŞ) portlarını iki Clarett+ OctoPre'nin OPTICAL IN (OPTİK GİRİŞ) portlarına bağlayın ve her ikisinde de ADAT
LINE'ı etkinleştirin. 4. Örnekteki gibi bir kablo demeti, iki OctoPre'yi masanın 9 ila 24. Kanallarına bağlamak için kullanılır.
Red 8Line normalde bu durumda senkronizasyon lideri olacaktır, bu nedenle saat kaynağı Internal (Dahili) olarak ayarlanmıştır. Her iki Clarett+ OctoPre'deki saat kaynağı ADAT olarak ayarlanmıştır, bu nedenle her ikisi de ADAT optik bağlantıları aracılığıyla Red 8Line'a senkronize olur.
Bu örnekteki kurulum, yalnızca bir Clarett+ OctoPre kullandıysanız, masaya 16 DAW parçası göndermenize olanak tanır.
Yukarıdaki kanal sayıları, bir Focusrite Red 8Line birincil arabirimini sağlayan 44,1/48 kHz örnekleme hızında geçerlidir.
Davul kaydetmek için Clarett+ OctoPre'nin insert'lerini kullanma

Akustik davulları kaydederken, istediğiniz sesi elde etmek için dinamik kontrolü çeşitli şekillerde kullanabilirsiniz. Sesi kalınlaştırmak için genellikle kick ve trampet davullarına kompresyon eklenirken, davul mikrofonları arasındaki taşmayı en aza indirmek için tomlarda noise gate'ler etkilidir.
Dıştan takma işlemcilere uygun olarak bir ucunda TRS jakı, diğer ucunda iki XLR, TRS jakı veya TS jakı kablolanmış kablo demetleri kullanın. OctoPre ucundaki TRS jakının "ucu" işlemcinin girişine, "halkası" çıkışına gitmelidir.
CLARETT+ OCTOPRE TEKNİK ÖZELLİKLERİ
Performans Özellikleri
| Örnekleme Hızları | |
| Desteklenen örnekleme hızları | 44,1 kHz, 48 kHz, 88,2 kHz, 96 kHz, 176,4 kHz & 192 kHz |
| Mikrofon Girişleri | |
| Frekans Tepkisi | 20 Hz – 20 kHz, +/-<0,03 dB; 20 Hz – 35 kHz, +/-<0,15 dB |
| Dinamik Aralık | Minimum kazançta 118 dB |
| THD+N | -1 dBFS ve 20 dB kazançta -110 dB |
| Gürültü EIN | -129 dBu |
| Maksimum giriş seviyesi | 18 dBu |
| Kazanç Aralığı | 57 dB |
| Hat Girişleri | |
| Frekans Tepkisi | 20 Hz – 20 kHz, +/-<0,05 dB; 20 Hz – 35 kHz, +/-<0,15 dB |
| Dinamik Aralık | Minimum kazançta 118 dB |
| THD+N | -1 dBFS ve minimum kazançta -100 dB |
| Maksimum giriş seviyesi | 26 dBu |
| Kazanç Aralığı | 57 dB |
| Enstrüman Girişleri | |
| Frekans Tepkisi | 20 Hz – 20 kHz, +/-<0,04 dB; 20 Hz – 35 kHz, +/-<0,15 dB |
| Dinamik Aralık (Insert kapalı) | 116 dB |
| THD+N | -1 dBFS ve minimum kazançta -96,5 dB |
| Maksimum giriş seviyesi | 15 dBu |
| Kazanç Aralığı | 57 dB |
| Hat ve Monitör Çıkışları | |
| Frekans Tepkisi | 20 Hz – 20 kHz, +/-<0,02 dB; 20 Hz – 35 kHz, +/-<0,02 dB |
| Dinamik Aralık | 124 dB |
| THD+N | -106 dB |
| Maksimum Çıkış Seviyesi (0 dBFS) | 18 dBu |
Fiziksel ve Elektriksel Özellikler
| Analog Girişler 1 & 2 | |
| Konektörler | Ön panelde "Combo XLR" soketleri; Hat kullanımı için ¼" TRS jakı, Enstrüman kullanımı için ¼" TS jakı. |
| Mikrofon/Hat değiştirme | Otomatik |
| Hat/Enstrüman değiştirme | ön 2 x ön panel anahtarı aracılığıyla |
| Phantom güç | +48V, Chs. 1-4, 5-8 gruplar halinde değiştirilebilir |
| Analog Girişler 3 ila 8 | |
| Konektörler | Arka panelde "Combo XLR" soketleri; Hat kullanımı için ¼" TRS jakı. |
| Mikrofon/Hat değiştirme | Otomatik |
| Phantom güç | +48V, Chs. 1-4, 5-8 gruplar halinde değiştirilebilir |
| Çıkışlar | |
| Analog çıkışlar | 8 x dengeli, arka panelde 25 yollu dişi D-sub |
| Diğer G/Ç | |
| ADAT G/Ç | 4 x TOSLINK optik konektörler: 44,1/48 kHz'de 8 kanal (her iki port) 88,2/96 kHz'de 8 kanal (Chs 1-4, 5-8) 176,2/192 kHz'de 4 kanal (Chs 1 & 2, 3 & 4) |
| Word clock çıkışı | 2,5V (doğru şekilde sonlandırılmış); BNC konektörü |
| Word clock girişi | BNC konektörü |
| Ağırlık ve Boyutlar | |
| G x D x Y | 482 mm (1U) x 44,5 mm x 286 mm 19,0" (1U) x 1,75" x 11,3" |
| Ağırlık | 4,15 kg (9,15 lbs) |
SORUN GİDERME
Clarett+'ınızla başlamanıza yardımcı olması için lütfen ziyaret edin:
focusrite.com/get-started
Clarett+'ınızla ilgili herhangi bir sorunuz varsa veya herhangi bir zamanda yardıma ihtiyacınız olursa, lütfen Yardım Merkezimizi ziyaret edin.
Buradan ayrıca destek ekibimizle de iletişime geçebilirsiniz:
support.focusrite.com
TELİF HAKKI VE YASAL UYARILAR
Focusrite, Clarett ve OctoPre, Focusrite Audio Engineering Ltd.'nin Amerika Birleşik Devletleri ve diğer ülkelerdeki tescilli ticari markalarıdır.
ADAT, ABD ve diğer ülkelerde inMusic Brands'in tescilli ticari markasıdır.
Tascam, TEAC Corporation tarafından geliştirilen tescilli bir formattır.
2022 © Focusrite Audio Engineering Limited. Tüm hakları saklıdır.
focusrite.com

Referanslar
Başlarken | Focusrite
Lütfen giriş yapın | Müşteri Portalı
Başlarken | Focusrite
Ana Sayfa | Focusrite
Kılavuzu indir
Burada kılavuzun tam PDF sürümünü indirebilirsiniz, ek güvenlik talimatları, garanti bilgileri, FCC kuralları vb. içerebilir.
Focusrite Clarett+ OctoPre - Ses Arabirimi Kılavuzu indir

