Maxwell MW-3540 - O'rnatilgan ventilyator qo'llanmasi

Ventilyator xonani sun'iy shamollatish uchun mo'ljallangan
TA'RIF

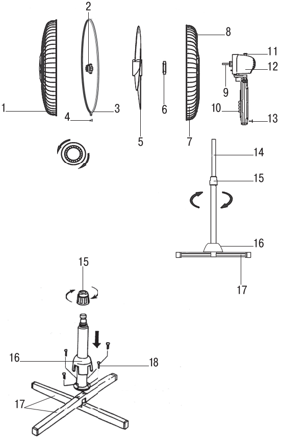
- Old xavfsizlik panjarasi
- Plastik pichoq qisqichi
- Qisqich halqasi
- Mahkamlash vinti
- Pichoqlar
- Orqa panjara plastik mahkamlovchi gayka
- Orqa panjara
- Ventilyatorni ko'tarish dastagi
- Motor o'qi
- Boshqaruv paneli
- Tebranishni yoqish/o'chirish tugmasi
- Motor bloki
- Motor bloki qisqichi
- Teleskopik bar
- Teleskopik bar qisqichi
- Dekorativ panel
- Tayanchlar
- Mahkamlash vintlari
XAVFSIZLIK CHORALARI
Elektr jihozidan foydalanishdan oldin, ushbu qo'llanmani diqqat bilan o'qib chiqing va kelajakda foydalanish uchun saqlab qo'ying.
Qurilmadan faqat ushbu qo'llanmada ko'rsatilgan maqsadlarda foydalaning. Qurilmani noto'g'ri ishlatish uning sinishiga olib kelishi va foydalanuvchiga zarar yetkazishi yoki uning mulkiga zarar yetkazishi mumkin.
- Qurilmani birinchi marta yoqishdan oldin, uy tarmog'ingizning kuchlanishi qurilmaning ish kuchlanishiga mos kelishiga ishonch hosil qiling.
- Qurilmani ishlatishdan oldin, elektr shnurini diqqat bilan tekshiring va uning shikastlanmaganligiga ishonch hosil qiling. Agar elektr shnuri shikastlanganligini aniqlasangiz, qurilmani ishlatmang.
- Ventilyatorni tashqarida ishlatmang.
- Qurilmani issiqlik manbalari yoki ochiq olovdan uzoqda, tekis, quruq va barqaror yuzaga qo'ying.
- Qurilmani suv bilan to'ldirilgan idishlar yaqinida, oshxona lavabosining yonida, nam podvallarda yoki suzish havzasi yaqinida ishlatmang.
- Ventilyatorni, elektr shnurini va elektr vilkasini suvga yoki boshqa suyuqliklarga botirmang.
- Qurilma korpusiga va elektr vilkasiga ho'l qo'llar bilan tegmang.
- Agar ventilyator suvga tushib ketsa, unga tegishdan oldin uni elektrdan uzing va shundan keyingina ventilyatorni suvdan chiqarib olishingiz mumkin. Kafolat sertifikatida va www.maxwell-products.ru veb-saytida ko'rsatilgan kontakt manzillarida qurilmani sinovdan o'tkazish yoki ta'mirlash uchun eng yaqin vakolatli xizmat ko'rsatish markaziga murojaat qiling.
- Elektr shnuri issiq yuzalar va o'tkir mebel qirralari bilan aloqa qilmasligiga ishonch hosil qiling.
- Yig'ilmagan ventilyatorni yoqmang.
- Jarohatlanish yoki qurilmaga zarar yetkazmaslik uchun ventilyatorning himoya panjaralarining teshiklariga hech qanday begona narsalarni kiritmang.
- Ventilyator ishlayotgan vaqtda aylanadigan pichoqlarga tegmang.
- Ventilyatorni pardalar yoki xona o'simliklari yaqiniga qo'ymang.
- Ventilyatordan kelayotgan havo oqimi ostida uzoq vaqt turish tavsiya etilmaydi (ayniqsa, bolalar va keksa odamlar uchun).
- Ishlayotgan qurilmani qarovsiz qoldirmang.
- Tozalashdan oldin va qurilmani ishlatmayotganingizda yoki uni yangi joyga ko'chirishdan oldin ventilyatorni elektrdan uzing.
- Ventilyatorni elektrdan uzayotganda, shnurni emas, balki vilkani torting.
- Qurilmani muntazam ravishda tozalang.
- Bolalarning qurilmani o'yinchoq sifatida ishlatishiga yo'l qo'ymaslik uchun ularni qarovsiz qoldirmang.
- Bolalar xavfsizligi uchun qadoqlash sifatida ishlatiladigan polietilen paketlarni qarovsiz qoldirmang.
DIQQAT! Bolalarning polietilen paketlar yoki qadoqlash plyonkasi bilan o'ynashiga yo'l qo'ymang. Bo'g'ilib qolish xavfi!
- Bolalarning qurilma ishlayotgan vaqtda uning korpusiga va elektr shnuriga tegishiga yo'l qo'ymang.
- Qurilma jismoniy yoki aqliy nuqsoni bo'lgan shaxslar (shu jumladan bolalar) yoki tajribasi yoki bilimi yetarli bo'lmagan shaxslar tomonidan, agar ular o'z xavfsizligi uchun mas'ul bo'lgan shaxsning nazorati ostida bo'lmasa yoki ushbu shaxs tomonidan qurilmadan foydalanish bo'yicha ko'rsatma olmagan bo'lsa, foydalanish uchun mo'ljallanmagan.
- Agar elektr shnuri shikastlangan bo'lsa, xavfni oldini olish uchun uni ishlab chiqaruvchi, texnik xizmat ko'rsatish xizmati yoki shunga o'xshash malakali xodimlar almashtirishi kerak.
- Qurilmani ta'mirlashga urinmang. Agar biron bir nosozlik aniqlansa yoki u tushib ketganidan keyin qurilmani o'zingiz qismlarga ajratmang, qurilmani elektrdan uzing va kafolat sertifikatida va www.maxwell-products.ru veb-saytida ko'rsatilgan kontakt manzillarida har qanday vakolatli xizmat ko'rsatish markaziga murojaat qiling.
- Qurilmani asl qadoqda tashlang.
- Qurilmani bolalar va nogironlar qo'li yetmaydigan quruq salqin joyda saqlang.
QURILMA FAQAT UY SHAROITIDA FOYDALANISH UCHUN MO'LJALLANGAN, UNING TIJORIY FOYDALANILISHI VA ISHLAB CHIQARISH SOHALARIDA VA ISH JOYLARIDA FOYDALANILISHI TAQIQLANADI.
BIRINCHI MARTA FOYDALANISHDAN OLDIN
Qurilmani tashish yoki past haroratda saqlashdan keyin uni kamida uch soat xona haroratida saqlang.
Ventilyator qismlarga ajratilgan holda yetkazib beriladi. Ventilyatorni to'liq yig'ilmaguncha yoqmang.
- Qurilmani qadoqdan chiqaring va uning ishlashiga to'sqinlik qilishi mumkin bo'lgan har qanday stikerlarni olib tashlang.
- Qurilmani shikastlanganligini tekshiring, shikastlangan taqdirda uni ishlatmang.
- Tayanchlarni (17) tekis quruq yuzaga o'zaro o'rnating.
- Teleskopik barni (14) tayanchlarga (17) o'rnating va uni to'rtta mahkamlash vinti (18) bilan mahkamlang.
- Qisqichni (15) soat miliga teskari yo'nalishda aylantirib, burab oling. Qisqichni (15) olib tashlaganingizdan so'ng, dekorativ panelni (16) teleskopik barga (14) o'rnating. Qisqichni (15) bir necha marta soat mili yo'nalishi bo'yicha aylantirib, joyiga qaytaring.
- Barni (14) kerakli balandlikka cho'zing va uni qisqichni (15) soat mili yo'nalishi bo'yicha aylantirib, ozgina kuch bilan mahkamlang.
- Motor blokini (12) teleskopik barga (14) to'qnashguncha o'rnating va uni qisqich (13) bilan mahkamlang, motor bloki qisqichini (13) burayotganda ortiqcha kuch ishlatmang.
- Orqa panjarani (7) motor blokiga (12) o'rnating, motor blokidagi (12) yo'naltirgichlarni panjaradagi (7) tegishli teshiklar bilan moslashtiring.
- Orqa panjaradagi (7) ko'tarish dastagi (8) yuqoriga qaratilgan bo'lishi kerak. Orqa panjarani (7) motor blokiga (12) plastik gayka (6) bilan soat mili yo'nalishi bo'yicha to'qnashguncha burab mahkamlang.
- Pichoqlarni (5) motor o'qiga (7) o'rnating, pichoqlardagi truba bilan motor o'qidagi qisqichni moslashtiring va ularni plastik qisqich (2) bilan soat miliga teskari yo'nalishda aylantirib va pichoqlarni (5) bo'sh qo'lingiz bilan ushlab mahkamlang.
- Gaykani va mahkamlovchi vintni (4) qisqich halqasining (3) uyalariga o'rnating.
- Old panjarani (1) va orqa panjarani (7) moslashtiring, ularni qisqich halqasi (3) bilan mahkamlang va mahkamlovchi vintni (4) mahkam burab qisqich halqasini (3) mahkamlang.
Eslatma! Ventilyatorning panjarasini oson yig'ish uchun avval qisqich halqasini (3) orqa panjaraga (7) o'rnating va mahkamlovchi vintni (4) ozgina mahkamlang. Old panjaraning (1) pastki qismini qisqich halqasiga (3) o'rnating. Keyin old panjaraning (1) pastki qismini qisqich halqasiga (3) bosing va ikkala panjarani ikki tomondan siqib, panjarani (1) qisqich halqasi ostiga o'rnating. Mahkamlovchi vintni (4) mahkamlang.
- Ventilyator ishlashga tayyor.
VENTILYATORDAN FOYDALANISH
- Tarmoqning kuchlanishi qurilmaning ish kuchlanishiga mos kelishiga ishonch hosil qiling.
- Boshqaruv panelidagi (10) "0" tugmasini bosib, ventilyator o'chirilganligiga ishonch hosil qiling.
- Motor blokining (12) og'ish burchagini o'zgartirishingiz mumkin. Uni bo'shatish uchun qisqichni soat miliga teskari yo'nalishda aylantiring va motor blokining (12) kerakli og'ish burchagini o'rnating, qisqichni soat mili yo'nalishi bo'yicha aylantirib tanlangan og'ish burchagini mahkamlang.
- Elektr vilkasini tarmoq rozetkasiga ulang.
- Boshqaruv panelidagi (10) tugmalarni bosib, pichoqlarning (5) kerakli aylanish tezligini tanlang:
"0" – ventilyator o'chirilgan;
"1" – pichoqlarning past aylanish tezligi;
"2" – pichoqlarning o'rta aylanish tezligi;
"3" – pichoqlarning yuqori aylanish tezligi; - Motor blokining gorizontal aylanishini yoqish uchun tugmani (11) bosing. Aylanishni o'chirish uchun tugmani (11) yuqoriga torting.
- Qurilmani o'chirish uchun "0" tugmasini (ventilyator o'chirilgan) bosing.
- Elektr vilkasini tarmoq rozetkasidan chiqarib oling.
TOZALASH VA PARVARISH
- Qurilmani o'chiring va elektrdan uzing.
- Ventilyatorni tozalash uchun hech qachon suyuq detarjanlar va abrazivlardan foydalanmang.
- Qurilmani yumshoq quruq mato bilan artib oling.
- Pichoqlarni tozalash uchun old panjarani (1) olib tashlang, oldindan mahkamlovchi vintni (4) bo'shatib va qisqich halqasini (3) olib tashlang. Pichoq qisqichini (2) soat mili yo'nalishi bo'yicha aylantirib burab oling va pichoqlarni (5) olib tashlang.
- Pichoqlarni (5) ozgina namlangan mato bilan tozalang va keyin ularni quruq qilib artib oling.
- Ventilyatorni «Birinchi marta ishlatishdan oldin» bobidagi yig'ish bo'yicha ko'rsatmalarga muvofiq yig'ing.
- Motor blokini (12), elektr shnurini va vilkani suvga yoki boshqa suyuqliklarga botirmang.
SAQLASH
- Qurilmani tarmoqdan uzing va tozalang.
- Agar kerak bo'lsa, ventilyatorni qismlarga ajrating. Mahkamlovchi vintni (4), old panjarani (1) oldindan bo'shatib, qisqich halqasini (3) olib tashlang va keyin pichoqlarni (5) pichoq qisqichini (2) soat mili yo'nalishi bo'yicha aylantirib olib tashlang. Plastik gaykani (6) soat miliga teskari yo'nalishda aylantirib burab oling va orqa panjarani (7) motor blokidan (12) olib tashlang.
- Motor blokini (12) teleskopik bardan (14) olib tashlang. Qisqichni (15) soat miliga teskari yo'nalishda aylantirib burab oling. Qisqichni (15) olib tashlaganingizdan so'ng, dekorativ panelni (16) teleskopik bardan (14) olib tashlang. Mahkamlash vintlarini (18) burab oling va teleskopik barni (14) tayanchlardan (17) uzing. Tayanchlarni (17) uzing.
- Ventilyatorni qutiga soling.
- Qurilmani bolalar va nogironlar qo'li yetmaydigan quruq salqin joyda saqlang.
YETKAZIB BERISH TO'PLAMI
Motor bloki – 1 dona.
Old panjara – 1 dona.
Vint va gayka bilan qisqich halqasi – 1 dona.
Pichoq qisqichi – 1 dona.
Pichoqlar – 1 dona.
Orqa panjara – 1 dona.
Qisqich va dekorativ panel bilan teleskopik bar – 1 dona.
Tayanchlar – 2 dona.
Vint – 4 dona.
Qo'llanma – 1 dona.
TEXNIK XUSUSIYATLARI
Elektr ta'minoti: 220-240 V ~ 50-60 Hz
Nominal kirish quvvati: 35 W
Diametri: 40 sm (16")
QAYTA ISHLASH

Atrof-muhitni muhofaza qilish uchun qurilmani va batareyalarni (agar kiritilgan bo'lsa) tashlamang, xizmat muddati tugagandan so'ng qurilmani va batareyalarni odatdagi maishiy chiqindilar bilan birga tashlamang; keyingi qayta ishlash uchun ixtisoslashtirilgan markazlarga murojaat qiling.
Qurilmani utilizatsiya qilish jarayonida hosil bo'lgan chiqindilar majburiy ravishda yig'ilishi va belgilangan tartibda keyinchalik utilizatsiya qilinishi kerak.
Ushbu mahsulotni qayta ishlash haqida qo'shimcha ma'lumot olish uchun mahalliy munitsipal ma'muriyatga, utilizatsiya xizmatiga yoki ushbu mahsulotni sotib olgan do'konga murojaat qiling.
Ishlab chiqaruvchi qurilmaning umumiy ishlash tamoyillariga ta'sir qilmaydigan dizayn, tuzilish va texnik xususiyatlarni oldindan ogohlantirmasdan o'zgartirish huquqini o'zida saqlab qoladi, shuning uchun qo'llanma va mahsulot o'rtasida ahamiyatsiz farqlar kuzatilishi mumkin. Agar foydalanuvchi bunday farqlarni aniqlasa, yangilangan qo'llanmani olish uchun ular haqida info@maxwell-products.ru elektron pochta orqali xabar bering.
Qurilmaning ishlash muddati 3 yil
Kafolat
Kafolat shartlari haqidagi batafsil ma'lumotni jihoz sotib olingan dilerdan olish mumkin. Ushbu kafolat shartlariga binoan har qanday da'vo arizasi berilganda sotuv cheki yoki kvitansiya taqdim etilishi kerak.
Ushbu mahsulot 2014/30/EU EMC direktivasiga va 2014/35/EU past kuchlanish direktivasiga mos keladi.
Mahsulotning ishlab chiqarilgan sanasi texnik ma'lumotlar jadvalidagi seriya raqamida ko'rsatilgan. Seriya raqami o'n bitta birlikdan iborat raqam bo'lib, birinchi to'rtta raqam ishlab chiqarilgan sanani ko'rsatadi. Misol uchun, 0606ххххххх seriya raqami mahsulot 2006 yil iyun oyida (oltinchi oyda) ishlab chiqarilganligini bildiradi.

Manbalar
Qo'llanmani yuklab olish
Bu yerda siz qo'llanmaning to'liq pdf versiyasini yuklab olishingiz mumkin, u qo'shimcha xavfsizlik ko'rsatmalari, kafolat ma'lumotlari, FCC qoidalari va hokazolarni o'z ichiga olishi mumkin.
Maxwell MW-3540 - O'rnatilgan ventilyator qo'llanmasi ni yuklab olish