Hunter SRC Plus - Turar joy/Yengil tijorat irrigatsiya kontrolleri uchun qo'llanma
- 1 KIRISH
- 2 SRC PLUS KOMPONENTLARI
- 3 KONROLLERNI DEVORGA O'RNATISH
- 4 VALFLARNI VA TRANSFORMATORNI ULASH
- 5 BATAREYANI ULASH
- 6 ASOSIY VALFNI ULASH
- 7 NASOSNI ISHGA TUSHIRISH RELESINI ULASH
- 8 OB-HAVO SENSORINI ULASH
- 9 SRR yoki ICR masofadan boshqarish pultini ulash (qo'shilmagan)
- 10 HUNTER Irrigation Management and Monitoring System ga ulanish (qo'shilmagan)
- 11 ELEKTR TA'MINOTIDA UZILISHLAR
- 12 SPRINKLER TIZIMINING ASOSLARI
- 13 SUG'ORISH JADVALIDAN YARATISH
- 14 SUG'ORISH JADVALI FORMASINI QANDAY TO'LDIRISH KERAK
- 15 SUVNI QANDAY REJALASHTIRISH FORMASIGA MISOL
- 16 SUVNI QANDAY REJALASHTIRISH FORMASI
- 17 DASTURLASH ASOSLARI
- 18 DASTURLASH ASOSLARIGA MISOL
-
19
KONTROLLERNI DASTURLASH
- 19.1 Sanani va vaqtni o'rnatish
- 19.2 Dastur boshlanish vaqtlarini o'rnatish
- 19.3 Dastur boshlanish vaqtini yo'q qilish
- 19.4 Stansiyalarning ishlash vaqtini sozlash (har bir hudud uchun sug'orish davomiyligi)
- 19.5 Sug'orish kunlarini belgilash
- 19.6 Haftaning ma'lum kunlarida sug'orishni tanlash
- 19.7 Toq yoki juft kunlarni tanlash
- 19.8 Ishga tushirish
- 19.9 Tizim o'chirilgan
- 19.10 Bitta stansiyani qo'lda ishga tushirish
- 19.11 Barcha stansiyalarni qo'lda ishga tushirish
- 19.12 Bir teginish bilan qo'lda ishga tushirish va o'tish
- 19.13 Hunter Quick Check
- 19.14 Kontroller xotirasini tozalash / Kontrollerni qayta o'rnatish
- 20 NOSOZLIKNI BARTARAF ETISH BO‘YICHA QO‘LLANMA
- 21 TEXNIK XUSUSIYATLAR
- 22 Qo'llanmani yuklab olish
- 23 Boshqa tillarda

KIRISH
Nihoyat, sizning uyingiz uchun arzon narxdagi kontroller mavjud.
Hunter Industries sizga SRC Plus - turar joy uchun oddiy va ishonchli kontrollerni taqdim etishdan mamnun. Xaridor ehtiyojlarini hisobga olgan holda ishlab chiqilgan SRC Plus soddalashtirilgan terish dasturlash va odatda ikki barobar qimmatga tushadigan kontrollerlarda topiladigan ta'sirchan xususiyatlar to'plamini taklif etadi.
Arzon bo'lishiga qaramay, SRC Plus, shubhasiz, professional darajadagi mahsulotdir. Kontrollerning katta, chiroyli shkafi, himoya eshigi bilan birga, sizning kontrolleringizga ozoda va professional ko'rinish beradi. Va SRC Plus landshaftlar talab qiladigan muhim xususiyatlar (masalan, yomg'ir sensori aylanma sxemasi va asosiy quvvat kuchlanishidan himoya) bilan to'ldirilgan, ammo ko'pincha pudratchining qayta qo'ng'iroq qilishiga olib keladigan keraksiz bezaklar mavjud emas.
SRC Plus shunchalik osonki, ushbu foydalanuvchi qo'llanmasini to'liq o'qib chiqqandan so'ng, o'rnatishdan keyin unga juda kam ehtiyoj sezasiz. Shuningdek, biz keyinroq tezkor ma'lumot olish uchun kontroller eshigi ichida qisqartirilgan ko'rsatma varaqasini kiritdik. Ushbu kontrollerni bir necha marta ishlatganingizdan so'ng, SRC Plus ishni samarali va tejamkorlik bilan bajaradigan mahsulot ekanligiga amin bo'lishingiz mumkin.
SRC Plus asl SRC Plus ning takomillashtirilgan versiyasidir. Qo'shimcha funksiyalar va takomillashtirishlar quyidagilarni o'z ichiga oladi:
- O'chmaydigan xotira
- Kuchliroq elektron sxema
- Bir tegish bilan qo'lda ishga tushirish va oldinga siljish
- Hunter Quick Check™
- Avtomatik qisqa tutashuvdan himoya
SRC PLUS KOMPONENTLARI

Ushbu bo'limda sizga SRC Plus old panelidagi ba'zi komponentlar haqida qisqacha ma'lumot beriladi. Har bir element keyinroq batafsilroq muhokama qilinadi, ammo ushbu bo'lim mavjud turli xil variantlar bilan tanishishda foydali bo'lishi mumkin.
- LCD Displey
Boshlash vaqti - tanlangan boshlash vaqtini aniqlaydi (har bir dastur uchun faqat bitta boshlash vaqti talab qilinadi).
Dastur belgisi - ishlatilayotgan dasturni aniqlaydi A, B yoki C.
Stansiya raqami - hozirda tanlangan stansiya raqamini aniqlaydi.
LCD Displey - turli vaqtlar va qiymatlarni ko'rsatadi.
Ishlash vaqti - individual stansiyalarni sug'orish davomiyligi.
Yil - joriy kalendar yili.
Oy - joriy kalendar oyi.
Kun - joriy kalendar kuni.
Ishlamoqda - sug'orish qachon sodir bo'layotganini ko'rsatadi.
AM/PM - стрелка AM yoki PM vaqtini ajratib turadi.
24 HR - AM va PM dan tashqari 24 soatlik vaqt ham mavjud.
Hafta kuni - sug'oriladigan hafta kunlarini aniqlaydi yoki siz toq yoki juft kunlarda sug'orishni tanlashingiz mumkin.
(Yuqoridagi LCD displey elementlari uchun, strelka kursori miltillayotgan bo'lsa, siz sozlayotgan narsa shu.)
- Boshqaruv tugmalari
Tugma - tanlangan miltillovchi displeyni oshiradi.
Tugma - tanlangan miltillovchi displeyni kamaytiradi.
Tugma - tanlangan miltillovchi displeyni oldinga siljitadi.
Tugma - A, B yoki C dasturini tanlaydi.
- Transformator
120 VAC ulanadigan transformator (SRC -600i va 900i modellarga kiritilgan) kontrollerni 24 VAC bilan ta'minlaydi.
- Boshqaruv terish moslamasi
SRC Plus ning asosiy xususiyati uning aniq, ishlatish uchun qulay terish dizaynidir, bu dasturlashni osonlashtiradi. Barcha asosiy klaviatura funktsiyalari aniq belgilangan bo'lib, boshqa ko'plab kontrollerlarga xos bo'lgan chalkashliklarni yo'q qiladi.
Ishga tushirish - avtomatik va qo'lda ishlash uchun normal terish pozitsiyasi.
Ishga tushirish (Sensor chetlab o'tiladi) - sizning tizimingizga ulangan ixtiyoriy ob-havo sensorini o'chirish uchun ishlatiladi.
Joriy sana/vaqtni o'rnatish - joriy sanani va soat vaqtini o'rnatishga imkon beradi.
Dasturni boshlash vaqtlarini o'rnatish - har bir dasturda 1 dan 4 gacha boshlash vaqtini yoqish imkonini beradi.
Stansiya ishlash vaqtlarini o'rnatish - foydalanuvchiga har bir stansiyaning ishlash vaqtini 0 dan 99 daqiqagacha o'rnatishga imkon beradi.
Sug'orish kunlarini o'rnatish - foydalanuvchiga sug'orish uchun individual kunlarni tanlashga yoki sanaga muvofiq toq yoki juft sug'orish jadvalini tanlashga imkon beradi.
Qo'lda - bitta stansiya - foydalanuvchiga bitta stansiyani bir marta sug'orishni faollashtirish imkonini beradi.
Qo'lda - barcha stansiyalar - foydalanuvchiga barcha stansiyalarni yoki bir nechta tanlangan stansiyalarni bir marta sug'orishni faollashtirish imkonini beradi.
Tizim o'chirilgan - foydalanuvchiga barcha dasturlarni to'xtatishga va terish moslamasi RUN holatiga qaytarilgunga qadar barcha sug'orishni to'xtatishga imkon beradi.
- Simlarni ulash bo'linmasi
Qayta o'rnatish tugmasi - Ushbu tugma kontrollerni qayta o'rnatadi. Barcha dasturlangan ma'lumotlar saqlanib qoladi.
9 voltli batareya - Ishqoriy batareya transformatorga quvvat uzilgan taqdirda kontroller xotirasini saqlaydi. Biroq, batareya sug'orish faoliyatining hech birini ishga tushirmaydi (kiritilmagan). Transformator - Ulanadigan transformatordan keladigan ikkita sim ikkita AC terminaliga ulangan.
Terminal strip maydoni - Transformator va valf simlarini manbalaridan kontrollerga ulash uchun foydalaning.
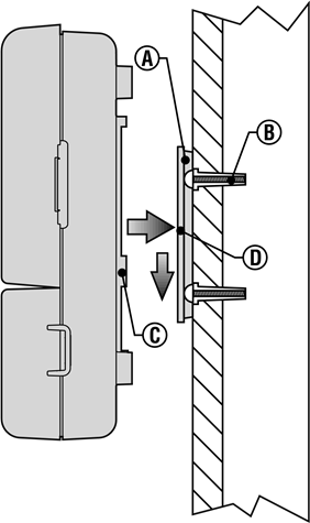
KONROLLERNI DEVORGA O'RNATISH

ESLATMA: SRC Plus suvga yoki ob-havoga chidamli emas. Kontroller yopiq xonalarda yoki himoyalangan joyda o'rnatilishi kerak.
- Standart elektr rozetkasiga imkon qadar yaqin joyni tanlang, bu yorug'lik kaliti bilan boshqarilmaydi. Joylashuv namlik va to'g'ridan-to'g'ri quyosh nurlaridan himoyalangan bo'lishi kerak.
- O'rnatish moslamasini (A) kontroller korpusining orqa tomonidan, moslamani pastga va qurilmadan biroz uzoqlashtirib olib tashlang.
- O'rnatish moslamasini ko'z sathidan biroz pastroqqa joylashtiring. Yuqori qismidagi teshik va pastki qismidagi sirpanish kesmasidan foydalanib, moslamani taqdim etilgan 1" (25 mm) vintlar (B) bilan mahkamlang. Eslatma: Agar o'rnatish moslamasini gipsokarton yoki toshga biriktirayotgan bo'lsangiz, vintli ankerlarni o'rnating.
- Kontroller korpusining orqa tomonidagi tirqishli teshiklarni (C) o'rnatish moslamasidagi relslar (D) bilan tekislang. Kontrollerni asta-sekin moslamadagi holatiga siljiting.
- Kontrollerni pastki markaziy o'rnatish teshigi orqali vint o'rnatish orqali joyida mahkamlang.
VALFLARNI VA TRANSFORMATORNI ULASH

- Boshqaruv simlarini boshqaruv valfi joylashuvi va kontroller o'rtasida yo'naltiring. Odatda 18 AWG ko'p simli sprinkler ulash kabelidan foydalanish tavsiya etiladi. Ulanishning bu turi ko'mish uchun izolyatsiya qilingan va ulanishlaringizni kuzatib borishga yordam berish uchun rang kodlangan.
- Valflarda umumiy simni valfning solenoid simiga ulang. Bu ko'pincha oq rangli simdir. Qolgan solenoid simiga alohida boshqaruv simini ulang va har bir valfga va u boshqaradigan sug'orish stansiyasiga mos keladigan rangni yozib oling.
- Ulanishni himoya qilish uchun simlarni suv o'tkazmaydigan sim konnektori bilan mahkamlang.
- Diagrammada ko'rsatilgan terminal strip maydoniga kirish uchun menteşeli simlarni ulash bo'linmasi eshigini oching.
- Valf simlarini shkafning tagidagi katta teshikdan yoki o'rnatilgan bo'lsa, ½ dyuymli trubadan o'tkazing. Barcha simlarning uchlaridan ¼ dyuymli izolyatsiyani olib tashlang.
- Oq valfning umumiy simini C bilan belgilangan terminaldagi vintga mahkamlang. Valfning umumiy simi ulangan holda, valflardan keladigan rang kodli simlarni tegishli stansiya raqamlariga ulang va vintlarni mahkamlang.
- Transformator kabelini shkafning pastki qismidagi kichik teshikdan o'tkazing va simlarni AC bilan belgilangan ikkita vintga ulang.
ESLATMA: Kontroller o'rnatilmaguncha va barcha valflar ulanmaguncha transformatorni quvvat manbaiga ulamang. |
BATAREYANI ULASH

Batareya AC quvvati mavjud bo'lmasa ham SRC Plus kontrollerni dasturlashga imkon beradi. Biroq, batareya stansiya valflarining hech birini faollashtira olmaydi. Sug'orish davom etishi uchun elektr quvvati qayta tiklanishi kerak. SRC Plus o'chmaydigan xotiraga ega, u elektr uzilishi yuz berganda barcha dastur ma'lumotlarini saqlaydi.
ASOSIY VALFNI ULASH

| |
- Asosiy valfda umumiy simni valfning solenoid simiga ulang. Alohida boshqaruv simini qolgan solenoid simiga ulang va asosiy valfga mos keladigan rangni yozib oling.
- Ushbu simlarni stansiya valflari bilan bir xil tarzda kontrollerga yo'naltiring. Oq umumiy sim hali ham C bilan belgilangan vint uyasiga o'tadi. Asosiy valfdan keladigan qo'shimcha sim MV bilan belgilangan vint uyasiga o'tadi.
NASOSNI ISHGA TUSHIRISH RELESINI ULASH
| |

Kontroller nasosni ishga tushirish relesidan ham, nasosdan ham kamida 15 fut (4,5 m) uzoqlikda o'rnatilishi kerak. Nasosni ishga tushirish relesi yoqilganda, yaqin joyda o'rnatilgan kontrollerga zarar etkazishi mumkin bo'lgan kuchlanishlarni yuboradi. Agar nasos kontroller tomonidan ishlatilishi kerak bo'lsa, nasosni ishga tushirish relesidan foydalanish kerak. Hunter ko'pgina ilovalar uchun nasosni ishga tushirish relelarining to'liq spektrini taklif etadi.
- Nasos relesidan sim juftligini kontroller korpusiga yo'naltiring.
- Umumiy simni C (Umumiy) vint uyasiga va nasos relesidan keladigan qolgan simni MV vint uyasiga ulang.
Rele oqimining iste'moli 0,35 amperdan oshmasligi kerak. Kontrollerni to'g'ridan-to'g'ri nasosga ulamang - kontrollerga zarar yetishi mumkin.
ESLATMA: Agar SRC Plus bilan yomg'ir sensori o'rnatilgan bo'lsa, nasosni ishga tushirish relesi bilan birga, ''NASOSNI ISHGA TUSHIRISH RELESINI ULASH''dagi ko'rsatmalarga amal qiling
OB-HAVO SENSORINI ULASH

Hunter Mini-Clik® yomg'ir sensorini SRC Plus ga ulash mumkin. Ushbu sensorning maqsadi yog'ingarchilik etarli bo'lganda sug'orishni to'xtatishdir. Sensor to'g'ridan-to'g'ri kontrollerga ulanadi va terish moslamasida RUN (SENSORNI CHETLAB O'TISH) holatidan foydalanib, sensorni osongina bekor qilish imkonini beradi.
- Yomg'ir sensoridan keladigan simlarni valf simlarini ulash uchun ishlatiladigan bir xil teshikdan yuqoriga yo'naltiring.
- Yomg'ir sensori simlaridan birini RS terminaliga, ikkinchisini C terminaliga ulang.
- Dala maydonidan keladigan valfning umumiy simini RS terminaliga ulang. Eslatma: Agar nasos relesi ishlatilayotgan bo'lsa, nasos relesining umumiy simi ham RS terminaliga ulanishi kerak.
Ob-havo sensori yomg'irli ob-havo paytida tizimingizni o'chiradi - suvni tejaydi. Ushbu qurilma haqida ko'proq ma'lumot olish uchun o'rnatuvchingizdan so'rang.
Ob-havo sensori chetlab o'tiladi

Ushbu o'rnatilgan xususiyat bilan RUN (SENSORNI CHETLAB O'TISH) mavjud, yomg'ir sensorlaridan foydalanganda qo'shimcha qo'lda chetlab o'tish kalitiga ehtiyoj yo'q. SRC Plus Hunter Mini-Clik®, Rain-Clik™, Freeze-Clik® va bugungi kunda bozorda mavjud bo'lgan boshqa yomg'ir, shamol yoki muzlash sensorlari bilan ishlaydi. Agar sensor tizimning ishlashiga to'sqinlik qilayotgan bo'lsa, terish moslamasini shunchaki RUN (SENSORNI CHETLAB O'TISH) ga aylantiring va ob-havo sensori bekor qilinadi.
SRR yoki ICR masofadan boshqarish pultini ulash (qo'shilmagan)
Hunter SRC Plus SRR yoki ICR masofadan boshqarish tizimi bilan foydalanish uchun masofadan boshqarishga tayyor. Masofadan boshqarish pulti pudratchilar va oxirgi foydalanuvchilar uchun boshqaruvchi oldiga borib kelmasdan tizimni boshqarishni osonlashtiradi.
SRR yoki ICR masofadan boshqarish tizimidan foydalanish uchun SmartPort ® rozetkasini o'rnatishingiz kerak.
- SRC Plusdan taxminan 12 dyuym pastda (30 sm) daladagi sim o'tkazgichiga (PVX trubkasi) ½" ichki rezbali PVX "T" ni o'rnating.
- Jgutning qizil, oq va ko'k simlarini "T" ning tagidan o'tkazib, 1-rasmda ko'rsatilganidek, simlar bo'linmasiga kiriting.
![]()
- Jgut korpusini 1-rasmda ko'rsatilganidek, "T" ga burab qo'ying.
- Terminal bloki joyiga kiring va qizil simni chap AC vint uyasiga, oq simni keyingi AC vint uyasiga va ko'k simni "R" bilan belgilangan vint uyasiga ulang.
![Hunter - SRC Plus - CONNECTING A SRR OR ICR REMOTE CONTROL SRR yoki ICR masofadan boshqarish pultini ulash]()
Simlar jguti endi masofadan boshqarish uchun tayyor. Qo'shimcha ma'lumot olish uchun SRR yoki ICR foydalanuvchi qo'llanmasiga murojaat qiling yoki buyurtma ma'lumotlari uchun mahalliy Hunter distribyutoringizga murojaat qiling.
ESLATMA: Masofadan boshqarish jgutidagi simlarni uzaytirish boshqaruvchi displeyida xatolik xabariga va radio shovqini tufayli masofadan boshqarish moslamasining noto'g'ri ishlashiga olib kelishi mumkin. Ba'zi hollarda, jgutni uzaytirish yaxshi ishlashi mumkin, boshqalarida esa umuman ishlamasligi mumkin (bu saytga bog'liq). Har qanday holatda ham, elektr shovqinining mumkin bo'lgan ta'sirini minimallashtirish uchun simlar jgutini ekranlangan kabel yordamida uzaytirish kerak. O'rnatishni osonlashtirish uchun 25 fut uzunlikdagi ekranlangan kabel bilan yangi Hunter SRR-SCWH SmartPort ® simlar jgutiga buyurtma bering.

HUNTER Irrigation Management and Monitoring System™ ga ulanish (qo'shilmagan)
IMMS™ bilan bir nechta joydagi avtomatik sug'orish tizimlari yoki bitta joydagi bir nechta boshqaruvchilarni odatda har bir boshqaruvchida to'g'ridan-to'g'ri bajariladigan funktsiyalar uchun dasturlash mumkin. Suv quyish kunlarini, ishlash vaqtlarini, ishga tushirish vaqtlarini, tsikl va namlash operatsiyalarini rejalashtirish va boshqa ko'p narsalarni haqiqiy o'rnatishdan uzoqda joylashgan stoldagi bitta kompyuterdan amalga oshirish mumkin. Bundan tashqari, ushbu joylarda ishlatiladigan sug'orishga tegishli bo'lmagan komponentlarning rejalashtirilgan ishlashi ham - masalan, sport maydonlaridagi yoritish tizimlari, savdo markazlaridagi favvoralar - shuningdek, nasoslar va sensorlarni ham bitta markaziy joydan dasturlash va kuzatish mumkin. IMMSning asosiy vazifasi o'zgaruvchan sharoitlarni kuzatish qobiliyatidir. Oqim sensorlari, yomg'ir sensorlari va ob-havoni sezuvchi boshqa qurilmalar kabi opsiyalar yordamida IMMS unga bog'langan har bir joydagi joriy holat to'g'risida hisobotlar olishi va agar ushbu sharoitlardan biri belgilangan chegaralardan oshib ketgan taqdirda zarur tuzatishlar bilan javob berishi mumkin. U Hunter qatoridagi har qanday yoki barcha standart avtomatik boshqaruvchilar bilan - SRC Plusdan Pro-Cgacha ICCgacha bo'lganlar bilan ishlashga qodir. Bundan tashqari, bu kengayib borayotgan boshqaruvchilar tarmog'ini qondirish imkonini beradigan, yangilash oson va arzon bo'lgan tizimdir. IMMS dasturi haqida qo'shimcha ma'lumot olish uchun mahalliy Hunter dileringizga murojaat qiling.
ELEKTR TA'MINOTIDA UZILISHLAR
Elektr ta'minotida uzilishlar bo'lishi mumkinligi sababli, boshqaruvchi dasturni cheksiz saqlash uchun o'chmaydigan xotiraga ega. Agar 9 voltli batareya o'rnatilmagan bo'lsa, elektr uzilib qolganda boshqaruvchi vaqtni muzlatadi va elektr tiklangandan so'ng vaqtni davom ettiradi. Agar batareya o'rnatilgan bo'lsa, 9 voltli batareya zahirasi vaqtni saqlaydi, shunda soat va taqvim bir necha kun davomida buzilmaydi.
SPRINKLER TIZIMINING ASOSLARI
Bugungi kunda ishlab chiqarilgan barcha avtomatik sprinkler tizimlarida uchta asosiy komponent mavjud. Bular boshqaruvchi, klapanlar va sprinklerlar.
Boshqaruvchi butun tizimning samarali ishlashini ta'minlaydi. Texnik jihatdan bu butun tizimning miyasi bo'lib, klapanlarga suvni sprinklerlarga qachon va qancha vaqt davomida yetkazib berishni ko'rsatadi. O'z navbatida, sprinklerlar suvni atrofidagi o'simliklar va maysazorga yo'naltiradi.
Klapan sug'orish stantsiyasi deb ataladigan sprinklerlar guruhini boshqaradi. Ushbu stantsiyalar u yerda mavjud bo'lgan o'simlik turiga, o'simliklarning joylashuviga va joyga quyilishi mumkin bo'lgan suvning maksimal miqdoriga muvofiq tarzda joylashtiriladi. Har bir klapan sim orqali boshqaruvchi ichidagi terminal bloki joyiga ulanadi. Bu yerda sim klapan stantsiya raqamiga mos keladigan raqamga ulanadi.
Boshqaruvchi klapanlarni tartibda, faqat bittasini birdaniga ishlatadi. Klapan sug'orishni tugatgandan so'ng, u dasturlangan keyingi stantsiyaga o'tadi. Ushbu jarayon sug'orish tsikli deb ataladi. Alohida stantsiyalarning sug'orish vaqtlariga va sug'orish qanchalik tez-tez sodir bo'lishiga oid ma'lumotlar dastur deb ataladi.

Klapan 1 – 1-stantsiyani faollashtiradi – Rotorlar old hovli maysazoriga suv sepadi
Klapan 2 – 2-stantsiyani faollashtiradi – Purkagichlar yon tomondagi maysazorga suv sepadi va pufakchalar gullarga suv sepadi
Klapan 3 – 3-stantsiyani faollashtiradi – Rotorlar orqa hovli maysazoriga suv sepadi
Klapan 4 – 4-stantsiyani faollashtiradi – Pufakchalar bog'ga suv sepadi
Klapan 5 – 5-stantsiyani faollashtiradi – Purkagichlar yon tomondagi maysazorga suv sepadi va pufakchalar gullarga suv sepadi
Klapan 6 – 6-stantsiyani faollashtiradi – Purkagichlar old tomondagi burchak maysazoriga suv sepadi
SUG'ORISH JADVALIDAN YARATISH
Ko'pgina iste'molchilar uchun muayyan sug'orish jadvalini boshqaruvchiga dasturlashdan oldin qog'ozga rejalashtirish ancha osonroq. Oson ma'lumot olish uchun dasturlash ma'lumotlaringizning yozma yozuviga ega bo'lish ham foydalidir.
Qachon va qancha vaqt sug'orishni aniqlashda rioya qilish kerak bo'lgan ba'zi ko'rsatmalar mavjud. Ushbu omillar tuproq turi, sug'orilayotgan landshaftning bir qismi, ob-havo sharoitlari va ishlatiladigan sprinklerlar turlari. Sug'orish jadvalingizni belgilaydigan juda ko'p turli xil o'zgaruvchilar mavjudligi sababli, rioya qilish uchun aniq jadvalni berishning iloji yo'q. Biroq, biz sizga boshlashga yordam beradigan ba'zi ko'rsatmalarni kiritdik.
| |
| |
SUG'ORISH JADVALI FORMASINI QANDAY TO'LDIRISH KERAK
Ushbu shaklni to'ldirayotganda qalamdan foydalanishga ishonch hosil qiling. Kiritilgan misol va quyidagi ma'lumotlardan foydalanib, siz shaxsiy suv jadvalingizni tuzish uchun zarur bo'lgan barcha ma'lumotlarga ega bo'lishingiz kerak.
Stantsiya raqami va joylashuvi – Stantsiya raqamini, joylashuvini va sug'orilayotgan o'simlik turini aniqlang.
Sug'orish kuni – Taqvim kunidanmi yoki toq yoki juft kunlik jadvaldanmi foydalanmoqchi ekanligingizni aniqlang. Taqvim kunlik jadvali uchun sug'orish istalgan haftaning kunini aylana ichiga oling. Toq yoki juft kunlik jadval uchun shunchaki mos keladigan katakchani belgilang.
Dasturni ishga tushirish vaqtlari – Dastur boshlanadigan kun vaqtini ko'rsating. Har bir dastur 1 dan 4 gacha ishga tushirish vaqtiga ega bo'lishi mumkin. Biroq, bitta ishga tushirish vaqti butun dasturni ishga tushirishi mumkin.
Stantsiyaning ishlash vaqti – Har bir stantsiya uchun ishlash vaqtini (1 dan 99 minutgacha) ko'rsating. Dasturda ishlamoqchi bo'lmagan har qanday stantsiya uchun "OFF" ni yozing.
Keyinroq tezda ma'lumot olish uchun ushbu jadvalni xavfsiz joyda saqlang, boshqaruvchidagi dastur ma'lumotlarini ko'rib chiqishdan ko'ra.
SUVNI QANDAY REJALASHTIRISH FORMASIGA MISOL
| A DASTUR | B DASTUR | C DASTUR | ||||||||||||||||||||||
| SUV BERISH KUNLARI REJASI | TAQVIM | Ya | Du | Se | Ch | Pa | Ju | Sh | Ya | Du | Se | Ch | Pa | Ju | Sh | Ya | Du | Se | Ch | Pa | Ju | Sh | ||
| X | X | X | X | X | X | X | ||||||||||||||||||
| TOQ/JUFT | TOQ JUFT | TOQ JUFT | TOQ JUFT | |||||||||||||||||||||
| STANSIYA | JOYLASHDHUV | ZONANING ISHLASH VAQTI | ZONANING ISHLASH VAQTI | ZONANING ISHLASH VAQTI | ||||||||||||||||||||
| 1 | Old maysa | 00:15 | 00:00 | 00:00 | ||||||||||||||||||||
| 2 | Yon maysa | 00:15 | 00:00 | 00:00 | ||||||||||||||||||||
| 3 | Orqa maysa | 00:20 | 00:00 | 00:00 | ||||||||||||||||||||
| 4 | Gullar | 00:00 | 00:15 | 00:00 | ||||||||||||||||||||
| 5 | Bog' | 00:00 | 00:00 | 00:20 | ||||||||||||||||||||
| 6 | Old burchak | 00:00 | 00:00 | 01:00 | ||||||||||||||||||||
| 7 | ||||||||||||||||||||||||
| 8 | ||||||||||||||||||||||||
| 9 | ||||||||||||||||||||||||
| DASTUR ISHGA TUSHISH VAQTLARI | 1 | 6:00 AM | 8:00 AM | 5:00 AM | ||||||||||||||||||||
| 2 | O'chirilgan | O'chirilgan | O'chirilgan | |||||||||||||||||||||
| 3 | O'chirilgan | O'chirilgan | O'chirilgan | |||||||||||||||||||||
| 4 | O'chirilgan | O'chirilgan | O'chirilgan | |||||||||||||||||||||
SUVNI QANDAY REJALASHTIRISH FORMASI

DASTURLASH ASOSLARI
Sug'orish dasturi klapanlarni son jihatdan birin-ketin, bir vaqtning o'zida ishlash uchun yaratilishi mumkin. Sug'orish dasturini yaratish uchun quyidagilar talab qilinadi:
- Kontrollerdagi
tugmasini bosib, dasturni (A, B yoki C) tanlang (A dasturidan boshlash tavsiya etiladi). - Dasturning ishga tushish vaqtini o'rnating (sug'orish dasturini faollashtirish uchun faqat bitta dasturning ishga tushish vaqti talab qilinadi).
- Dasturga tayinlangan har bir klapan uchun ishlash vaqtini o'rnating va
- Sug'orish dasturini qaysi kunlarda ishga tushirishni xohlaysiz, o'sha kunlarni o'rnating.
Dasturning ishlashini yaxshiroq tasvirlaydigan misolni kiritdik:
Deylik, sizda dasturning ishga tushish vaqti soat 6:00 ga o'rnatilgan. 1 va 2-stansiyalar 15 daqiqa ishlash vaqtiga, 3-stansiya esa 20 daqiqaga o'rnatiladi. Shuni e'tiborga olingki, 4, 5 va 6-stansiyalar ushbu dasturga kiritilmagan, biz ularni alohida dasturlarda sug'oramiz.
Avvalgi misolimizga qaytsak, soat 6:00 da kontroller sug'orish tsiklini faollashtiradi. 1-stansiyadagi sprinklerlar 15 daqiqa ishlaydi va keyin avtomatik ravishda o'chadi. Kontroller avtomatik ravishda 2-stansiya sprinklerlariga o'tadi. Ushbu sprinklerlar ham 15 daqiqa ishlaydi va keyin o'chadi. Keyin 3-stansiyada sug'orish avtomatik ravishda boshlanadi. Sprinklerlar 20 daqiqa davomida yonadi va avtomatik ravishda o'chadi. 4, 5 va 6-stansiyalar uchun vaqtlar dasturlanmaganligi sababli, kontroller ularni o'tkazib yuboradi. Shu bilan dastur yakunlanadi va suv aylanishi soat 6:50 da tugaydi.
Yuqoridagi misolda ko'rsatilganidek, uch xil stansiyani ishlatish uchun faqat bitta dasturning ishga tushish vaqti talab qilindi. Kontroller qo'shimcha ishga tushirish vaqtlariga ehtiyoj sezmasdan, avtomatik ravishda keyingi stansiyaga o'tadi.
Ko'pgina iste'molchilarning o'simliklarni sug'orish ehtiyojlarida farqlar bo'lishini tushunamiz, shuning uchun Hunterda biz SRC Plus ni uch xil A, B va C dasturlari bilan jihozladik. Ushbu dasturlar bir-biridan butunlay mustaqil va sizga bitta kontrollerda uchta bir vaqtda ishlaydigan taymerga ega bo'lish imkoniyatini beradi.
DASTURLASH ASOSLARIGA MISOL

A dasturining umumiy aylanishi = 50 daqiqa
KONTROLLERNI DASTURLASH
SRC Plus kontrollerini dasturlash oddiy. Tushunarli terish dizayni sizga dasturlash jarayonida qadam tashlash va terishni burish orqali qo'lda sug'orishni faollashtirish imkonini beradi.
SRC Plus displeyi kontroller bo'sh turganda vaqt va kunni ko'rsatadi. Terish aylantirilganda displey o'zgarib, kiritilishi kerak bo'lgan maxsus dasturlash ma'lumotlarini ko'rsatadi. Dasturlash vaqtida displeyning miltillovchi qismini yoki tugmalari orqali o'zgartirish mumkin. Miltillamaydigan narsani o'zgartirish uchun kerakli maydon miltillaguncha tugmani bosing.

SRC Plus shuningdek, kontroller eshigi ichiga biriktirilgan ma'lumotnoma yorlig'ini ham taqdim etadi (yo'qolgan yoki noto'g'ri joylashtirilgan ko'rsatmalar yo'q!). Va purkagich stantsiyasining joylashuvi haqida ma'lumot yozish uchun qo'shimcha joy ajratilgan.
To'liq uchta dastur, ularning har biri to'rtta kunlik boshlanish vaqtiga ega bo'lib, turli xil sug'orish talablarga ega bo'lgan o'simliklarning turli kunlik jadvallarda ajratilishiga imkon beradi. Bir nechta boshlanish vaqtlari ertalab, tushdan keyin va kechqurun sug'orishga imkon beradi, bu yangi gazonlar va chanqoq bir yillik gullarni yaratish uchun juda mos keladi. O'rnatilgan 365 kunlik taqvim soati oylik qayta dasturlashni talab qilmasdan, toq/juft sug'orish cheklovlariga mos keladi. Yoki shunchaki sug'orishni xohlagan haftaning kunlarini belgilang. SRC Plus buni osonlashtiradi.
| |
Kontrollingizda dasturni faollashtirish uchun quyidagi ma'lumotlarni kiritishingiz kerak:
- Joriy kun va vaqtni o'rnating – terishni JORIY SANA/VAQTNI O'RNATISH ga burang.
- Dasturning kunning qaysi vaqtida boshlanishini xohlaysiz – terishni DASTUR BOSHLANISH VAQTLARINI O'RNATISH ga burang.
- Har bir klapan qancha vaqt sug'orilishini o'rnating – terishni STANTSIYA ISHLASH VAQTLARINI O'RNATISH ga burang.
- Dasturning qaysi kun(lar)da sug'orilishini xohlaysiz – terishni SUG'ORISH KUNLARINI O'RNATISH ga burang.
| |
Sanani va vaqtni o'rnatish
- Terishni JORIY SANA/VAQTNI O'RNATISH holatiga burang.
![]()
- Joriy yil displeyda miltillaydi: Yilni o'rnatish uchun
yoki
tugmasidan foydalaning. To'g'ri yilni o'rnatgandan so'ng, oyni o'rnatishga o'tish uchun
tugmasini bosing.
![]()
- Oy va kun displeyda bo'ladi: Oy miltillaydi. Oyni o'rnatish uchun
yoki
tugmasidan foydalaning. Kunni o'rnatishga o'tish uchun
tugmasini bosing.
![]()
- Kun miltillaydi: Oyning kunini o'rnatish uchun
yoki
tugmasidan foydalaning. (Haftaning kuni displeyning pastki qismida kunga ishora qiluvchi strelka bilan avtomatik ravishda ko'rsatiladi.) Vaqtni o'rnatishga o'tish uchun
tugmasini bosing.
![]()
- Vaqt ko'rsatiladi va AMda strelka miltillaydi. AM, PM yoki 24 HRni tanlash uchun
yoki
tugmalarini bosing. Soatlarni o'rnatishga o'tish uchun
tugmasini bosing.
![]()
- Soatlar miltillaydi. Displeyda ko'rsatilgan soatni o'zgartirish uchun
yoki
tugmasini bosing. Daqiqalarni o'rnatishga o'tish uchun
tugmasini bosing.
![]()
- Daqiqalar miltillaydi. Displeyda ko'rsatilgan daqiqalarni o'zgartirish uchun
yoki
tugmasidan foydalaning. Sana, kun va vaqt o'rnatildi va terishni RUN holatiga qaytarish mumkin.
![]()
Dastur boshlanish vaqtlarini o'rnatish
- Terishni DASTUR BOSHLANISH VAQTLARINI O'RNATISH holatiga burang.
![]()
- Zavodda oldindan o'rnatilgan A dasturiga o'rnatilgan. Agar kerak bo'lsa,
tugmasini bosib B yoki C dasturini tanlashingiz mumkin. - Boshlanish vaqtini o'zgartirish uchun
yoki
tugmasidan foydalaning. (Boshlanish vaqtlari 15 daqiqalik qadamlarda oldinga siljiydi.) Vaqtlarni tez o'zgartirish uchun tugmani 1 soniya ushlab turing.
![]()
- Keyingi boshlanish vaqtini tanlash uchun
tugmasini bosing yoki keyingi dastur uchun
ni bosing.
| |
Dastur boshlanish vaqtini yo'q qilish
Terish DASTUR BOSHLANISH VAQTLARINI O'RNATISH holatiga o'rnatilgan holda, 12:00 AM (Yarim tun) ga yetguncha
yoki
tugmasini bosing. Bu yerdan OFF (O'chirish) holatiga yetish uchun bir marta
tugmasini bosing.
| |
Stansiyalarning ishlash vaqtini sozlash (har bir hudud uchun sug'orish davomiyligi)
- Diskni SET STATION RUN TIMES (Stansiyalarning ishlash vaqtini sozlash) holatiga burang.
![]()
- Displeyda oxirgi tanlangan dastur (A, B yoki C), tanlangan stansiya raqami, SET STATION RUN TIMES (Stansiyalarning ishlash vaqtini sozlash) va ushbu stansiya uchun ishlash vaqti miltillaydi.
tugmasini bosib, boshqa dasturga o'tishingiz mumkin. - Displeydagi stansiyaning ishlash vaqtini o'zgartirish uchun
yoki
tugmasidan foydalaning.
tugmasini bosib, keyingi stansiyaga o'ting.- Har bir stansiya uchun 3 va 4-bosqichlarni takrorlang.
- Stansiyalarning ishlash vaqtini 0 dan 99 daqiqagacha sozlash mumkin.
- Xuddi shu stansiyada qolgan holda dasturlar orasida o'tishingiz mumkin. Biroq, keyingi dasturga o'tishdan oldin bitta dasturni to'liq bajarish tavsiya etiladi.
ESLATMA: Dasturlar orasida sakrash chalkashlikka olib kelishi va dasturga kiritishda xatolarga sabab bo'lishi mumkin.
Sug'orish kunlarini belgilash
- Diskni SET DAYS TO WATER (Sug'orish kunlarini belgilash) holatiga burang.
![]()
- Displeyda oxirgi tanlangan dastur (A, B yoki C) ko'rsatiladi.
tugmasini bosib, boshqa dasturga o'tishingiz mumkin. - Kontrollerda hozirda dasturlashtirilgan faol kunlar jadvali haqida ma'lumot ko'rsatiladi. Ushbu disk holati turli sug'orish variantlarini taqdim etadi: haftaning ma'lum kunlarida sug'orishni tanlang yoki faqat toq yoki juft kunlarda sug'orishni tanlang. Har bir dastur faqat bitta turdagi sug'orish kunini tanlash orqali ishlashi mumkin.
Haftaning ma'lum kunlarida sug'orishni tanlash
- O'q kursori STATION RUN TIME YEAR (Stansiyaning ishlash vaqti yil) ma'lum bir kunida (kursor har doim yakshanbadan boshlanadi),
tugmasini bosib, haftaning muayyan kunida sug'orishni faollashtiring. Ushbu kun uchun sug'orishni bekor qilish uchun
tugmasini bosing. Tugmani bosgandan so'ng, kursor avtomatik ravishda keyingi kunga o'tadi.
![]()
- Barcha kerakli kunlar tanlanmaguncha 1-bosqichni takrorlang. Tanlangan kunlarning o'qlari ularning ON (Yoqilgan) holatini ko'rsatish uchun displeyda ko'rsatiladi.
Oxirgi to'liq o'q ushbu dastur uchun sug'orishning oxirgi kunidir.
Toq yoki juft kunlarni tanlash

Ushbu funksiya haftaning ma'lum kunlari o'rniga sug'orish uchun oyning raqamlangan kunidan foydalanadi (toq kunlar 1, 3, 5 va hokazo; juft kunlar 2, 4, 6 va hokazo).
tugmasini displeyda o'q kursori EVEN (Juft) yoki ODD (Toq) tepasida bo'lguncha bosing.- Odd Days (Toq kunlar) yoki Even Days (Juft kunlar)ni tanlash uchun
tugmasini yoki bekor qilish uchun
tugmasini bosing. Agar Odd Days (Toq kunlar) yoki Even Days (Juft kunlar) bekor qilinsa, oldingi tanlangan haftaning kunlari faol holatga qaytadi.
| |
Ishga tushirish
Dasturlash tugagandan so'ng, barcha tanlangan dasturlar va boshlanish vaqtlarini avtomatik ravishda bajarishni yoqish uchun diskni RUN (Ishga tushirish) holatiga burang. Disk RUN (Ishga tushirish) yoki RUN (SENSOR BYPASS) (Sensorni chetlab o'tish) holatida bo'lmasa, sug'orish sodir bo'lmaydi.

Tizim o'chirilgan
Disk ikki soniya davomida SYSTEM OFF (Tizim o'chirilgan) holatiga burilgandan so'ng, hozirda sug'orayotgan klapanlar o'chiriladi.

Barcha faol dasturlar to'xtatiladi va sug'orish to'xtatiladi. Kontrollerni normal avtomatik rejimga qaytarish uchun diskni RUN (Ishga tushirish) holatiga qaytaring.
Bitta stansiyani qo'lda ishga tushirish
- Diskni MANUAL- SINGLE STATION (Qo'lda - bitta stansiya) holatiga burang.
![]()
- Stansiyaning ishlash vaqti displeyda miltillaydi. Keyingi stansiyaga o'tish uchun
tugmasidan foydalaning. Stansiyani sug'orish uchun vaqt miqdorini tanlash uchun
yoki
tugmasidan foydalanishingiz mumkin. - Stansiyani ishga tushirish uchun diskni soat yo'nalishi bo'yicha RUN (Ishga tushirish) holatiga burang (faqat belgilangan stansiya sug'oriladi, so'ngra kontroller oldindan o'rnatilgan dasturda hech qanday o'zgarishsiz avtomatik rejimga qaytadi).
Barcha stansiyalarni qo'lda ishga tushirish
- Diskni MANUAL-ALL STATIONS (Qo'lda - barcha stansiyalar) holatiga burang.
![]()
tugmasini bosib, A, B yoki C dasturini tanlashingiz mumkin.- Kerakli boshlang'ich stansiya ko'rsatilguncha tugmani bosing.
- Stansiyaning ishlash vaqti displeyda miltillaydi. Stansiyani sug'orish uchun ishlash vaqti miqdorini tanlash uchun
yoki
tugmalaridan foydalaning. - Keyingi stansiyaga o'tish uchun
tugmasidan foydalaning. - Har bir stansiyani sozlash uchun 3 va 4-bosqichlarni takrorlang.
- Sug'orishni boshlamoqchi bo'lgan stansiyaga yetguncha
tugmasini bosing. - Diskni RUN (Ishga tushirish) holatiga qaytaring (maxsus dastur sug'oriladi, so'ngra kontroller oldindan o'rnatilgan dasturda hech qanday o'zgarishsiz avtomatik rejimga qaytadi).
ESLATMA: Diskni RUN (Ishga tushirish) holatiga buraganingizda displeyda ko'rsatilgan stansiya birinchi bo'lib ishga tushadi. Keyin kontroller faqat ketma-ket tartibda sug'orishni davom ettiradi. U oldingi stansiyalarni sug'ormaydi. Misol: Agar siz diskni RUN (Ishga tushirish) holatiga displeyda 3-stansiya ko'rsatilayotganida burasangiz. Kontroller dasturdagi 3 dan 9 gacha stansiyalarni sug'oradi, lekin 1 va 2-stansiyalarga qaytmaydi.
Bir teginish bilan qo'lda ishga tushirish va o'tish
Diskdan foydalanmasdan ham barcha stansiyalarni sug'orish uchun faollashtirishingiz mumkin.
tugmasini 2 soniya bosib turing.- Ushbu funksiya avtomatik ravishda A dasturiga o'tadi.
dasturini bosib, B yoki C dasturini tanlashingiz mumkin. - Stansiya raqami miltillaydi. Stansiyalar bo'ylab aylantirish uchun
tugmasini bosing va stansiyalarning ishlash vaqtini sozlash uchun
yoki
tugmalaridan foydalaning. (Agar 2 yoki 3-bosqichda hech qanday tugma bosilmasa, kontroller avtomatik ravishda A dasturini boshlaydi.) - Boshlamoqchi bo'lgan stansiyaga o'tish uchun
tugmasini bosing. 2 soniyalik tanaffusdan so'ng dastur boshlanadi.
Ushbu funksiya qo'shimcha sug'orish zarur bo'lganda yoki tizimingizni tekshirish uchun stansiyalar bo'ylab aylantirmoqchi bo'lsangiz, tezkor tsikl uchun juda yaxshi.
Hunter Quick Check™
Irrigatsiya sohasidagi mutaxassislar doimiy ravishda dasturlarni dalada yanada samarali va ta'sirchan tashxislash usullarini izlashadi. Har bir dala simini potentsial muammolar uchun jismonan tekshirish o'rniga, foydalanuvchi Hunter Quick Check™ (Hunter tezkor tekshiruv) elektr zanjiri testini o'tkazishi mumkin. Ushbu elektr zanjiri diagnostika tartibi juda foydali, chunki u noto'g'ri solenoidlar yoki yalang'och umumiy sim yalang'och stansiya boshqaruv simiga tegib ketganda yuzaga keladigan "qisqa tutashuvlarni" tezda aniqlashga yordam beradi.
Hunter Quick Check test tartibini boshlash uchun;
,
,
va
tugmalarini bir vaqtda bosing. Kutish rejimida LCD barcha segmentlarni ko'rsatadi (displey muammolarini bartaraf etishda foydali). Quick Check test tartibini boshlash uchun
tugmasini bosing. Bir necha soniya ichida tizim stansiya terminallari orqali yuqori oqim yo'lini aniqlash uchun barcha stansiyalarni qidiradi. Dala simlarida qisqa tutashuv aniqlanganda, ERR belgisi oldidan stansiya raqami bir zumda kontroller LCD displeyida miltillaydi. Hunter Quick Check ushbu elektr zanjiri diagnostika tartibini bajarishni tugatgandan so'ng, kontroller avtomatik sug'orish rejimiga qaytadi.
Kontroller xotirasini tozalash / Kontrollerni qayta o'rnatish
Agar siz kontrollerda noto'g'ri dasturlash bo'lgan deb hisoblasangiz, xotirani zavod sozlamalariga qaytaradigan va kontrollerga kiritilgan barcha dasturlar va ma'lumotlarni o'chirib tashlaydigan jarayon mavjud.
,
va
tugmalarini bosib ushlab turing.- Quyi simlar bo'limidagi qayta o'rnatish tugmasini bosing va qo'yib yuboring.
,
va
tugmalarini qo'yib yuboring. Displeyda endi 12:00AM ko'rsatilishi kerak. Barcha xotira tozalandi va kontrollerni endi qayta dasturlash mumkin.
NOSOZLIKNI BARTARAF ETISH BO‘YICHA QO‘LLANMA
| MUAMMO | Sabablari | Yechimlar |
| Kontroller bir xil maydonni bir necha marta sug'oradi yoki doimiy ravishda aylanadi. | Dasturga juda ko'p boshlanish vaqtlari kiritilgan (foydalanuvchi xatosi). | Bitta boshlanish vaqti to'liq aylanishni faollashtiradi. "Dastur vaqtlarini sozlash"ga qarang. |
| Displeyda "No AC" (AC yo'q) yozuvi chiqadi | AC quvvati mavjud emas. | Quvvat yoqilganligini tekshiring. Transformator to'g'ri o'rnatilganligini tekshiring. |
| Displeyda sug'orish ko'rsatilgan, lekin stansiya suv bermaydi. | Noto'g'ri yoki noto'g'ri ulangan klapan | Klapan va klapan simlarini tekshiring. |
| Noto'g'ri nasos yoki nasos o'rni. | Nasos va nasos o'rnini tekshiring. Agar nuqsonli bo'lsa, almashtiring. | |
| Ta'minot uchun suv bosimi yo'q. | Asosiy suv tizimini yoqing. | |
| Displey bo'sh. | Kontrollerga AC quvvati yetib bormaydi. | AC quvvati va simlarni tekshiring. Har qanday xatolarni tuzating. Transformator chiqishini tekshiring. |
| AC quvvati terminalga kelganda va yangi batareya bilan displey bo'sh. | Kontroller quvvat kuchlanishi tufayli shikastlangan bo'lishi mumkin. | Dileringizga qo'ng'iroq qiling. |
| Kun vaqti displeyi miltillaydi. | Qurilma birinchi marta yoqildi. | Vaqt/sanani o'rnating. |
| Zaxira batareyasini batamom quvvatdan chiqargan uzoq muddatli elektr uzilishi yuz berdi. | Batareyani almashtiring va joriy vaqtni qayta dasturlang. | |
| Qisqa muddatli elektr uzilishi yuz berdi, lekin zaxira batareyasi o'lik. | Batareyani almashtiring va joriy vaqtni qayta dasturlang. | |
| Displeyda "ERR" (XATO) yozuvi chiqadi. | Smart port simlar to'plami orqali tizimga elektr shovqini kiradi. | SmartPort® simlar to'plamini tekshiring. Agar simlar uzaytirilgan bo'lsa, ularni ekranlangan kabel bilan almashtirish kerak bo'ladi. Ekranlangan kabel haqida ma'lumot olish uchun mahalliy distribyutoringizga murojaat qiling. |
| Displeyda stansiya raqami va ERR (XATO) yozuvi chiqadi | Klapanga olib boradigan simda nosozlik yuz berdi. | Stansiya simining uzluksizligini tekshiring. Qisqa tutashgan simni almashtiring yoki ta'mirlang. Barcha sim ulanishlari yaxshi va suv o'tkazmasligini tekshiring. |
| Yomg'ir sensori sug'orishni to'xtatmaydi. | Yomg'ir sensori nuqsonli yoki noto'g'ri ulangan. | Sensorning ishlashini va to'g'ri ulanishini tekshiring. |
| Yomg'ir sensori RUN (SENSORNI CHETLAB O'TISH) holatida. | Terishni RUN holatiga qaytaring. | |
| Muzlagan Displey | Quvvat kuchlanishi. | Transformatorni uzing, batareyani chiqarib oling, bir necha soniya kuting, quvvatni qayta ulang va kontrollerni qayta dasturlang. |
| Avtomatik sug'orish boshlanish vaqtida boshlanmaydi va kontroller tizimni o'chirish rejimida emas. | Kun vaqtining AM/PM (ertalab/kechqurun) to'g'ri o'rnatilmagan. | Kun vaqtining AM/PM (ertalab/kechqurun) to'g'rilang. |
| Boshlanish vaqtining AM/PM (ertalab/kechqurun) to'g'ri o'rnatilmagan. | Boshlanish vaqtining AM/PM (ertalab/kechqurun) to'g'rilang. | |
| Boshlanish vaqti o'chirilgan (o'chirilgan deb belgilangan). | Boshlanish vaqtini o'rnating. "Boshlanish vaqtlarini sozlash"ga qarang. | |
| Yomg'ir sensori ishlashga to'sqinlik qilmoqda. | Terishni RUN (SENSORNI CHETLAB O'TISH) holatiga o'tkazing. | |
| Kontroller AC quvvatini olmayapti. | AC ulanishlarini tekshiring. | |
| Klapan yonmaydi. | Sim ulanishlarida qisqa tutashuv. | Qisqa tutashuv yoki noto'g'ri sim ulanishlari uchun simlarni tekshiring. |
| Yomon solenoid | Solenoidni almashtiring. |
TEXNIK XUSUSIYATLAR
Ishlash xususiyatlari
- Stansiyaning ishlash vaqti: 1 daqiqalik qadamlarda 0 dan 99 daqiqagacha
- Boshlanish vaqtlari: Har bir dastur uchun kuniga 4 ta, kunlik 12 tagacha boshlanish uchun
- Sug'orish jadvali: 7 kunlik taqvim yoki 365 kunlik soat/taqvim bilan toq-juft dasturlash
Elektr xususiyatlari
- Transformator kirishi: 120VAC, 60Hz (230VAC, 50/60Hz Xalqaro foydalanish)
- Transformator chiqishi: 26VAC, .75 amps
- Stansiya chiqishi: 24VAC, har bir stansiya uchun .35 amps
- Maksimal chiqish: 24VAC, .75 amps (asosiy klapan davrini o'z ichiga oladi)
- Batareya zaxirasi: 9 voltli ishqoriy batareya (qo'shilmagan)
- Uchta dastur: A, B va C
- O'chmaydigan xotira
O'lchamlar
- Umumiy balandlik: 8¼" (22 sm)
- Kenglik: 8½" (21 sm)
Qo'llanmani yuklab olish
Bu yerda siz qo'llanmaning to'liq pdf versiyasini yuklab olishingiz mumkin, u qo'shimcha xavfsizlik ko'rsatmalari, kafolat ma'lumotlari, FCC qoidalari va hokazolarni o'z ichiga olishi mumkin.
Hunter SRC Plus - Turar joy/Yengil tijorat irrigatsiya kontrolleri uchun qo'llanma ni yuklab olish
ESLATMA: Kontroller o'rnatilmaguncha va barcha valflar ulanmaguncha transformatorni quvvat manbaiga ulamang. 

JUFT













