SONY SA-SW3 - Ръководство за Subwoofer
Относно съвместимите модели за субуфера
Субуферът SA-SW3 работи само със специфичния модел. За информация относно съвместимите модели, посетете уебсайта на Sony.
В тези Инструкции за експлоатация, операциите са описани за субуфера, използван със съвместимия модел HT-A7000 или HT-A9.
Части и контроли
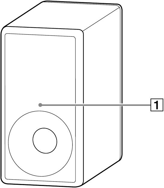
Предна част

- Индикатор за захранване
- Бавно мига (зелено): Субуферът не е свързан към съвместим модел.
- Свети (зелено): Субуферът е свързан към съвместим модел.
- Мига два пъти многократно (зелено): Субуферът се опитва да се свърже към съвместим модел.
- Мига/свети (кехлибарено): Софтуерът се актуализира.
- Свети (червено): Субуферът е в режим на готовност.
- Изключва се: Субуферът е изключен.
Забележка
Яркостта на индикатора за захранване се синхронизира с настройките DIMMER (затъмняване) на съвместим модел.
Задна част

(захранване) бутон- LINK (връзка) бутон
- AC вход
Инсталация
Следната илюстрация е пример за инсталация за използване на субуфера със съвместимия модел HT-A7000 и опционални задни говорители.

- Инсталирайте субуфера на мястото, където искате.
Можете да инсталирате субуфера на мястото, където искате, защото изходният звук от него няма насоченост.
Горната илюстрация е пример за инсталиране на субуфера.
Съвет
За да получите добър съраунд звук, задайте разстоянието на субуфера от позицията си за слушане, като използвате менюто за настройка на съвместим модел.
За подробности вижте Инструкциите за експлоатация, предоставени със съвместим модел.
Връзка
Съвет
Можете да свържете опционалния заден говорител със съвместим модел по следния начин, когато го инсталирате също.
- Включете съвместим модел.
- Свържете AC захранващия кабел (захранващ кабел) (приложен) към субуфера, и след това свържете кабела към AC контактите (мрежови контакти).
![SONY - SA-SW3 - Връзка Връзка]()
- Уверете се, че индикаторът за захранване на субуфера свети в зелено.
Когато индикаторът за захранване свети в зелено, връзката между субуфера и съвместим модел е установена.
Ако връзката не е установена, свържете субуфера към съвместим модел ръчно. За подробности вижте "Ако връзката не е установена автоматично".
![]()
Ако връзката не е установена автоматично
Ако не можете да свържете субуфера към съвместим модел автоматично или използвате няколко съвместими модела и искате да посочите съвместимия модел за свързване на субуфера, извършете ръчната връзка.
Следната операция е описана за субуфера, използван със съвместимия модел HT-A7000 или HT-A9. Използвайте дистанционното управление, предоставено със съвместимия модел HT-A7000 или HT-A9, когато извършвате тази операция.
Ако използвате други съвместими модели, вижте Инструкциите за експлоатация, предоставени с тях.
- Натиснете HOME (начало).
Началният екран се появява на телевизионния екран. - Изберете
[Setup] (настройка) - [Advanced Settings] (разширени настройки) в началното меню. - Изберете [Speaker Settings] (настройки на говорителите) - [Wireless Speaker Settings] (настройки на безжичните говорители) - [Start manual linking] (стартиране на ръчно свързване).
Екранът [Start manual linking] (стартиране на ръчно свързване) се появява на телевизионния екран. - Натиснете LINK (връзка) на субуфера.
Индикаторът за захранване на субуфера, на който е натиснат LINK (връзка), мига два пъти многократно в зелено. - Изберете [Start] (старт).
Ръчната връзка започва.
Процесът на свързване се появява на телевизионния екран. За да отмените ръчната връзка, изберете [Cancel] (отказ). - Когато [Subwoofer] (субуфер) покаже [Connected] (свързан), изберете [Finish] (завършване).
- Натиснете
.
Връзката е установена и индикаторът за захранване на субуфера свети в зелено.
Забележка
- Ако извършите [Start manual linking] (стартиране на ръчно свързване), [Link mode] (режим на връзка) на [Wireless Speaker Settings] (настройки на безжичните говорители) се задава автоматично на [Manual] (ръчно).
- Само говорителите, за които [Connected] (свързан) е показан в Стъпка 6, се свързват към съвместим модел. Ако връзката на субуфера не може да бъде установена, извършете ръчната връзка отново.
Ако безжичното предаване е нестабилно
Ако използвате няколко безжични системи, като например безжична LAN (локална мрежа), безжичните сигнали може да станат нестабилни. В този случай предаването може да бъде подобрено чрез промяна на следната настройка.
Следната операция е описана за субуфера, използван със съвместимия модел HT-A7000 или HT-A9. Използвайте дистанционното управление, предоставено със съвместимия модел HT-A7000 или HT-A9, когато извършвате тази операция.
Ако използвате други съвместими модели, вижте Инструкциите за експлоатация, предоставени с тях.
- Натиснете HOME (начало).
Началният екран се появява на телевизионния екран. - Изберете
[Setup] (настройка) - [Advanced Settings] (разширени настройки) в началното меню. - Изберете [Speaker Settings] (настройки на говорителите) - [Wireless Speaker Settings] (настройки на безжичните говорители) - [RF Channel] (RF канал).
- Изберете желаната настройка.
- [On] (включено) (настройка по подразбиране): Обикновено изберете това. Системата автоматично избира по-добрия канал за предаване. По-силен режим за безжични смущения.
- [Off] (изключено): Системата избира канал от ограничената честотна лента, за да предотврати външни безжични смущения. Ако възникне прекъсване на звука, докато е избрано [On] (включено), това може да бъде подобрено чрез избиране на [Off] (изключено).
Забележка
- Ако промените настройката [RF Channel] (RF канал) от [Off] (изключено) на [On] (включено), може да отнеме 1 минута, за да се свържете отново.
- Съвместим модел може да не отговаря на тази настройка в зависимост от държавите/регионите, където го купувате.
Отстраняване на неизправности
Ако срещнете някое от следните затруднения, докато използвате субуфера, използвайте това ръководство за отстраняване на неизправности, за да помогнете за отстраняване на проблема, преди да поискате ремонт. Ако някой проблем продължава, консултирайте се с най-близкия дилър на Sony.
Не забравяйте да донесете всичките си субуфер, съвместим модел и опционални задни говорители (не са предоставени), дори ако изглежда, че само един има проблем, когато поискате ремонт.
Следните решения са описани за субуфера, използван със съвместимия модел HT-A7000 или HT-A9.
Ако използвате други съвместими модели, вижте Инструкциите за експлоатация, предоставени с тях.
Няма звук или се чува само много слаб звук от субуфера.
- Натиснете SW
+ или BASS (бас) + на дистанционното управление на съвместим модел, за да увеличите силата на звука на субуфера. - Уверете се, че индикаторът за захранване на субуфера свети в зелено.
- Ако индикаторът за захранване на субуфера не свети, опитайте следното.
- Уверете се, че AC захранващият кабел (захранващ кабел) на субуфера е свързан правилно.
- Натиснете
(захранване) на субуфера, за да включите захранването.
- Ако индикаторът за захранване на субуфера мига бавно в зелено или свети в червено, опитайте следното.
- Преместете субуфера на място близо до съвместим модел, така че индикаторът за захранване на субуфера да свети в зелено.
- Следвайте стъпките в "Ако връзката не е установена автоматично".
- Проверете състоянието на безжичната връзка. За подробности вижте Инструкциите за експлоатация, предоставени със съвместим модел.
- Ако индикаторът за захранване на субуфера мига в червено, натиснете
(захранване) на субуфера, за да изключите захранването и проверете дали вентилационните отвори на субуфера са блокирани или не. - Ако входните източници съдържат много малко басови звукови компоненти (т.е. телевизионно излъчване), звукът от субуфера може да бъде труден за чуване. Можете да проверите звука на субуфера, като излъчите тестовия тон.
- Задайте нощния режим на изключен. За подробности вижте Инструкциите за експлоатация, предоставени със съвместим модел.
- Ако промените настройката [RF Channel] (RF канал) от [Off] (изключено) на [On] (включено), може да отнеме 1 минута, за да се изведе звукът.
Звукът прекъсва или има шум.
- Ако наблизо има устройство, което генерира електромагнитни вълни, като например безжична LAN (локална мрежа) или микровълнова печка в употреба, поставете субуфера и съвместимия модел далеч от него.
- Ако има препятствие между субуфера и съвместимия модел, преместете го или го премахнете.
- Поставете субуфера и съвместимия модел възможно най-близо.
- Променете настройката [RF Channel] (RF канал).
- Превключете мрежовата връзка на телевизора или Blu-ray Disc плейъра от безжична към кабелна.
Спецификации
ИЗХОДНА МОЩНОСТ (референтна)
200 W (при 2 ома, 100 Hz)
Говорителна система
Субуферна говорителна система, Bass reflex (бас рефлекс)
Говорител
160 mm конусен тип
Изисквания за захранване
120 V - 240 V AC, 50 Hz/60 Hz
Консумация на енергия
Включен: 40 W
Режим на готовност: 1 W или по-малко
Изключен: 0.5 W или по-малко
Размери (приблизително) (ш/в/д)
201 mm × 382.5 mm × 402 mm (без включена проекционна част)
Маса (приблизително)
9.0 kg
Безжичен предавател/приемник секция
Комуникационна система
Wireless Sound Specification Version 4.0 (Безжична звукова спецификация версия 4.0)
Честотна лента
5 GHz
Метод на модулация
OFDM
Включени елементи
- Субуфер (1)
- AC захранващ кабел (захранващ кабел) (2)
- Инструкции за експлоатация (1)
Важна информация за софтуера
Този продукт съдържа софтуер, който е предмет на GNU General Public License ("GPL") (GNU Общ публичен лиценз) или GNU Lesser General Public License ("LGPL") (GNU По-малък общ публичен лиценз). Те установяват, че клиентите имат право да придобиват, модифицират и разпространяват повторно изходния код на посочения софтуер в съответствие с условията на GPL или LGPL.
За метода за потвърждаване на GPL, LGPL и други софтуерни лицензи, съдържащи се в субуфера, моля, вижте Инструкциите за експлоатация на съвместим модел.
Когато използвате съвместимия модел HT-A7000 или HT-A9, моля, вижте [Software License Information] (информация за софтуерния лиценз) под
[Setup] (настройка) - [Advanced Settings] (разширени настройки) - [System Settings] (системни настройки) в началното меню.
Можете да намерите копие на съответния изходен код, както се изисква съгласно GPLv2 (и други лицензи) на https://oss.sony.net/Products/Linux
Можете да получите изходния код, както се изисква от GPLv2 на физически носител от нас за период от три години след последната ни доставка на този продукт, като кандидатствате чрез формата на https://oss.sony.net/Products/Linux
Тази оферта е валидна за всеки, който получи тази информация.
Моля, обърнете внимание, че Sony не може да отговаря или да отговаря на запитвания относно съдържанието на този изходен код.
Всички други търговски марки са търговски марки на съответните им собственици.
Не инсталирайте субуфера в затворено пространство, като например библиотека или вграден шкаф.
За да намалите риска от пожар, не покривайте вентилационния отвор на субуфера с вестници, покривки за маса, завеси и др.
Не излагайте субуфера на източници на открит пламък (например запалени свещи).
За да намалите риска от пожар или токов удар, не излагайте този субуфер на капки или пръски и не поставяйте предмети, пълни с течности, като например вази, върху субуфера.
Субуферът не е изключен от електрическата мрежа, докато е свързан към AC контакта, дори ако самият субуфер е изключен.
Тъй като главният щепсел се използва за изключване на субуфера от електрическата мрежа, свържете субуфера към лесно достъпен AC контакт. Ако забележите нередност в субуфера, незабавно изключете главния щепсел от AC контакта.
Не поставяйте този продукт близо до медицински устройства
Този продукт (включително аксесоари) има магнит(и), които могат да попречат на пейсмейкъри, програмируеми шънт вентили за лечение на хидроцефалия или други медицински устройства. Не поставяйте този продукт близо до хора, които използват такива медицински устройства. Консултирайте се с Вашия лекар, преди да използвате този продукт, ако използвате такова медицинско устройство.
Само за вътрешна употреба.
Предпазни мерки
Относно безопасността
- Ако някакъв твърд предмет или течност попадне в субуфера, изключете системата от контакта и я проверете от квалифициран персонал, преди да я използвате допълнително.
- Не се качвайте на субуфера, тъй като може да паднете и да се нараните, или може да се повреди субуферът.
Относно източниците на захранване
- Преди да използвате субуфера, проверете дали работното напрежение е идентично с местното захранване. Работното напрежение е посочено на табелката на гърба на субуфера.
- Ако няма да използвате субуфера дълго време, не забравяйте да го изключите от контакта (мрежата). За да изключите AC захранващия кабел (захранващ кабел), хванете самия щепсел; никога не дърпайте кабела.
- Едното острие на щепсела е по-широко от другото с цел безопасност и ще се побере в контакта (мрежата) само по един начин. Ако не можете да поставите щепсела напълно в контакта, свържете се с Вашия дилър.
- AC захранващият кабел (захранващ кабел) трябва да се сменя само в квалифициран сервиз.
Относно натрупването на топлина
- Въпреки че субуферът се нагрява по време на работа, това не е неизправност. Ако използвате този субуфер непрекъснато при висока сила на звука, температурата на субуфера отзад и отдолу се повишава значително. За да избегнете изгаряне, не докосвайте субуфера.
Относно поставянето
- Не поставяйте субуфера близо до източници на топлина или на място, подложено на пряка слънчева светлина, прекомерен прах или механичен удар.
- Не поставяйте метални предмети, различни от телевизор, около субуфера. Безжичните функции може да са нестабилни.
- Ако субуферът се използва в комбинация с телевизор, VCR (видеокасетофон) или касетофон, може да се получи шум и качеството на картината да пострада. В такъв случай поставете субуфера далеч от телевизора, VCR (видеокасетофон) или касетофона.
- Бъдете внимателни, когато поставяте субуфера върху повърхност, която е била специално обработена (с восък, масло, полир и т.н.), тъй като може да се получи оцветяване или обезцветяване на повърхността.
- Говорителите на този субуфер не са от магнитно екраниран тип. Не поставяйте магнитни карти върху субуфера или близо до него.
Ако срещнете цветна неравномерност на близък телевизионен екран
Цветни неравномерности могат да се наблюдават на определени видове телевизори.
Относно почистването
Почистете субуфера с мека, суха кърпа. Не използвайте никакъв вид абразивна подложка, почистващ прах или разтворител като алкохол или бензин.
Ако имате някакви въпроси или проблеми относно Вашата система, моля, консултирайте се с най-близкия дилър на Sony.
©2021 Sony Corporation Printed in Malaysia

Препратки
Изтегли ръководство
Тук можете да изтеглите пълната версия на ръководството в pdf формат, което може да съдържа допълнителни инструкции за безопасност, информация за гаранцията, правила на FCC и др.
Изтегли SONY SA-SW3 - Ръководство за Subwoofer
(захранване) бутон

.
+ или BASS (бас) + на дистанционното управление на съвместим модел, за да увеличите силата на звука на субуфера.