Loewe klang m1 - Manual del altavoz Bluetooth portátil
- 1 Introducción
- 2 Especificación de entrega
- 3 Instrucciones de seguridad
- 4 Conexiones y elementos de operación
- 5 Carga de la batería integrada
- 6 Encendido
- 7 Apagado
- 8 Emparejar la fuente de audio a través de Bluetooth
- 9 Conectar la fuente de audio a través de un cable de audio
- 10 Reproducción de audio
- 11 Función de manos libres
- 12 Modo Jam
- 13 Batería
- 14 Conformidad/Declaración del fabricante
- 15 Detalles legales
- 16 Eliminación
- 17 Datos técnicos
- 18 Referencias
- 19 Descargar manual
- 20 En otros idiomas
Introducción
Loewe representa los más altos estándares de tecnología, diseño y facilidad de uso. Esto se aplica por igual a televisores, audio y accesorios. Ni la tecnología ni el diseño son un fin en sí mismos, sino que ambos están destinados a proporcionar a nuestros clientes la mejor experiencia audiovisual posible. Nuestro diseño no está influenciado por tendencias de moda a corto plazo. Después de todo, usted ha comprado un equipo de alta calidad del que no querrá cansarse mañana ni pasado mañana. Con el objetivo de un uso seguro y a largo plazo sin fallos de su sistema de audio Loewe, antes de poner el equipo en funcionamiento, lea el capítulo - Instrucciones de seguridad.
Especificación de entrega

- Loewe klang m1
- Cable USB/micro-USB
- Guía rápida (Quick Guide)
- Guía de seguridad (Safety Guide)
Instrucciones de seguridad
Para su seguridad y para evitar daños innecesarios a su unidad, por favor, lea y siga las instrucciones de seguridad a continuación: Este dispositivo ha sido construido exclusivamente para uso privado en entornos domésticos. Los servicios de garantía cubren este uso previsto.
No abra el equipo. No hay piezas dentro de la carcasa que puedan ser reparadas por el usuario. Haga que las reparaciones sean realizadas únicamente por distribuidores especialistas de Loewe.
Uso previsto
El equipo está destinado exclusivamente a la reproducción de señales de audio, a través de la interfaz estandarizada Bluetooth o audio IN.
Coloque el equipo sobre una superficie plana y antideslizante para evitar que se caiga o se resbale. Si usa el Loewe klang m1 con el lazo adjunto, tenga cuidado de no lastimar a nadie. Las velas y otras llamas abiertas deben mantenerse alejadas del equipo en todo momento, para evitar la propagación del fuego.

Si ha traído el equipo del frío a un ambiente cálido, déjelo reposar durante aproximadamente una hora debido a la formación de condensación. No utilice el altavoz hasta que alcance la temperatura ambiente. Para evitar daños graves a los componentes.

Proteja el equipo de...
- Humedad, vapor
- Impactos fuertes y cargas mecánicas excesivas
- Campos magnéticos y eléctricos
- Frío, calor, luz solar directa y fuertes fluctuaciones de temperatura
- Polvo
- Intervenciones dentro del equipo
Fuente de alimentación
Voltajes incorrectos pueden dañar el equipo. Este equipo sólo puede conectarse a un circuito de alimentación con un adaptador USB de 5V/1A.
No opere el equipo sin supervisión. En caso de ausencia prolongada, retire el enchufe de la red eléctrica o el puerto USB.
Al retirar el cable de carga, no tire del cable sino de la carcasa del enchufe.
En caso de tormenta, desenchufe el cable del cargador. Las sobretensiones causadas por los rayos pueden dañar el equipo a través de la fuente de alimentación.
Instalación
Coloque el equipo sobre un soporte estable y nivelado.
No coloque el equipo cerca de fuentes fuertes de calor o luz solar directa
Circulación del aire
Cuando se instala en un gabinete o estante cerrado: (> 10 cm) deje espacio alrededor del equipo, para que el aire pueda circular sin obstáculos y no haya influencia en la reproducción del sonido.
Volumen del sonido
La música alta puede provocar daños auditivos. No opere permanentemente el altavoz cerca de sus oídos.
Evite el volumen de sonido extremo, especialmente durante períodos prolongados de tiempo.
Peligro de tráfico
¡La seguridad vial es muy importante!
Cuando utilice un vehículo de motor, observe las normas de tráfico aplicables y las instrucciones de funcionamiento de su vehículo de motor.
Supervisión
No permita que niños sin supervisión manipulen el equipo y no jueguen inmediatamente alrededor del equipo.
No haga funcionar el equipo sin supervisión.
Limpieza y cuidado
Desconecte el equipo antes de limpiarlo. Limpie el equipo únicamente con un paño húmedo, suave, limpio y de color neutro, sin agentes de limpieza agresivos o abrasivos.
Conexiones y elementos de operación

- Pantalla LED (LED display) – Visualización del estado de carga y el volumen del sonido
- Botón de encendido (Power button) – Encender/apagar en el modo de espera, rechazar/finalizar llamada, finalizar el modo "jam"
- Pantalla LED (LED display) – Visualización de diferentes estados de los altavoces (encendido, audio IN, Bluetooth, llamada, modo "jam")
- Botones –/+ – Ajuste del volumen del sonido
- Botón de reproducción/pausa (Play/pause button) – Responder llamada y apagar el micrófono, iniciar el emparejamiento Bluetooth, varias posibilidades de ajuste para la reproducción de música (pausa, pista siguiente / anterior)
- Pantalla LED (LED display) – Visualización de diferentes estados de los altavoces (encendido, audio IN, Bluetooth, llamada, modo "jam")
- Micro USB – Toma para la carga del altavoz
- Audio IN – Entrada de audio jack estéreo de 3,5 mm
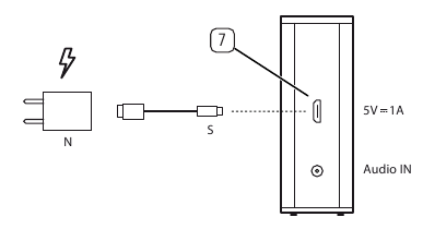
Carga de la batería integrada
Utilice únicamente una fuente de alimentación USB de 5V / 1A.
La batería ya está montada en el equipo en la fábrica. La batería debe cargarse durante aproximadamente 2 horas antes del primer uso. Con una carga completa de la batería, el Loewe klang m1 está listo para funcionar durante aproximadamente 12 horas.
Inserte el enchufe (S) en la toma
en el lateral del Loewe klang m1. A continuación, inserte la fuente de alimentación USB (N) en una toma de corriente de 220-240 V 50/60 Hz.

El estado de carga de la batería se indica a través de la pantalla LED (LED display)
.
![]() | La pantalla LED (LED display) se ilumina/pulsa en verde: | Equipo encendido/apagado, la batería se está cargando |
![]() | La pantalla LED (LED display) se ilumina en verde: | Equipo encendido/apagado, batería completamente cargada |
Encendido
![]() | Encienda el Loewe klang m1 con el botón (> 1 segundo). La pantalla LED (LED display) se ilumina. En el funcionamiento con batería, pulse el botón durante un breve periodo de tiempo , entonces la capacidad de la batería se mostrará a través de la pantalla LED (LED display). |
![]() | Capacidad de la batería 100% - 80% |
![]() | Capacidad de la batería 80% - 60% |
![]() | Capacidad de la batería 60% - 40% |
![]() | Capacidad de la batería 40% - 20% |
![]() | Capacidad de la batería por debajo del 20% |
![]() | Capacidad de la batería por debajo del 10%: El LED izquierdo comienza a pulsar. |
Apagado
![]() | Ponga el Loewe klang m1 con el botón (> 1 segundo) en el modo de espera. La pantalla LED (LED display) se apaga. Si no se reproduce música durante 10 minutos, o se pulsa una tecla, el Loewe klang m1 cambia automáticamente al modo de espera. Excepción: Una fuente de audio está conectada a través de un cable de audio (audio IN). |
Emparejar la fuente de audio a través de Bluetooth
Puede emparejar su Loewe klang m1 de forma inalámbrica a través de Bluetooth con una fuente de audio, por ejemplo, Smartphone, Tablet, PC, etc. Las fuentes de audio deben ser compatibles con el protocolo Bluetooth A2DP.
La distancia entre su Loewe klang m1 y la fuente de audio no puede ser superior a 10 m (contacto visual).
Se pueden emparejar hasta 5 fuentes de audio a través de Bluetooth con el Loewe klang m1. Sin embargo, sólo es posible una conexión activa al mismo tiempo.
![]() | Pulse el botón en el Loewe klang m1 durante un largo periodo de tiempo (> 1 segundo). Oirá un pitido, La pantalla LED (LED display) (encendido) parpadea. |

![]() | Active la función Bluetooth de su fuente de audio. Si es necesario, consulte las instrucciones de funcionamiento de su fuente de audio. Si es necesario, pulse la función de búsqueda de Bluetooth de la fuente de audio. Ahora se buscan dispositivos Bluetooth en las proximidades de la fuente de audio. Seleccione Loewe klang m1. Oirá un pitido al conectar el acoplamiento, La pantalla LED (LED display) se ilumina de forma permanente en blanco, el Loewe klang m1 ya está listo para la reproducción de audio. |
![]() | Al apagar el Loewe klang m1 con el botón en el modo de espera, el acoplamiento se desconecta de la fuente de audio. Después de volver a encender con el botón el Loewe klang m1 intenta volver a acoplar la fuente de audio. En este estado, la pantalla LED (LED display) pulsa (encendido). Después de un acoplamiento exitoso, la pantalla LED (LED display) se ilumina perma- nentemente en blanco. |
Conectar la fuente de audio a través de un cable de audio
Puede emparejar su Loewe klang m1 a través de un cable de audio con conector jack de 3,5 mm (no incluido en el volumen de suministro) con su fuente de audio, por ejemplo, teléfono móvil, reproductor de música, etc.
Conecte la salida estéreo analógica de su fuente de audio (A) con la entrada de audio estéreo Audio IN
del Loewe klang m1. Utilice para ello un cable de audio (S) con conector jack de 3,5 mm.

La reproducción de audio se produce ahora automáticamente a través del cable de audio.
Para volver al modo Bluetooth, simplemente retire el cable de audio del altavoz.
Reproducción de audio
El Loewe klang m1 debe estar acoplado a través de Bluetooth o conectado a través de un cable de audio con su fuente de audio y encendido.
La siguiente secuencia se aplica a la reproducción: Reproducción asociada a cable antes que manos libres antes que reproducción de audio Bluetooth. Por lo tanto, la reproducción de contenido Bluetooth solo es posible si no se reproduce contenido de audio a través de audio IN ni se utiliza el sistema integrado de manos libres.
![]() | Inicie la reproducción de audio en su fuente de audio. |
![]() | En la reproducción a través de Bluetooth, presione 1x el botón para pausar la reproducción ("pause" [pausar]). Presione nuevamente para reanudar la reproducción ("resume" [reanudar]). Si presiona 2x en el botón se reproduce la siguiente pista. Si presiona 3x en el botón se reproduce la pista anterior. |
![]() | Ajuste el volumen del sonido en el Loewe klang m1 con los botones +/- . El volumen del sonido se puede ajustar en 15 pasos, que se muestran ópticamente a través de cinco LED de la pantalla LED. Cada pulsación corta en el botón +/- aumenta o reduce el volumen del sonido en un paso. Mantenga presionado el botón + o - para recorrer el rango de volumen del sonido. |
![]() | Cambie el volumen del sonido en el Loewe klang m1 a silencio, mientras presiona el botón. La pantalla LED (reproducir) comienza a parpadear. Al presionar el botón , se elimina el silencio. La pantalla LED muestra nuevamente el volumen de sonido original. |
Función de manos libres
El Loewe klang m1 debe estar encendido y acoplado y conectado a través de Bluetooth con su teléfono móvil.
En una llamada entrante, suena un tono de llamada. La pantalla LED
(reproducir) y
(encendido) parpadean. En el caso de una reproducción de audio en curso, esta se pausa.
![]() | Acepte la llamada entrante presionando el botón en el Loewe klang m1 o el botón correspondiente en su teléfono móvil.La pantalla LED (reproducir) y (encendido) se iluminan. |
![]() | Ajuste el volumen del sonido en el Loewe klang m1 con los botones +/- . |
![]() | Finalice la llamada presionando el botón en el Loewe klang m1 o el botón correspondiente en su teléfono móvil. |
Modo Jam
Con el modo "jam" (improvisación musical), es posible conectar dos Loewe klang m1 entre sí. La reproducción ahora está sincronizada a través de ambos Loewe klang m1.
Un Loewe klang m1 funciona como "Master" (maestro) y un Loewe klang m1 como "Slave" (esclavo).
![]() | Para conectar los dos altavoces entre sí, presione al mismo tiempo en ambos Loewe klang m1 el botón (reproducir) > 1 segundo. |
![]() | Presione en uno de los pares de Loewe klang m1 el botón (reproducir) para seleccionar este como "Master" (maestro).Acople a través de Bluetooth el klang m1 "Master" (maestro) previamente seleccionado con su teléfono móvil. La reproducción de audio en el modo "jam" (improvisación musical) se comporta de la misma manera que la reproducción de audio normal. |
![]() | Finalice el modo "jam" (improvisación musical) presionando el botón (encendido) en el Loewe klang 1. |
Batería
Las baterías recargables son consumibles y, por lo tanto, no están cubiertas por la garantía. Los clientes no pueden reemplazar las baterías recargables defectuosas. En caso de una batería recargable defectuosa, póngase en contacto con su distribuidor.
Peligro de explosión si la batería de polímero de litio se reemplaza incorrectamente (polaridad inversa/cortocircuito).
Conformidad/Declaración del fabricante

Por la presente, Loewe Technologies declara que este producto cumple con los requisitos esenciales y otras disposiciones relevantes de la Directiva 2014/53/UE y todas las directivas de la UE aplicables.
Puede encontrar la declaración de conformidad completa en la selección de productos en: www.loewe.tv/int/my-loewe
Detalles legales
Loewe Technologies GmbH
Industriestraße 11
D-96317 Kronach
www.loewe.tv
Impreso en Alemania
Fecha editorial 09/17-1.0 PS
© Loewe Technologies GmbH, Kronach
Todos los derechos, incluida la traducción, las modificaciones técnicas y los errores, reservados. Los gráficos utilizados son solo ejemplares.
Eliminación
Embalaje y cartón
La eliminación del embalaje es aceptada con gusto por su distribuidor especializado. Si usted mismo se deshace del embalaje, clasifique su embalaje antes de desecharlo y deséchelo de acuerdo con las regulaciones locales de eliminación. Agregue cartón y papel al papel usado y coloque la envoltura de película en la recolección de materiales reciclables. Para la eliminación del embalaje, hemos pagado, de acuerdo con las regulaciones nacionales, una tarifa a los recicladores autorizados. Sin embargo, recomendamos guardar la caja original y el material de embalaje para que el conjunto pueda transportarse en un estuche bien protegido, si es necesario.
El dispositivo

Atención: El símbolo del contenedor de basura tachado significa que el producto y la batería no se pueden tirar a la basura doméstica.
Puede devolver su viejo conjunto y la batería de forma gratuita a los lugares de devolución designados o a su distribuidor especializado. Los detalles adicionales sobre las devoluciones (incluso para países no pertenecientes a la UE) también están disponibles en su gobierno local.
Baterías y baterías recargables
La batería integrada (batería de polímero de litio) no contiene contaminantes como cadmio, plomo y mercurio. Las baterías recargables y las baterías usadas no deben desecharse en la basura doméstica.
Datos técnicos
| Número de artículo | 56230xxx |
| Temperatura ambiente | Mín. 5°C/Máx. 35°C |
| Humedad | Máx. 80% |
| Dimensiones [An x Al x Pr] | 136 mm x 63.5 mm x 23 mm |
| Peso | 0.325 kg |
| Rendimiento nominal/musical (seno/máx.) | 2 x 4 W/2 x 8 W |
| Rango de transmisión (acústico) | 96 Hz – 20 kHz (+/- 6 dB) |
| Principio acústico | Sistema cerrado |
| Equipamiento del altavoz | 2 altavoces de banda ancha, 2 membranas pasivas |
| Presión sonora máxima | 88 dBA |
| Transmisión de radio | Bluetooth 2.4 GHz |
| Perfil de Bluetooth | v 4.2, A2DP, AVRCP, HFP |
| Alcance de Bluetooth (1) | 10 m |
| Baterías recargables | Li polymer, 1850 mAh |
| Duración de la batería (72 dBA en 1 m) | hasta 12 horas |
| Tiempo de carga de la batería | máx. 2.5 horas |
| Conexiones | Audio IN, conector estéreo de 3.5 mm, fuente de alimentación 5V/1A, micro-USB |
| Sensibilidad de entrada | 500 mV |
| Detección de señal (Line IN) | Sí |
| fácil emparejamiento Bluetooth | Sí |
| Teléfono: Función de manos libres | Sí |
| Supresión de eco | Sí |
| Micrófono integrado / optimizado para el habla | Sí/sí |
| Modo Jam (reproducción síncrona con dos klang m1) | Sí (I/D) |
| Visualización del estado de la batería | 0/20/40/60/80/100% |
| Material de la carcasa | Acero inoxidable/plástico |
| Correa de mano/material | Sí/cuero |
| Funcionamiento (en el equipo) | Encendido/apagado (en espera) (On/off (standby)) Volumen del sonido + (Sound volume +) Volumen del sonido - (Sound volume -) Reproducir/pausar (Play/pause) Teléfono bidireccional (Two-way telephone) Emparejamiento Bluetooth (Bluetooth pairing) Consulta del estado de la batería (Battery status query) |
| Pantalla (en el equipo) | Estado de la batería (Battery status) Volumen del sonido (Sound volume) Modo de reproducción (Playback mode) ENCENDIDO (ON) |
| Señal acústica | Cargar (Charge) ENCENDIDO/APAGADO (ON/OFF) Estado de la conexión (Connection status) Batería a menos del 20% (Battery less than 20%) |
(1) Alcance máximo sin influencias que interfieran, como, por ejemplo, paredes u otros dispositivos con tecnología de radio.

Referencias
Descargar manual
Aquí puedes descargar la versión completa en pdf del manual, puede contener instrucciones de seguridad adicionales, información de garantía, reglas de la FCC, etc.
Descargar Loewe klang m1 - Manual del altavoz Bluetooth portátil



(> 1 segundo). 






en el Loewe klang m1 durante un largo periodo de tiempo (> 1 
para 
. El volumen del sonido se puede ajustar en 15 pasos, que se
de la pantalla LED.