Manual de la plancha Pit Boss PB3BGD2 - 3 quemadores Ultimate Lift-Off

PIEZAS Y ESPECIFICACIONES
LEA CUIDADOSAMENTE, CONSERVE PARA FUTURAS CONSULTAS. ¡DEBE LEER EL MANUAL ANTES DE OPERAR!
POR FAVOR LEA TODO EL MANUAL ANTES DE LA INSTALACIÓN Y USO DE ESTE APARATO DE GAS. EL NO SEGUIR ESTAS INSTRUCCIONES PODRÍA RESULTAR EN DAÑOS A LA PROPIEDAD, LESIONES CORPORALES O INCLUSO LA MUERTE. CONTACTE A LOS OFICIALES LOCALES DE CONSTRUCCIÓN O DE BOMBEROS ACERCA DE LAS RESTRICCIONES Y REQUISITOS DE INSPECCIÓN DE LA INSTALACIÓN EN SU ÁREA.

| Nº de pieza | Descripción |
| 1 | Caja de fuego (x1) |
| 2 | Placa caliente (x1) |
| 3 | Tornillos de la pata de la placa caliente (x4) |
| 4 | Taza de grasa (x1) |
| 5 | Soporte de la tapa (x1) |
| 6 | Bisel del mango de la tapa (x2) |
| 7 | Mango de la tapa (x1) |
| 8 | Panel frontal del carro (x1) |
| 9 | Panel trasero del carro (x1) |
| 10 | Panel lateral del carro - Izquierdo (x1) |
| 11 | Panel lateral del carro - Derecho (x1) |
| 12 | Estante lateral - Izquierdo (x1) |
| 13 | Estante lateral - Derecho (x1) |
| 14 | Gancho para toallas de papel (x1) |
| 15 | Soporte del estante lateral - Izquierdo (x2) |
| 16 | Soporte del estante lateral - Derecho (x2) |
| 17 | Pata de soporte para la rueda giratoria - Delantera (x1) |
| 18 | Pata de soporte para la rueda giratoria - Trasera (x1) |
| 19 | Pata de soporte para la rueda - Delantera (x1) |
| 20 | Pata de soporte para la rueda - Trasera (x1) |
| 21 | Abrebotellas (x1) |
| 22 | Rueda giratoria con bloqueo (x2) |
| 23 | Rueda (x2) |
| 24 | Estante inferior (x1) |
| A | Tornillo (x37) |
| B | Arandela (x16) |
| C | Arandela de seguridad (x16) |
| D | Tornillo (x4) |
| E | Pasador de chaveta de la rueda (x2) |
| F | Arandela de la rueda (x2) |
| G | Pasador del eje de la rueda (x2) |
| H | Batería (x1) |
NOTA: Debido al desarrollo continuo del producto, las piezas están sujetas a cambios sin previo aviso. Póngase en contacto con Atención al Cliente si faltan piezas al ensamblar la unidad.
| MODELO | ENSAMBLADO (Ancho x Profundidad x Altura) | PESO | ÁREA DE COCCIÓN | ENTRADA DE CALOR | |
| PB | PB3BGD2 | 1,438 X 728 X 940 MM / 56.6 X 28.6 X 37.0 IN | 52.7 KG / 116.2 LB | 3,460 CM² / 536.3 IN² | 10.5 KW |
PREPARACIÓN PARA EL ENSAMBLAJE
Las piezas se encuentran en toda la caja de envío, incluso debajo de la plancha. Inspeccione la unidad, las piezas y el paquete blíster de herrajes después de retirarlos de la caja de envío protectora. Deseche todos los materiales de embalaje del interior y exterior de la plancha antes del ensamblaje, luego revise e inspeccione todas las piezas haciendo referencia a la lista de piezas. Si falta alguna pieza o está dañada, no intente ensamblarla. Los daños de envío no están cubiertos por la garantía. Póngase en contacto con su distribuidor o con el servicio de atención al cliente de Pit Boss® Grills. www.pitboss-grills.com
Para facilitar la instalación, es útil (pero no necesario) que dos personas ensamblen esta unidad.
Herramientas necesarias para el ensamblaje: destornillador y llave inglesa. Herramientas no incluidas.

INSTRUCCIONES DE ENSAMBLAJE
Se recomienda leer cada paso por completo antes de comenzar el ensamblaje de las instrucciones. No apriete los tornillos por completo hasta que se hayan instalado todos los tornillos de ese paso. La combinación de herrajes que involucra una arandela de seguridad y una arandela debe instalarse con la arandela de seguridad más cerca de la cabeza del tornillo.
- CONEXIÓN DE LAS RUEDAS A LAS PATAS
Piezas necesarias:
1 x Pata de soporte para la rueda giratoria / Delantera (#17)
1 x Pata de soporte para la rueda giratoria / Trasera (#18)
1 x Pata de soporte para la rueda / Delantera (#19)
1 x Pata de soporte para la rueda / Trasera (#20)
2 x Rueda giratoria con bloqueo (#22)
2 x Rueda (#23)
2 x Pasador de chaveta de la rueda (#E)
2 x Arandela de la rueda (#F)
2 x Pasador del eje de la rueda (#G)
Instalación:
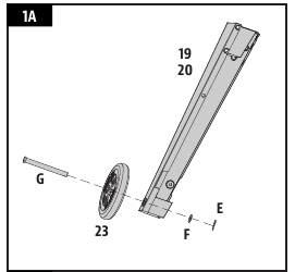
- Fije la rueda a la pata de soporte para la rueda insertando el pasador del eje de la rueda a través de la rueda, el orificio de la pata de soporte, la arandela de la rueda y luego asegúrelo con el pasador de chaveta de la rueda. Repita la instalación para la otra pata de soporte con la rueda. Observe la ilustración 1A.
![]()
- Instale una rueda giratoria con bloqueo en la parte inferior de una pata de soporte apretándola a mano en el orificio. La rueda giratoria con bloqueo se inserta por completo cuando no se puede girar más en la pata de soporte.
Repita la instalación para la segunda pata de soporte. Observe la ilustración 1B.
![]()
- ENSAMBLAJE DE LA BASE DEL CARRO
Piezas necesarias:
1 x Estante inferior (#24)
4 x Tornillo (#A)
4 x Arandela (#B)
4 x Arandela de seguridad (#C)
Instalación:
- Coloque un trozo de cartón en el piso para evitar rayar la unidad y las piezas durante el ensamblaje.
NOTA: Asegúrese de que la superficie plana del estante inferior esté hacia arriba. - Fije el estante inferior a una pata de soporte con rueda alineándolo cuidadosamente en la esquina, luego asegúrelo con una arandela, una arandela de seguridad y un tornillo. Repita la instalación para las otras tres patas de soporte en las tres esquinas restantes del estante inferior. Consulte la ilustración para ver la disposición correcta de las patas de soporte.
- Coloque un trozo de cartón en el piso para evitar rayar la unidad y las piezas durante el ensamblaje.
- MONTAJE DE LOS PANELES DEL CARRO
Piezas necesarias: 1 x Panel frontal del carro (#8)
1 x Panel trasero del carro (#9)
1 x Panel lateral del carro - Izquierdo (#10)
1 x Panel lateral del carro - Derecho (#11)
16 x Tornillo (#A)
Instalación:- Instale el panel frontal del carro entre las patas de soporte delanteras de la base del carro. Asegúrelo con dos tornillos en cada pata de soporte. Repita la misma instalación para el panel trasero del carro. Observe la ilustración 3A.
NOTA: Asegúrese de que el "PIT BOSS" del panel frontal del carro esté orientado hacia la parte delantera de la unidad. La superficie plana del panel trasero del carro debe estar orientada hacia la parte trasera.
![]()
- Instale el panel lateral izquierdo del carro entre las patas de soporte izquierdas de la base del carro. Asegúrelo con dos tornillos en cada pata de soporte. Repita la misma instalación para el panel lateral derecho del carro en las patas de soporte derechas de la base del carro. Observe la ilustración 3B.
Los pestillos de los paneles laterales del carro deben estar orientados hacia adelante.
![]()
- Instale el panel frontal del carro entre las patas de soporte delanteras de la base del carro. Asegúrelo con dos tornillos en cada pata de soporte. Repita la misma instalación para el panel trasero del carro. Observe la ilustración 3A.
- FIJACIÓN DE LOS SOPORTES DEL ESTANTE LATERAL
Piezas necesarias:
2 x Soporte del estante lateral - Izquierdo (#15)
2 x Soporte del estante lateral - Derecho (#16)
12 x Tornillo (#A)
12 x Arandela (#B)
12 x Arandela de seguridad (#C)
Instalación:
- Monte un soporte del estante lateral en una pata de soporte con tres arandelas, arandelas de seguridad y tornillos. Instale cada tornillo hasta la mitad primero, luego apriételos por completo cuando los tres tornillos estén montados y alineados correctamente. Repita la instalación para los otros tres soportes del estante lateral en las tres patas de soporte restantes.
- INSTALACIÓN DE LOS ESTANTES LATERALES
Piezas necesarias:
1 x Estante lateral - Izquierdo (#12)
1 x Estante lateral - Derecho (#13)
4 x Tornillo (#D)
Instalación:
- Alinee y coloque un estante lateral en los soportes del estante lateral en un lado de la unidad. Desde abajo, asegure un tornillo en cada esquina, como se muestra en la ilustración. Repita la misma instalación para el estante lateral en el otro lado de la unidad.
NOTA: Una vez instalados, ambos estantes laterales se pueden subir (para usar) o bajar (para guardar) con facilidad.
Evite usar los estantes laterales para mover o levantar la unidad. El peso de la unidad hará que los estantes se rompan, lo cual no está cubierto por la garantía.
- Alinee y coloque un estante lateral en los soportes del estante lateral en un lado de la unidad. Desde abajo, asegure un tornillo en cada esquina, como se muestra en la ilustración. Repita la misma instalación para el estante lateral en el otro lado de la unidad.
- MONTAJE DE LAS CARACTERÍSTICAS ADICIONALES
Piezas necesarias:
1 x Gancho para toallas de papel (#14)
1 x Abrebotellas (#21)
2 x Tornillo (#A)
Instalación:
- Monte el abridor inferior en la pata de soporte delantera izquierda con dos tornillos. Observe la ilustración para ver la orientación correcta, con la abertura en ángulo hacia abajo.
- Instale el gancho para toallas de papel en los dos tornillos premontados de la misma pata de soporte. Presione hacia abajo para asegurarse de que el gancho para toallas de papel permanezca seguro en su lugar.
- MONTAJE DEL MANGO DE LA TAPA
Piezas necesarias:
1 x Caja de fuego (#1)
2 x Bisel del mango de la tapa (#6)
1 x Mango de la tapa (#7)
Instalación:
- Retire los tornillos preinstalados del mango de la tapa. Desde el interior de la tapa de la caja de fuego, inserte un tornillo para que sobresalga hacia el exterior. Agregue un bisel del mango de la tapa en el tornillo, luego apriete el tornillo con la mano (desde el interior) en el mango de la tapa. Repita la misma instalación para el otro extremo del mango de la tapa.
- FIJACIÓN DEL SOPORTE DE LA TAPA
Piezas necesarias:
1 x Soporte de la tapa (#5)
3 x Tornillo (#A)
Instalación:
- En la parte posterior de la caja de fuego, sujete el soporte de la tapa al centro del panel con tres tornillos.
- INSTALACIÓN DE LA CAJA DE FUEGO EN EL CARRO
NOTA: Se muestra un regulador; sin embargo, no todos los distribuidores venden las unidades con un regulador incluido. Se proporciona un kit de transición del colector en caso de que un regulador de gas no venga preensamblado en la plancha. Seleccione el conector del kit de transición del colector que se requiere para su colector de gas y el tubo del regulador.
Instalación:- Coloque la caja de fuego junto al carro, ambos mirando en la misma dirección. Con dos personas, levante la caja de fuego usando las ranuras insertadas en cada lado. Lentamente, coloque la caja de fuego en el marco del carro, pasando el regulador y la manguera a través del panel lateral del carro en el lado derecho de la unidad. Observe la ilustración 9A.
Tenga cuidado de no pellizcar ni dañar el regulador o la manguera durante la instalación de la caja de fuego en el carro. Una instalación incorrecta puede hacer que las piezas no funcionen correctamente.
![]()
- Una vez en posición, gire los pestillos (uno en cada lado) para bloquear la caja de fuego en el carro. Observe la ilustración 9B.
![]()
- Coloque la caja de fuego junto al carro, ambos mirando en la misma dirección. Con dos personas, levante la caja de fuego usando las ranuras insertadas en cada lado. Lentamente, coloque la caja de fuego en el marco del carro, pasando el regulador y la manguera a través del panel lateral del carro en el lado derecho de la unidad. Observe la ilustración 9A.
- INSERCIÓN DE LOS TORNILLOS DE LA PLACA CALIENTE
Piezas necesarias:
1 x Placa caliente (#2)
4 x Tornillos de la placa caliente (#3)
Instalación:
- Gire la placa caliente boca abajo. Inserte un tornillo de la placa caliente en un orificio de la esquina de la placa caliente, girando con la mano, hasta que no pueda girar más en la tuerca. Repita la misma instalación en los otros tres orificios de las esquinas.
- COLOCACIÓN DE LOS COMPONENTES DE COCCIÓN
Piezas necesarias:
1 x Taza de grasa (#4)
Instalación:
- Abra la tapa de la caja de fuego. Con cuidado, coloque la placa caliente en la caja de fuego. Una vez que la placa caliente esté instalada, asegúrese de que quede nivelada en la caja de fuego. Ajuste la altura de los tornillos de la placa caliente, si es necesario, para que la placa caliente esté nivelada.
NOTA: Para mantener el rendimiento de sellado y asado de su placa caliente, se requiere cuidado y mantenimiento regulares. - Coloque la taza de grasa en la carcasa de la taza de grasa en la parte delantera de la caja de fuego, como se muestra en la ilustración.
- Abra la tapa de la caja de fuego. Con cuidado, coloque la placa caliente en la caja de fuego. Una vez que la placa caliente esté instalada, asegúrese de que quede nivelada en la caja de fuego. Ajuste la altura de los tornillos de la placa caliente, si es necesario, para que la placa caliente esté nivelada.
- INSTALACIÓN DE LA BATERÍA DE ENCENDIDO
Piezas necesarias:
1 x Batería (#H)
Instalación:
- Gire la tapa del botón de encendido en sentido antihorario para quitarla. Inserte la batería en la carcasa con el terminal positivo (+) hacia afuera. Vuelva a atornillar la tapa del botón de encendido en su lugar para cubrirla.
- La unidad ahora está completamente ensamblada.
Consulte el manual del propietario para obtener las instrucciones de funcionamiento.

Referencias
Descargar manual
Aquí puedes descargar la versión completa en pdf del manual, puede contener instrucciones de seguridad adicionales, información de garantía, reglas de la FCC, etc.
Descargar Manual de la plancha Pit Boss PB3BGD2 - 3 quemadores Ultimate Lift-Off





