Oregon Scientific BAR938HG - juhtmevaba ilmajaama kasutusjuhend
- 1 SISSEJUHATUS
- 2 PÕHIFUNKTSIOONID: PÕHISEADE
- 3 PÕHIFUNKTSIOONID: KAUGSEADME MUDEL THGR228N
- 4 ENNE ALUSTAMIST
- 5 PATAREIDE JA KANALI PAIGALDAMINE: KAUGSEADE
- 6 PATAREIDE PAIGALDAMINE: PÕHISEADE
- 7 KUIDAS KASUTADA TAUSTAVALGUSTUST
- 8 AJA KUVAMISREŽIIMID
- 9 RAADIO VASTUVÕTU KOHTA
- 10 KUIDAS KELLA JA KALENDRIT KÄSITSI SEADISTADA
- 11 KUIDAS IGAPÄEVAST ÄRATUST SEADISTADA JA AKTIVEERIDA
- 12 ÄRATUSE JA EDASILÜKKAMISE FUNKTSIOON
- 13 KANALI 1 KAUGANDURI EELHOIATUSE FUNKTSIOON
- 14 KUIDAS KONTROLLIDA SISE- JA VÄLISTEMPERATUURI NING NIISKUST
- 15 KANALI SKANEERIMISE FUNKTSIOON
- 16 MÄRKUS KAUGTEMPERATUURI JA -NIISKUSE KOHTA
- 17 MÄRKUS °C JA °F KOHTA
- 18 MAKSIMAALSED JA MINIMAALSED TEMPERATUURID
- 19 TEMPERATUURI JA NIISKUSE TREND
- 20 ILMAENNUSTUS
- 21 MUGAVUSTASEME NÄITAJAD
- 22 KUIDAS KONTROLLIDA BAROMEETRILIST RÕHKU
- 23 KUIDAS KASUTADA JA SKANEERIDA KUUFAASI
- 24 KUIDAS SEINALE KINNITADA VÕI KASUTADA LAUATOENDIT
- 25 KUIDAS SEADET LÄHTESTADA
- 26 HOOLDUS
- 27 SPETSIFIKATSIOONID
- 28 MÄRKUS VASTAVUSE KOHTA
- 29 TEAVE ETTEVÕTTE OREGON SCIENTIFIC KOHTA
- 30 RTTE VASTAVUSDEKLARATSIOON
- 31 Laadi alla juhend
- 32 Teistes keeltes

SISSEJUHATUS
BAR938HG on kõik-ühes kell ja ilmajaam. RF-juhitav, see suudab automaatselt sünkroniseerida oma praeguse aja ja kuupäeva, kui see viiakse umbes 1500 km raadiusesse Frankfurdist, Saksamaalt (DCF77) genereeritud raadiosignaalist.
BAR938HG teeb ilmateateid kineetilise liikumise graafiliste illustratsioonidega ning näitab sise- ja välistemperatuuri. Samuti näitab see muutuste suunda ning salvestatud maksimum- ja miinimumtemperatuure.
Lisaks temperatuurile näitab BAR938HG sise- ja välisõhu suhtelist niiskust ning hindab mugavustaset. Samuti säilitab see maksimaalse ja minimaalse suhtelise niiskuse näidud. Seadmega on kaasas kaug-termo-hügro sensor. BAR938HG suudab vastu võtta ja kuvada näiteid kuni 3 kaugandurilt.
Sisseehitatud baromeeter võimaldab BAR938HG-l kuvada atmosfäärirõhku kasutaja poolt valitava kõrguse reguleerimisega. Tulpdiagramm näitab viimase 24 tunni rõhu trendi.
Veelgi enam, BAR938HG on varustatud kuu faasi skanneriga, mis võimaldab teil kontrollida kuu faasi mis tahes päeval vahemikus 1990 kuni 2089.
Muud funktsioonid hõlmavad HiGlo taustvalgustust, igapäevast crescendo äratust kaheksa minuti pikkuse edasilükkamise funktsiooniga ja eriti suurt ekraani.
Põhi- ja kaugseadme vahel pole vaja juhtmeid paigaldada. Kuna BAR938HG töötab sagedusel 433MHz, saab seda kasutada USA-s ja enamikus Mandri-Euroopa kohtades.
PÕHIFUNKTSIOONID: PÕHISEADE



- RAADIO VASTUVÕTU SIGNAAL
Näitab raadio vastuvõtu seisundit - SNOOZE / LIGHT BUTTON (Edasilükkamise / Valguse nupp)
Aktiveerib edasilükkamise funktsiooni, kui äratus heliseb, või taustvalgustuse viieks sekundiks - CLOCK WINDOW (Kella aken)
Kuvab praeguse aja ja kuupäeva - ALARM ON ICON (Äratuse sisselülitamise ikoon)
Ilmub, kui äratus on aktiveeritud - ALARM ICON (Äratuse ikoon)
Ilmub, kui kuvatakse äratuse aeg - MAIN UNIT BATTERY LOW INDICATOR (Põhiseadme aku tühjenemise indikaator)
Süttib ja vilgub, kui põhiseadme patareid on tühjenemas - REMOTE UNIT BATTERY LOW INDICATOR (Kaugseadme aku tühjenemise indikaator)
Süttib, kui kaugseadme patareid on tühjenemas - WEATHER FORECAST WINDOW (Ilmateate aken)
Kuvab ilmamustri
- TEMPERATURE WINDOW (Temperatuuri aken)
Näitab praegust temperatuuri või maksimaalset või minimaalset salvestatud temperatuuri - IN/OUT - REMOTE INDICATOR (Sees/Väljas - Kaugindikaator)
Näitab, kas praegune näit kuvatakse sise- või väliskaugusena - TEMPERATURE TREND ARROWS (Temperatuuri trendi nooled)
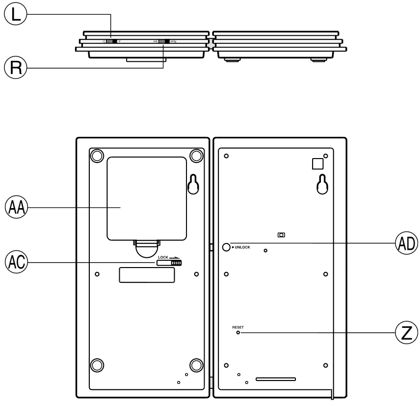
Näitab temperatuurimuutuste trendi - °C/ °F SLIDE SWITCH (Liuglüliti)
Valib Celsiuse (°C) ja Fahrenheiti (ºF) kuva vahel
- RELATIVE HUMIDITY WINDOW (Suhtelise niiskuse aken)
Kuvab suhtelise niiskuse - COMFORT INDICATOR (Mugavuse indikaator)
Näitab mugavustaset - ATMOSPHERIC PRESSURE CHART (Atmosfäärirõhu graafik)
Näitab viimase 24 tunni atmosfäärirõhu trendigraafikut - ATMOSPHERIC PRESSURE WINDOW (Atmosfäärirõhu aken)
Kuvab praeguse atmosfäärirõhu - PRESSURE HISTORY INDICATOR (Rõhu ajaloo indikaator)
Näitab eelmiste tundide rõhu ajalugu - PRESSURE UNIT SLIDE SWITCH (Rõhuühiku liuglüliti)
Valib mb/hPa ja inHg kuva vahel - MOON PHASE SCANNER (Kuu faasi skanner)
Kuvab praeguse kuu faasi või kontrollitud kuupäeva oma - CHANNEL BUTTON (Kanali nupp)
Valib sise- ja kanalite 1, 2, 3 vahel või siseneb automaatse skaneerimise režiimi - MEMORY BUTTON (Mälu nupp)
Kuvab maksimaalse või minimaalse temperatuuri ja suhtelise niiskuse või kustutab mälu - HISTORY BUTTON (Ajaloo nupp)
Valib eelmiste tundide rõhu ajaloo - UP (
) AND DOWN (
) BUTTONS (Üles ja Alla nupud)
Suurendab või vähendab seadistuse väärtust, skaneerib kuu faasi olekut ja lülitab äratuse olekut - ALARM /
BUTTON (Äratuse nupp)
Kuvab äratuse aja - MODE BUTTON (Režiimi nupp)
Muudab kella kuvamisrežiimi või käivitab kella seadistusrežiimi - RESET BUTTON (Lähtestamise nupp)
Lähtestab seadme, taastades kõik seaded vaikeväärtustele
AA BATTERY COMPARTMENT (AA patareipesa)
Mahutab neli UM3 või AA-suurusega patareid
AB TABLE AND CONTROL STAND (Laua- ja juhtimispult)
Toimib juhtpaneelina ja toetab seadet lamades
AC LOCK SLIDE BUTTON (Lukustusliugur)
Libistage paremale, et lukustada 2 paneeli
AD UNLOCK BUTTON (Avamisnupp)
Vajutage lukustuse vabastamiseks
PÕHIFUNKTSIOONID: KAUGSEADME MUDEL THGR228N

- Two-line LCD (Kahe realine LCD)
Kuvab kaugseadme poolt jälgitavat praegust temperatuuri ja niiskust - LED indicator (LED indikaator)
Vilgub, kui kaugseade edastab näitu - °C/ °F slide switch (Liuglüliti)
Valib Celsiuse (°C) ja Fahrenheiti (°F) vahel
- Channel slide switch (Kanali liuglüliti)
Määrab kaugseadme kanaliks 1, kanaliks 2 või kanaliks 3 - RESET (Lähtesta)
Taastab kõik seaded vaikeväärtustele - Battery compartment (Patareipesa)
Mahutab kaks AAA-suurusega patareid - Battery door (Patarei luuk)
- Wall-mount holder (Seinakinnitus)
Toetab kaugseadet seinale kinnitamisel - Removable table stand (Eemaldatav lauajalg)
Kaugseadme tasasele pinnale asetamiseks
ENNE ALUSTAMIST
Parima toimimise tagamiseks,
- Sisestage patareid kaugseadmetesse enne põhiseadme patareide sisestamist.
- Asetage kaugseade ja põhiseade efektiivse edastusulatuse piiresse, mis tavalistes oludes on 30 meetrit.
Kuigi kaugseade on ilmastikukindel, tuleks see paigutada eemale otsesest päikesevalgusest, vihmast või lumest.
PATAREIDE JA KANALI PAIGALDAMINE: KAUGSEADE
Kaug-termo-hügro sensor kasutab kahte (2) UM-4 või "AAA" suurusega leelispatareid.
Patareide paigaldamiseks / vahetamiseks toimige järgmiselt:
- Eemaldage kruvid patareipesa küljest.
- Valige kanali number CHANNEL (KANAL) liuglülitil.
- Valige temperatuuri kuvamise ühik °C/ °F liuglülitil.
![Oregon Scientific - BAR938HG - PATAREIDE JA KANALI PAIGALDAMINE: KAUGSEADE PATAREIDE JA KANALI PAIGALDAMINE: KAUGSEADE]()
- Sisestage patareid rangelt vastavalt polaarsusele
- Asetage patareipesa luuk tagasi ja kinnitage selle kruvid.
Vahetage patareid, kui vastava kanali tühja patarei indikaator põhiseadmel süttib. (Korrake jaotises "ENNE ALUSTAMIST" kirjeldatud samme)
Märkus et kui kanal on kaugseadmele määratud, saate seda muuta ainult patareide eemaldamise või seadme lähtestamise teel.
PATAREIDE PAIGALDAMINE: PÕHISEADE
- Vajutage õrnalt patareipesa luugi sakki ja tõstke see üles.
- Sisestage neli UM3 või AA-suurusega patareid.
![Oregon Scientific - BAR938HG - PATAREIDE PAIGALDAMINE: PÕHISEADE PATAREIDE PAIGALDAMINE: PÕHISEADE]()
- Asetage patareipesa luuk tagasi.
Vahetage patareid, kui tühja patarei indikaator
ilmateate aken süttib.
KUIDAS KASUTADA TAUSTAVALGUSTUST
Vajutage üks kord nuppu SNOOZE/LIGHT (EDASILÜKKAMINE/VALGUS). Taustvalgustus lülitub sisse viieks sekundiks.
AJA KUVAMISREŽIIMID
Praegust aega ja kuupäeva saab kuvada kolmes režiimis: tund-minut-sekund, tund-minut-nädalapäev ja päev-kuu-aasta või kuu-päev-aasta. Režiimide vahetamiseks vajutage nuppu MODE (REŽIIM).

Nupu ALARM (ÄRATUS) vajutamine mis tahes neist režiimidest kuvab igapäevase äratuse aja. Teine vajutus viib eel-äratuse režiimi. Tavapärase aja ja kuupäeva kuvamise juurde naasmiseks vajutage nuppu MODE (REŽIIM).
RAADIO VASTUVÕTU KOHTA
BAR938HG on loodud automaatselt sünkroniseerima oma kalendrikella, kui see viiakse Frankfurdi DCF77 raadiosignaali levialasse. See skaneerib ja reguleerib iga täistunni järel.
Kui BAR938HG on levialas, tühistab selle raadiojuhtimise mehhanism kõik käsitsi seaded.
Kui seade võtab vastu raadiosignaali, hakkab RAADIO VASTUVÕTU indikaator vilkuma. Täielik vastuvõtt võtab tavaliselt aega umbes kaks kuni kümme minutit, sõltuvalt raadiosignaali tugevusest. Kui raadiosignaal on nõrk, võib kehtiva signaali vastuvõtmine võtta kuni 24 tundi.
Kui vastuvõtt on lõppenud, lõpetab RAADIO VASTUVÕTU indikaator vilkumise. Kui signaal on vastu võetud, kuvatakse RAADIO VASTUVÕTU indikaator [
]. Vastasel juhul kuvatakse [
].
Parema vastuvõtu tagamiseks asetage kell eemale metallesemetest ja elektriseadmetest, et minimeerida häireid.
Kui soovite RF-juhtimise funktsiooni deaktiveerida, vajutage korraga nuppe MODE (REŽIIM) ja DOWN (ALLA).
RF-juhtimise funktsiooni uuesti aktiveerimiseks vajutage selle deaktiveeritud olekust korraga nuppe MODE (REŽIIM) ja UP (ÜLES).
|
|
|
|
|
|
KUIDAS KELLA JA KALENDRIT KÄSITSI SEADISTADA
Kui praegune aeg on kuvatud, vajutage ja hoidke nuppu MODE (REŽIIM) kolm sekundit all. 12-tunni või 24-tunni numbrid hakkavad vilkuma. Kasutage nuppu UP (ÜLES) või DOWN (ALLA), et valida üks neist. Kui on valitud 12-tunnine kellaformaat, kuvatakse aeg koos AM või PM indikaatoriga.
Vajutage nuppu MODE (REŽIIM). Tunni numbrid hakkavad vilkuma. Kasutage nuppu UP (ÜLES) või DOWN (ALLA), et sisestada tunnid. Kummagi nupu all hoidmine suurendab või vähendab väärtust kiiresti. Minutite juurde minemiseks vajutage nuppu MODE (REŽIIM). Seadistage minutid nagu tunnid. Kinnitamiseks vajutage nuppu MODE (REŽIIM).
Kui minutite seadistamise ajal tehakse muudatusi, lähtestatakse sekundid nulli ja peatatakse.
Aasta numbrid hakkavad vilkuma. Sisestage aasta, kasutades nuppu UP (ÜLES) või DOWN (ALLA).
Vajutage nuppu MODE (REŽIIM). Indikaator "DM" või "MD" hakkab vilkuma. Kasutage nuppu UP (ÜLES) või DOWN (ALLA), et valida "DM" päeva-kuu kuvamiseks või "MD" kuu-päeva kuvamiseks.
Vajutage nuppu MODE (REŽIIM) ja järgige sama protseduuri kuu ja päeva seadistamiseks.
Vajutage nuppu MODE (REŽIIM). Keele indikaator E, D, F, I või S hakkab vilkuma. Kasutage nuppu UP (ÜLES) või DOWN (ALLA), et valida E inglise, I itaalia, D saksa, F prantsuse või S hispaania keele jaoks.
Nädalapäeva kuvamise keel valitakse kalendri seadistamise protseduuris. Võõrkeeled ja nende tähendused on järgmised:

Kinnitamiseks ja väljumiseks vajutage nuppu MODE (REŽIIM).
KUIDAS IGAPÄEVAST ÄRATUST SEADISTADA JA AKTIVEERIDA
Kui igapäevase äratuse aeg on kuvatud, vajutage ja hoidke nuppu ALARM (ÄRATUS) kolm sekundit all.
Sisestage tunni numbrite väärtus nupuga UP (ÜLES) või DOWN (ALLA). Kinnitamiseks ja minutite numbrite juurde minemiseks vajutage nuppu ALARM (ÄRATUS). Sisestage väärtus ja kinnitamiseks vajutage nuppu ALARM (ÄRATUS).
Äratus aktiveeritakse automaatselt. Selle deaktiveerimiseks vajutage üks kord nuppu ALARM (ÄRATUS), et kuvada äratuse aeg. Seejärel kasutage selle oleku lülitamiseks nuppu UP (ÜLES) või DOWN (ALLA).
ÄRATUSE JA EDASILÜKKAMISE FUNKTSIOON
Kui äratus on aktiivne, heliseb see määratud ajal. Ekraan süttib viieks sekundiks koos vilkuva ÄRATUSE SISSELÜLITATUD ikooniga.
Crescendo funktsioon võimaldab äratusel alata õrnalt ja suurendada selle intensiivsust kolmes etapis. Ilma katkestuseta heliseb äratus 2 minutit.
Äratuse peatamiseks vajutage mis tahes nuppu. Kui vajutatakse nuppu SNOOZE/LIGHT (EDASILÜKKAMINE/VALGUS), käivitatakse funktsioon SNOOZE (EDASILÜKKAMINE). Äratus peatub ja kelluke vilgub umbes kaheksa minutit enne uuesti helisemist.
KANALI 1 KAUGANDURI EELHOIATUSE FUNKTSIOON
Hoiatusfunktsioonil on ka eelhoiatuse funktsioon, mis võib kasutajat ilmastikutingimuste muutumisel enne eelseadistatud hoiatusaega hoiatada. See eelhoiatuse funktsioon kehtib ainult kanali 1 kauganduri kohta.
Selle funktsiooni lubamiseks aktiveerige esmalt hoiatusfunktsioon. Seejärel sisenege eelhoiatuse režiimi, vajutades kaks korda nuppu ALARM (HOIATUS). Kuvatakse ikoon "Pre-Al". Selle eelhoiatuse funktsiooni tööaja intervalli seadmiseks vajutage ja hoidke 3 sekundit all nuppu ALARM (HOIATUS). Kasutage nuppu UP (ÜLES) või DOWN (ALLA), et valida 4 aja intervalli hulgast: 15, 30, 45 või 60 minutit. Kinnitamiseks ja väljumiseks vajutage nuppu ALARM (HOIATUS). Eelhoiatuse funktsioon lülitatakse automaatselt sisse, mida näitab sümboli [
] ilmumine.
Selle funktsiooni keelamiseks vajutage eelhoiatuse režiimis nuppu DOWN (ALLA). Sümbol [
] kaob, näidates, et see on keelatud.
Eelhoiatus töötab valitud ajavahemiku jooksul enne igapäevast hoiatusaega. Näiteks kui igapäevane hoiatus on seatud helisema kell 7:00 ja eelhoiatuse tööaja intervall on seatud 45 minutile, hakkab eelhoiatus tööle kell 6:15 (45 minutit enne kella 7:00).
Eelhoiatuse tööperioodil, kui kanali 1 kauganduriga salvestatud temperatuur langeb 2,0 °C-ni või alla selle, käivitatakse eelhoiatus. Eelhoiatuse ikoon vilgub ja taustvalgustus lülitatakse 5 sekundiks sisse. Lisaks kostab 2 minutit hoiatusheli nagu igapäevase hoiatusheli puhul ja kui vajutatakse nuppu SNOOZE/LIGHT (EDASILÜKKAMINE/VALGUS), aktiveeritakse ka edasilükkamise funktsioon.
Märkus: Igapäevane hoiatus EI tööta enne järgmist päeva, kui eelhoiatus on eelnevalt käivitatud. Hoiatusfunktsiooni deaktiveerimine keelab automaatselt eelhoiatuse funktsiooni.
KUIDAS KONTROLLIDA SISE- JA VÄLISTEMPERATUURI NING NIISKUST
Sisetemperatuuride ja -niiskuse kuvamiseks vajutage nuppu CHANNEL (KANAL), kuni indikaator [
] süttib.
Välise kaugtemperatuuri ja -niiskuse kuvamiseks vajutage nuppu CHANNEL (KANAL), et kerida läbi kuni 3 kauganduri näidud.
Temperatuuri saab näidata Celsiuse kraadides (°C) või Fahrenheiti kraadides (°F). See valitakse lülitiga °C/°F. Celsiuse kraadide jaoks lükake lüliti asendisse °C või Fahrenheiti kraadide jaoks asendisse °F.
Kui näidud ületavad või langevad alla määratud vahemiku, kuvatakse ekraanil vilkuv "HHH" või "LLL".
KANALI SKANEERIMISE FUNKTSIOON
Kanali skaneerimise funktsiooni sisenemiseks vajutage ja hoidke 3 sekundit all nuppu CHANNEL (KANAL). Iga kanali näidud kuvatakse ükshaaval automaatselt 4 sekundi jooksul. Skaneerimise funktsiooni peatamiseks vajutage suvalist klahvi.
MÄRKUS KAUGTEMPERATUURI JA -NIISKUSE KOHTA
Kui kaugseadme patareid on paigas, hakkab see proove edastama 39–43-sekundiliste intervallidega.
Kui kaugtemperatuuri ja -niiskuse valimisel signaale ei saada, kuvatakse tühjad kohad. Otsingu jõustamiseks vajutage ja hoidke all nuppu CHANNEL (KANAL). See on kasulik kaug- ja põhiseadme edastuse ja vastuvõtu sünkroonimiseks.
Kui see ebaõnnestub, kontrollige, kas kaugseade on endiselt paigas. Veenduge, et edastus oleks vahemikus ja tee oleks takistustest ja häiretest vaba.
Korrake seda protseduuri alati, kui leiate põhiseadme ja kaugseadme näidete vahel erinevusi.
MÄRKUS °C JA °F KOHTA
Välistemperatuuri kuva põhiseadmel sõltub põhiseadme lüliti °C/°F valikust. Olenemata kauganduri kuvaühikust, kehtib see ainult kauganduri enda kohta ja temperatuur teisendatakse automaatselt põhiseadme valitud ühikuks.
MAKSIMAALSED JA MINIMAALSED TEMPERATUURID
Maksimaalsed ja minimaalsed salvestatud temperatuurid salvestatakse automaatselt mällu. Nende kuvamiseks vajutage nuppu MEMORY (MÄLU), et vahetada maksimaalse, minimaalse ja praeguse temperatuuri vahel. Kuvatakse vastav MAX või MIN indikaator.
Mälu tühjendamiseks hoidke nuppu MEMORY (MÄLU) kolm sekundit all. Maksimaalsed ja minimaalsed temperatuurid kustutatakse. Kui vajutate nüüd nuppu MEMORY (MÄLU), on maksimaalsel ja minimaalsel temperatuuril ja niiskusel samad väärtused, mis praegusel, kuni salvestatakse erinevad näidud.
TEMPERATUURI JA NIISKUSE TREND
Temperatuuri ja niiskuse trendi indikaator näitab temperatuurimuutuste trendi viimase 30 minuti jooksul. Kuvatakse kolm trendi: tõusev, stabiilne ja langev.
| Noolindikaator | ![]() | ![]() | ![]() |
| Temperatuuri trend | Tõusev | Stabiilne | Langev |
| Noolindikaator | ![]() | ![]() | ![]() |
| Niiskuse trend | Tõusev | Stabiilne | Langev |
ILMAENNUSTUS
BAR938HG on võimeline tuvastama atmosfäärirõhu muutusi ja kogutud andmete põhjal ennustama ilma järgmiseks 12–24 tunniks. Efektiivne ulatus hõlmab 30–50 km suurust ala.
![]() | ![]() | ![]() | ![]() | ![]() |
| Päikeseline | Osaliselt pilves | Pilves | Vihmane | Lumega |
MÄRKUS:
- Üldise rõhupõhise ilmaennustuse täpsus on umbes 70–75% ja seetõttu ei saa vastutada ebatäpse ennustuse põhjustatud ebamugavuste eest.
- Ilmaennustus on mõeldud järgmiseks 12–24 tunniks. See ei pruugi tingimata kajastada praegust olukorda.
- Öösel kuvatav ikoon "Päikeseline" tähendab selget ilma.
MUGAVUSTASEME NÄITAJAD
Mugavustaseme indikaatorid COM, WET (MÄRG) või DRY (KUIV) ütlevad teile, kas praegune keskkond on mugav, liiga märg või liiga kuiv.
Mugavusindikaatorid kuvatakse põhiseadme ekraanil, kui on täidetud järgmised tingimused:
| Indikaator kuvatakse seadmel | Temperatuurivahemik | Niiskuse vahemik | Näitab praegust keskkonda |
![]() | 20 °C kuni 25 °C (68 °F kuni 77 °F) | 40% RH - 70% RH | Ideaalne vahemik nii suhtelise niiskuse kui ka temperatuuri jaoks |
![]() | -5 °C -+ 50 °C (23 °F - 122 °F) | ÜLE - 70% RH | Sisaldab liigset niiskust |
![]() | -5 °C -+ 50 °C (23 °F - 122 °F) | Alla 70% RH | Sisaldab ebapiisavalt niiskust |
| Indikaator puudub | Vähem kui 20 °C (68 °F) või rohkem kui 25 °C (77 °F) | 40% RH kuni 70% RH | Kommentaar puudub |
KUIDAS KONTROLLIDA BAROMEETRILIST RÕHKU
Praegune ja ajalooline baromeetriline rõhk kuvatakse atmosfäärirõhu aknas.
Kasutajate jaoks, kes viibivad kõrgemal, näiteks mägipiirkonnas, kehtib merepinna baromeetriline rõhk. Sel juhul vajutage ja hoidke all nuppu HISTORY (AJALUGU), et siseneda kõrguse kompenseerimise seadistusrežiimi. Kasutage nuppu UP (ÜLES) või DOWN (ALLA), et valida –100 kuni 2500 meetri vahel (olenevalt sellest, kumb on sobiv). Kinnitamiseks ja väljumiseks vajutage nuppu HISTORY (AJALUGU). Kui kõrgus muutub, vilgub ikoon "ALT", et näidata sellist muutust. See lõpetab vilkumise, kui rõhunäit on uuesti salvestatud.
Atmosfäärirõhku saab kuvada mb/hPa või inHg. Rõhuühik valitakse patareipesa sees oleval atmosfäärirõhu lülitil.
Kui soovite kontrollida rõhu ajalugu konkreetse tunni kohta viimase 24 tunni jooksul, vajutage nuppu HISTORY (AJALUGU). Iga nupule vajutus läheb tunni võrra tagasi.
Viimase 24 tunni salvestatud atmosfäärimuutused kuvatakse tulpdiagrammina atmosfäärirõhu akna kohal.

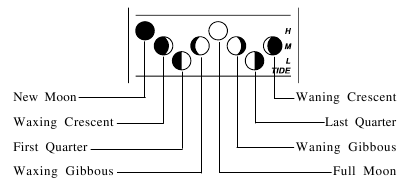
KUIDAS KASUTADA JA SKANEERIDA KUUFAASI
BAR938HG on varustatud kuufaasi kuva ja skanneriga, millega kuvatakse ekraanil kaheksa kuufaasi noorkuust kahaneva poolkuuni. Praeguse päeva kuufaas vilgub ekraanil.
Kui on täiskuu või noorkuu päev, vilgub ikoon kiiremini.
Kaheksa faasi on:

Konkreetse päeva kuufaasi kontrollimiseks vajutage üks kord nuppu UP (ÜLES) või DOWN (ALLA). Kell lülitub kuufaasi skaneerimise režiimi.
Kasutage nuppu UP (ÜLES) või DOWN (ALLA), et leida kuupäev, mida soovite kontrollida. Kalender on selles režiimis päevapõhine.
Saate minna ajas tagasi või reisida tulevikku, mis tahes päeval alates 1990. aastast kuni 2089. aastani. Vastav kuufaas kuvatakse kohe ekraanil.
Seade naaseb viimasele kuvamisrežiimile, kui nupud UP (ÜLES) ja DOWN (ALLA) jäetakse 10–15 sekundiks tühikäigule.
KUIDAS SEINALE KINNITADA VÕI KASUTADA LAUATOENDIT
Seinakinnitus
Esiteks reguleerige juhtpaneel ja kuvaripaneel nii, et need oleksid üksteisega paralleelsed. Seejärel vajutage kuvaripaneeli külge veidi juhtpaneeli külje poole. Lükake nupp LOCK (LUKK) paremale, et 2 paneeli kokku lukustada. Seadme saab seinale kinnitada süvistatud kruviaukude abil.

Lauatoend
Esiteks avage kaks paneeli, vajutades avamisnuppu. Asetage juhtpaneel tasasele pinnale. Seejärel reguleerige kuvaripaneeli nurka parima kuva ja toe saamiseks.

KUIDAS SEADET LÄHTESTADA
Nupp RESET (LÄHTESTA) võimaldab teil taastada kõik seaded tehaseväärtustele. Nuppu on vaja ainult siis, kui seade ei tööta soodsalt, näiteks harvadel rikkejuhtudel.
Nupp RESET (LÄHTESTA) asub seadme tagaküljel patareipesa all. Kõigi väärtuste vaikeväärtustele lähtestamiseks vajutage nuppu nüri pliiatsiga.
HOOLDUS
Nõuetekohase käsitsemise korral on see seade loodud pakkuma teile aastaid rahuldavat teenust. Siin on mõned tootehoolduse juhised:
- Ärge kastke seadet vette. Kui seade puutub kokku veega, kuivatage see kohe pehme kiuvaba lapiga.
- Ärge puhastage seadet abrasiivsete või söövitavate materjalidega. Abrasiivsed puhastusvahendid võivad kriimustada plastosi ja korrodeerida elektroonilist vooluringi.
- Ärge jätke seadet liigsele jõule, löögile, tolmule, temperatuurile või niiskusele. Selline kohtlemine võib põhjustada rikkeid, lühema elektroonilise eluea, kahjustatud patareid või moonutatud osad.
- Ärge muutke seadme sisemisi komponente. See lõpetab seadme garantii ja võib põhjustada kahjustusi. Seade ei sisalda kasutaja poolt hooldatavaid osi.
- Kasutage ainult uusi patareisid, nagu on kirjeldatud selles kasutusjuhendis. Ärge segage uusi ja vanu patareisid, kuna vanad patareid võivad lekkida.
- Enne seadme kasutamist lugege see kasutusjuhend hoolikalt läbi.
SPETSIFIKATSIOONID
- Temperatuuri mõõtmine
Põhiseade
Sisetemperatuuri mõõtmine
Kavandatud töövahemik: -5,0 °C kuni +50,0 °C (23,0 °F kuni 122,0 °F)
Temperatuuri eraldusvõime: 0,1 °C (0,2 °F)
Kaugtemperatuuri mõõtmine
Kavandatud töövahemik: -5,0 °C kuni +50,0 °C (23,0 °F kuni 122,0 °F)
Temperatuuri eraldusvõime: 0,1 °C (0,2 °F)
Suhtelise niiskuse mõõtmine
Siseruumide suhtelise niiskuse mõõtmise vahemik: 25% RH kuni 95% RH
Eraldusvõime: 1% RH
Kaugseade
Mõõtevahemik: -20,0 °C kuni +60,0 °C (-4,0 °F kuni 140,0 °F)
Temperatuuri eraldusvõime: 0,1 °C (0,2 °F)
RF edastussagedus: 433 MHz
Kaugseadme arv: kuni 3 seadet
RF edastusvahemik: maksimaalselt 30 meetrit
Temperatuuri tuvastamise tsükkel: umbes 39–43 sekundit
- Suhtelise niiskuse mõõtmine
Kaugseadme suhtelise niiskuse mõõtmise vahemik: 25% RH kuni 95% RH
Eraldusvõime: 1% RH - Baromeetrilise rõhu mõõtmine
Rõhu mõõtevahemik: 795 kuni 1050 mb/hPa (23,48 kuni 31,01 inHg)
Rõhu proovivõtu tsükkel: 15 minutit - Kuufaasi funktsioonid
Kuufaasi skanneri vahemik: 1990 kuni 2089 - Raadio teel juhitav kell
- Põhiaeg seatakse ja sünkroonitakse raadiosignaaliga DCF77 Mandri-/Kesk-Euroopa jaoks
- kasutaja valitav 12 või 24h kuva koos hh: mm ss
- Kuupäeva vorming: päev-kuu-aasta või kuu-päev-aasta
- Nädala päev valitav 5 keeles (E, F, D, I, Sp)
- 2-minutiline crescendo alarm
- Eelhoiatus kanali 1 anduri jaoks
- Toide
Põhiseade: kasutage 4 tk UM-3 või "AA" 1,5 V leelispatareid
Kaugseade: kasutage 2 tk UM-4 või "AAA" 1,5 V leelispatareid - Kaal
Põhiseade: 306 g
Kaugseade: 100 g - Mõõtmed
Põhiseade: 182 (L) x 133 (W) x 28 (T) mm
Kaugseade: 92 (L) x 60 (W) x 21 (T) mm
MÄRKUS VASTAVUSE KOHTA
Muudatused või modifikatsioonid, mida ei ole sõnaselgelt heaks kiitnud vastavuse eest vastutav osapool, võivad tühistada kasutaja õiguse seadet kasutada.
TEAVE ETTEVÕTTE OREGON SCIENTIFIC KOHTA
Külastage meie veebisaiti (www.oregonscientific.com), et saada rohkem teavet Oregon Scientificu toodete kohta, nagu digikaamerad, MP3-mängijad, laste elektroonilised õppematerjalid ja mängud, projektsioonkellad, tervise- ja spordivahendid, ilmajaamad ning digitaalsed ja konverentsitelefonid. Veebisait sisaldab ka kontaktteavet meie klienditeeninduse osakonna jaoks, kui teil on vaja meiega ühendust võtta, samuti korduma kippuvaid küsimusi ja klientide allalaadimisi.
Loodame, et leiate meie veebisaidilt kogu vajaliku teabe, kuid kui asute USAs ja soovite otse Oregon Scientificu klienditeeninduse osakonnaga ühendust võtta, külastage:
www2.oregonscientific.com/service/support
VÕI
Helistage numbril 1-800-8538883.
Rahvusvaheliste päringute korral külastage:
www2.oregonscientific.com/about/international/default.asp
RTTE VASTAVUSDEKLARATSIOON
Käesolevaga deklareerib Oregon Scientific, et see [JUHTMEVABA ILMAJAAM BAR938HG vastab direktiivi 1999/5/EÜ olulistele nõuetele ja muudele asjakohastele sätetele.
Allkirjastatud ja dateeritud vastavusdeklaratsiooni koopia on saadaval nõudmisel meie Oregon Scientificu klienditeeninduse kaudu.
RIIGID, KUS RTTE HEAKSKIIT ON TÄIDETUD

- Selle juhendi sisu võidakse ette teatamata muuta.
- Trükipiirangute tõttu võivad selles juhendis näidatud ekraanid tegelikust ekraanist erineda.
- Selle juhendi sisu ei tohi ilma tootja loata reprodutseerida.
Laadi alla juhend
Siin saate alla laadida juhendi täieliku pdf-versiooni, mis võib sisaldada täiendavaid ohutusjuhiseid, garantiiteavet, FCC eeskirju jne.
Laadi alla Oregon Scientific BAR938HG - juhtmevaba ilmajaama kasutusjuhend


ilmateate aken süttib.













