Zanussi ZYAE82FR - Beépíthető fagyasztószekrény - Használati útmutató
- 1 Látogasson el honlapunkra
- 2 TELEPÍTÉS
- 3 KEZELŐPANEL
- 4 NAPI HASZNÁLAT
- 5 HASZNOS TANÁCSOK
- 6 ÁPOLÁS ÉS TISZTÍTÁS
- 7 HIBAELHÁRÍTÁS
- 8 ZAJOK
- 9 MŰSZAKI ADATOK
- 10 INFORMÁCIÓK A VIZSGÁLÓ INTÉZETEK SZÁMÁRA
- 11 BIZTONSÁGI INFORMÁCIÓK
- 12 BIZTONSÁGI UTASÍTÁSOK
- 13 Hivatkozások
- 14 Kézikönyv letöltése
- 15 Más nyelveken

Látogasson el honlapunkra
Használati tanácsok, brosúrák, hibaelhárítás, szerviz- és javítási információk: www.zanussi.com/support
TELEPÍTÉS
Lásd a Biztonsági fejezeteket.
A készülék telepítéséhez olvassa el a telepítési útmutatót.
A készülék stabilitásának elkerülése érdekében a készüléket a telepítési útmutató szerint rögzítse.
MÉRETEK

| Teljes méretek ¹ | ||
| H1 | mm | 819 |
| W1 | mm | 596 |
| D1 | mm | 547 |
¹ a készülék magassága, szélessége és mélysége a fogantyú nélkül
| A használathoz szükséges hely ² | ||
| H2 | mm | 820 |
| W2 | mm | 596 |
| D2 | mm | 550 |
² a készülék magassága, szélessége és mélysége a fogantyúval együtt, plusz a hűtőlevegő szabad áramlásához szükséges hely
| A használathoz szükséges teljes hely ³ | ||
| H2 | mm | 820 |
| W3 | mm | 777 |
| D3 | mm | 1120 |
³ a készülék magassága, szélessége és mélysége a fogantyúval együtt, plusz a hűtőlevegő szabad áramlásához szükséges hely, plusz az az hely, amely lehetővé teszi az ajtó kinyitását a minimális szögig, amely lehetővé teszi az összes belső berendezés eltávolítását
HELY
A készülék legjobb működésének biztosítása érdekében ne telepítse a készüléket közvetlen napfénynek kitett helyre. Ne telepítse a készüléket radiátorok, tűzhelyek, sütők vagy főzőlapok közelébe, hacsak a telepítési útmutató másképp nem rendelkezik.
Győződjön meg arról, hogy a levegő szabadon áramolhat a szekrény hátulja körül.
Ezt a készüléket száraz, jól szellőző beltéri helyen kell telepíteni.
Ezt a készüléket 10 °C és 43 °C közötti környezeti hőmérsékleten való használatra tervezték.
A készülék helyes működése csak a megadott hőmérsékleti tartományon belül garantálható.
Ha bármilyen kétsége van a készülék telepítésével kapcsolatban, forduljon az eladóhoz, ügyfélszolgálatunkhoz vagy a legközelebbi hivatalos szervizközponthoz.
A készüléket le kell tudni választani a hálózati tápellátásról. A csatlakozónak ezért a telepítés után is könnyen hozzáférhetőnek kell lennie.
ELEKTROMOS CSATLAKOZTATÁS
A készülék felszereléséhez szükséges minden elektromos munkát szakképzett villanyszerelőnek vagy hozzáértő személynek kell elvégeznie.
Ezt a készüléket földelni kell.
A gyártó nem vállal felelősséget, ha ezeket a biztonsági intézkedéseket nem tartják be.
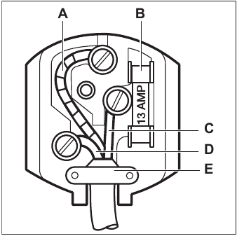
A hálózati vezetékben lévő vezetékek a következő színkód szerint vannak színezve:

- A - zöld és sárga: Földelés
- C - barna: Feszültség alatt lévő
- D - kék: Nulla
Mivel a készülék hálózati vezetékében lévő vezetékek színei nem feltétlenül egyeznek meg a dugasz csatlakozóiban lévő színjelölésekkel, járjon el a következőképpen:
- Csatlakoztassa a zöld és sárga színű vezetéket az "E" betűvel vagy a föld szimbólummal
jelölt vagy zöld és sárga színű csatlakozóhoz. - Csatlakoztassa a kék színű vezetéket az "N" betűvel vagy fekete színnel jelölt csatlakozóhoz.
- Csatlakoztassa a barna színű vezetéket az "L" betűvel vagy piros színnel jelölt csatlakozóhoz.
- Ellenőrizze, hogy nincs-e elvágott vagy kóbor vezetékszál, és hogy a kábelrögzítő (E) biztonságosan rögzítve van-e a külső köpenyen.
Győződjön meg arról, hogy az elektromos hálózat feszültsége megegyezik a készülék adattábláján feltüntetett feszültséggel. - Kapcsolja be a készüléket.
A készüléket 13 amperes biztosítékkal (B) szállítjuk. A mellékelt dugaszban lévő biztosítékot ki kell cserélni, 13 amperes, ASTA által jóváhagyott (BS 1362) biztosítékot kell használni.
A 13 amperes aljzatba dugott levágott dugasz súlyos biztonsági (áramütés) kockázatot jelent. Győződjön meg arról, hogy biztonságosan ártalmatlanítják.
SZELLŐZÉSI KÖVETELMÉNYEK
A készüléket a telepítési utasításoknak megfelelően kell felszerelni a szükséges szellőzés biztosítása érdekében.
AZ AJTÓ MEGFORDÍTÁSA
Kérjük, olvassa el a külön dokumentumot, amely tartalmazza a telepítéssel és az ajtó megfordításával kapcsolatos utasításokat.
Az ajtó megfordításának minden szakaszában védje a padlót a karcolásoktól tartós anyaggal.
KEZELŐPANEL

- Bekapcsolásjelző lámpa
- Hőmérséklet-szabályozó és be-/kikapcsoló
- FastFreeze (gyorsfagyasztás) jelzőfény
- FastFreeze (gyorsfagyasztás) kapcsoló és riasztás visszaállító kapcsoló
- Riasztásjelző lámpa
BEKAPCSOLÁS
- Dugja be a dugót a fali aljzatba.
- Forgassa el a hőmérsékletszabályozót az óramutató járásával megegyező irányba egy közepes fokozatra.
Ha a hőmérséklet a készülék belsejében túl magas, a riasztásjelző lámpa villog, és a hangjelzés bekapcsol. - Nyomja meg a FastFreeze (gyorsfagyasztás) kapcsolót, és a hangjelzés kikapcsol. A riasztásjelző lámpa addig villog, amíg a belső hőmérséklet el nem éri a fagyasztott élelmiszerek biztonságos tárolásához szükséges szintet.
KIKAPCSOLÁS
- Forgassa el a hőmérsékletszabályozót "O" állásba.
A bekapcsolásjelző lámpa kikapcsol. - Húzza ki a dugót a fali aljzatból.
HŐMÉRSÉKLET-SZABÁLYOZÁS
A hőmérséklet automatikusan szabályozódik. Azonban beállíthatja a hőmérsékletet a készülék belsejében.
A beállítás kiválasztásakor tartsa szem előtt, hogy a hőmérséklet a készülék belsejében a következőktől függ:
- szobahőmérséklet,
- az ajtó nyitásának gyakorisága,
- a tárolt élelmiszer mennyisége,
- a készülék helye.
Általában a közepes beállítás a legmegfelelőbb.
A készülék üzemeltetéséhez:
- Forgassa el a hőmérsékletszabályozót az óramutató járásával megegyező irányba a készülék belsejében alacsonyabb hőmérséklet eléréséhez.
- Forgassa el a hőmérsékletszabályozót az óramutató járásával ellentétes irányba a készülék belsejében magasabb hőmérséklet eléréséhez.
FASTFREEZE (GYORSFAGYASZTÁS) FUNKCIÓ
A FastFreeze (gyorsfagyasztás) a fagyasztórekeszben történő előfagyasztásra és gyorsfagyasztásra szolgál. Ez a funkció felgyorsítja a friss élelmiszerek fagyasztását, és ezzel egyidejűleg védi a már tárolt élelmiszereket a nem kívánt felmelegedéstől.
A friss élelmiszerek lefagyasztásához aktiválja a FastFreeze (gyorsfagyasztás) funkciót legalább 24 órával az élelmiszer elhelyezése előtt az előfagyasztás befejezéséhez.
A funkció bekapcsolásához:
- Nyomja meg a FastFreeze (gyorsfagyasztás) kapcsolót 2-3 másodpercig a FastFreeze (gyorsfagyasztás) funkció aktiválásához. A FastFreeze (gyorsfagyasztás) jelzőfény kigyullad.
- Helyezze az élelmiszert a fagyasztórekeszbe, és tartsa a FastFreeze (gyorsfagyasztás) funkciót bekapcsolva további 24 órán keresztül. Lásd a "Friss élelmiszerek fagyasztása" című részt.
Ez a funkció 52 óra elteltével automatikusan leáll. A funkció bármikor kikapcsolható a FastFreeze (gyorsfagyasztás) kapcsoló 2-3 másodpercig tartó megnyomásával.
MAGAS HŐMÉRSÉKLETRIASZTÁS
Ha a fagyasztórekeszben a hőmérséklet emelkedik (például áramszünet miatt), a riasztásjelző lámpa villog, és a hangjelzés bekapcsol.
A hang bármikor kikapcsolható a Alarm reset (Riasztás visszaállítása) kapcsoló megnyomásával.
A normál körülmények helyreállítása után a riasztásjelző lámpa és a hangjelzés automatikusan kikapcsol.
NYITOTT AJTÓ RIASZTÁS
Hangjelzés hallható, ha az ajtó körülbelül 80 másodpercig nyitva marad.
Az ajtó becsukása után a hangjelzés megszűnik.
Mindenesetre nyomja meg az Alarm reset (Riasztás visszaállítása) kapcsolót a hangjelzés kikapcsolásához.
NAPI HASZNÁLAT
FRISS ÉLELMISZEREK FAGYASZTÁSA
A fagyasztórekesz alkalmas friss élelmiszerek fagyasztására, valamint fagyasztott és mélyfagyasztott élelmiszerek hosszú ideig történő tárolására.
A friss élelmiszerek lefagyasztásához aktiválja a FastFreeze (gyorsfagyasztás) funkciót legalább 24 órával azelőtt, hogy a lefagyasztandó élelmiszert a fagyasztórekeszbe helyezné.
A friss élelmiszert egyenletesen elosztva tárolja a legfelső rekeszben vagy fiókban.
Az a maximális mennyiségű élelmiszer, amely 24 óra alatt lefagyasztható anélkül, hogy más friss élelmiszert adnánk hozzá, az adattáblán (a készülék belsejében található címkén) van feltüntetve.
Amikor a fagyasztási folyamat befejeződött, a készülék automatikusan visszaáll az előző hőmérséklet-beállításra (lásd a "FastFreeze (gyorsfagyasztás) funkció" részt).
További információkért lásd a "Tippek a fagyasztáshoz" című részt.
FAGYASZTOTT ÉLELMISZEREK TÁROLÁSA
A készülék első alkalommal történő bekapcsolásakor vagy egy ideig használaton kívül hagyás után, mielőtt a termékeket a rekeszbe helyezné, hagyja a készüléket legalább 3 órán keresztül a FastFreeze (gyorsfagyasztás) funkció bekapcsolásával.
A fagyasztófiókok biztosítják, hogy gyorsan és egyszerűen megtalálja a kívánt élelmiszer-csomagot.
Ha nagy mennyiségű élelmiszert kell tárolni, távolítsa el az összes fiókot, kivéve az alsó fiókot, amelynek a helyén kell lennie a jó légkeringés biztosításához.
Tartsa az élelmiszert legalább 15 mm-re az ajtótól.
Véletlen leolvasztás esetén, például áramszünet miatt, ha az áramszünet hosszabb volt, mint az adattáblán a "emelkedési idő" alatt feltüntetett érték, a kiolvadt élelmiszert gyorsan fel kell használni, vagy azonnal meg kell főzni, majd le kell hűteni és újra le kell fagyasztani. Lásd a "Magas hőmérsékletriasztás" című részt.
KIOLVASZTÁS
A fogyasztás előtt a mélyfagyasztott vagy fagyasztott élelmiszereket a hűtőszekrényben vagy hideg víz alatt, műanyag zacskóban lehet kiolvasztani.
Ez a művelet a rendelkezésre álló időtől és az élelmiszer típusától függ. A kisebb darabokat akár fagyosan is meg lehet főzni.
HASZNOS TANÁCSOK
ENERGIA MEGTAKARÍTÁSI TANÁCSOK
- A készülék belső kialakítása biztosítja a leghatékonyabb energiafelhasználást.
- Ne nyissa ki gyakran az ajtót, és ne hagyja a szükségesnél hosszabb ideig nyitva.
- Minél hidegebbre van állítva a hőmérséklet, annál nagyobb az energiafogyasztás.
- Biztosítson jó szellőzést. Ne takarja le a szellőzőrácsokat vagy -nyílásokat.
FAGYASZTÁSI TANÁCSOK
- A FastFreeze funkciót legalább 24 órával azelőtt aktiválja, hogy ételt helyezne a fagyasztótérbe.
- Fagyasztás előtt csomagolja be és zárja le a friss élelmiszert: alufóliába, műanyag fóliába vagy zacskóba, légmentesen záródó fedeles edénybe.
- A hatékonyabb fagyasztás és kiolvasztás érdekében ossza az ételt kis adagokra.
- Javasoljuk, hogy minden fagyasztott ételre helyezzen címkét és dátumot. Ez segít az ételek azonosításában, és abban, hogy tudja, mikor kell felhasználni azokat, mielőtt azok megromlanak.
- Az élelmiszer jó minőségének megőrzése érdekében frissnek kell lennie a fagyasztáskor. Különösen a gyümölcsöket és zöldségeket kell betakarítás után lefagyasztani, hogy megőrizzék tápanyagaikat.
- Ne fagyasszon le folyadékkal teli palackokat vagy dobozokat, különösen szén-dioxidot tartalmazó italokat, mert azok fagyás közben felrobbanhatnak.
- Ne tegyen forró ételt a fagyasztótérbe. Hűtse le szobahőmérsékleten, mielőtt a rekeszbe helyezné.
- A már lefagyasztott élelmiszerek hőmérsékletének emelkedésének elkerülése érdekében ne tegyen friss, fagyasztatlan élelmiszert közvetlenül melléjük. Helyezze a szobahőmérsékletű élelmiszert a fagyasztótér azon részébe, ahol nincs fagyasztott élelmiszer.
- Ne fogyasszon jégkockát, vizet vagy jégkrémet közvetlenül a fagyasztóból való kivétel után. Fagyási sérülések veszélye.
- Ne fagyassza újra a kiolvasztott ételt. Ha az étel kiolvadt, főzze meg, hűtse le, majd fagyassza le.
TANÁCSOK A FAGYASZTOTT ÉLELMISZEREK TÁROLÁSÁHOZ
- A fagyasztótér a következő jelzéssel van ellátva:
. - A közepes hőmérséklet-beállítás biztosítja a fagyasztott élelmiszerek jó tartósítását. A készülékben magasabb hőmérséklet-beállítás rövidebb eltarthatósági időhöz vezethet.
- A teljes fagyasztótér alkalmas fagyasztott élelmiszerek tárolására.
- Hagyjon elegendő helyet az élelmiszerek körül, hogy a levegő szabadon áramolhasson.
- A megfelelő tárolás érdekében olvassa el az élelmiszer csomagolásán található címkét, hogy megtudja az élelmiszer eltarthatóságát.
- Fontos, hogy az élelmiszert úgy csomagolja be, hogy megakadályozza a víz, a páratartalom vagy a páralecsapódás bejutását.
VÁSÁRLÁSI TIPPEK
Élelmiszer vásárlás után:
- Győződjön meg arról, hogy a csomagolás nem sérült-e - az élelmiszer romlott lehet. Ha a csomag meg van duzzadva vagy nedves, akkor valószínűleg nem tárolták optimális körülmények között, és a kiolvadás már elkezdődhetett.
- A kiolvadási folyamat korlátozása érdekében a fagyasztott árukat a bevásárlás végén vásárolja meg, és hőszigetelt hűtőtáskában szállítsa azokat.
- A boltból való visszatérés után azonnal helyezze a fagyasztott élelmiszereket a fagyasztóba.
- Ha az élelmiszer részlegesen kiolvadt, ne fagyassza újra. Fogyassza el a lehető leghamarabb.
- Tartsa be a csomagoláson feltüntetett lejárati időt és tárolási információkat.
ELTARTHATÓSÁGI IDŐ
| Élelmiszer típusa | Eltarthatósági idő (hónap) |
| Kenyér | 3 |
| Gyümölcsök (a citrusfélék kivételével) | - 12 |
| Zöldségek | - 10 |
| Húsnélküli maradékok | - 2 |
| Tejtermékek: | |
| Vaj | - 9 |
| Lágy sajt (pl. mozzarella) | - 4 |
| Kemény sajt (pl. parmezán, cheddar) | 6 |
| Tenger gyümölcsei: | |
| Zsíros halak (pl. lazac, makréla) | - 3 |
| Sovány halak (pl. tőkehal, lepényhal) | - 6 |
| Garnélarák | 12 |
| Héjas kagyló és fésűkagyló | - 4 |
| Főtt hal | - 2 |
| Hús: | |
| Baromfi | 9 - 12 |
| Marhahús | 6 - 12 |
| Sertéshús | 4 - 6 |
| Bárányhús | 6 - 9 |
| Kolbász | 1 - 2 |
| Sonka | 1 - 2 |
| Hússal készült maradékok | 2 - 3 |
ÁPOLÁS ÉS TISZTÍTÁS
Lásd a Biztonsági fejezeteket.
A BELSŐ TÉR TISZTÍTÁSA
A készülék első használata előtt a belső teret és az összes belső tartozékot langyos vízzel és semleges szappannal kell lemosni, hogy eltávolítsuk egy vadonatúj termékre jellemző szagot, majd alaposan meg kell szárítani.
Ne használjon tisztítószereket, súrolószert, klórt vagy olajbázisú tisztítószereket, mert azok károsítják a felületet.
A készülék tartozékai és alkatrészei nem alkalmasak mosogatógépben való mosásra.
PERIODIKUS TISZTÍTÁS
A berendezést rendszeresen tisztítani kell:
- Tisztítsa meg a belsejét és a tartozékokat langyos vízzel és semleges szappannal.
- Rendszeresen ellenőrizze az ajtótömítéseket, és törölje tisztára őket, hogy tiszták és törmelékmentesek legyenek.
- Öblítse le és szárítsa meg alaposan.
A FAGYASZTÓ LEOLVASZTÁSA
Soha ne használjon éles fémeszközöket a párologtatóról való jég eltávolításához, mert megsértheti azt. A gyártó által ajánlottakon kívül ne használjon mechanikus eszközt vagy más mesterséges módszert a leolvasztási folyamat felgyorsítására.
Körülbelül 12 órával a leolvasztás előtt állítson be alacsonyabb hőmérsékletet, hogy elegendő hűtési tartalék képződjön a működés esetleges megszakítása esetére.
A fagyasztó polcain és a felső rekesz körül mindig képződik valamennyi jég.
A fagyasztót akkor olvassza le, amikor a jégréteg vastagsága eléri a 3-5 mm-t.
- Kapcsolja ki a készüléket, vagy húzza ki a hálózati csatlakozót a fali aljzatból.
- Vegye ki az összes tárolt élelmiszert, és tegye hűvös helyre.
A fagyasztott élelmiszer csomagok hőmérsékletének emelkedése a leolvasztás során lerövidítheti biztonságos tárolási idejüket.
Ne érintse meg a fagyasztott árukat nedves kézzel. A kezek ráfagyhatnak az árukra. - Hagyja nyitva az ajtót. Óvja a padlót a leolvasztásból származó víztől, pl. ruhával vagy lapos edénnyel.
- A leolvasztási folyamat felgyorsítása érdekében helyezzen egy edény meleg vizet a fagyasztótérbe. Ezenkívül távolítsa el a leváló jégdarabokat a leolvasztás befejezése előtt.
- A leolvasztás befejezése után szárítsa meg alaposan a belsejét.
- Kapcsolja be a készüléket, és csukja be az ajtót.
- Állítsa a hőmérséklet-szabályozót a maximális hidegre, és ezen a beállításon legalább 3 órán keresztül üzemeltesse a készüléket.
Csak ezután tegye vissza az élelmiszert a fagyasztótérbe.
A LÉGCSATORNÁK TISZTÍTÁSA
- Távolítsa el a lábazatot (A), majd a szellőzőrácsot (B).
![Zanussi - ZYAE82FR - A LÉGCSATORNÁK TISZTÍTÁSA A LÉGCSATORNÁK TISZTÍTÁSA]()
- Tisztítsa meg a szellőzőrácsot.
- Óvatosan húzza ki a légterelőt (C), és ellenőrizze, hogy nem maradt-e benne víz a leolvasztásból.
- Tisztítsa meg a készülék alsó részét porszívóval.
ÜZEMEN KÍVÜLI IDŐSZAK
Ha a készüléket hosszabb ideig nem használja, tegye meg a következő óvintézkedéseket:
- Válassza le a készüléket az elektromos hálózatról.
- Távolítsa el az összes élelmiszert.
- Olvassza le a készüléket.
- Tisztítsa meg a készüléket és az összes tartozékot.
- Hagyja nyitva az ajtót, hogy elkerülje a kellemetlen szagokat.
HIBAELHÁRÍTÁS
Lásd a Biztonsági fejezeteket.
MIT TEGYÜNK, HA...
| Probléma | Lehetséges ok | Megoldás |
| A készülék nem működik. | A készülék ki van kapcsolva. | Kapcsolja be a készüléket. |
| A hálózati csatlakozódugó nincs megfelelően csatlakoztatva a fali aljzathoz. | Csatlakoztassa megfelelően a hálózati csatlakozódugót a fali aljzathoz. | |
| Nincs feszültség a fali aljzatban. | Csatlakoztasson egy másik elektromos készüléket a fali aljzathoz. Forduljon szakképzett villanyszerelőhöz. | |
| A készülék zajos. | A készülék nincs megfelelően megtámasztva. | Ellenőrizze, hogy a készülék stabilan áll-e. |
| Hang- vagy fényjelzés van. | A szekrényt nemrég kapcsolták be. | Lásd a "Magas hőmérséklet riasztás" vagy az "Ajtónyitás riasztás" részt. |
| A hőmérséklet a készülékben túl magas. | Lásd a "Magas hőmérséklet riasztás" vagy az "Ajtónyitás riasztás" részt. | |
| Az ajtó nyitva maradt. | Csukja be az ajtót. | |
| A kompresszor folyamatosan működik. | A hőmérséklet helytelenül van beállítva. | Lásd a "Kezelőpanel" fejezetet. |
| Egyszerre sok élelmiszert helyeztek be. | Várjon néhány órát, majd ellenőrizze újra a hőmérsékletet. | |
| A szobahőmérséklet túl magas. | Lásd a "Telepítés" fejezetet. | |
| A készülékbe helyezett élelmiszerek túl melegek voltak. | Hagyja az élelmiszereket szobahőmérsékletűre hűlni a tárolás előtt. | |
| Az ajtó nincs megfelelően becsukva. | Lásd „Az ajtó becsukása” című részt. | |
| A FastFreeze funkció be van kapcsolva. | Lásd a "FastFreeze funkció" részt. | |
| A kompresszor nem indul el azonnal a "FastFreeze" megnyomása után, vagy a hőmérséklet megváltoztatása után. | A kompresszor egy idő elteltével indul el. | Ez normális, nem történt hiba. |
| Az ajtó el van igazítva, vagy zavarja a szellőzőrácsot. | A készülék nincs vízszintben. | Lásd a telepítési utasításokat. |
| Az ajtó nem nyílik könnyen. | Az ajtó becsukása után azonnal megpróbálta újra kinyitni. | Várjon néhány másodpercet az ajtó becsukása és újranyitása között. |
| Túl sok a jég és a dér. | Az ajtó nincs megfelelően becsukva. | Lásd „Az ajtó becsukása” című részt. |
| A tömítés deformálódott vagy szennyezett. | Lásd „Az ajtó becsukása” című részt. | |
| Az élelmiszerek nincsenek megfelelően becsomagolva. | Csomagolja be jobban az élelmiszereket. | |
| A hőmérséklet helytelenül van beállítva. | Lásd a "Kezelőpanel" fejezetet. | |
| A készülék teljesen meg van töltve, és a legalacsonyabb hőmérsékletre van beállítva. | Állítson be magasabb hőmérsékletet. Lásd a "Kezelőpanel" fejezetet. | |
| A készülékben beállított hőmérséklet túl alacsony, és a környezeti hőmérséklet túl magas. | Állítson be magasabb hőmérsékletet. Lásd a "Kezelőpanel" fejezetet. | |
| Víz folyik a padlón. | Az olvadékvíz-kivezetés nincs csatlakoztatva a készülék alatti párologtató tálcához. | Csatlakoztassa az olvadékvíz-kivezetést a párologtató tálcához. |
| A hőmérséklet nem állítható be. | A FastFreeze funkció be van kapcsolva. | A hőmérséklet beállításához kapcsolja ki kézzel a FastFreeze funkciót, vagy várja meg, amíg a funkció automatikusan kikapcsol. Lásd a "FastFreeze funkció" részt. |
| A hőmérséklet a készülékben túl alacsony/túl magas. | A hőmérséklet nincs megfelelően beállítva. | Állítson be magasabb/alacsonyabb hőmérsékletet. |
| Az ajtó nincs megfelelően becsukva. | Lásd „Az ajtó becsukása” című részt. | |
| Az élelmiszerek hőmérséklete túl magas. | Hagyja, hogy az élelmiszerek hőmérséklete a tárolás előtt szobahőmérsékletre csökkenjen. | |
| Egyszerre sok élelmiszert tárolnak. | Egyszerre kevesebb élelmiszert tároljon. | |
| A dér vastagsága nagyobb, mint 4-5 mm. | Olvaszsa le a készüléket. | |
| Az ajtót gyakran kinyitották. | Csak akkor nyissa ki az ajtót, ha szükséges. | |
| A FastFreeze funkció be van kapcsolva. | Lásd a "FastFreeze funkció" részt. | |
| Nincs hideg levegő keringés a készülékben. | Győződjön meg arról, hogy van hideg levegő keringés a készülékben. Lásd a "Tippek és trükkök" fejezetet. | |
| A tápellátás jelzőfénye villog. | Hiba történt a hőmérséklet mérése során. | Forduljon szakképzett villanyszerelőhöz vagy a legközelebbi hivatalos szervizközponthoz. |
Ha a tanácsok nem vezettek a kívánt eredményre, hívja a legközelebbi hivatalos szervizközpontot.
AZ AJTÓ BECSUKÁSA
- Tisztítsa meg az ajtótömítéseket.
- Szükség esetén állítsa be az ajtót. Lásd a telepítési utasításokat.
- Szükség esetén cserélje ki a hibás ajtótömítéseket. Forduljon a hivatalos szervizközponthoz.
ZAJOK

MŰSZAKI ADATOK
A műszaki adatok a készülék belsejében található adattáblán és az energiacímkén találhatók.
A készülékhez mellékelt energiacímkén található QR-kód egy webes hivatkozást biztosít a készülék teljesítményével kapcsolatos információkhoz. Őrizze meg az energiacímkét referenciaként a használati útmutatóval és a készülékhez mellékelt összes egyéb dokumentummal együtt.
INFORMÁCIÓK A VIZSGÁLÓ INTÉZETEK SZÁMÁRA
A készülék EcoDesign ellenőrzés céljából történő telepítésének és előkészítésének meg kell felelnie a BS EN 62552 szabványnak. A szellőztetési követelményeknek, a mélyedés méreteinek és a minimális hátsó hézagoknak a jelen Felhasználói kézikönyvben foglaltaknak kell megfelelniük. Kérjük, forduljon a gyártóhoz további információkért, beleértve a betöltési terveket is.
BIZTONSÁGI INFORMÁCIÓK
A készülék telepítése és használata előtt figyelmesen olvassa el a mellékelt útmutatót. A gyártó nem vállal felelősséget a helytelen telepítésből vagy használatból eredő sérülésekért vagy károkért. Őrizze meg az utasításokat biztonságos és hozzáférhető helyen a későbbi felhasználás céljából.
GYERMEKEK ÉS SEBEZHETŐ SZEMÉLYEK BIZTONSÁGA
- A készüléket 8 éves és annál idősebb gyermekek, valamint csökkent fizikai, érzékszervi vagy szellemi képességekkel rendelkező, illetve tapasztalattal és tudással nem rendelkező személyek használhatják, ha felügyeletet kaptak, vagy ha a készülék biztonságos használatára vonatkozóan utasításokat kaptak, és megértik a kockázatokat.
- A 3 és 8 év közötti gyermekek a készüléket be- és kirakhatják, feltéve, hogy megfelelő oktatásban részesültek.
- Ezt a készüléket nagyon súlyos és összetett fogyatékossággal élő személyek is használhatják, feltéve, hogy megfelelő oktatásban részesültek.
- A 3 évnél fiatalabb gyermekeket tartsa távol a készüléktől, kivéve, ha folyamatosan felügyelik őket.
- A gyermekeket felügyelni kell annak biztosítására, hogy ne játsszanak a készülékkel.
- A gyermekek felügyelet nélkül nem végezhetik a készülék tisztítását és felhasználói karbantartását.
- Tartsa távol az összes csomagolóanyagot a gyermekektől, és megfelelően ártalmatlanítsa azokat.
ÁLTALÁNOS BIZTONSÁG
- Ez a készülék kizárólag élelmiszerek és italok tárolására szolgál.
- Ezt a készüléket egy háztartásban való, beltéri használatra tervezték.
- Ez a készülék használható irodákban, szállodai szobákban, panziók szobáiban, farmokon található vendégházakban és más hasonló szálláshelyeken, ahol az ilyen használat nem lépi túl az (átlagos) háztartási használati szinteket.
- Az élelmiszerek szennyeződésének elkerülése érdekében tartsa be a következő utasításokat:
- ne hagyja nyitva az ajtót hosszú ideig;
- rendszeresen tisztítsa meg azokat a felületeket, amelyek érintkezhetnek az élelmiszerekkel, és a hozzáférhető vízelvezető rendszereket;
Tartsa szabadon a szellőzőnyílásokat a készülék burkolatán vagy a beépített szerkezetben.
Ne használjon mechanikus eszközöket vagy más módszereket a leolvasztási folyamat felgyorsítására, kivéve a gyártó által ajánlottakat.
Ne rongálja meg a hűtőközeg-kört.
Ne használjon elektromos készülékeket a készülék élelmiszer-tároló rekeszeiben, kivéve, ha azok a gyártó által ajánlott típusúak.- Ne használjon vízpermetet és gőzt a készülék tisztításához.
- Tisztítsa meg a készüléket egy nedves, puha ruhával. Csak semleges tisztítószereket használjon. Ne használjon súroló hatású termékeket, súroló hatású tisztítópárnákat, oldószereket vagy fémtárgyakat.
- Ha a készülék hosszabb ideig üresen áll, kapcsolja ki, olvassza le, tisztítsa meg, szárítsa meg, és hagyja nyitva az ajtót, hogy megakadályozza a penészképződést a készülékben.
- Ne tároljon ebben a készülékben robbanásveszélyes anyagokat, például gyúlékony hajtógázzal ellátott aeroszolos dobozokat.
- Ha a tápkábel megsérült, a veszély elkerülése érdekében a gyártónak, annak hivatalos szervizközpontjának vagy hasonlóan képzett személyeknek kell kicserélnie.
BIZTONSÁGI UTASÍTÁSOK
TELEPÍTÉS
Ezt a készüléket csak szakképzett személy szerelheti be.
- Távolítson el minden csomagolóanyagot.
- Ne szerelje be vagy használja a sérült készüléket.
- Ne használja a készüléket, mielőtt beépítené a beépített szerkezetbe a biztonság érdekében.
- Kövesse a készülékhez mellékelt telepítési utasításokat.
- A készülék mozgatásakor mindig legyen óvatos, mert nehéz. Mindig használjon védőkesztyűt és zárt cipőt.
- Győződjön meg arról, hogy a levegő keringhet a készülék körül.
- Az első telepítéskor vagy az ajtó megfordítása után várjon legalább 4 órát, mielőtt a készüléket a tápegységhez csatlakoztatná. Ez azért szükséges, hogy az olaj visszafolyhasson a kompresszorba.
- Mielőtt bármilyen műveletet végezne a készüléken (pl. az ajtó megfordítása), húzza ki a dugót a fali aljzatból.
- Ne telepítse a készüléket radiátorok, tűzhelyek, sütők vagy főzőlapok közelébe, hacsak a telepítési utasítások másként nem rendelkeznek.
- Ne tegye ki a készüléket esőnek.
- Ne telepítse a készüléket közvetlen napfénynek kitett helyre.
- Ne telepítse ezt a készüléket túl párás vagy túl hideg helyre.
- Amikor mozgatja a készüléket, emelje fel az első élénél fogva, hogy elkerülje a padló karcolódását.
ELEKTROMOS CSATLAKOZTATÁS
Tűz- és áramütésveszély.
A készülék elhelyezésekor ügyeljen arra, hogy a tápkábel ne szoruljon be és ne sérüljön meg.
Ne használjon többdugós adaptert és hosszabbító kábelt.
- A készüléket földelni kell.
- Győződjön meg arról, hogy a típustáblán szereplő paraméterek kompatibilisek a hálózati tápegység elektromos értékeivel.
- Mindig használjon megfelelően felszerelt, ütésálló aljzatot.
- Ügyeljen arra, hogy ne okozzon kárt az elektromos alkatrészekben (pl. hálózati csatlakozó, hálózati kábel, kompresszor). Az elektromos alkatrészek cseréjéhez forduljon a hivatalos szervizközponthoz vagy egy villanyszerelőhöz.
- A hálózati kábelnek a hálózati csatlakozó szintje alatt kell maradnia.
- A hálózati csatlakozót csak a telepítés végén csatlakoztassa a hálózati aljzathoz. Győződjön meg arról, hogy a telepítés után hozzáférhető a hálózati csatlakozó.
- Ne húzza a hálózati kábelt a készülék leválasztásához. Mindig a hálózati csatlakozót húzza.
HASZNÁLAT
Sérülés, égési sérülések, áramütés vagy tűz veszélye.
A készülék gyúlékony gázt, izobutánt (R600a) tartalmaz, amely egy természetes gáz, magas környezeti kompatibilitással. Ügyeljen arra, hogy ne okozzon kárt az izobutánt tartalmazó hűtőkörnek.
- Ne változtassa meg a készülék specifikációit.
- A beépített termék szabadon állóként történő használata szigorúan tilos.
- Ne helyezzen elektromos készülékeket (pl. fagylaltkészítőket) a készülékbe, kivéve, ha a gyártó azokat alkalmazhatónak nyilvánította.
- Ha a hűtőkör sérül, győződjön meg arról, hogy a helyiségben nincsenek lángok és gyújtóforrások. Szellőztesse ki a helyiséget.
- Ne hagyja, hogy forró tárgyak érintkezzenek a készülék műanyag részeivel.
- Ne tegyen üdítőitalokat a fagyasztórekeszbe. Ez nyomást gyakorol az italtartályra.
- Ne tároljon gyúlékony gázt és folyadékot a készülékben.
- Ne helyezzen gyúlékony termékeket vagy gyúlékony termékekkel átitatott tárgyakat a készülékbe, annak közelébe vagy rá.
- Ne érintse meg a kompresszort vagy a kondenzátort. Forrók.
- Ne vegyen ki és ne érintsen meg tárgyakat a fagyasztórekeszből, ha a keze nedves vagy nyirkos.
- Ne fagyassza le újra a kiolvadt élelmiszert.
- Kövesse a fagyasztott élelmiszerek csomagolásán található tárolási utasításokat.
- Csomagolja be az élelmiszert bármilyen élelmiszerrel érintkező anyagba, mielőtt a fagyasztórekeszbe helyezné.
ÁPOLÁS ÉS TISZTÍTÁS
Sérülés vagy a készülék károsodásának veszélye.
- Karbantartás előtt kapcsolja ki a készüléket, és húzza ki a hálózati csatlakozót a fali aljzatból.
- Ez a készülék szénhidrogéneket tartalmaz a hűtőegységben. Csak szakképzett személy végezheti el az egység karbantartását és feltöltését.
- Rendszeresen vizsgálja meg a készülék lefolyóját, és ha szükséges, tisztítsa meg. Ha a lefolyó eltömődött, a leolvasztott víz összegyűlik a készülék alján.
SZERVIZ
- A készülék javításához forduljon a hivatalos szervizközponthoz. Csak eredeti alkatrészeket használjon.
- Felhívjuk figyelmét, hogy az önjavítás vagy a nem szakszerű javítás biztonsági következményekkel járhat, és érvénytelenítheti a garanciát.
- A modell megszűnését követően 7 évig elérhetőek lesznek a következő alkatrészek: termosztátok, hőmérséklet-érzékelők, nyomtatott áramköri lapok, fényforrások, ajtókilincsek, ajtópántok, tálcák és kosarak. Felhívjuk figyelmét, hogy ezen alkatrészek közül néhány csak szakszerű javítók számára áll rendelkezésre, és nem minden alkatrész releváns minden modellhez.
- Az ajtótömítések a modell megszűnését követően 10 évig elérhetőek lesznek.

Hivatkozások
Kézikönyv letöltése
Itt letöltheti a kézikönyv teljes pdf verzióját, amely további biztonsági utasításokat, garanciális információkat, FCC szabályokat stb. tartalmazhat.
Zanussi ZYAE82FR - Beépíthető fagyasztószekrény - Használati útmutató letöltése
.