Texecom Ricochet Impaq Contact-W - Қауіпсіздік жүйесінің нұсқаулығы

КІРІСПЕ
- Сымсыз қосылым, егжей-тегжейлі бағдарламалау және жүйені орнату нұсқаулары үшін үйлесімді RICOCHET™ технологиясы қосылған Premier Elite сымсыз кеңейткішінің нұсқауларын қараңыз.
- RICOCHET™ сымсыз технологиясымен жабдықталған Impaq Contact-W кәсіби қауіпсіздік орнатуларына арналған.
- Impaq Contact-W құрылғысын кіру/шығу маршрутында немесе 24 сағаттық есікте пайдаланғанда немесе қоңырау қажет болғанда, құрылғы атрибуттарын әдепкі "Always Awake" ("Әрқашан ояу") күйінде қалдыру керек.
- Құрылғы атрибуттарын өзгерту жолы туралы толық ақпаратты Premier Elite 8XP-W/32XP-W орнату нұсқаулығынан қараңыз.
ҚҰРАСТЫРУ
Артқы тампер үшін - детекторды ДА артқы тампер кірістіруін де бекіту бетіне бекітіңіз. Артқы тамперді іске қосу өнімді зақымдайды.

БАТАРЕЯ

Батареяның қауіпсіздігі
- Отқа тастамаңыз
- Қыздырмаңыз
- Зарядтамаңыз
- Қысқа тұйықтамаңыз
- Бөлшектемеңіз
- Тек бірдей немесе баламалы түрімен ғана ауыстырыңыз
- Батареяны кәдеге жаратқанда әрқашан жергілікті ережелерді сақтаңыз
- Детектор батареяны ауыстыру қажет болғанда батареяның заряды аз екендігі туралы ескертуді жібереді
Магнит
Ферромагниттік емес монтаждау материалы
- Максималды үзіліс = 30мм
- Минималды қосылу = 15мм
Ферромагниттік монтаждау материалы
- Максималды үзіліс = 15мм
- Минималды қосылу = 5мм
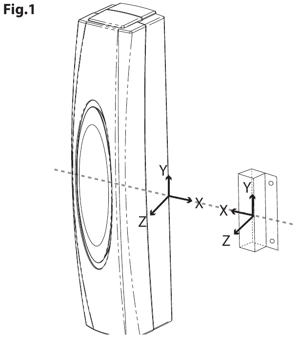
Ескертпе: Мәндер монтаждау материалына байланысты. 1-суретті қараңыз
![Texecom - Ricochet Impaq Contact-W - МАГНИТТІ ОРНАЛАСТЫРУ МАГНИТТІ ОРНАЛАСТЫРУ]()
Ридті өшіру
| Өшірілген |
![]() | Қосылған |
Қайта үйрену
Құрылғыны үйрену үшін Relearn түйреуіш тақтасына секіргішті орнатыңыз және батареяны салыңыз.
ҚОСЫМША КІРІСТЕР 1 ЖӘНЕ 2
Impaq Contact-W құрылғысында 2 қосымша кіріс бар. Оларды кез келген N/C құрылғысы үшін пайдалануға болады және қабылдағышқа сымсыз сигнал беруді пайдаланады. Пайдаланудың типтік мысалдары:-
- N/C шығысы бар кез келген жергілікті қуатталатын құрылғы, мысалы, түтін детекторлары, шыны сындыру детекторлары, қозғалыс датчиктері, су тасқыны детекторлары және т.б.
- Қуатталмайтын кез келген N/C құрылғысы, мысалы, қосымша магниттік контактілер, бекітілген PA түймелері және т.б.
- Кірістірілген ридті ажыратқышты өшіруге болады.
- Конфигурация және бағдарламалау опциялары Premier сымсыз кеңейткішін орнату нұсқаулығында егжей-тегжейлі көрсетілген.
- Белгілі бір мүмкіндіктер мен функциялар басқару панелінің бағдарламалық құралына тәуелді.
МАГНИТТІ ОРНАЛАСТЫРУ
| Магниттерді құрылғының екі жағына да орнатуға болады. (Барлық қашықтық мм-мен) | ||||
| Материал | Өсь | Жақындау Мин | Алып тастау | |
| Мин | Макс | |||
| Ферромагниттік емес | | 14 6 18 | 16 8 20 | 24 16 28 |
| Ферромагниттік | | 5 5 13 | 6 6 15 | 12 12 21 |
Жарық диодының күйін көрсету
Тек walktest режимінде ғана қол жетімді
(Premier сымсыз кеңейткішінің нұсқауларын қараңыз)
| Жасыл жыпылықтау: | Барлық контактілер қауіпсіз болғанда, әр 3 секунд сайын жыпылықтайды. |
| Қызыл: | Ридті ажыратқыштың немесе сыртқы контактілердің белсенді екенін көрсетеді. |

Мин. жақындау - Магниттер жабылуды қамтамасыз ету үшін контактінің осы қашықтығында орнатылуы керек.
Мин. алып тастау - Контактінің ашылуы мүмкін ең аз қашықтық. - Бұл есік/терезе бекітілген кезде жылжуы мүмкін максималды қашықтық ретінде қарастырылуы керек.
Макс. алып тастау - Контактінің ашылатын максималды қашықтығы.
СТАНДАРТТАР
| Дабыл жүйелері: | EN50131-2-6, EN50131-5-3, EN50131-1, PD6662, 2-сынып II класы* |
| ЭМС: | EN50130-4:2011 ETSI EN301 489-03 V1.4.1 |
| R&TTE: | ETSI EN300-220 (V2.1.1) |
| Экологиялық: | EN50130-5:2011 |
| Жиілік диапазоны: | 868.0 - 868.6 MHz / 433.05 - 434.79 MHz 866.0 - 866.6 MHz • Өнімнің жапсырмасын қараңыз |
| Өнім түрі: | GBC1000-2 Жиілігі 868MHz GBC2000** Жиілігі 433MHz GBC3000** Жиілігі 866MHz |
| Қабылдағыш: | 1-санат, 2-сынып |
| Қабылдағыш LBT | (Сөйлемес бұрын тыңдау) Иә |
| Трансмиттердің жұмыс циклі | 868Mhz<1%, 433Mhz<10% |
| Төмен вольтты сигнал | 2.85V |
| Жұмыс кернеуі | 3V |
| Максималды ток | 32mA |
| Тыныштық тогы | 60uA |
*Telefication BV сертификаттаған
** INCERT мақұлдамаған.

Нұсқаулықты жүктеп алу
Мұнда нұсқаулықтың толық pdf нұсқасын жүктеп алуға болады, онда қосымша қауіпсіздік нұсқаулары, кепілдік туралы ақпарат, FCC ережелері және т.б. болуы мүмкін.
Texecom Ricochet Impaq Contact-W - Қауіпсіздік жүйесінің нұсқаулығы жүктеп алу

