Zanussi ZGGN645K - Dujinės kaitlentės vadovas

ĮRENGIMAS
Žr. skyrius apie saugą.
SVARBŪS SAUGOS REIKALAVIMAI
Ventiliacijos užtikrinimas
Kaitlentės negalima įrengti miegamajame-svetainėje, kurios tūris mažesnis nei 20 m³. Jei ji įrengiama patalpoje, kurios tūris mažesnis nei 5 m³, reikalinga oro ventiliacijos anga, kurios efektyvus plotas yra 100 cm². Jei ji įrengiama patalpoje, kurios tūris yra nuo 5 m³ iki 10 m³, reikalinga oro ventiliacijos anga, kurios efektyvus plotas yra 50 cm², o jei tūris viršija 11 m³, oro ventiliacijos anga nereikalinga.
Tačiau, jei kambaryje yra durys, kurios atsidaro tiesiai į lauką, oro ventiliacijos anga nereikalinga, net jei tūris yra nuo 5 m³ iki 11 m³.
Vieta
Kaitlentę galima įrengti virtuvėje, virtuvėje/valgomajame arba miegamajame-svetainėje (kurios tūris didesnis nei 20 m³), bet ne vonios kambaryje ar dušo kambaryje. Mažiausias atstumas, kuriuo degi medžiaga gali būti pritvirtinta virš kaitlentės, atsižvelgiant į kaitlentės kraštus, yra 400 mm. Jei ji pritvirtinta žemiau 400 mm, nuo kaitlentės kraštų turi būti palikta 50 mm erdvė.
DUJŲ JUNGTIS
Bet kokį dujų įrengimą turi atlikti GAS SAFE REGISTER montuotojas.
Įsitikinkite, kad įrengus kaitlentę, inžinierius gali lengvai prie jos prieiti gedimo atveju.
Gamintojas neprisiima atsakomybės, jei bus ignoruojami aukščiau pateikti nurodymai arba bet kurie kiti saugos nurodymai, įtraukti į šią instrukcijų knygelę.
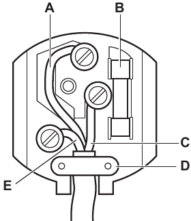
Veleno gale, kuriame yra G 1/2" sriegiuotas alkūnės jungtis, yra pritvirtintas reguliavimas, kad poveržlė būtų įdėta tarp komponentų, kaip parodyta diagramoje. Susukite dalis kartu nenaudodami per didelės jėgos.

- Veleno galas su veržle
- Poveržlė, tiekiama su prietaisu
- Alkūnės jungtis, tiekiama su prietaisu
Jungtis prie dujų tiekimo turi būti su standžiu arba pusiau standžiu vamzdžiu, t. y. plieniniu arba variniu.
Jungtis turi būti tinkama jungti prie R 1/2 (1/2 BSP išorinis sriegis).
Atlikus galutinę jungtį, būtina kruopščiai patikrinti, ar kaitlentė ir įrenginys nepraleidžia dujų.
Įsitikinkite, kad pagrindinis jungiamasis vamzdis neįtempia kaitlentės.
Jei naudojate lanksčius metalinius vamzdžius, įsitikinkite, kad jie atitinka ISO 10380 ir ISO 10807 standartus. Būkite atsargūs, kad jie neliestų judančių dalių arba nebūtų suspausti. Taip pat būkite atsargūs, kai kaitlentė sujungiama su orkaite.
Svarbu teisingai sumontuoti alkūnės jungtį, kad petys būtų ant sriegio galo, pritvirtinto prie kaitlentės jungiamojo vamzdžio.
Jei neužtikrinsite teisingo surinkimo, dujos nutekės.
Įsitikinkite, kad prietaiso dujų tiekimo slėgis atitinka rekomenduojamas vertes.
Standi jungtis:
Atlikite jungtį naudodami metalinius standžius vamzdžius (varinius su mechaniniu galu).
INJEKTORIŲ PAKEITIMAS
- Nuimkite puodų laikiklius.
- Nuimkite degiklio dangtelius ir karūnas.
- Su 7 lizdiniu veržliarakčiu nuimkite purkštukus ir pakeiskite juos tokiais, kurie reikalingi jūsų naudojamų dujų tipui (žr. lentelę skyriuje "Techniniai duomenys").
- Surinkite dalis, atlikite tą pačią procedūrą atgaline tvarka.
- Pritvirtinkite etiketę su nauju dujų tiekimo tipu šalia dujų tiekimo vamzdžio. Šią etiketę galite rasti pakuotėje, tiekiamoje su prietaisu.
Jei tiekiamų dujų slėgis yra kintamas arba skiriasi nuo reikiamo slėgio, ant dujų tiekimo vamzdžio turite sumontuoti tinkamą slėgio reguliatorių.
MINIMALAUS LYGIO REGULIAVIMAS
Norėdami reguliuoti minimalų degiklių lygį:
- Uždekite degiklį.
- Pasukite rankenėlę į minimalią padėtį.
- Nuimkite rankenėlę.
- Plonu atsuktuvu sureguliuokite apėjimo varžto padėtį (A).
![]()
- Jei keičiate:
- nuo gamtinių dujų G20 20 mbar į suskystintas dujas, visiškai priveržkite apėjimo varžtą.
- nuo suskystintų dujų į gamtines dujas G20 20 mbar, atsukite apėjimo varžtą maždaug 1/4 apsisukimo (1/2 apsisukimo "Multi Crown" degikliui).
Įsitikinkite, kad liepsna neužgęsta, kai greitai pasukate rankenėlę iš maksimalios padėties į minimalią padėtį.
ELEKTROS JUNGTIS
- Netraukite už maitinimo kabelio, kad atjungtumėte prietaisą. Visada traukite už maitinimo kištuko (jei taikoma).
- Prietaisas neturi būti jungiamas su ilginamuoju laidu, adapteriu arba daugialypiu lizdu. Yra gaisro pavojus.
- Neleiskite, kad maitinimo kabelis įkaistų iki daugiau nei 90 °C temperatūros. Kabelis turi būti nukreiptas spaustukais, pritvirtintais prie spintelės šono, kad būtų išvengta bet kokio kontakto su prietaisu po kaitlente.
- Įsitikinkite, kad po įrengimo yra prieiga prie maitinimo kištuko.
Tiekimo jungtys
Ši kaitlentė turi būti prijungta prie 220-240 V (~ 50-60 Hz) elektros tinklo.
Kaitlentė turi gnybtų bloką, kuris pažymėtas taip:
- L — Įtampos gnybtas
- N — Nulinis gnybtas
arba E — Įžeminimo gnybtas
Prieš atlikdami jungtį, įsitikinkite:
- Ribotuvas ir elektros sistema gali atlaikyti prietaiso apkrovą (žr. vardinėje plokštelėje)
- Tiekimo sistema yra aprūpinta efektyviu įžeminimo jungtimi, atitinkančia galiojančius standartus ir reglamentus
- Lizdas arba daugiapolis jungiklis, naudojamas jungčiai, yra lengvai pasiekiamas įrengus prietaisą.
Prietaisas tiekiamas su 3 gyslų lanksčiu maitinimo kabeliu su 3 amperų kištuku. Jei reikia pakeisti saugiklį, naudokite 3 amperų ASTA patvirtintą (BS 1362) saugiklį.

- Žalia ir geltona
- 3 amperų saugiklis
- Ruda
- Laido spaustukas
- Mėlyna
Laidai laide yra spalvoti taip:
| Žalia ir geltona | - Įžeminimas |
| Mėlyna | - Nulis |
| Ruda | - Įtampa |
Nupjautas kištukas, įkištas į 13 amperų lizdą, kelia didelį elektros smūgio pavojų. Užtikrinkite, kad nupjautas kištukas būtų saugiai pašalintas.
JUNGIAMOJO KABELIO PAKEITIMAS
Elektros kabelio pakeitimą turi atlikti tik techninės priežiūros centras arba panašios kompetencijos personalas, laikydamasis galiojančių taisyklių.
Norėdami pakeisti jungiamąjį kabelį, naudokite tik H03V2V2-F T90 arba lygiavertį tipą. Įsitikinkite, kad kabelio skerspjūvis yra tinkamas įtampos apkrovai ir darbo temperatūrai. Geltonas/žalias įžeminimo laidas (B) turi būti maždaug 2 cm ilgesnis nei įtampos ir nulinis laidas (A).

- Prijunkite žalią ir geltoną (įžeminimo) laidą prie gnybto, kuris pažymėtas raide 'E', arba įžeminimo simboliu
, arba nudažytas žalia ir geltona spalvomis. - Prijunkite mėlyną (nulinį) laidą prie gnybto, kuris pažymėtas raide 'N' arba nudažytas mėlyna spalva.
- Prijunkite rudą (įtampos) laidą prie gnybto, kuris pažymėtas raide 'L'. Jis visada turi būti prijungtas prie tinklo fazės. Neturi būti jokių nupjautų ar nuklydusių vielos gijų. Laido spaustukas turi būti tinkamai pritvirtintas prie išorinio apvalkalo.
SURINKIMAS
![]()
![Zanussi - ZGGN645K - Assembly - Step 1 Assembly - Step 1]()
![Zanussi - ZGGN645K - Assembly - Step 2 Assembly - Step 2]()
![]()
Jei baldas yra įrengtas 400 mm atstumu virš kaitlentės, turi būti mažiausias 50 mm saugos atstumas į kairę arba į dešinę nuo kaitlentės krašto.
![]()
![Zanussi - ZGGN645K - Assembly - Step 3 Assembly - Step 3]()
- tiekiamas sandariklis
- tiekiami laikikliai
![]()
Prietaisą montuokite tik ant stalviršio su lygiu paviršiumi.
ĮDĖJIMO GALIMYBĖS
Skydelis, sumontuotas po kaitlente, turi būti lengvai nuimamas ir užtikrinti lengvą prieigą, jei reikalinga techninė pagalba.
Virtuvės spintelė su durelėmis arba stalčiumi

- Nuimamas skydelis
- Vieta jungtims
Virtuvės spintelė su orkaite
Kaitlentės ir orkaitės elektros jungtis turi būti įrengta atskirai dėl saugos priežasčių ir kad būtų galima lengvai išimti orkaitę iš spintelės.
Virtuvės spintelė su dviguba orkaite

PRODUKTO APRAŠYMAS
VIRIMO PAVIRŠIAUS IŠDĖSTYMAS

- Pusiau greitas degiklis
- "Multi Crown" degiklis
- Pagalbinis degiklis
- Valdymo rankenėlės
VALDYMO RANKENĖLĖ
| Simbolis | Aprašymas |
![]() |
nėra dujų tiekimo / išjungta padėtis |
![]() |
uždegimo padėtis / maksimalus dujų tiekimas |
![]() |
minimalus dujų tiekimas |
KASDIENIS NAUDOJIMAS
Žr. Saugos skyrius.
DEGIKLIO APŽVALGA

- Degiklio dangtelis
- Degiklio vainikas
- Uždegimo žvakė
- Termopora
DEGIKLIO UŽDEGIMAS
Visada uždekite degiklį prieš dėdami ant jo indus.
Būkite labai atsargūs naudodami atvirą ugnį virtuvėje. Gamintojas neprisiima jokios atsakomybės už netinkamą ugnies naudojimą.
- Paspauskite valdymo rankenėlę žemyn ir pasukite ją prieš laikrodžio rodyklę į didžiausio dujų tiekimo padėtį (
). - Laikykite valdymo rankenėlę paspaustą ne ilgiau kaip 10 sekundžių. Tai leidžia termoporai įšilti. Jei ne, dujų tiekimas nutraukiamas.
- Sureguliuokite liepsną, kai ji taps reguliari.
Jei po kelių bandymų degiklis neužsidega, patikrinkite, ar vainikas ir jo dangtelis yra tinkamoje padėtyje.
Nelaikykite valdymo rankenėlės paspaustos ilgiau nei 15 sekundžių. Jei degiklis neužsidega po 15 sekundžių, atleiskite valdymo rankenėlę, pasukite ją į išjungimo padėtį ir bandykite vėl uždegti degiklį po mažiausiai 1 minutės.
Jei nėra elektros, galite uždegti degiklį be elektrinio prietaiso; tokiu atveju priartinkite liepsną prie degiklio, pasukite valdymo rankenėlę prieš laikrodžio rodyklę į didžiausio dujų tiekimo padėtį ir paspauskite ją žemyn. Laikykite valdymo rankenėlę paspaustą ne ilgiau kaip 10 sekundžių, kad termopora įšiltų.
Jei degiklis netyčia užgęsta, pasukite valdymo rankenėlę į išjungimo padėtį ir bandykite vėl uždegti degiklį po mažiausiai 1 minutės.
Kibirkšties generatorius gali įsijungti automatiškai, kai įjungiate maitinimą, po įdiegimo arba nutrūkus elektrai. Tai yra normalu.
Kaitlentė tiekiama su progresyviais vožtuvais. Jie leidžia tiksliau reguliuoti liepsną.
DEGIKLIO IŠJUNGIMAS
Norėdami užgesinti liepsną, pasukite rankenėlę į išjungimo padėtį
.
Visada sumažinkite liepsną arba išjunkite ją prieš nuimdami keptuves nuo degiklio.
PATARIMAI IR NURODYMAI
Žr. Saugos skyrius.
VIRIMO INDAI
Nenaudokite ketaus keptuvių, molinių ar keraminių puodų, grotelių ar skrudintuvų plokščių.
Nedėkite tos pačios keptuvės ant dviejų degiklių.
Nedėkite nestabilių ar pažeistų puodų ant degiklio, kad išvengtumėte išsiliejimų ir sužalojimų.
Įsitikinkite, kad puodų dugnai nėra per arti valdymo rankenėlės, kitaip liepsna įkaitins valdymo rankenėlę.
Įsitikinkite, kad puodų rankenos nėra virš kaitlentės priekinio krašto.
Įsitikinkite, kad puodai yra pastatyti centre ant degiklio, kad būtų užtikrintas maksimalus stabilumas ir mažesnis dujų suvartojimas.
Skysčiai, išsilieję gaminant maistą, gali suskaldyti stiklą.
VIRIMO INDŲ SKERSMENYS
Naudokite virimo indus, kurių skersmenys atitinka degiklių dydį.
| Degiklis | Virimo indo skersmuo (mm) |
| Daugiavainis | 180 - 260 |
| Pusiau greitas | 120 - 220 |
| Pagalbinis | 80 - 180 |
PRIEŽIŪRA IR VALYMAS
Žr. Saugos skyrius.
BENDRA INFORMACIJA
- Išvalykite kaitlentę po kiekvieno naudojimo.
- Visada naudokite virimo indus su švariu dugnu.
- Įbrėžimai ar tamsios dėmės ant paviršiaus neturi įtakos kaitlentės veikimui.
- Naudokite specialų valiklį, tinkamą kaitlentės paviršiui.
Nenaudokite peilių, grandiklių ar panašių įrankių stiklo paviršiui arba degiklių kraštams ir rėmui (jei yra) valyti. - Nerūdijančio plieno dalis plaukite vandeniu, o tada nusausinkite minkštu skudurėliu.
PUODŲ STOVAI
Puodų stovai nėra atsparūs plovimui indaplovėje. Juos reikia plauti rankomis.
- Nuimkite puodų stovus, kad būtų lengviau išvalyti kaitlentę.
Būkite labai atsargūs, kai keičiate puodų stovus, kad nepažeistumėte kaitlentės viršaus.
- Emalio danga kartais gali turėti šiurkščių kraštų, todėl būkite atsargūs, kai plaunate puodų stovus rankomis ir juos džiovinate. Jei reikia, pašalinkite sunkiai pašalinamas dėmes pasta valikliu.
- Išvalę puodų stovus, įsitikinkite, kad jie yra tinkamoje padėtyje.
- Kad degiklis veiktų tinkamai, įsitikinkite, kad puodų stovų rankenos yra sulygiuotos su degiklio centru.
![]()
PUODŲ STOVŲ NUĖMIMAS
Kad puodų stovai būtų tinkamoje padėtyje, jie uždedami ant metalinių kaiščių, įtaisytų galinėje kaitlentės pusėje. Kad būtų lengviau valyti, puodų stovus galima nuimti nuo kaitlentės. Pakelkite puodų stovus laikydami juos horizontalioje padėtyje, kaip parodyta grafike.
Nekelkite puodų stovų kampu, nes tai apkraus metalinius kaiščius. Tai gali sugadinti kaiščius ir jie gali sulūžti.

Puodų stovų forma ir degiklių kiekis gali skirtis kituose prietaiso modeliuose.
KAITLENTĖS VALYMAS
- Nedelsdami pašalinkite: išlydytą plastiką, plastikinę foliją, cukrų ir maistą su cukrumi, kitaip nešvarumai gali sugadinti kaitlentę. Būkite atsargūs, kad neapsidegintumėte.
- Pašalinkite, kai kaitlentė pakankamai atvės: kalkių nuosėdas, vandens žiedus, riebalų dėmes, blizgančius metalinius spalvos pakitimus. Išvalykite kaitlentę drėgnu skudurėliu ir neabrazyviniu plovikliu. Išvalę nušluostykite kaitlentę sausu minkštu skudurėliu.
- Norėdami išvalyti emaliuotas dalis, dangtelius ir vainikus, nuplaukite juos šiltu muiluotu vandeniu ir kruopščiai išdžiovinkite prieš vėl uždėdami.
UŽDEGIMO ŽVAKĖS VALYMAS
Ši funkcija gaunama per keraminę uždegimo žvakę su metaliniu elektrodu. Laikykite šiuos komponentus gerai išvalytus, kad išvengtumėte sunkaus uždegimo, ir patikrinkite, ar degiklio vainiko skylės nėra užsikimšusios.
PERIODINĖ PRIEŽIŪRA
Periodiškai kreipkitės į vietinį įgaliotąjį techninės priežiūros centrą, kad patikrintumėte dujų tiekimo vamzdžio ir slėgio reguliatoriaus būklę, jei jis yra sumontuotas.
GEDIMŲ ŠALINIMAS
Žr. Saugos skyrius.
KĄ DARYTI, JEI
| Problema | Galima priežastis | Priemonė |
| Nėra kibirkšties, kai bandote įjungti kibirkšties generatorių. | Kaitlentė nėra prijungta prie elektros tinklo arba prijungta neteisingai. | Patikrinkite, ar kaitlentė tinkamai prijungta prie elektros tinklo. |
| Saugiklis perdegė. | Įsitikinkite, kad saugiklis yra gedimo priežastis. Jei saugiklis vėl ir vėl perdegė, kreipkitės į kvalifikuotą elektriką. | |
| Degiklio dangtelis ir vainikas yra neteisingai uždėti. | Uždėkite degiklio dangtelį ir vainiką teisingai. | |
| Liepsna užgęsta iškart po uždegimo. | Termopora nepakankamai įkaitusi. | Uždegę liepsną, laikykite rankenėlę paspaustą ne ilgiau kaip 10 sekundžių. |
| Liepsnos žiedas yra netolygus. | Degiklio vainikas užsikimšęs maisto likučiais. | Įsitikinkite, kad purkštukas nėra užsikimšęs ir degiklio vainikas yra švarus. |
JEI NERANDATE SPRENDIMO
Jei patys nerandate problemos sprendimo, kreipkitės į savo pardavėją arba įgaliotąjį techninės priežiūros centrą. Pateikite duomenis iš duomenų lentelės. Įsitikinkite, kad kaitlente naudojotės teisingai. Jei ne, techninės priežiūros specialisto ar pardavėjo aptarnavimas nebus nemokamas, net ir garantiniu laikotarpiu. Instrukcijos apie techninės priežiūros centrą ir garantijos sąlygos yra garantijos knygelėje.
TECHNINIAI DUOMENYS
VIRYKLĖS MATMENYS
| Plotis | 590 mm |
| Gylis | 520 mm |
APVADŲ DIAMETRAI
| DEGIKLIS | Ø APVADAS 1/100 mm |
| Multi Crown | 57 |
| Semi-rapid | 35 |
| Auxiliary | 28 |
KITI TECHNINIAI DUOMENYS
| BENDRA GALIA: | Dujos originalios: | G20 (2H) 20 mbar | 8,9 kW |
| Dujos pakeitimui: | G30 (3+) 28-30 mbar | 607 g/h | |
| G31 (3+) 37 mbar | 596 g/h | ||
| Elektros tiekimas: | 220-240 V ~ 50-60 Hz 3 gyslų lankstus kabelis su nenuimamu kištuku, kuriame įmontuotas 3 amperų kasetinis saugiklis | ||
| Prietaiso kategorija: | II2H3+ | ||
| Dujų jungtis: | R 1/2" | ||
| Prietaiso klasė: | 3 | ||
DUJŲ DEGIKLIAI GAMTINĖMS DUJOMS G20 20 mbar
| DEGIKLIS | NORMALIOJI GALIA kW | MINIMALI GALIA kW | INŽEKTORIAUS ŽYMĖ |
| Multi Crown | 3,9 | 1,4 | 146 |
| Semi-rapid | 2,0 | 0,6 | 96x |
| Auxiliary | 1,0 | 0,33 | 70 |
DUJŲ DEGIKLIAI SGD G30/G31 28-30/37 mbar
| DEGIKLIS | NORMALIOJI GALIA kW | MINIMALI GALIA kW | INŽEKTORIAUS ŽYMĖ | NOMINALUS DUJŲ SRAUTAS g/h | |
| G30 28-30 mbar | G31 37 mbar | ||||
| Multi Crown | 3,55 | 1,4 | 095 | 258 | 254 |
| Semi-rapid | 1,9 | 0,6 | 71 | 138 | 136 |
| Auxiliary | 1,0 | 0,33 | 50 | 73 | 71 |
ENERGIJOS EFEKTYVUMAS
| Modelio identifikavimas | ZGGN645K | |
| Viryklės tipas | Įmontuojama viryklė | |
| Dujinių degiklių skaičius | 4 | |
| Energijos efektyvumas vienam dujiniam degikliui (EE gas burner) | Kairysis galinis - Semi-rapid | 54.8% |
| Dešinysis galinis - Semi-rapid | 54.8% | |
| Dešinysis priekinis - Auxiliary | netaikoma | |
| Kairysis priekinis - Multi Crown | 57.2% | |
| Dujinės viryklės energijos efektyvumas (EE gas hob) | 55.6% |
ENERGIJOS TAUPYMAS
- Prieš naudodami įsitikinkite, kad degikliai ir keptuvių atramos yra tinkamai sumontuoti.
- Naudokite indus, kurių skersmuo atitinka degiklių dydį.
- Centruokite puodą ant degiklio.
- Kai kaitinate vandenį, naudokite tik reikiamą kiekį.
- Jei įmanoma, visada uždėkite dangčius ant indų.
- Kai skystis pradeda virti, sumažinkite liepsną, kad skystis vos burbuliuotų.
- Jei įmanoma, naudokite greitpuodį. Žr. jo naudotojo vadovą.
SAUGOS INFORMACIJA
Prieš įdėdami ir naudodami prietaisą, atidžiai perskaitykite pateiktas instrukcijas. Gamintojas neatsako už sužalojimus ar žalą, atsiradusią dėl netinkamo įrengimo ar naudojimo. Visada laikykite instrukcijas saugioje ir prieinamoje vietoje, kad galėtumėte pasinaudoti ateityje.
VAIKŲ IR PAŽEIDŽIAMŲ ŽMONIŲ SAUGA
- Šį prietaisą gali naudoti vaikai nuo 8 metų ir asmenys, turintys ribotas fizines, jutimines ar psichines galimybes arba neturintys patirties ir žinių, jei jiems buvo suteikta priežiūra ar nurodymai, kaip saugiai naudoti prietaisą, ir jie supranta susijusius pavojus.
- Nuo 3 iki 8 metų vaikai ir asmenys, turintys labai didelių ir sudėtingų negalių, turi būti laikomi atokiau nuo prietaiso, nebent jie būtų nuolat prižiūrimi.
- Jaunesni nei 3 metų vaikai turėtų būti laikomi atokiau nuo prietaiso, nebent jie būtų nuolat prižiūrimi.
- Neleiskite vaikams žaisti su prietaisu.
- Visas pakuotes laikykite atokiau nuo vaikų ir tinkamai jas išmeskite.
- Laikykite vaikus ir naminius gyvūnus atokiau nuo prietaiso, kai jis veikia arba kai jis vėsta. Naudojimo metu prieinamos dalys gali įkaisti.
- Jei prietaisas turi vaiko saugos įtaisą, jis turėtų būti įjungtas.
- Vaikai negali valyti ir atlikti prietaiso priežiūros be priežiūros.
BENDRA SAUGA
- Šis prietaisas skirtas tik maisto gaminimui.
- Šis prietaisas skirtas naudoti tik vienam namų ūkiui patalpoje.
- Šis prietaisas gali būti naudojamas biuruose, viešbučių kambariuose, nakvynės ir pusryčių kambariuose, ūkių svečių namuose ir kitose panašiose apgyvendinimo vietose, kur toks naudojimas neviršija (vidutinio) buitinio naudojimo lygio.
Naudojimo metu prietaisas ir jo prieinamos dalys įkaista. Reikėtų būti atsargiems, kad neprisiliestumėte prie kaitinimo elementų.
Nepaliktas maisto gaminimas ant viryklės su riebalais ar aliejumi gali būti pavojingas ir sukelti gaisrą.- Niekada nenaudokite vandens gaisrui gesinti. Išjunkite prietaisą ir uždenkite liepsnas, pvz., gaisro gesinimo antklode arba dangčiu.
Prietaisas neturi būti tiekiamas per išorinį perjungimo įrenginį, pvz., laikmatį, arba prijungtas prie grandinės, kurią komunalinė įmonė reguliariai įjungia ir išjungia.
Maisto gaminimo procesas turi būti prižiūrimas. Trumpalaikis maisto gaminimo procesas turi būti nuolat prižiūrimas.
Gaisro pavojus: nelaikykite daiktų ant maisto gaminimo paviršių.- Metalinių daiktų, tokių kaip peiliai, šakutės, šaukštai ir dangčiai, negalima dėti ant viryklės paviršiaus, nes jie gali įkaisti.
- Nenaudokite prietaiso, kol neįdėsite jo į įmontuotą konstrukciją.
- Nenaudokite garų valiklio prietaisui valyti.
- Jei stiklo keramikos paviršius / stiklinis paviršius yra įtrūkęs, išjunkite prietaisą ir atjunkite jį nuo maitinimo tinklo. Jei prietaisas yra tiesiogiai prijungtas prie maitinimo tinklo naudojant jungiamąją dėžutę, išimkite saugiklį, kad atjungtumėte prietaisą nuo maitinimo šaltinio. Bet kuriuo atveju susisiekite su įgaliotuoju techninės priežiūros centru.
- Karštojo paviršiaus stiklo lūžio atveju:
- nedelsiant išjunkite visus degiklius ir bet kokį elektrinį kaitinimo elementą ir atjunkite prietaisą nuo maitinimo šaltinio,
- nelieskite prietaiso paviršiaus,
- nenaudokite prietaiso.
- Jei maitinimo laidas yra pažeistas, jį turi pakeisti gamintojas, įgaliotas techninės priežiūros centras arba panašios kvalifikacijos asmenys, kad būtų išvengta pavojaus.
- Kai prietaisas yra tiesiogiai prijungtas prie maitinimo šaltinio, reikalingas visų polių atjungimo jungiklis su kontaktiniu tarpu. Turi būti užtikrintas visiškas atjungimas, atitinkantis sąlygas, nurodytas viršįtampių kategorijoje III. Įžeminimo kabelis neįtrauktas į tai.
- Kai tiesiate maitinimo kabelį, įsitikinkite, kad kabelis tiesiogiai nesiliestų (pvz., naudojant izoliacinę movą) su dalimis, kurios gali pasiekti daugiau nei 50 °C temperatūrą virš kambario temperatūros.
Naudokite tik viryklės apsaugas, sukurtas maisto gaminimo prietaiso gamintojo arba nurodytas prietaiso gamintojo naudojimo instrukcijose kaip tinkamas, arba viryklės apsaugas, įmontuotas į prietaisą. Netinkamų apsaugų naudojimas gali sukelti nelaimingus atsitikimus.
SAUGOS INSTRUKCIJOS
MONTAVIMAS
Šį prietaisą turi montuoti tik kvalifikuotas asmuo.
Pavojus susižeisti arba sugadinti prietaisą.
- Pašalinkite visas pakuotes.
- Nemontuokite ir nenaudokite pažeisto prietaiso.
- Laikykitės kartu su prietaisu pateiktų montavimo instrukcijų.
- Laikykitės minimalaus atstumo nuo kitų prietaisų ir įrenginių.
- Visada būkite atsargūs perkeldami prietaisą, nes jis yra sunkus. Visada mūvėkite apsaugines pirštines ir avėkite uždarą avalynę.
- Sandarinkite nupjautus paviršius sandarikliu, kad drėgmė nesukeltų patinimo.
- Apsaugokite prietaiso apačią nuo garų ir drėgmės.
- Nemontuokite prietaiso šalia durų arba po langu. Tai apsaugo nuo karštų indų nukritimo nuo prietaiso atidarius duris ar langą.
- Jei prietaisas sumontuotas virš stalčių, įsitikinkite, kad tarpas tarp prietaiso apačios ir viršutinio stalčiaus yra pakankamas oro cirkuliacijai.
- Prietaiso apačia naudojimo metu gali įkaisti. Jei orkaitė nebuvo sumontuota po kaitlente, o prietaiso apačia yra pasiekiama ir gali leisti naudotojui arba daiktams, laikomiems po kaitlente, tiesiogiai liestis su kaitlentės apačia, turi būti sumontuotas tarpinis apsauginis skydelis.
- Fanera arba virtuvės korpuso medžiaga yra tinkama skydeliui.
- Skydelis turi būti nuimamas atliekant techninę priežiūrą. Varžtai, naudojami skydui pritvirtinti, turi būti pasiekiami po montavimo.
ELEKTROS PRIJUNGIMAS
Gaisro ir elektros smūgio pavojus.
- Visus elektros prijungimus turi atlikti kvalifikuotas elektrikas.
- Prietaisas turi būti įžemintas.
- Prieš atlikdami bet kokią operaciją, įsitikinkite, kad prietaisas yra atjungtas nuo maitinimo šaltinio.
- Įsitikinkite, kad duomenų lentelėje nurodyti parametrai atitinka elektros tinklo parametrus.
- Įsitikinkite, kad prietaisas sumontuotas teisingai. Atsilaisvinęs ir neteisingas elektros tinklo kabelis arba kištukas (jei taikoma) gali perkaisti gnybtą.
- Naudokite tinkamą elektros tinklo kabelį.
- Neleiskite elektros tinklo kabeliui susipainioti.
- Įsitikinkite, kad įdiegta apsauga nuo smūgių.
- Naudokite kabelio įtempimo mažinimo spaustuką.
- Įsitikinkite, kad maitinimo kabelis arba kištukas (jei taikoma) neliečia karšto prietaiso ar karštų indų, kai prijungiate prietaisą prie netoliese esančių lizdų.
- Nenaudokite kelių kištukų adapterių ir ilgintuvų.
- Įsitikinkite, kad nepažeidžiate maitinimo kištuko (jei taikoma) arba maitinimo kabelio. Kreipkitės į mūsų įgaliotąjį techninės priežiūros centrą arba elektriką, kad pakeistų pažeistą maitinimo kabelį.
- Apsauga nuo įtampingų ir izoliuotų dalių smūgių turi būti pritvirtinta taip, kad jos nebūtų galima nuimti be įrankių.
- Prijunkite maitinimo kištuką prie maitinimo lizdo tik montavimo pabaigoje. Įsitikinkite, kad po montavimo yra prieiga prie maitinimo kištuko.
- Jei maitinimo lizdas yra atsilaisvinęs, nejunkite maitinimo kištuko.
- Netraukite už maitinimo kabelio, kad atjungtumėte prietaisą. Visada traukite už maitinimo kištuko.
- Naudokite tik tinkamus izoliavimo įtaisus: linijos apsaugos išjungiklius, saugiklius (varžtinio tipo saugiklius, išimtus iš laikiklio), įžeminimo nuotėkio išjungiklius ir kontaktorius.
- Elektros instaliacijoje turi būti izoliavimo įtaisas, leidžiantis atjungti prietaisą nuo elektros tinklo visais poliais. Izoliavimo įtaisas turi būti su minimaliu 3 mm kontaktų atidarymo pločiu.
DUJŲ PRIJUNGIMAS
Naudodami dujų balioną, visada laikykite jį ant plokščio horizontalaus paviršiaus (su dujų vožtuvu viršuje).
- Visus dujų prijungimus turi atlikti kvalifikuotas asmuo.
- Prieš montuodami įsitikinkite, kad vietinės paskirstymo sąlygos (dujų rūšis ir dujų slėgis) ir prietaiso reguliavimas yra suderinami.
- Įsitikinkite, kad aplink prietaisą cirkuliuoja oras.
- Informacija apie dujų tiekimą yra duomenų lentelėje.
- Šis prietaisas nėra prijungtas prie įrenginio, kuris ištraukia degimo produktus. Įsitikinkite, kad prietaisą prijungiate pagal galiojančias montavimo taisykles. Laikykitės tinkamos ventiliacijos reikalavimų.
NAUDOJIMAS
Pavojus susižeisti, nudegti ir patirti elektros smūgį.
Dujų virimo prietaiso naudojimas sukelia šilumos, drėgmės ir degimo produktų susidarymą patalpoje, kurioje jis sumontuotas. Užtikrinkite, kad virtuvė būtų gerai vėdinama, ypač kai prietaisas naudojamas. Ilgalaikis intensyvus prietaiso naudojimas gali reikalauti papildomos ventiliacijos, pavyzdžiui, mechaninės ventiliacijos didinimo, kur ji yra, papildomos ventiliacijos, kad būtų saugiai pašalinti degimo produktai į lauką (išorinį) orą, taip pat užtikrinant oro kaitą patalpoje su papildoma ventiliacija. Prieš montuodami papildomą ventiliaciją, pasitarkite su kvalifikuotu asmeniu.
- Nekeiskite šio prietaiso specifikacijos.
- Prieš pirmą naudojimą pašalinkite visas pakuotes, etiketes ir apsauginę plėvelę (jei taikoma).
- Įsitikinkite, kad ventiliacijos angos nėra užblokuotos.
- Nepalikite prietaiso be priežiūros veikimo metu.
- Po kiekvieno naudojimo nustatykite virimo zoną į "išjungta" ("išjungta").
- Nedėkite stalo įrankių ar puodų dangčių ant virimo zonų. Jie gali įkaisti.
- Nenaudokite prietaiso šlapiomis rankomis arba kai jis liečiasi su vandeniu.
- Nenaudokite prietaiso kaip darbo paviršiaus arba kaip laikymo paviršiaus.
- Kai dedate maistą į karštą aliejų, jis gali aptaškyti.
Gaisro ir sprogimo pavojus
- Riebalai ir aliejus kaitinami gali išskirti degius garus. Laikykite liepsnas ar įkaitusius daiktus atokiau nuo riebalų ir aliejų, kai su jais gaminate.
- Garai, kuriuos išskiria labai karštas aliejus, gali sukelti savaiminį užsidegimą.
- Naudotas aliejus, kuriame gali būti maisto likučių, gali sukelti gaisrą žemesnėje temperatūroje nei aliejus, naudojamas pirmą kartą.
- Nedėkite degių produktų ar daiktų, kurie yra sudrėkinti degiais produktais, į prietaisą, šalia jo arba ant jo.
Pavojus sugadinti prietaisą.
- Nelaikykite karštų indų ant valdymo skydelio.
- Neleiskite indams išvirti sausai.
- Būkite atsargūs, kad ant prietaiso nenukristų daiktai ar indai. Paviršius gali būti pažeistas.
- Niekada nepalikite degiklio įjungto su tuščiais indais arba be indų.
- Nedėkite aliuminio folijos ant prietaiso.
- Indai, pagaminti iš ketaus, aliuminio arba su pažeistu dugnu, gali subraižyti stiklą / stiklo keramiką. Visada pakelkite šiuos daiktus, kai turite juos perkelti ant virimo paviršiaus.
- Naudokite tik stabilius indus, kurių forma ir skersmuo yra didesni už degiklių matmenis.
- Įsitikinkite, kad indai yra centre ant degiklių.
- Nenaudokite didelių indų, kurie persidengia su prietaiso kraštais. Tai gali sugadinti stalviršio paviršių.
- Įsitikinkite, kad liepsna neužgęsta, kai greitai pasukate rankenėlę nuo maksimalios iki minimalios padėties.
- Naudokite tik kartu su prietaisu tiekiamus priedus.
- Nemontuokite liepsnos sklaidytuvo ant degiklio.
- Neleiskite rūgštiems skysčiams, pavyzdžiui, actui, citrinų sultims arba kalkių nuosėdų valikliui, liestis su kaitlente. Tai gali sukelti matines dėmes.
- Emalio arba nerūdijančio plieno spalvos pasikeitimas neturi įtakos prietaiso veikimui.
PRIEŽIŪRA IR VALYMAS
Nenuimkite mygtukų, rankenėlių ar tarpiklių nuo valdymo skydelio. Vanduo gali patekti į prietaiso vidų ir jį sugadinti.
- Reguliariai valykite prietaisą, kad išvengtumėte paviršiaus medžiagos pablogėjimo.
- Išjunkite prietaisą ir leiskite jam atvėsti prieš valydami.
- Prieš atlikdami techninę priežiūrą, atjunkite prietaisą nuo elektros tinklo.
- Nenaudokite vandens purškimo ir garų prietaisui valyti.
- Valykite prietaisą drėgna minkšta šluoste. Naudokite tik neutralius ploviklius. Nenaudokite abrazyvinių produktų, abrazyvinių valymo pagalvėlių, tirpiklių ar metalinių daiktų.
- Neplaukite degiklių indaplovėje.
APTARNAVIMAS
- Norėdami pataisyti prietaisą, kreipkitės į įgaliotąjį techninės priežiūros centrą.
- Naudokite tik originalias atsargines dalis.
APLANKYKITE MŪSŲ SVETAINĘ:
Gaukite naudojimo patarimų, brošiūrų, trikčių šalinimo, aptarnavimo ir remonto informacijos: www.zanussi.com/support

Nuorodos
Atsisiųsti instrukciją
Čia galite atsisiųsti visą pdf instrukcijos versiją, kurioje gali būti papildomų saugos instrukcijų, garantijos informacijos, FCC taisyklių ir kt.
Atsisiųsti Zanussi ZGGN645K - Dujinės kaitlentės vadovas











