Zanussi ZGGN755K - Dujinės kaitlentės vadovas

MONTAVIMAS
Žr. Saugos informaciją.
PRIEŠ MONTAVIMĄ
Prieš montuodami kaitlentę, užsirašykite toliau pateiktą informaciją iš duomenų lentelės. Duomenų lentelė yra kaitlentės apačioje.
SVARBŪS SAUGOS REIKALAVIMAI
Ši kaitlentė turi būti sumontuota pagal Dujų saugos (įrengimo ir naudojimo) taisykles (dabartinė redakcija) ir IEE elektros instaliacijos taisykles (dabartinė redakcija).
Ventiliacijos užtikrinimas
Išsamios rekomendacijos pateikiamos šiuose Didžiosios Britanijos standartų kodeksuose:
B.S. 6172/B.S. 5440, Par. 2 ir B.S. 6891 Dabartinės redakcijos.
Kaitlentės negalima montuoti miegamajame-svetainėje, kurio tūris mažesnis nei 20 m³. Jei ji montuojama patalpoje, kurios tūris mažesnis nei 5 m³, reikalinga 100 cm² efektyvaus ploto oro ventiliacijos anga. Jei ji montuojama patalpoje, kurios tūris yra nuo 5 m³ iki 10 m³, reikalinga 50 cm² efektyvaus ploto oro ventiliacijos anga, o jei tūris viršija 11 m³, oro ventiliacijos anga nereikalinga.
Tačiau, jei kambaryje yra durys, kurios atsidaro tiesiai į lauką, oro ventiliacijos anga nereikalinga, net jei tūris yra nuo 5 m³ iki 11 m³. Jei toje pačioje patalpoje yra kitų degalus naudojančių prietaisų, norint nustatyti reikiamus oro ventiliacijos reikalavimus, reikia vadovautis B.S. 5440 2 dalies dabartine redakcija.
Vieta
Kaitlentė gali būti įrengta virtuvėje, virtuvėje/valgomajame arba miegamajame-svetainėje (kurio tūris didesnis nei 20 m³), bet ne vonios kambaryje ar dušo kambaryje. Mažiausias atstumas, kuriuo degi medžiaga gali būti pritvirtinta virš kaitlentės pagal kaitlentės kraštus, yra 400 mm. Jei ji pritvirtinta žemiau 400 mm, nuo kaitlentės kraštų turi būti palikta 50 mm erdvė.
DUJŲ JUNGTIS
Bet kokį dujų įrengimą turi atlikti GAS SAFE REGISTER montuotojas.
Įsitikinkite, kad sumontavus kaitlentę, inžinierius gali lengvai prie jos prieiti gedimo atveju.
Gamintojas neprisiima atsakomybės, jei bus ignoruojamos aukščiau pateiktos instrukcijos arba bet kurios kitos saugos instrukcijos, įtrauktos į šį instrukcijų bukletą.
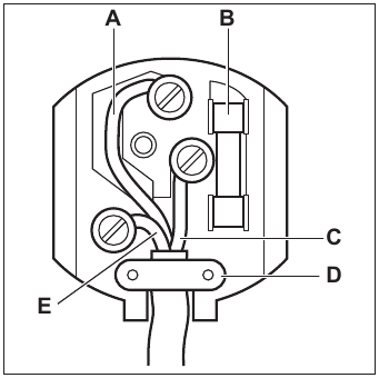
Veleno gale, kuriame yra G 1/2" sriegiuotas alkūnės elementas, yra fiksuotas reguliavimas, kad poveržlė būtų įdėta tarp komponentų, kaip parodyta diagramoje. Susukite dalis kartu, nenaudodami per didelės jėgos.

- Veleno galas su veržle
- Poveržlė, tiekiama su prietaisu
- Alkūnės elementas, tiekiamas su prietaisu
Jungtis prie dujų tiekimo turi būti standžiu arba pusiau standžiu vamzdžiu, t. y. plieniniu arba variniu. Jungtis turi būti tinkama jungti prie R 1/2 (1/2 BSP išorinis sriegis).
Atlikus galutinę jungtį, būtina kruopščiai patikrinti, ar kaitlentė ir įrenginys nepraleidžia dujų.
Įsitikinkite, kad pagrindinis jungiamasis vamzdis neįtempia kaitlentės.
Jei naudojate lanksčius metalinius vamzdžius, įsitikinkite, kad jie atitinka ISO 10380 ir ISO 10807 standartus. Būkite atsargūs, kad jie nesiliestų su judančiomis dalimis arba nebūtų suspausti. Taip pat būkite atsargūs, kai kaitlentė sujungiama su orkaite.
Svarbu teisingai sumontuoti alkūnės elementą, kad briauna ant sriegio galo būtų pritvirtinta prie kaitlentės jungiamojo vamzdžio.
Jei neužtikrinsite tinkamo surinkimo, nutekės dujos.
Įsitikinkite, kad prietaiso dujų tiekimo slėgis atitinka rekomenduojamas vertes.
Standi jungtis:
Atlikite jungtį naudodami metalinius standžius vamzdžius (varinius su mechaniniu galu).
INŽEKTORIŲ PAKEITIMAS
- Nuimkite keptuvių atramas.
- Nuimkite degiklio dangtelius ir vainikus.
- Su 7 lizdiniu veržliarakčiu išimkite inžektorius ir pakeiskite juos tokiais, kurie reikalingi jūsų naudojamų dujų tipui (žr. lentelę "Techniniai duomenys").
- Surinkite dalis, atlikite tą pačią procedūrą atgaline tvarka.
- Pritvirtinkite etiketę su nauju dujų tiekimo tipu šalia dujų tiekimo vamzdžio. Šią etiketę galite rasti pakuotėje, tiekiamoje su prietaisu.
Jei tiekiamo dujų slėgis yra kintamas arba skiriasi nuo reikiamo slėgio, ant dujų tiekimo vamzdžio turite sumontuoti tinkamą slėgio reguliatorių.
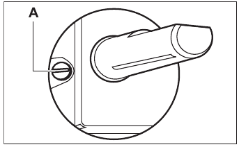
MINIMALAUS LYGIO REGULIAVIMAS
Norėdami reguliuoti minimalų degiklių lygį:
- Uždekite degiklį.
- Pasukite rankenėlę į minimalią padėtį.
- Nuimkite rankenėlę.
- Plonu atsuktuvu sureguliuokite apėjimo varžto padėtį (A).
![Zanussi - ZGGN755K - ADJUSTMENT OF MINIMUM LEVEL ADJUSTMENT OF MINIMUM LEVEL]()
- Jei keičiate:
- nuo gamtinių dujų G20 20 mbar į suskystintas dujas, visiškai priveržkite apėjimo varžtą.
- nuo suskystintų dujų į gamtines dujas G20 20 mbar, atlaisvinkite apėjimo varžtą maždaug 1/4 apsisukimo (1/2 apsisukimo Multi Crown degikliui).
Įsitikinkite, kad liepsna neužgęsta, kai greitai pasukate rankenėlę iš maksimalios padėties į minimalią padėtį.
ELEKTROS JUNGTIS
- Netraukite už maitinimo kabelio, kad atjungtumėte prietaisą. Visada traukite už maitinimo kištuko (jei taikoma).
- Prietaisas neturi būti jungiamas su ilginamuoju laidu, adapteriu arba daugialypiu lizdu. Yra gaisro pavojus.
- Neleiskite, kad maitinimo laidas įkaistų iki daugiau nei 90 °C temperatūros. Laidas turi būti nukreiptas spaustukais, pritvirtintais prie spintelės šono, kad būtų išvengta bet kokio kontakto su prietaisu po kaitlente.
- Įsitikinkite, kad po įrengimo yra prieiga prie maitinimo kištuko.
Elektros reikalavimai
Nuolatinis elektros įrengimas turi atitikti naujausias I.E.E. taisykles ir vietos elektros valdybos taisykles. Jūsų pačių saugumui įrengimą turi atlikti kvalifikuotas elektrikas (pvz., jūsų vietos elektros valdyba arba rangovas, kuris yra Nacionalinės elektros instaliacijos rangos inspekcijos tarybos [NICEIC] sąraše).
Gamintojas atsisako atsakomybės, jei nesilaikoma šių saugos priemonių.
Maitinimo jungtys
Ši kaitlentė turi būti prijungta prie 220-240 V (~ 50-60 Hz) elektros tinklo.
Kaitlentė turi gnybtų bloką, kuris pažymėtas taip:
- L — Įtampos gnybtas
- N — Nulinis gnybtas
arba E — Įžeminimo gnybtas
Prieš atlikdami jungtį, įsitikinkite:
- Ribotuvas ir elektros sistema gali atlaikyti prietaiso apkrovą (žr. duomenų lentelę)
- Maitinimo sistema yra aprūpinta efektyviu įžeminimo jungtimi, atitinkančia dabartinius standartus ir taisykles
- Lizdas arba daugiapolis jungiklis, naudojamas jungčiai, yra lengvai pasiekiamas sumontavus prietaisą.
Prietaisas tiekiamas su 3 gyslų lanksčiu maitinimo kabeliu su 3 amperų kištuku. Jei reikia pakeisti saugiklį, naudokite 3 amperų ASTA patvirtintą (BS 1362) saugiklį.

- Žalia ir geltona
- 3 amperų saugiklis
- Ruda
- Laido spaustukas
- Mėlyna
Laidai laide yra spalvoti taip:
| Žalia ir geltona |
|
| Mėlyna |
|
| Ruda |
|
Nupjautas kištukas, įkištas į 13 amperų lizdą, kelia didelį elektros smūgio pavojų. Užtikrinkite, kad nupjautas kištukas būtų saugiai pašalintas.
JUNGIAMOJO KABELIO PAKEITIMAS
Elektros kabelio pakeitimą turi atlikti tik aptarnavimo centras arba panašios kompetencijos personalas, laikantis galiojančių taisyklių.
Norėdami pakeisti jungiamąjį kabelį, naudokite tik H03V2V2-F T90 arba lygiavertį tipą. Įsitikinkite, kad kabelio skerspjūvis yra tinkamas įtampos apkrovai ir darbo temperatūrai. Geltonas/žalias įžeminimo laidas (B) turi būti maždaug 2 cm ilgesnis už įtampos ir nulinį laidą (A).

- Prijunkite žalią ir geltoną (įžeminimo) laidą prie gnybto, kuris pažymėtas raide 'E' arba įžeminimo simboliu
, arba nudažytas žalia ir geltona spalvomis. - Prijunkite mėlyną (nulinį) laidą prie gnybto, kuris pažymėtas raide 'N' arba nudažytas mėlyna spalva.
- Prijunkite rudą (įtampos) laidą prie gnybto, kuris pažymėtas raide 'L'. Jis visada turi būti prijungtas prie tinklo fazės. Neturi būti jokių nupjautų ar nuklydusių laido gijų. Laido spaustukas turi būti tinkamai pritvirtintas prie išorinio apvalkalo.
SURINKIMAS

Jei baldų blokas yra įrengtas 400 mm atstumu virš kaitlentės, turi būti mažiausias 50 mm saugos atstumas į kairę arba į dešinę nuo kaitlentės krašto.

- tiekiamas sandariklis
- tiekiami laikikliai

Prietaisą montuokite tik ant stalviršio su plokščiu paviršiumi.
ĮDĖJIMO GALIMYBĖS
Skydelis, sumontuotas po kaitlente, turi būti lengvai nuimamas ir leisti lengvai prieiti, jei reikalinga techninė pagalba.
Virtuvės spintelė su durelėmis arba stalčiumi

- Nuimamas skydelis
- Vieta jungtims
Virtuvės spintelė su orkaite
Kaitlentės ir orkaitės elektros jungtis turi būti įrengta atskirai dėl saugos priežasčių ir kad būtų galima lengvai išimti orkaitę iš spintelės.
Virtuvės spintelė su dviguba orkaite
PRODUKTO APRAŠYMAS
VIRIMO PAVIRŠIAUS IŠDĖSTYMAS

- Pusiau greitas degiklis
- Multi Crown degiklis
- Pagalbinis degiklis
- Valdymo rankenėlės
VALDYMO RANKENĖLĖ
| Simbolis | Aprašymas |
| nėra dujų tiekimo / išjungta padėtis |
| uždegimo padėtis / maksimalus dujų tiekimas |
![]() | minimalus dujų tiekimas |
KASDIENIS NAUDOJIMAS
Žr. Saugos instrukcijas.
DEGIKLIO APŽVALGA


- Degiklio dangtelis
- Degiklio vainikas
- Uždegimo žvakė
- Termoelementas
DEGIKLIO UŽDEGIMAS
Visada uždekite degiklį prieš dėdami ant jo indą.
Būkite labai atsargūs naudodami atvirą ugnį virtuvėje. Gamintojas neprisiima jokios atsakomybės už netinkamą naudojimąsi liepsna.
- Paspauskite valdymo rankenėlę žemyn ir pasukite ją prieš laikrodžio rodyklę į didžiausio dujų tiekimo padėtį (
). - Laikykite valdymo rankenėlę paspaustą ne ilgiau kaip 10 sekundžių. Tai leidžia termoelementui įkaisti. Jei ne, dujų tiekimas nutraukiamas.
- Sureguliuokite liepsną, kai ji taps reguliari.
Jei po kelių bandymų degiklis neužsidega, patikrinkite, ar vainikas ir jo dangtelis yra tinkamose padėtyse.
Nelaikykite valdymo rankenėlės paspaustos ilgiau nei 15 sekundžių. Jei degiklis neužsidega po 15 sekundžių, atleiskite valdymo rankenėlę, pasukite ją į išjungimo padėtį ir bandykite vėl uždegti degiklį po mažiausiai 1 minutės.
Jei nėra elektros, galite uždegti degiklį be elektrinio prietaiso; tokiu atveju priartinkite liepsną prie degiklio, pasukite valdymo rankenėlę prieš laikrodžio rodyklę į didžiausio dujų tiekimo padėtį ir paspauskite ją žemyn. Laikykite valdymo rankenėlę paspaustą ne ilgiau kaip 10 sekundžių, kad termoelementas įkaistų.
Jei degiklis netyčia užgęsta, pasukite valdymo rankenėlę į išjungimo padėtį ir bandykite vėl uždegti degiklį po mažiausiai 1 minutės.
Kibirkšties generatorius gali įsijungti automatiškai, kai įjungiate maitinimą po įdiegimo arba nutrūkus elektrai. Tai yra normalu.
Kaitlentė tiekiama su progresyviais vožtuvais. Jie leidžia tiksliau reguliuoti liepsną.
DEGIKLIO IŠJUNGIMAS
Norėdami užgesinti liepsną, pasukite rankenėlę į išjungimo padėtį
.
Visada sumažinkite liepsną arba išjunkite ją prieš nuimdami keptuves nuo degiklio.
PATARIMAI IR NUORODOS
Žr. Saugos instrukcijas.
INDŲ RINKINYS
Nenaudokite ketaus keptuvių, molinių ar keraminių puodų, grotelių ar skrudintuvų plokščių.
Nedėkite to paties indo ant dviejų degiklių.
Nedėkite nestabilių ar pažeistų puodų ant degiklio, kad išvengtumėte išsiliejimų ir sužalojimų.
Įsitikinkite, kad puodų dugnai nėra per arti valdymo rankenėlės, kitaip liepsna įkaitins valdymo rankenėlę.
Įsitikinkite, kad puodų rankenos nėra virš priekinio kaitlentės krašto.
Įsitikinkite, kad puodai yra pastatyti centre ant degiklio, kad būtų užtikrintas maksimalus stabilumas ir mažesnis dujų suvartojimas.
Skysčiai, išsilieję gaminant maistą, gali suskaldyti stiklą.
INDŲ SKERSMUO
Naudokite indus, kurių skersmuo atitinka degiklių dydį.
| Degiklis | Indų skersmuo (mm) |
| Daugiavainis | 220 - 260 |
| Pusiau greitas (galinis kairysis) | 120 - 240 |
| Pusiau greitas (galinis dešinysis) | 120 - 240 |
| Pusiau greitas (priekinis kairysis) | 120 - 220 |
| Pagalbinis | 80 - 180 |
PRIEŽIŪRA IR VALYMAS
Žr. Saugos instrukcijas.
BENDRA INFORMACIJA
- Išvalykite kaitlentę po kiekvieno naudojimo.
- Visada naudokite indus su švariu dugnu.
- Įbrėžimai ar tamsios dėmės ant paviršiaus neturi įtakos kaitlentės veikimui.
- Naudokite specialų valiklį, tinkamą kaitlentės paviršiui.
Nenaudokite peilių, grandiklių ar panašių įrankių stiklo paviršiui arba degiklių kraštams ir rėmui valyti (jei yra).
- Plieninės dalys valomos vandeniu, o po to nusausinamos minkštu skudurėliu.
PUODŲ LAIKIKLIAI
Puodų laikiklių negalima plauti indaplovėje. Juos reikia plauti rankomis.
- Nuimkite puodų laikiklius, kad būtų lengviau išvalyti kaitlentę.
Būkite labai atsargūs, kai keičiate puodų laikiklius, kad nepažeistumėte kaitlentės viršaus.
- Emalio danga kartais gali turėti šiurkščių kraštų, todėl būkite atsargūs, kai plaunate puodų laikiklius rankomis ir juos džiovinate. Jei reikia, pašalinkite sunkiai pašalinamas dėmes pasta valikliu.
- Išvalę puodų laikiklius, įsitikinkite, kad jie yra tinkamose padėtyse.
- Kad degiklis veiktų tinkamai, įsitikinkite, kad puodų laikiklių rankenos yra sulygiuotos su degiklio centru.
![Zanussi - ZGGN755K - PAN SUPPORTS PAN SUPPORTS]()
PUODŲ LAIKIKLIŲ NUĖMIMAS
Kad puodų laikikliai būtų tinkamoje padėtyje, jie uždedami ant metalinių kaiščių, įtaisytų galinėje kaitlentės pusėje. Kad būtų lengviau valyti, puodų laikiklius galima nuimti nuo kaitlentės. Pakelkite puodų laikiklius, laikydami juos horizontalioje padėtyje, kaip parodyta paveikslėlyje.
Nekelkite puodų laikiklių kampu, nes tai apkraus metalinius kaiščius. Tai gali pažeisti kaiščius ir jie gali sulūžti.

Puodų laikiklių forma ir degiklių kiekis gali skirtis kituose prietaiso modeliuose.
KAITLENTĖS VALYMAS
- Nedelsdami pašalinkite: išlydytą plastiką, plastikinę foliją, cukrų ir maistą su cukrumi, kitaip nešvarumai gali pažeisti kaitlentę. Būkite atsargūs, kad nenusidegintumėte.
- Pašalinkite, kai kaitlentė pakankamai atvės: kalkių nuosėdas, vandens žiedus, riebalų dėmes, blizgančius metalinius spalvos pakitimus. Išvalykite kaitlentę drėgnu skudurėliu ir neabrazyviu plovikliu. Išvalę nušluostykite kaitlentę sausu minkštu skudurėliu.
- Norėdami išvalyti emaliuotas dalis, dangtelius ir vainikus, nuplaukite juos šiltu muiluotu vandeniu ir prieš uždėdami atgal kruopščiai išdžiovinkite.
UŽDEGIMO ŽVAKĖS VALYMAS
Ši funkcija gaunama per keraminę uždegimo žvakę su metaliniu elektrodu. Laikykite šiuos komponentus gerai išvalytus, kad išvengtumėte sunkumų uždegant, ir patikrinkite, ar degiklio vainiko skylės nėra užsikimšusios.
PERIODINĖ PRIEŽIŪRA
Periodiškai kreipkitės į vietinį įgaliotąjį techninės priežiūros centrą, kad patikrintumėte dujų tiekimo vamzdžio ir slėgio reguliatoriaus būklę, jei jis yra sumontuotas.
GEDIMŲ ŠALINIMAS
Žr. Saugos instrukcijas.
KĄ DARYTI, JEI...
| Problema | Galima priežastis | Sprendimas |
| Nėra kibirkšties, kai bandote įjungti kibirkšties generatorių. | Kaitlentė nėra prijungta prie elektros tinklo arba prijungta netinkamai. | Patikrinkite, ar kaitlentė tinkamai prijungta prie elektros tinklo. |
| Saugiklis perdegė. | Įsitikinkite, kad saugiklis yra gedimo priežastis. Jei saugiklis dega vėl ir vėl, kreipkitės į kvalifikuotą elektriką. | |
| Degiklio dangtelis ir vainikas yra netinkamai uždėti. | Uždėkite degiklio dangtelį ir vainiką tinkamai. | |
| Liepsna iškart užgęsta po uždegimo. | Termoelementas nepakankamai įkaitęs. | Uždegę liepsną, laikykite rankenėlę paspaustą ne ilgiau kaip 10 sekundžių. |
| Liepsnos žiedas yra netolygus. | Degiklio vainikas užsikimšęs maisto likučiais. | Įsitikinkite, kad purkštukas neužsikimšęs ir degiklio vainikas yra švarus. |
JEI NERANDATE SPRENDIMO
Jei patys negalite rasti problemos sprendimo, kreipkitės į savo pardavėją arba įgaliotąjį techninės priežiūros centrą. Pateikite duomenis iš duomenų lentelės. Įsitikinkite, kad naudojote kaitlentę tinkamai. Jei ne, techninės priežiūros specialisto ar pardavėjo aptarnavimas nebus nemokamas, net ir garantiniu laikotarpiu.
Instrukcijos apie techninės priežiūros centrą ir garantijos sąlygos yra garantijos knygelėje.
ETIKETĖS, PATEIKIAMOS SU PRIEDŲ KREPŠIU
Priklijuokite lipnias etiketes, kaip nurodyta toliau:

- Priklijuokite ją ant garantijos kortelės ir atsiųskite šią dalį (jei taikoma).
- Priklijuokite ją ant garantijos kortelės ir pasilikite šią dalį (jei taikoma).
- Priklijuokite ją ant naudojimo instrukcijos.
TECHNINIAI DUOMENYS
VIRYKLĖS MATMENYS
| Width (Plotis) | 740 mm |
| Depth (Gylis) | 510 mm |
APVADŲ DIAMETRAI
| BURNER (DEGIKLIS) | Ø BYPASS 1/100 mm (APVADAS 1/100 mm) |
| Multi Crown | 57 |
| Semi-rapid (Pusiau greitas) | 35 |
| Auxiliary (Pagalbinis) | 28 |
KITI TECHNINIAI DUOMENYS
| TOTAL POWER: (BENDRA GALIA:) | Gas original: (Dujos originalios:) | G20 (2H) 20 mbar | 10,9 kW |
| Gas replacement: (Dujų pakaitalas:) | G30 (3+) 28-30 mbar | 745 g/h | |
| G31 (3+) 37 mbar | 732 g/h | ||
| Electric supply: (Elektros tiekimas:) | 220-240 V ~ 50-60 Hz 3 core flexible cable with non rewireable plug fitted with a 3 amp cartridge fuse (3 gyslų lankstus kabelis su nekeičiamu kištuku, kuriame įmontuotas 3 amperų kasetinis saugiklis) | ||
| Appliance category: (Prietaiso kategorija:) | II2H3+ | ||
| Gas connection: (Dujų jungtis:) | R 1/2" | ||
| Appliance class: (Prietaiso klasė:) | 3 | ||
DUJŲ DEGILIAI GAMTINĖMS DUJOMS G20 20 mbar
| BURNER (DEGIKLIS) | NORMAL POWER kW (NORMALUS GALINGUMAS kW) | MINIMUM POWER kW (MINIMALUS GALINGUMAS kW) | INJECTOR MARK (INŽEKTORIAUS ŽENKLAS) |
| Multi Crown | 3,9 | 1,4 | 146 |
| Semi-rapid (Pusiau greitas) | 2,0 | 0,6 | 96x |
| Auxiliary (Pagalbinis) | 1,0 | 0,33 | 70 |
DUJŲ DEGILIAI SUSKYSTINTOMS NAFTOS DUJOMS G30/G31 28-30/37 mbar
| BURNER (DEGIKLIS) | NORMAL POWER kW (NORMALUS GALINGUMAS kW) | MINIMUM POWER kW (MINIMALUS GALINGUMAS kW) | INJECTOR MARK (INŽEKTORIAUS ŽENKLAS) | NOMINAL GAS FLOW g/h (NOMINALUS DUJŲ SRAUTAS g/h) | |
| G30 28-30 mbar | G31 37 mbar | ||||
| Multi Crown | 3,55 | 1,4 | 095 | 258 | 254 |
| Semi-rapid (Pusiau greitas) | 1,9 | 0,6 | 71 | 138 | 136 |
| Auxiliary (Pagalbinis) | 1,0 | 0,33 | 50 | 73 | 71 |
ENERGIJOS EFEKTYVUMAS
INFORMACIJA APIE PRODUKTĄ PAGAL JK EKOLOGINIO DIZAINO REGLAMENTĄ
| Model identification (Modelio identifikavimas) | ZGGN755K | |
| Type of hob (Viryklės tipas) | Built-in hob (Įmontuojama viryklė) | |
| Number of gas burners (Dujinių degiklių skaičius) | 5 | |
| Energy efficiency per gas burner (EE gas burner) (Energijos efektyvumas vienam dujiniam degikliui (EE dujinis degiklis)) | Left rear - Semi-rapid (Kairysis galinis - Pusiau greitas) | 56.1% |
| Right rear - Semi-rapid (Dešinysis galinis - Pusiau greitas) | 56.1% | |
| Centre middle - Multi Crown (Vidurinis centrinis - Daugiavainikis) | 53.3% | |
| Left front - Semi-rapid (Kairysis priekinis - Pusiau greitas) | 54.8% | |
| Right front - Auxiliary (Dešinysis priekinis - Pagalbinis) | not applicable (netaikoma) | |
| Energy efficiency for the gas hob (EE gas hob) (Dujinės viryklės energijos efektyvumas (EE dujinė viryklė)) | 55.1% | |
BS EN 30-2-1: Domestic cooking appliances burning gas - Part 2-1: Rational use of energy - General (BS EN 30-2-1: Buitiniai dujiniai maisto gaminimo prietaisai - 2-1 dalis: Racionalus energijos naudojimas - Bendroji dalis)
ENERGIJOS TAUPYMAS
- Before use, make sure that the burners and pan supports are assembled correctly. (Prieš naudodami įsitikinkite, kad degikliai ir keptuvių atramos yra tinkamai sumontuoti.)
- Use cookware with diameters applicable to the size of burners. (Naudokite indus, kurių skersmuo atitinka degiklių dydį.)
- Center the pot on the burner. (Centruokite puodą ant degiklio.)
- When you heat up water, use only the amount you need. (Kaitindami vandenį, naudokite tik reikiamą kiekį.)
- If it is possible, always put the lids on the cookware. (Jei įmanoma, visada uždėkite dangčius ant indų.)
- When the liquid starts to boil, turn down the flame to barely simmer the liquid. (Kai skystis pradeda virti, sumažinkite liepsną, kad skystis vos burbuliuotų.)
- If it is possible, use a pressure cooker. Refer to its user manual. (Jei įmanoma, naudokite greitpuodį. Žr. jo naudotojo vadovą.)
SUSIRŪPINIMAS DĖL APLINKOS
Recycle materials with the symbol (Perdirbkite medžiagas su simboliu)
. Put the packaging in relevant containers to recycle it. (Įdėkite pakuotę į atitinkamus konteinerius, kad ją perdirbtumėte.) Help protect the environment and human health by recycling waste of electrical and electronic appliances. (Padėkite apsaugoti aplinką ir žmonių sveikatą perdirbdami elektros ir elektronikos prietaisų atliekas.) Do not dispose of appliances marked with the symbol (Neišmeskite prietaisų, pažymėtų simboliu)
with the household waste. (su buitinėmis atliekomis.)
Return the product to your local recycling facility or contact your municipal office. (Grąžinkite gaminį į vietinę perdirbimo įmonę arba susisiekite su savo savivaldybės įstaiga.)
Electrolux Appliances AB - Contact Address: Al.
Powstańców Śląskich 26, 30-570 Kraków, Poland
SAUGOS INFORMACIJA
Before the installation and use of the appliance, carefully read the supplied instructions. (Prieš montuodami ir naudodami prietaisą, atidžiai perskaitykite pateiktas instrukcijas.) The manufacturer is not responsible for any injuries or damage that are the result of incorrect installation or usage. (Gamintojas neatsako už jokius sužalojimus ar žalą, atsiradusią dėl netinkamo įrengimo ar naudojimo.) Always keep the instructions in a safe and accessible location for future reference. (Visada laikykite instrukcijas saugioje ir prieinamoje vietoje, kad galėtumėte pasinaudoti ateityje.)
VAIKŲ IR PAŽEIDŽIAMŲ ŽMONIŲ SAUGA
- This appliance can be used by children aged from 8 years and above and persons with reduced physical, sensory or mental capabilities or lack of experience and knowledge if they have been given supervision or instruction concerning the use of the appliance in a safe way and understand the hazards involved. (Šį prietaisą gali naudoti vaikai nuo 8 metų ir vyresni bei asmenys, turintys ribotas fizines, jutimines ar psichines galimybes arba neturintys patirties ir žinių, jei jiems buvo suteikta priežiūra ar nurodymai, kaip saugiai naudoti prietaisą, ir jie supranta susijusius pavojus.)
- Children between 3 and 8 years of age and persons with very extensive and complex disabilities shall be kept away from the appliance unless continuously supervised. (3–8 metų vaikai ir asmenys, turintys labai didelių ir sudėtingų negalių, turi būti laikomi atokiau nuo prietaiso, nebent jie būtų nuolat prižiūrimi.)
- Children of less than 3 years of age should be kept away from the appliance unless continuously supervised. (Jaunesni nei 3 metų vaikai turėtų būti laikomi atokiau nuo prietaiso, nebent jie būtų nuolat prižiūrimi.)
- Do not let children play with the appliance. (Neleiskite vaikams žaisti su prietaisu.)
- Keep all packaging away from children and dispose of it appropriately. (Laikykite visas pakuotes atokiau nuo vaikų ir tinkamai jas išmeskite.)
- Keep children and pets away from the appliance when it operates or when it cools down. (Laikykite vaikus ir naminius gyvūnus atokiau nuo prietaiso, kai jis veikia arba kai atvėsta.)
- Accessible parts may become hot during use. If the appliance has a child safety device, it should be activated. (Naudojant prieinamos dalys gali įkaisti. Jei prietaise yra vaikų saugos įtaisas, jis turėtų būti įjungtas.)
- Children shall not carry out cleaning and user maintenance of (Vaikai negali valyti ir atlikti naudotojo priežiūros)
- the appliance without supervision. (prietaiso be priežiūros.)
BENDROJI SAUGA
- This appliance is for cooking purposes only. (Šis prietaisas skirtas tik maisto gaminimui.)
- This appliance is designed for single household domestic use in an indoor environment. (Šis prietaisas skirtas naudoti vieno namų ūkio buityje patalpų aplinkoje.)
- This appliance may be used in, offices, hotel guest rooms, bed & breakfast guest rooms, farm guest houses and other similar accommodation where such use does not exceed (average) domestic usage levels. (Šį prietaisą galima naudoti biuruose, viešbučių svečių kambariuose, nakvynės ir pusryčių svečių kambariuose, ūkio svečių namuose ir kitose panašiose apgyvendinimo vietose, kur toks naudojimas neviršija (vidutinio) buitinio naudojimo lygio.)
The appliance and its accessible parts become hot during use. Care should be taken to avoid touching heating elements. (Naudojant prietaisas ir jo prieinamos dalys įkaista. Reikėtų vengti liesti kaitinimo elementus.)
Unattended cooking on a hob with fat or oil can be dangerous and may result in fire. (Neprižiūrimas maisto gaminimas ant viryklės su riebalais ar aliejumi gali būti pavojingas ir sukelti gaisrą.)- Never use water to extinguish the cooking fire. Switch off the appliance and cover flames with e.g. a fire blanket or lid. (Niekada nenaudokite vandens maisto gaminimo gaisrui gesinti. Išjunkite prietaisą ir uždenkite liepsnas, pvz., gaisro gesinimo antklode arba dangčiu.)
The appliance must not be supplied through an external switching device, such as a timer, or connected to a circuit that is regularly switched on and off by a utility. (Prietaisas neturi būti tiekiamas per išorinį perjungimo įtaisą, pvz., laikmatį, arba prijungtas prie grandinės, kurią reguliariai įjungia ir išjungia komunalinė įmonė.)
The cooking process has to be supervised. A short term cooking process has to be supervised continuously. (Gaminimo procesas turi būti prižiūrimas. Trumpalaikis gaminimo procesas turi būti nuolat prižiūrimas.)
Danger of fire: Do not store items on the cooking surfaces. Metallic objects such as knives, forks, spoons and lids should not be placed on the hob surface since they can get hot. (Gaisro pavojus: nelaikykite daiktų ant gaminimo paviršių. Metaliniai daiktai, tokie kaip peiliai, šakutės, šaukštai ir dangčiai, neturėtų būti dedami ant viryklės paviršiaus, nes jie gali įkaisti.)- Do not use the appliance before installing it in the built-in structure. (Nenaudokite prietaiso, kol jo neįmontavote į įmontuotą konstrukciją.)
- Do not use a steam cleaner to clean the appliance. (Nenaudokite garų valiklio prietaisui valyti.)
- If the glass ceramic surface / glass surface is cracked, switch off the appliance and unplug it from the mains. In case the appliance is connected to the mains directly using junction box, remove the fuse to disconnect the appliance from power supply. In either case contact the Authorised Service Centre. (Jei stiklo keramikos paviršius / stiklinis paviršius yra įtrūkęs, išjunkite prietaisą ir atjunkite jį nuo maitinimo tinklo. Jei prietaisas tiesiogiai prijungtas prie maitinimo tinklo naudojant jungiamąją dėžę, išimkite saugiklį, kad atjungtumėte prietaisą nuo maitinimo šaltinio. Bet kuriuo atveju susisiekite su įgaliotuoju aptarnavimo centru.)
- In case of hotplate glass breakage: (Karštojo paviršiaus stiklo lūžimo atveju:)
- shut immediately off all burners and any electrical heating element and isolate the appliance from the power supply, (nedelsdami išjunkite visus degiklius ir bet kokį elektrinį kaitinimo elementą ir atjunkite prietaisą nuo maitinimo šaltinio,)
- do not touch the appliance surface, (nelieskite prietaiso paviršiaus,)
- do not use the appliance. (nenaudokite prietaiso.)
- If the supply cord is damaged, it must be replaced by the manufacturer, an authorized Service or similarly qualified persons in order to avoid a hazard. (Jei maitinimo laidas yra pažeistas, jį turi pakeisti gamintojas, įgaliotas aptarnavimo centras arba panašios kvalifikacijos asmenys, kad būtų išvengta pavojaus.)
- Where the appliance is directly connected to the power supply, an all-pole isolating switch with a contact gap is required. Complete disconnection in compliance with the conditions specified in overvoltage category III must be guaranteed. The earth cable is excluded from this. (Kai prietaisas tiesiogiai prijungtas prie maitinimo šaltinio, reikalingas visų polių atjungimo jungiklis su kontaktiniu tarpu. Turi būti užtikrintas visiškas atjungimas, atitinkantis sąlygas, nurodytas viršįtampių kategorijoje III. Įžeminimo kabelis į tai neįtraukiamas.)
- When you route the mains cable, make sure that the cable doesn't come into direct contact (for example using insulating sleeving) with parts that can reach temperatures of more than 50°C above room temperature. (Kai tiesiate maitinimo kabelį, įsitikinkite, kad kabelis tiesiogiai nesiliečia (pvz., naudojant izoliacinę movą) su dalimis, kurios gali įkaisti daugiau nei 50 °C virš kambario temperatūros.)
Use only hob guards designed by the manufacturer of the cooking appliance or indicated by the manufacturer of the appliance in the instructions for use as suitable or hob guards incorporated in the appliance. The use of inappropriate guards can cause accidents. (Naudokite tik viryklių apsaugas, kurias sukūrė maisto gaminimo prietaiso gamintojas arba kurias prietaiso gamintojas nurodė naudojimo instrukcijose kaip tinkamas, arba viryklių apsaugas, įmontuotas į prietaisą. Netinkamų apsaugų naudojimas gali sukelti nelaimingų atsitikimų.)
SAUGOS INSTRUKCIJOS
Šis prietaisas tinkamas šioms rinkoms: 
MONTAVIMAS
Šį prietaisą turi montuoti tik kvalifikuotas asmuo.
Sužalojimo arba prietaiso sugadinimo pavojus.
- Pašalinkite visas pakuotes.
- Nemontuokite ir nenaudokite pažeisto prietaiso.
- Laikykitės kartu su prietaisu pateiktų montavimo instrukcijų.
- Laikykitės minimalaus atstumo nuo kitų prietaisų ir įrenginių.
- Visada būkite atsargūs perkeldami prietaisą, nes jis yra sunkus. Visada naudokite apsaugines pirštines ir uždarą avalynę.
- Sandarinkite nupjautus paviršius sandarikliu, kad drėgmė nesukeltų patinimo.
- Saugokite prietaiso dugną nuo garų ir drėgmės.
- Nemontuokite prietaiso šalia durų arba po langu. Tai apsaugo nuo karštų indų kritimo nuo prietaiso atidarius duris ar langą.
- Jei prietaisas sumontuotas virš stalčių, įsitikinkite, kad tarpas tarp prietaiso dugno ir viršutinio stalčiaus yra pakankamas oro cirkuliacijai.
- Apatinė prietaiso pusė gali įkaisti naudojant. Jei orkaitė nebuvo sumontuota po kaitlente, o apatinė prietaiso pusė yra prieinama ir gali leisti naudotojui arba daiktams, laikomiems po kaitlente, tiesiogiai liestis su apatine kaitlentės puse, turi būti sumontuota tarpinė apsauginė plokštė.
- Fanera arba virtuvės korpuso medžiaga yra tinkama plokštei.
- Plokštė turi būti nuimama, kad būtų galima atlikti techninę priežiūrą. Varžtai, naudojami plokštei pritvirtinti, turi būti prieinami po montavimo.
ELEKTROS PRIJUNGIMAS
Gaisro ir elektros smūgio pavojus.
- Visus elektros prijungimus turi atlikti kvalifikuotas elektrikas.
- Prietaisas turi būti įžemintas.
- Prieš atlikdami bet kokias operacijas, įsitikinkite, kad prietaisas yra atjungtas nuo maitinimo šaltinio.
- Įsitikinkite, kad duomenys, nurodyti duomenų lentelėje, atitinka elektros tinklo parametrus.
- Įsitikinkite, kad prietaisas sumontuotas teisingai. Atsilaisvinęs ir neteisingas elektros tinklo kabelis arba kištukas (jei taikoma) gali perkaisti gnybtą.
- Naudokite tinkamą elektros tinklo kabelį.
- Neleiskite elektros tinklo kabeliui susipainioti.
- Įsitikinkite, kad įdiegta apsauga nuo smūgių.
- Naudokite kabelio įtempimo mažinimo spaustuką.
- Įsitikinkite, kad maitinimo kabelis arba kištukas (jei taikoma) neliečia karšto prietaiso ar karštų indų, kai prijungiate prietaisą prie netoliese esančių lizdų.
- Nenaudokite kelių kištukų adapterių ir ilginamųjų laidų.
- Įsitikinkite, kad nepažeidėte maitinimo kištuko (jei taikoma) arba maitinimo kabelio. Kreipkitės į mūsų įgaliotąjį techninės priežiūros centrą arba elektriką, kad pakeistų pažeistą maitinimo kabelį.
- Apsauga nuo gyvų ir izoliuotų dalių smūgių turi būti pritvirtinta taip, kad jos nebūtų galima nuimti be įrankių.
- Prijunkite maitinimo kištuką prie maitinimo lizdo tik montavimo pabaigoje. Įsitikinkite, kad po montavimo yra prieiga prie maitinimo kištuko.
- Jei maitinimo lizdas yra atsilaisvinęs, nejunkite maitinimo kištuko.
- Netraukite maitinimo kabelio, kad atjungtumėte prietaisą. Visada traukite maitinimo kištuką.
- Naudokite tik tinkamus izoliavimo įrenginius: linijos apsaugos išjungiklius, saugiklius (varžtų tipo saugiklius, išimtus iš laikiklio), įžeminimo nuotėkio išjungiklius ir kontaktorius.
- Elektros instaliacijoje turi būti izoliavimo įrenginys, leidžiantis atjungti prietaisą nuo maitinimo visais poliais. Izoliavimo įrenginys turi būti su minimaliu 3 mm kontaktų atidarymo pločiu.
DUJŲ PRIJUNGIMAS
Naudodami dujų balioną, visada laikykite jį ant plokščio horizontalaus paviršiaus (su dujų vožtuvu viršuje).
- Visus dujų prijungimus turi atlikti kvalifikuotas asmuo.
- Prieš montuodami įsitikinkite, kad vietinės paskirstymo sąlygos (dujų rūšis ir dujų slėgis) ir prietaiso reguliavimas yra suderinami.
- Įsitikinkite, kad aplink prietaisą yra oro cirkuliacija.
- Informacija apie dujų tiekimą yra duomenų lentelėje.
- Šis prietaisas nėra prijungtas prie įrenginio, kuris ištraukia degimo produktus. Įsitikinkite, kad prijungiate prietaisą pagal galiojančias montavimo taisykles. Laikykitės reikalavimų dėl tinkamos ventiliacijos.
NAUDOJIMAS
Sužalojimo, nudegimų ir elektros smūgio pavojus.
Dujų virimo prietaiso naudojimas sukelia šilumos, drėgmės ir degimo produktų susidarymą patalpoje, kurioje jis yra sumontuotas. Užtikrinkite, kad virtuvė būtų gerai vėdinama, ypač kai prietaisas naudojamas. Ilgalaikis intensyvus prietaiso naudojimas gali reikalauti papildomos ventiliacijos, pavyzdžiui, mechaninės ventiliacijos padidinimo, jei tokia yra, papildomos ventiliacijos, kad būtų saugiai pašalinti degimo produktai į išorės (išorinį) orą, taip pat užtikrinant oro kaitą patalpoje su papildoma ventiliacija. Prieš montuodami papildomą ventiliaciją, pasitarkite su kvalifikuotu asmeniu.
- Nekeiskite šio prietaiso specifikacijos.
- Prieš pirmą naudojimą pašalinkite visas pakuotes, etiketes ir apsauginę plėvelę (jei taikoma).
- Įsitikinkite, kad ventiliacijos angos nėra užblokuotos.
- Neleiskite prietaisui likti be priežiūros veikimo metu.
- Po kiekvieno naudojimo nustatykite virimo zoną į "išjungta" (off).
- Nedėkite stalo įrankių ar puodų dangčių ant virimo zonų. Jie gali įkaisti.
- Nenaudokite prietaiso šlapiomis rankomis arba kai jis liečiasi su vandeniu.
- Nenaudokite prietaiso kaip darbo paviršiaus arba kaip laikymo paviršiaus.
- Kai dedate maistą į karštą aliejų, jis gali aptaškyti.
Gaisro ir sprogimo pavojus
- Riebalai ir aliejus kaitinami gali išskirti degius garus. Laikykite liepsnas arba įkaitintus daiktus atokiau nuo riebalų ir aliejų, kai su jais gaminate.
- Labai karšto aliejaus išskiriami garai gali sukelti savaiminį užsidegimą.
- Naudotas aliejus, kuriame gali būti maisto likučių, gali sukelti gaisrą žemesnėje temperatūroje nei aliejus, naudojamas pirmą kartą.
- Nedėkite degių produktų ar daiktų, kurie yra sudrėkinti degiais produktais, į prietaisą, šalia jo ar ant jo.
Prietaiso sugadinimo pavojus.
- Nelaikykite karštų indų ant valdymo skydelio.
- Neleiskite indams išvirti iki sausumo.
- Būkite atsargūs, kad ant prietaiso nenukristų daiktai ar indai. Paviršius gali būti pažeistas.
- Niekada nepalikite degiklio įjungto su tuščiais indais arba be indų.
- Nedėkite aliuminio folijos ant prietaiso.
- Indai, pagaminti iš ketaus, aliuminio arba su pažeistu dugnu, gali subraižyti stiklą / stiklo keramiką. Visada pakelkite šiuos daiktus, kai turite juos perkelti ant virimo paviršiaus.
- Naudokite tik stabilius indus, kurių forma ir skersmuo yra didesni už degiklių matmenis.
- Įsitikinkite, kad indai yra centre ant degiklių.
- Nenaudokite didelių indų, kurie persidengia su prietaiso kraštais. Tai gali pažeisti stalviršio paviršių.
- Įsitikinkite, kad liepsna neužgęsta, kai greitai pasukate rankenėlę nuo maksimalios iki minimalios padėties.
- Naudokite tik kartu su prietaisu tiekiamus priedus.
- Nemontuokite liepsnos difuzoriaus ant degiklio.
- Neleiskite rūgštiems skysčiams, pavyzdžiui, actui, citrinos sultims arba kalkių šalinimo priemonei, liestis su kaitlente. Tai gali sukelti matines dėmes.
- Emalio arba nerūdijančio plieno spalvos pasikeitimas neturi įtakos prietaiso veikimui.
PRIEŽIŪRA IR VALYMAS
Nenuimkite mygtukų, rankenėlių ar tarpiklių nuo valdymo skydelio. Vanduo gali patekti į prietaiso vidų ir jį sugadinti.
- Reguliariai valykite prietaisą, kad išvengtumėte paviršiaus medžiagos pablogėjimo.
- Išjunkite prietaisą ir leiskite jam atvėsti prieš valydami.
- Prieš atlikdami techninę priežiūrą, atjunkite prietaisą nuo elektros tinklo.
- Nenaudokite vandens purškimo ir garų prietaisui valyti.
- Valykite prietaisą drėgna minkšta šluoste. Naudokite tik neutralius ploviklius. Nenaudokite abrazyvinių produktų, abrazyvinių valymo pagalvėlių, tirpiklių ar metalinių daiktų.
- Neplaukite degiklių indaplovėje.
APTARNAVIMAS
- Norėdami pataisyti prietaisą, kreipkitės į įgaliotąjį techninės priežiūros centrą.
- Naudokite tik originalias atsargines dalis.
IŠMETIMAS
Sužalojimo arba uždusimo pavojus.
- Kreipkitės į savo savivaldybės instituciją, kad gautumėte informacijos apie tai, kaip teisingai išmesti prietaisą.
- Atjunkite prietaisą nuo maitinimo tinklo.
- Nupjaukite maitinimo kabelį šalia prietaiso ir išmeskite jį.
- Išlyginkite išorinius dujų vamzdžius.

Atsisiųsti instrukciją
Čia galite atsisiųsti visą pdf instrukcijos versiją, kurioje gali būti papildomų saugos instrukcijų, garantijos informacijos, FCC taisyklių ir kt.
Atsisiųsti Zanussi ZGGN755K - Dujinės kaitlentės vadovas


