Kohler PURIST 10129T-4 - Instalacja podłogowej baterii wannowej i prysznicowej

PRZED ROZPOCZĘCIEM
Wszystkie informacje bazują na najnowszych informacjach o produkcie dostępnych w momencie publikacji. Kohler Co. zastrzega sobie prawo do wprowadzania zmian w charakterystyce produktu, opakowaniu lub dostępności w dowolnym momencie bez powiadomienia.
Proszę pozostawić te instrukcje dla konsumenta. Zawierają one ważne informacje.
UWAGI:
- Dokładnie przepłucz rury doprowadzające wodę, aby usunąć zanieczyszczenia.
- Sprawdź, czy rury doprowadzające nie są uszkodzone. Wymień w razie potrzeby.
- Przestrzegaj lokalnych przepisów hydraulicznych.
- Minimalne ciśnienie wody na wlocie dla przełącznika wynosi 0,05 MPa (0,5 bara).
- Sprawdź, czy nie ma wycieków przed zakryciem rur, w razie potrzeby dokonaj napraw.
- Najwyższe ciśnienie robocze dla słuchawki prysznicowej wynosi 0,5 MPa (5 barów). Jeśli przekracza 0,5 MPa (5 barów), potrzebny jest reduktor ciśnienia. Najwyższa temperatura wody i otoczenia wynosi 60°C. Proszę trzymać słuchawkę prysznicową, głowicę prysznicową i ramię prysznicowe z dala od grzejnika, ponieważ może to spowodować uszkodzenie i obrażenia użytkownika.
OBSŁUGA UCHWYTU
Obracaj uchwyt delikatnie. Obracanie w celu uzyskania ciepłej i zimnej wody, jak pokazano poniżej.
OBOWIĄZUJĄCY STANDARD
Specjalny model spełnia lub przekracza następujące normy w dniu produkcji: TIS
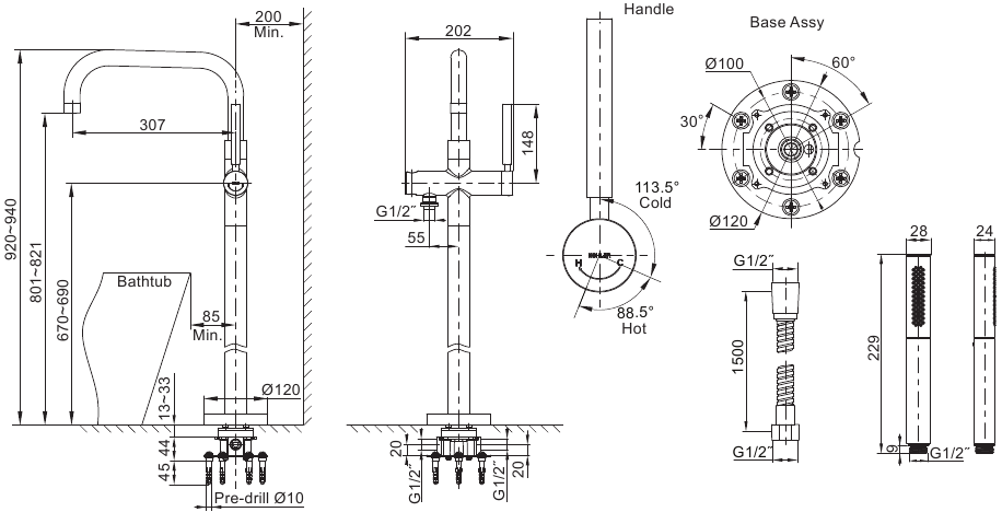
WYMIARY MONTAŻOWE

INSTALACJA
Jak zainstalować podstawę

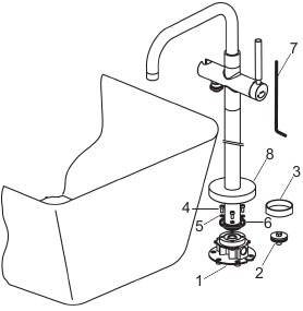
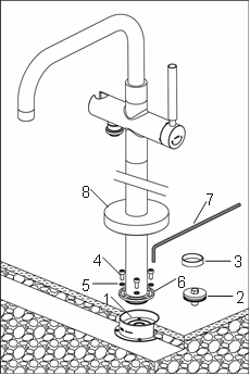
Wyjmij korek (2) z podstawy (1). Zdejmij osłonę (3) z kołnierza (6).
Przećwicz instalację baterii, aby określić miejsce montażu.
UWAGA: Utrzymuj baterię w pozycji pionowej względem podstawy, aby uniknąć uszkodzenia o-ringów na dole. Przesuń rozetę (8) do góry. Podłącz baterię do podstawy za pomocą śrub (4) i podkładek (5) przez kołnierz. Określ odpowiednie miejsce 8 zgodnie z wanną. Wyreguluj baterię: utrzymuj wylewkę skierowaną do wanny, upewnij się, że niebieski znak jest skierowany do rury zimnej wody (13), a podstawa znajduje się w dogodnej pozycji do podłączenia rury zimnej wody (13) i rury ciepłej wody (12). Zabezpiecz kołnierz śrubami za pomocą klucza imbusowego (7).
Zaznacz położenie otworów montażowych podstawy na podłodze zgodnie z ustalonym położeniem i wymiarami montażowymi podstawy (jak pokazano). Poluzuj śruby. Zdejmij baterię i złączki z o-ringami. Wywierć otwory w podłodze wiertłem łopatkowym Ø10. Wciśnij kotwy (9) w otwory. Wkręć wkręty samogwintujące (10) z podkładkami (11) w kotwy przez podstawę. Użyj poziomicy, aby upewnić się, że podstawa jest pozioma (patrz rys. 1). Dokręć wkręty samogwintujące, aby zabezpieczyć podstawę.

Nałóż wystarczającą ilość taśmy lub uszczelniacza na gwinty rur. Podłącz rury doprowadzające zimną i ciepłą wodę G1/2˝ (13, 12, nie są dostarczone) do podstawy.

UWAGA: Koniec z niebieskim oznaczeniem jest podłączony do zimnej wody. Jeśli poziom podstawy zostanie naruszony przez mocowanie rur, konieczna jest ponowna regulacja.
Zamontuj korek (2) na podstawie. Zwiększ ciśnienie dopływu ciepłej i zimnej wody do 1 MPa. Sprawdź, czy nie ma wycieków.
Zabezpiecz osłonę (14) na podstawie za pomocą śrub (15).

Upewnij się, że odległość między dolną częścią osłony a górną powierzchnią płytek wynosi od 13 do 33 mm (górna powierzchnia płytek znajduje się między liniami MIN i MAX na osłonie). Wywierć otwór Ø75 mm w płytce. Ułóż płytki. Odetnij wystającą część osłony zgodnie z powierzchnią płytki.

Jak zainstalować baterię

Zakręć dopływ wody. Wyjmij korek (2) z podstawy. Przesuń rozetę (8) do góry. Zdejmij osłonę (3). Zamontuj baterię.
UWAGA: Utrzymuj baterię w pozycji pionowej względem podstawy, aby uniknąć uszkodzenia o-ringu na dole. Przymocuj kołnierz (6) do podstawy za pomocą śrub (4) i podkładek (5).
UWAGA: Nie dokręcaj śrub w tym momencie. Wyreguluj baterię, utrzymuj wylewkę skierowaną do wanny. Dokręć śruby kluczem imbusowym (7).
Jak zainstalować słuchawkę prysznicową

Zdejmij osłonę z zestawu przełącznika (16). Podłącz wąż (18) do słuchawki prysznicowej (19) za pomocą podkładek (17). Dokręć wszystkie połączenia. Zawieś słuchawkę prysznicową na uchwycie (20) baterii.
SPRAWDZENIE PO INSTALACJI

Upewnij się, że wszystkie nakrętki złączek są dokręcone. Upewnij się, że uchwyt jest w pozycji wyłączonej (off).
Włącz główny dopływ wody i sprawdź, czy nie ma wycieków. W razie potrzeby dokonaj napraw.
Zdejmij słuchawkę prysznicową (19) i aerator (21). Odkręć uchwyt baterii. Przepuść ciepłą i zimną wodę przez wylewkę przez około minutę, aby usunąć wszelkie zanieczyszczenia. Sprawdź w tym czasie, czy nie ma wycieków. Usuń wszelkie zanieczyszczenia. Zakręć baterię. Zamontuj ponownie słuchawkę prysznicową i aerator.
INSTRUKCJE DOTYCZĄCE CZYSZCZENIA
Wszystkie wykończenia: Czyść wykończenie łagodnym mydłem i ciepłą wodą. Wytrzyj całą powierzchnię do sucha czystą, miękką szmatką. Wiele środków czyszczących może zawierać substancje chemiczne, takie jak amoniak, chlor, środki do czyszczenia toalet itp., które mogą negatywnie wpływać na wykończenie i nie są zalecane do czyszczenia.
Nie używaj ściernych środków czyszczących ani rozpuszczalników na bateriach i armaturze Kohler.
CZĘŚCI ZAMIENNE
10129T-4 Podłogowa bateria wannowa i prysznicowa


Pobierz instrukcję
Tutaj możesz pobrać pełną wersję instrukcji w formacie pdf, może ona zawierać dodatkowe instrukcje bezpieczeństwa, informacje o gwarancji, przepisy FCC itp.
Pobierz Kohler PURIST 10129T-4 - Instalacja podłogowej baterii wannowej i prysznicowej