Techno Line WS 6812 - Manual da Estação Meteorológica
- 1 VISÃO GERAL
- 2 CONFIGURAÇÃO RÁPIDA
- 3 RECEPÇÃO DO SINAL DCF E INDICADOR DE SINAL
- 4 PARA DEFINIR A HORA
- 5 PARA DEFINIR O ALARME (A definição de alarme padrão é 6:00 AM)
- 6 PARA LIGAR OU DESLIGAR O SEU ALARME
- 7 PARA USAR A REPETIÇÃO DO ALARME (A duração padrão da repetição do alarme é de 5 minutos)
- 8 PARA PARAR E REINICIAR O ALARME PARA TOCAR NO DIA SEGUINTE
- 9 SE PERDER A TEMPERATURA EXTERIOR
- 10 PARA USAR A FUNÇÃO DIMMER
- 11 RESOLUÇÃO DE PROBLEMAS
- 12 EFEITOS AMBIENTAIS NA RECEÇÃO
- 13 Precauções
- 14 Avisos de segurança das pilhas
- 15 ESPECIFICAÇÕES
- 16 Descarregar manual
- 17 Em Outros Idiomas

VISÃO GERAL
A – Vista frontal

A1 – Temperatura interior
A2 – Alarme ligado
A3 – Hora
A4 – Temperatura exterior
A5 – Indicador RCC
A6 – Suporte
B – Vista superior

B1 – Botão DOWN / WAVE
B2 – Botão SET
B3 – Botão SNOOZE / DIMMER
B4 – Botão ALARM ON / OFF
B5 – Botão UP
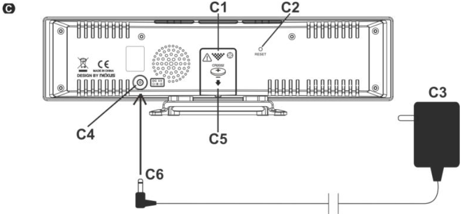
C – Vista traseira

C1 – Tampa do compartimento da pilha
C2 – Botão RESET
C3 – Adaptador AC/DC
C4 – Tomada DC
C5 – Inserir 1 pilha CR2032
C6 – Inserir o conector do adaptador
D – Sensor de temperatura exterior

D1 – Suporte
D2 – Fixar no canal 1
D3 – Canal 1
D4 – Canal 2
D5 – Canal 3
D6 – Inserir 2 pilhas AAA
CONFIGURAÇÃO RÁPIDA
- Coloque o relógio com a face para baixo numa superfície plana e macia. Use uma chave de fendas para abrir a tampa do compartimento da pilha de reserva localizada na parte de trás do relógio.
Deslize para abrir a tampa da pilha na parte de trás do relógio e, em seguida, insira 1 pilha de lítio CR2032 no compartimento da pilha. Certifique-se de que a polaridade +ve da pilha está virada para cima. Em seguida, coloque a tampa da pilha e aperte o parafuso da tampa da pilha. - Insira o adaptador AC/DC em qualquer tomada doméstica de 230V AC. Em seguida, insira o conector DC na parte traseira da unidade.
- Mantenha o relógio e o sensor sem fios próximos um do outro. Deslize para abrir a tampa da pilha na parte de trás do sensor exterior sem fios, certifique-se de que o seletor de canal está definido na posição 1 (posição superior) e, em seguida, insira 2 pilhas AAA (não incluídas) no sensor exterior, observando os sinais de polaridade + / - corretos dentro do compartimento da pilha. Coloque a porta da pilha.
A sua estação meteorológica receberá o sinal de dados do sensor exterior em poucos segundos. Em seguida, coloque o sensor exterior numa área seca e sombreada ao ar livre. - Retire a etiqueta protetora na frente. A sua estação meteorológica está pronta para funcionar.
Observações:
- Tenha em mente que o seu sensor exterior tem uma transmissão ao ar livre de 100 pés sem obstruções. O alcance de transmissão real irá variar dependendo do que estiver no caminho do sinal. Cada obstrução (telhado, paredes, pisos, tetos, árvores grossas, etc.) irá efetivamente reduzir o alcance do sinal pela metade.
Insira o suporte na parte inferior do transmissor exterior para utilização em secretária ou insira-o na parte de trás do transmissor para montagem na parede.
Bateria de reserva
Quando a fonte de alimentação não está em uso, a estação será alimentada pelas pilhas de reserva. O visor LED está desligado, mas a hora e a hora do alarme permanecem armazenadas (também em caso de falha de energia).
RECEPÇÃO DO SINAL DCF E INDICADOR DE SINAL
Depois de o relógio ser ligado, começa a receber o sinal DCF. O ícone
pisca.
| A receber sinal DCF | (Ícone a piscar) |
| Recepção bem-sucedida | (Ícone torna-se estático) |
| Recepção falhada | (Ícone desaparece) |
Durante a receção, pressione
/ WAVE uma vez para exibir o modo de receção e a indicação da intensidade do sinal:-
Quando um sinal DCF forte é detetado, o visor mostra com 3 barras 
Quando um sinal DCF fraco ou nenhum sinal DCF é detetado, o visor mostra
ou 
Durante a receção, a intensidade do sinal pode mover-se de 1 barra para 2 barras para 3 barras. Isto é normal, uma vez que o relógio está a detetar o sinal DCF e outros sinais no ar ao mesmo tempo. Pressione SET para retornar ao visor da hora com o ícone
a piscar.
Recepção bem-sucedida ou receção falhada
O ícone
torna-se estático (para de piscar) quando a receção é bem-sucedida
O ícone
desaparece quando a receção falha
Recepção automática e Receção manual
O seu relógio inicia a receção automática todos os dias às 1:00, 2:00 e 3:00. Se não conseguir receber o sinal de tempo DCF às 3:00, iniciará a receção às 4:00. Se falhar novamente, iniciará a receção às 5:00. Se falhar novamente, iniciará a receção automática novamente às 1:00 no dia seguinte.
Recepção manual: basta pressionar e manter pressionado
/ WAVE, o seu relógio emitirá um breve bipe e iniciará a receção manual. Pressione e mantenha pressionado
/ WAVE para parar a receção DCF.
Durante a receção RCC, todos os botões não funcionam e não faz medição de temperatura. A leitura da temperatura ficará estável e tornar-se-á mais precisa depois de o relógio da sua estação meteorológica ser ligado por cerca de 30 minutos.
Para cancelar a receção DCF permanentemente
Pressione e mantenha pressionado
/ WAVE e
ao mesmo tempo durante 2 segundos, o seu relógio emitirá 1 breve bipe e a função controlada por rádio será permanentemente desativada.
Para retomar a função controlada por rádio, pressione e mantenha pressionado
/ WAVE e
ao mesmo tempo durante 2 segundos, o seu relógio emitirá 1 breve bipe e iniciará o DCF imediatamente.
PARA DEFINIR A HORA
- Pressione e mantenha pressionado SET, 00 pisca, pressione
para definir o fuso horário: -01,00,01. - Pressione SET novamente, os dígitos das horas piscam. Pressione
para definir a hora atual. Pressione e mantenha pressionado
ou
para acelerar a definição em alta velocidade. - Pressione SET novamente, os dígitos dos minutos piscam. Pressione
para definir os minutos. Pressione e mantenha pressionado
ou
para acelerar a definição em alta velocidade. - Pressione SET novamente, o visor mostra :05 e pisca. Pressione o botão
para definir a duração da repetição do alarme de 5 a 60 minutos - Pressione SET para retornar ao modo normal ou retornará ao modo normal em cerca de 8 segundos se não houver mais pressão de outros botões.
O seu relógio está no formato de exibição de 24 horas.
PARA DEFINIR O ALARME (A definição de alarme padrão é 6:00 AM)
- Pressione e mantenha pressionado AL ON.OFF, os dígitos das horas piscam com o ícone "AL" a aparecer. Pressione
para definir as horas de alarme desejadas. Pressione e mantenha pressionado ou para acelerar a definição em alta velocidade. - Pressione AL ON.OFF novamente, os dígitos dos minutos piscam. Pressione
para definir os minutos de alarme desejados. Pressione e mantenha pressionado ou para acelerar a definição em alta velocidade. - Pressione AL ON.OFF novamente ou se não houver mais pressão de outros botões em cerca de 8 segundos para sair do modo de definição do alarme.
PARA LIGAR OU DESLIGAR O SEU ALARME
Pressione uma vez AL ON.OFF para ligar ou desligar o alarme. Quando a função de alarme é ligada, o ícone AL aparece em cima dos dígitos da hora.
PARA USAR A REPETIÇÃO DO ALARME (A duração padrão da repetição do alarme é de 5 minutos)
Quando a hora atinge a hora do alarme definida, o seu relógio soará para o acordar. O ícone AL piscará.
Pressione
uma vez para parar o alarme temporariamente, o ícone AL continua a piscar. O alarme tocará novamente em 5 minutos ou após a duração da repetição do alarme definida.
PARA PARAR E REINICIAR O ALARME PARA TOCAR NO DIA SEGUINTE
Para parar o alarme diário, pressione qualquer botão, EXCETO o
quando o alarme estiver a tocar. O alarme irá parar e o ícone AL torna-se estático; o alarme tocará novamente à mesma hora no dia seguinte.
SE PERDER A TEMPERATURA EXTERIOR
Quando os dígitos da temperatura exterior mostram "--", a transmissão sem fios é interrompida ou perdida. No visor normal, pressione e mantenha pressionado o botão
do relógio, em seguida, retire e reinstale as pilhas no seu transmissor exterior. Se continuar a perder o visor da temperatura exterior, tente colocar o transmissor num local diferente até ter uma transmissão suave dos dados de temperatura.
PARA USAR A FUNÇÃO DIMMER
Pressione
uma vez para ajustar o brilho Alto / Baixo do visor.
RESOLUÇÃO DE PROBLEMAS
Caso o seu relógio mostre informações ou dígitos irrelevantes, pode ser afetado por descarga eletrostática ou interferências de outros dispositivos. Pressione o botão RESET do relógio e, em seguida, reinstale as pilhas do transmissor exterior.
EFEITOS AMBIENTAIS NA RECEÇÃO
O seu relógio controlado por rádio obtém a hora exata com tecnologia sem fios. Tal como todos os dispositivos sem fios, a capacidade de receção pode ser afetada por, mas não se limita a, as seguintes circunstâncias:
- Longa distância de transmissão
- Montanhas e vales próximos
- Entre edifícios altos
- Perto de ferrovia, cabo de alta tensão, etc.
- Perto de autoestrada, aeroporto, etc.
- Perto de estaleiro de construção
- Dentro de edifícios de betão
- Perto de aparelhos elétricos
- Perto de computadores e televisões
- Dentro de veículos em movimento
- Perto de estruturas metálicas
Coloque o seu relógio num local com sinal ideal, ou seja, perto de uma janela e longe de superfícies metálicas ou aparelhos elétricos.
Precauções
- Esta unidade principal destina-se a ser utilizada apenas em ambientes internos.
- Não sujeite a unidade a força ou choque excessivos.
- Não exponha a unidade a temperaturas extremas, luz solar direta, poeira ou humidade.
- Não mergulhe em água.
- Evite o contacto com quaisquer materiais corrosivos.
- Não descarte esta unidade no fogo, pois pode explodir.
- Não abra a caixa traseira interna nem mexa em quaisquer componentes desta unidade.
Avisos de segurança das pilhas
- Use apenas pilhas de botão, não pilhas recarregáveis.
- Instale as pilhas corretamente, combinando as polaridades (+/-).
- Substitua sempre um conjunto completo de pilhas.
- Nunca misture pilhas usadas e novas.
- Remova as pilhas gastas imediatamente.
- Remova as pilhas quando não estiverem em uso.
- Não recarregue e não descarte as pilhas no fogo, pois as pilhas podem explodir.
- Certifique-se de que as pilhas são armazenadas longe de objetos metálicos, pois o contacto pode causar um curto-circuito.
- Evite expor as pilhas a temperaturas extremas ou humidade ou luz solar direta.
- Mantenha todas as pilhas fora do alcance das crianças. Elas representam um risco de asfixia.
Use o produto apenas para o fim a que se destina!
Consideração do dever de acordo com a lei das pilhas

As pilhas velhas não pertencem ao lixo doméstico porque podem causar danos à saúde e ao ambiente. Pode devolver as pilhas usadas gratuitamente ao seu revendedor e pontos de recolha. Como utilizador final, está obrigado por lei a devolver as pilhas necessárias aos distribuidores e outros pontos de recolha!
Consideração do dever de acordo com a lei dos dispositivos elétricos
![]()
Este símbolo significa que deve descartar os dispositivos elétricos separadamente do lixo doméstico geral quando atingirem o fim da sua vida útil. Leve a sua unidade ao seu ponto de recolha de lixo local ou centro de reciclagem. Isto aplica-se a todos os países da União Europeia e a outros países europeus com um sistema de recolha de lixo separado.
ESPECIFICAÇÕES
Temperatura de operação: 0°C a + 45°C
Intervalo de medição de temperatura
Interior: 0°C a +50°C
Exterior: -40°C a +70°C
O visor mostra HH / LL se estiver fora deste intervalo
Resolução de temperatura 1°C
Duração do alarme 2 minutos
Duração da repetição do alarme 5-60 minutos
Descarregar manual
Aqui pode descarregar a versão completa em PDF do manual, ela pode conter instruções de segurança adicionais, informações de garantia, regras da FCC, etc.
Descarregar Techno Line WS 6812 - Manual da Estação Meteorológica
a piscar)
para definir o fuso horário: -01,00,01.
para definir os minutos. Pressione e mantenha pressionado
para definir as horas de alarme desejadas. Pressione e mantenha pressionado ou para acelerar a definição em alta velocidade.