VTech RM5722 - Priročnik za otroški monitor

Kaj je v škatli

Priključite in vklopite enoto kamere
OPOMBE
- Uporabljajte samo napajalnike, ki so priloženi temu izdelku.
- Prepričajte se, da starševska enota in enota kamere nista priključeni na električne vtičnice, ki jih nadzoruje stikalo.
- Napajalnike priključite samo v navpični ali talni montažni položaj. Vtiči adapterjev niso zasnovani za prenašanje teže starševske enote in enote kamere, zato jih ne priključujte na stropne, pod-mizne ali omarne vtičnice. V nasprotnem primeru se adapterji morda ne bodo pravilno priključili na vtičnice.
- Prepričajte se, da so starševska enota, enota kamere in kabli napajalnika izven dosega otrok.
- Priključite napajalnik na enoto kamere in napajalnik.
![VTech - RM5722 - Priključitev napajalnika na enoto kamere Priključitev napajalnika na enoto kamere]()
- Potisnite stikalo
ON/OFF (VKLOP/IZKLOP) v levo, da vklopite kamero.
![]()
Pred uporabo
Seznanite novo enoto kamere
Vsako na novo kupljeno enoto kamere (RM5722) je treba seznaniti z vašim sistemom (RM5762).
OPOMBE
- Na starševsko enoto lahko seznanite največ štiri enote kamere. Vsako novo enoto kamere je treba pred uporabo seznaniti s starševsko enoto.
- Pred seznanjanjem se prepričajte, da ste vklopili starševsko enoto.
- Pritisnite MENU (MENI), ko je starševska enota v stanju mirovanja.
- Pritisnite
,
,
ali
, da izberete General Settings (Splošne nastavitve), nato pritisnite SELECT (IZBERI). - Pritisnite
ali
, da izberete Pair/Unpair CAM (Seznani/Razdruži kamero), nato pritisnite SELECT (IZBERI). - Ponovno pritisnite SELECT (IZBERI), da izberete Pair CAM (Seznani kamero), nato izberite prazno režo za kamero.
- Sledite navodilom na zaslonu, da dodate kamero. Ko je kamera uspešno dodana v vašo starševsko enoto, starševska enota prikaže sliko kamere.
Preizkusite lokacijo za enoto kamere
Preden namestite enoto kamere, morate preizkusiti, katera od vaših izbranih nadzornih območij v hiši ima dobro moč signala Wi-Fi. Ko vklopite starševsko enoto, lahko uporabite indikator moči signala Wi-Fi starševske enote, ki vam pomaga pri preverjanju. Ko določite primerno lokacijo, lahko namestite enoto kamere. Po potrebi prilagodite razdaljo med enoto kamere in usmerjevalnikom Wi-Fi.
Nasvet
- Glede na okolico in ovirajoče dejavnike, kot sta učinek razdalje in notranje stene na moč signala, lahko pride do zmanjšanja signala Wi-Fi. Če želite izboljšati moč signala Wi-Fi, prilagodite razdaljo ali smer starševske enote. Ponovno preverite pri starševski enoti.
![VTech - RM5722 - Preizkušanje lokacije za enoto kamere Preizkušanje lokacije za enoto kamere]()
Namestitev HD video monitorja
- Enoto kamere hranite izven dosega vašega otroka. Nikoli ne postavljajte ali nameščajte enote kamere v otroško posteljico ali stajico.
- Enoto kamere postavite več kot 1 meter stran od vašega otroka.
- Prilagodite kot kamere, da ciljate na vašega otroka. Oglejte si spletni priročnik RM5762 o tem, kako uporabljati funkcije Pan/tilt (Premikanje/Nagibanje) in Zoom (Povečava) kamere.
![]()
- Da se izognete povzročanju visokega piskanja iz vašega HD video monitorja:
- Prepričajte se, da sta enota kamere in starševska enota oddaljeni več kot 3 metre; ALI
- Zmanjšajte glasnost starševske enote.
![VTech - RM5722 - Namestitev HD video monitorja - Razdalja Namestitev HD video monitorja - Razdalja]()
Pregled enote kamere

- Mikrofon
- Objektiv kamere
- Svetlobni senzor
- LED indikatorji
- Izmenično utripata rumeno in modro, ko je enota kamere v načinu seznanjanja.
- Rumena neprekinjeno sveti, ko se enota kamere povezuje z internetom.
- Rumena in modra neprekinjeno svetita, ko je enota kamere v stanju mirovanja.
- Med pretakanjem videa počasi utripata rumeno in modro.
- Hitro in izmenično utripata rumeno in modro, ko enota kamere posodablja svojo vdelano programsko opremo.
- Infrardeče LED diode
Omogočajo jasno vidljivost v temnem okolju. - Stikalo ON/OFF (VKLOP/IZKLOP)
- Antena
Povežite se z usmerjevalnikom prek Wi-Fi. - Zvočnik
Za zaščito sluha ne stojte blizu HD kamere, ko se vklopi alarm kamere. Glasen alarm lahko poškoduje vaš sluh.
- Temperaturni senzor
- Napajalna vtičnica
- Navojna vtičnica
- Gumb Pair/reset (Seznani/ponastavi)
- Pritisnite in držite tri sekunde, da vstopite v način seznanjanja.
- Preverite moč sprejema in kot kamere, preden izvrtate luknje.
- Vrste vijakov in sider, ki jih potrebujete, so odvisne od sestave stene. Morda boste morali vijake in sidra kupiti posebej, da namestite enote kamere.
Namestitev enote kamere (izbirno)
Opombe
- Preverite moč sprejema in kot kamere, preden izvrtate luknje.
- Vrste vijakov in sider, ki jih potrebujete, so odvisne od sestave stene. Morda boste morali vijake in sidra kupiti posebej, da namestite enote kamere.
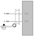
- Postavite stenski nosilec na steno in nato uporabite svinčnik, da označite zgornjo in spodnjo luknjo, kot je prikazano. Odstranite stenski nosilec in izvrtajte dve luknji v steno (sveder 7/32 palca).
![]()
- Če izvrtate luknje v nosilec, pojdite na korak 3.
![]()
- Če izvrtate luknje v predmet, ki ni nosilec, vstavite stenska sidra v luknje. Nežno potrkajte po koncih s kladivom, dokler se stenska sidra ne poravnajo s steno.
- Poravnajte stenski nosilec in vijake z luknjami v steni, kot je prikazano. Najprej privijte vijak v sredinsko luknjo, da se položaj stenskega nosilca fiksira. Lahko privijete drugi vijak v zgornjo luknjo.
![]()
- Postavite enoto kamere na stenski nosilec. Privijte vijak v navojno vtičnico na dnu, da pritrdite enoto kamere.
![]()
- Lahko povečate kote gledanja enote kamere tako, da nagnete stenski nosilec. Držite enoto kamere in nato zavrtite gumb v nasprotni smeri urinega kazalca. To bo sprostilo spoj stenskega nosilca. Nagnite enoto kamere navzgor ali navzdol, da se prilagodite želenemu kotu. Nato zavrtite gumb v smeri urinega kazalca, da privijete spoj in pritrdite kot.
ALI
- Vstavite vijake v luknje in jih privijte, dokler ni izpostavljen samo 1/4 palca vijakov.
![]()
- Postavite enoto kamere na stenski nosilec. Privijte vijak v navojno vtičnico na dnu, da pritrdite enoto kamere. Poravnajte luknje na stenskem nosilcu z vijaki na steni in potisnite stenski nosilec navzdol, dokler se ne zaskoči.
![]()
- Lahko povečate kote gledanja enote kamere tako, da nagnete stenski nosilec. Držite enoto kamere in nato zavrtite gumb v nasprotni smeri urinega kazalca. To bo sprostilo spoj stenskega nosilca. Nagnite enoto kamere navzgor ali navzdol, da se prilagodite želenemu kotu. Nato zavrtite gumb v smeri urinega kazalca, da privijete spoj in pritrdite kot.
Splošno vzdrževanje izdelka
Da bo ta izdelek dobro deloval in izgledal dobro, upoštevajte te smernice:
- Izogibajte se postavljanju v bližino grelnih naprav in naprav, ki ustvarjajo električni šum (na primer motorji ali fluorescentne svetilke).
- NE izpostavljajte ga neposredni sončni svetlobi ali vlagi.
- Izogibajte se padcem izdelka ali grobemu ravnanju z njim.
- Očistite z mehko krpo.
- NE potapljajte starševske enote in enote kamere v vodo in jih ne čistite pod pipo.
- NE uporabljajte čistilnih pršil ali tekočih čistil.
- Prepričajte se, da sta enota kamere in starševska enota suhi, preden ju ponovno priključite na električno omrežje.
Shranjevanje
Ko otroškega monitorja nekaj časa ne boste uporabljali, odstranite polnilno baterijo iz starševske enote. Starševsko enoto, enoto kamere in adapterje shranjujte na hladnem in suhem mestu.

Prenesi navodilo
Tukaj lahko prenesete polno pdf različico navodila, ki lahko vsebuje dodatna varnostna navodila, informacije o garanciji, FCC pravila itd.
Prenesi VTech RM5722 - Priročnik za otroški monitor


,
,
ali
, da izberete General Settings (Splošne nastavitve), nato pritisnite SELECT (IZBERI).







